DE102017117024A1 - Camera arrangement and motor vehicle with camera arrangement - Google Patents
Camera arrangement and motor vehicle with camera arrangement Download PDFInfo
- Publication number
- DE102017117024A1 DE102017117024A1 DE102017117024.3A DE102017117024A DE102017117024A1 DE 102017117024 A1 DE102017117024 A1 DE 102017117024A1 DE 102017117024 A DE102017117024 A DE 102017117024A DE 102017117024 A1 DE102017117024 A1 DE 102017117024A1
- Authority
- DE
- Germany
- Prior art keywords
- camera
- camera arrangement
- component
- patent application
- arrangement
- Prior art date
- Legal status (The legal status is an assumption and is not a legal conclusion. Google has not performed a legal analysis and makes no representation as to the accuracy of the status listed.)
- Granted
Links
- 238000003860 storage Methods 0.000 claims abstract description 5
- 238000004140 cleaning Methods 0.000 claims description 7
- 238000013519 translation Methods 0.000 claims description 6
- 230000003287 optical effect Effects 0.000 description 17
- 239000011521 glass Substances 0.000 description 9
- 239000000463 material Substances 0.000 description 7
- 238000000576 coating method Methods 0.000 description 6
- 238000010438 heat treatment Methods 0.000 description 6
- 238000000034 method Methods 0.000 description 6
- 238000001514 detection method Methods 0.000 description 5
- 239000004033 plastic Substances 0.000 description 4
- 230000008859 change Effects 0.000 description 3
- 238000006073 displacement reaction Methods 0.000 description 3
- 230000007246 mechanism Effects 0.000 description 3
- 239000000758 substrate Substances 0.000 description 3
- VYPSYNLAJGMNEJ-UHFFFAOYSA-N Silicium dioxide Chemical compound O=[Si]=O VYPSYNLAJGMNEJ-UHFFFAOYSA-N 0.000 description 2
- 230000003044 adaptive effect Effects 0.000 description 2
- 239000011248 coating agent Substances 0.000 description 2
- 239000004020 conductor Substances 0.000 description 2
- 238000010276 construction Methods 0.000 description 2
- 230000000694 effects Effects 0.000 description 2
- 239000000835 fiber Substances 0.000 description 2
- 239000010408 film Substances 0.000 description 2
- 239000012530 fluid Substances 0.000 description 2
- 230000009477 glass transition Effects 0.000 description 2
- 238000009434 installation Methods 0.000 description 2
- 230000003993 interaction Effects 0.000 description 2
- 239000007788 liquid Substances 0.000 description 2
- 239000002184 metal Substances 0.000 description 2
- 239000013307 optical fiber Substances 0.000 description 2
- 230000001681 protective effect Effects 0.000 description 2
- 238000012552 review Methods 0.000 description 2
- BUHVIAUBTBOHAG-FOYDDCNASA-N (2r,3r,4s,5r)-2-[6-[[2-(3,5-dimethoxyphenyl)-2-(2-methylphenyl)ethyl]amino]purin-9-yl]-5-(hydroxymethyl)oxolane-3,4-diol Chemical compound COC1=CC(OC)=CC(C(CNC=2C=3N=CN(C=3N=CN=2)[C@H]2[C@@H]([C@H](O)[C@@H](CO)O2)O)C=2C(=CC=CC=2)C)=C1 BUHVIAUBTBOHAG-FOYDDCNASA-N 0.000 description 1
- VYZAMTAEIAYCRO-UHFFFAOYSA-N Chromium Chemical compound [Cr] VYZAMTAEIAYCRO-UHFFFAOYSA-N 0.000 description 1
- 230000001133 acceleration Effects 0.000 description 1
- 238000013459 approach Methods 0.000 description 1
- 238000004364 calculation method Methods 0.000 description 1
- 239000012459 cleaning agent Substances 0.000 description 1
- 238000009833 condensation Methods 0.000 description 1
- 230000005494 condensation Effects 0.000 description 1
- 238000001816 cooling Methods 0.000 description 1
- 239000003599 detergent Substances 0.000 description 1
- 238000010586 diagram Methods 0.000 description 1
- 229920001971 elastomer Polymers 0.000 description 1
- 239000000806 elastomer Substances 0.000 description 1
- 238000005516 engineering process Methods 0.000 description 1
- 238000001125 extrusion Methods 0.000 description 1
- 239000004744 fabric Substances 0.000 description 1
- 239000011888 foil Substances 0.000 description 1
- 239000000446 fuel Substances 0.000 description 1
- 230000001939 inductive effect Effects 0.000 description 1
- 238000004519 manufacturing process Methods 0.000 description 1
- 239000000203 mixture Substances 0.000 description 1
- 239000012788 optical film Substances 0.000 description 1
- 230000002093 peripheral effect Effects 0.000 description 1
- 229920000642 polymer Polymers 0.000 description 1
- 239000005518 polymer electrolyte Substances 0.000 description 1
- 230000008569 process Effects 0.000 description 1
- 230000002441 reversible effect Effects 0.000 description 1
- 230000003678 scratch resistant effect Effects 0.000 description 1
- 239000000377 silicon dioxide Substances 0.000 description 1
- 239000007787 solid Substances 0.000 description 1
- 239000002904 solvent Substances 0.000 description 1
- 230000003595 spectral effect Effects 0.000 description 1
- 239000007921 spray Substances 0.000 description 1
- 238000012360 testing method Methods 0.000 description 1
- 238000012546 transfer Methods 0.000 description 1
- 238000005406 washing Methods 0.000 description 1
- -1 wipers Substances 0.000 description 1
Images
Classifications
-
- B—PERFORMING OPERATIONS; TRANSPORTING
- B60—VEHICLES IN GENERAL
- B60R—VEHICLES, VEHICLE FITTINGS, OR VEHICLE PARTS, NOT OTHERWISE PROVIDED FOR
- B60R11/00—Arrangements for holding or mounting articles, not otherwise provided for
- B60R11/04—Mounting of cameras operative during drive; Arrangement of controls thereof relative to the vehicle
-
- B—PERFORMING OPERATIONS; TRANSPORTING
- B60—VEHICLES IN GENERAL
- B60R—VEHICLES, VEHICLE FITTINGS, OR VEHICLE PARTS, NOT OTHERWISE PROVIDED FOR
- B60R11/00—Arrangements for holding or mounting articles, not otherwise provided for
- B60R2011/0001—Arrangements for holding or mounting articles, not otherwise provided for characterised by position
- B60R2011/004—Arrangements for holding or mounting articles, not otherwise provided for characterised by position outside the vehicle
Landscapes
- Engineering & Computer Science (AREA)
- Mechanical Engineering (AREA)
- Studio Devices (AREA)
Abstract
Die Erfindung betrifft eine Kameraanordnung (10) für ein Kraftfahrzeug, mit einem bewegbaren Kameragehäuse (12), in welchem mindestens eine Kamera (18) aufgenommen oder aufnehmbar ist, wobei das Kameragehäuse (12) zwischen einer Verstauposition in einer Aufnahme (20) und einer Betriebsposition, in welcher das Kameragehäuse (12) zumindest teilweise aus der Aufnahme (20) ausgefahren ist, entlang einer Freiformkurve (28, 30, 32) bewegbar ist, die vorzugsweise ausgehend von der Verstauposition einen ersten, im Wesentlichen translatorischen Bewegungsabschnitt und einen zweiten, im Wesentlichen rotatorischen Bewegungsabschnitt umfasst. Die Erfindung betrifft ferner ein Kraftfahrzeug mit einer solchen Kameraanordnung (10). The invention relates to a camera arrangement (10) for a motor vehicle, comprising a movable camera housing (12) in which at least one camera (18) is received or receivable, wherein the camera housing (12) between a storage position in a receptacle (20) and a Operating position in which the camera body (12) is at least partially extended from the receptacle (20) along a free-form curve (28, 30, 32) is movable, preferably starting from the stowed position, a first, substantially translational movement section and a second comprises a substantially rotational movement section. The invention further relates to a motor vehicle with such a camera arrangement (10).
Description
Die Erfindung betrifft eine Kameraanordnung für ein Kraftfahrzeug sowie ein Kraftfahrzeug mit einer solchen Kameraanordnung.The invention relates to a camera arrangement for a motor vehicle and a motor vehicle with such a camera arrangement.
In modernen Kraftfahrzeugen sollen Außenrückblickspiegel zunehmend durch Kameraanordnungen ergänzt oder vollständig ersetzt werden. Wie von Außenrückblickspiegeln bekannt, ist es wünschenswert, solche Kameraanordnungen bei Nichtgebrauch, beispielsweise beim Parken eines Fahrzeugs, in eine Ruheposition zu bewegen, um insbesondere Beschädigungen zu vermeiden. Da eine reine Kameraanordnung, die auch als Kamerapod bezeichnet wird, in der Regel kompakter als ein Außenrückblickspiegel ausgestaltet werden kann, ist es dabei bevorzugt, wenn die Kameraanordnung in der Ruheposition vollständig innerhalb der Kraftfahrzeugverkleidung verstaut wird, also die Ruheposition eine Verstauposition darstellt.In modern motor vehicles exterior rearview mirrors are increasingly being supplemented by camera arrangements or completely replaced. As is known from exterior rear view mirrors, it is desirable to move such camera arrangements into a rest position when not in use, for example when parking a vehicle, in order in particular to avoid damage. Since a pure camera arrangement, which is also referred to as a camera hood, can generally be made more compact than an exterior rearview mirror, it is preferred if the camera arrangement is stowed completely in the rest position within the motor vehicle trim, that is, the rest position represents a stowed position.
Eine Rückblickvorrichtung für ein Kraftfahrzeug liefert ein mindestens den gesetzlichen Vorschriften entsprechendes Bild des hinteren Bereiches des Kraftfahrzeugs und gehört zu einer Untergruppe von Vorrichtungen für eine indirekte Sicht. Diese liefern Bilder und Ansichten von Objekten, die sich nicht im direkten Sichtfeld eines Fahrers befinden, das heißt in Richtungen entgegengesetzt, links, rechts, unterhalb und/oder oberhalb der Blickrichtung des Fahrers. Der Blick des Fahrers kann insbesondere auch in Blickrichtung nicht vollständig zufriedenstellend sein, zum Beispiel können sich Sichtbehinderungen durch Fahrzeugteile des eigenen Fahrzeuges, wie zum Beispiel durch Teile der Karosserie, insbesondere der A-Säule, der Dachkonstruktion und/oder der Motorhaube, und Sichtbehinderungen durch andere Fahrzeuge und/oder Gegenstände außerhalb des Fahrzeugs ergeben, die die Sicht derart behindern können, dass der Fahrer eine Fahrsituation nicht vollständig zufriedenstellend bzw. nur unvollständig erfassen kann. Außerdem ist es möglich, dass der Fahrer nicht in der Lage ist, die sich ihm in oder abseits der Blickrichtung präsente Situation so zu erfassen, wie es nötig wäre, um das Fahrzeug der Situation entsprechend zu kontrollieren. Daher kann eine Rückblickvorrichtung auch derart ausgestaltet sein, dass sie die Informationen entsprechend den Fähigkeiten des Fahrers aufbereitet, um ihm eine bestmögliche Erfassung der Situation zu ermöglichen.A rear view device for a motor vehicle provides an at least legally compliant image of the rear of the motor vehicle and belongs to a subset of devices for indirect vision. These provide images and views of objects that are not in the direct field of vision of a driver, that is, in directions opposite, left, right, below, and / or above the driver's line of sight. The driver's gaze may not be completely satisfactory especially in the viewing direction, for example, obstructions may be caused by vehicle parts of the own vehicle, such as parts of the body, in particular the A-pillar, the roof construction and / or the hood, and obstructions result in other vehicles and / or objects outside the vehicle, which can obstruct the view such that the driver can not completely satisfactory or incomplete capture a driving situation. In addition, it is possible that the driver is not able to grasp the situation present to him in or out of the line of sight, as it would be necessary to control the vehicle according to the situation. Therefore, a review device may also be configured to process the information according to the capabilities of the driver to enable him to best capture the situation.
Verschiedene Funktionen und Geräte können in Rückblickvorrichtungen eingebaut und/oder mit Hilfe von Rückblickvorrichtungen gesteuert werden, wobei insbesondere auch Kameras umfasst sind. Besonders nützlich sind Funktionen und Geräte zur Verbesserung, Erweiterung und/oder Aufrechterhaltung der Funktionalität der Rückblickvorrichtung bei normalen oder extremen Bedingungen. Hierbei können Heiz- und/oder Kühleinrichtungen, Reinigungsmittel wie Wischer, flüssige und/oder gasförmige Sprays, Aktuatormittel zum Bewegen der Rückblickvorrichtung oder Teile davon, wie beispielsweise eine Anzeige, ein Kamerasystem und/oder Teile von einem Kamerasystem, umfassend beispielsweise Linsen, Filter, Lichtquellen, adaptive Optiken wie zum Beispiel verformbare Spiegel, Sensoren und/oder Spiegel, und /oder Aktuatormittel zur Induktion von Bewegungen von anderen Objekten, beispielsweise Teile des Fahrzeugs und/oder Gegenstände, die das Fahrzeug umgeben, umfasst sein.Various functions and devices can be installed in rearview devices and / or controlled by means of rearview devices, in particular including cameras. Functions and devices are particularly useful for improving, extending and / or maintaining the functionality of the review device under normal or extreme conditions. In this case, heating and / or cooling devices, cleaning agents such as wipers, liquid and / or gaseous sprays, actuator means for moving the rearview device or parts thereof, such as a display, a camera system and / or parts of a camera system comprising for example lenses, filters, Light sources, adaptive optics such as deformable mirrors, sensors and / or mirrors, and / or actuator means for inducing movements of other objects, for example parts of the vehicle and / or objects surrounding the vehicle, may be included.
Weiterhin kann die Rückblickvorrichtung lineare Führungen und/oder rotierende Räder, wie beispielsweise ein Filterrad, zum Austauschen optischer Elemente, beispielsweise umfassend Linsen, Spiegel, Lichtquellen, Sensoren, adaptive Optiken wie verformbaren Spiegeln und/oder Filter, umfassen.Furthermore, the rearview device may comprise linear guides and / or rotating wheels, such as a filter wheel, for exchanging optical elements, for example comprising lenses, mirrors, light sources, sensors, adaptive optics such as deformable mirrors and / or filters.
In Rückblickvorrichtungen können weitere Einrichtungen integriert sein, und/oder es können weitere Einrichtungen mit Hilfe von Rückblickvorrichtungen gesteuert werden, wie zum Beispiel jede Art von Lichtmodul, umfassend ein externes Lichtmodul, ein internes Lichtmodul, ein Frontlicht, ein Rücklicht, ein Nebelscheinwerfer, ein Bremslicht, ein Beschleunigungslicht, ein Blinklicht, ein Logolicht, eine Vorfeldbeleuchtung, ein Bodenlicht, ein Pfützenlicht, ein Blitzlicht, ein Navigationslicht, ein Positionslicht, ein Notlicht, ein Scheinwerfer, ein grünes Licht, ein rotes Licht, ein Warnlicht, ein Blinklicht-Lichtmodul, ein Annäherungslicht, ein Suchlicht, ein Informationslicht, eine Anzeige und/oder dergleichen. Weitere Beispiele für Funktionen und Vorrichtungen, die in Rückblickvorrichtungen integriert und/oder mit Hilfe von Rückblickvorrichtungen gesteuert werden, können beispielsweise ein Müdigkeits-Erkennungssystem, ein Sekundenschlaf-Erkennungssystem, ein Abstands- und/oder Geschwindigkeitsbestimmungssystem, beispielsweise ein LIDAR (Lichtdetektion und Abstandserfassung) System, ein Toter-Winkel-Indikationssystem, ein Spurwechsel-Assistenzsystem, ein Navigationsassistenzsystem, ein Tracking-Assistent-System, ein Mensch-Maschine-Interaktionssystem, ein Maschinen-Maschinen-Interaktionssystem, ein Not- und Vorsichtsmaßnahmen-Assistenzsystem, wie ein Unfallvermeidungs-Assistenzsystem, ein Gegenmaßnahmen-Assistenzsystem, ein Bremsassistenzsystem, ein Lenkassistenzsystem, ein Beschleunigungsassistenzsystem, ein Fluchtassistenzsystem, das beispielsweise ein Schleudersitzsystem umfasst, ein Richtungsanzeiger, ein Toter-Winkel-Indikator, ein Annäherungssystem, ein Notbremssystem, eine Ladestatusanzeige, ein Fahrzeugmodus System, das beispielsweise ein Sport-Modus System, ein Economy-Modus System, ein Autonomes-Fahr-Modus System, ein Schlaf-Modus System und/oder ein Anti-Diebstahl-System umfasst, ein Fahrzeug-Verschlossen Indikationssystem, eine Fahrzeug-Gestohlen Anzeige, ein Warnsignal-System, ein Temperatur-Indikator-System, eine Wetterindikationssystem, ein Ampel-Signalsystem, ein Kraftstoff-Statussystem und/oder beliebige Kombination davon umfassen.In rearview devices, other devices may be integrated, and / or other devices may be controlled by means of rearview devices, such as any type of light module, including an external light module, an internal light module, a headlight, a taillight, a fog lamp, a brake light , an accelerating light, a flashing light, a logo light, an apron lighting, a ground light, a puddle light, a flashlight, a navigation light, a position light, an emergency light, a headlight, a green light, a red light, a warning light, a flashing light light module, a proximity light, a search light, an information light, a display and / or the like. Other examples of functions and devices that are integrated in reviewing devices and / or controlled by reviewing devices may include, for example, a fatigue detection system, a microsleep detection system, a distance and / or speed determination system, such as a LIDAR (Light Detection and Distance Detection) system , a blind spot indication system, a lane change assistance system, a navigation assistance system, a tracking assistant system, a human-machine interaction system, an engine-machine interaction system, an emergency and precautionary assistance system, such as an accident avoidance assistance system , a countermeasure assistance system, a brake assist system, a steering assist system, an acceleration assistance system, an escape assist system including, for example, an ejection seat system, a direction indicator, a blind spot indicator, an approach system, an emergency brake system, a cargo Status display, a vehicle mode system that includes, for example, a sports mode system, an economy mode system, an autonomous-driving mode system, a sleep-mode system and / or an anti-theft system, a vehicle-locked indication system, a Vehicle Stolen Display, a Warning Signal System, a Temperature Indicator System, a Weather Indicator System, a Traffic Signal System, a Fuel Status System and / or any combination thereof.
Beleuchtungseinrichtungen für Rückblickvorrichtungen und/oder Lichtleiter dazu sind in der
Ein Kameramodul kann insbesondere eine Vielzahl von verschiedenen optischen Elementen, die unter anderem eine Vielzahl von verschiedenen Sensoren und Lichtquellen umfasst, sowie Gehäuseteilen aufweisen. Das Gehäuse eines Kameramoduls kann aus Kunststoff, Metall, Glas, einem anderen geeigneten Material und/oder aus einer beliebigen Kombination davon hergestellt sein und kann in Kombination mit den unten beschriebenen Techniken zum Ändern oder Modifizieren der Eigenschaften des Materials oder der Materialoberfläche verwendet werden. Gehäuse sind beispielsweise in der
Die Kamera kann beispielsweise CCD- oder CMOS- oder Lichtfeldsensoren umfassen, wie sie beispielsweise in der
Die optischen Elemente können aus irgendeiner Art von Glas oder irgendeinem anderen geeigneten Material geformt oder gestaltet sein. Glas wird hier im Sinne eines nichtkristallinen amorphen Festkörpers verwendet, der einen Glasübergang zeigt, wenn er in Richtung des flüssigen Zustandes erhitzt wird. Es umfasst beispielsweise die Gruppe der Polymergläser, Metallgläser, Siliciumdioxid-Gläser, aber auch jedes andere geeignete Material, das den Glasübergang zeigt, kann ebenfalls verwendet werden. Das Glas kann entweder flach, keilförmig, rechteckig, zylindrisch, sphärisch, konisch, elliptisch und/oder kreisförmig sein, wie es beispielsweise in der
Das Kameramodul kann auch mit Geräten zur Lichtintensitätsregulierung ausgestattet sein, wie beispielsweise in der
Das Kameramodul oder eine an das Kameramodul angepasste Abdeckung kann mit verschiedenen Aktuatoren, Antrieben und/oder einer flexiblen Bahn bewegt werden, wie beispielsweise in der
Verschiedene Verfahren können verwendet werden, um Schmutz oder andere Trübungen zu erkennen, die das Funktionieren des Kameramoduls verhindern oder verschlechtern, wie es im
Es ist bekannt, Heizvorrichtungen für solche Kameras bzw. Schutzgläser bereitzustellen. Hierzu werden beispielsweise Heizfolien auf das Schutzglas geklebt oder mit diesem laminiert. Eine derartige Lösung ist aufwendig in der Herstellung und besitzt aufgrund der geringen thermischen Masse einer solchen Heizfolie nur eine geringe Heizleistung. Verschiedene Heizmittel wie Heizspulen, in den Linsenhalter oder der Einfassung integrierte Heizvorrichtungen oder andere Heizelemente können verwendet werden, um Kondensation und Vereisung an der Oberfläche von optischen Elementen zu verhindern, wie beispielsweise in der
Wasserdichte Abdichtungen gegen Witterungseinflüsse sowie gegen den Einfluss von Waschprozessen mit Waschmitteln, Lösungsmitteln und Hochdruckreinigern können am Gehäuse des Kameramoduls verwendet werden, wie zum Beispiel in der
Das Kameramodul kann ein Energiesammelsystem umfassen, wie es beispielsweise in der
Es können verschiedene Steuerungsmittel und Analysiervorrichtungen verwendet werden, wie beispielsweise die Berechnungseinheiten, die in der
Verschiedene Arten von Befestigungen können verwendet werden, um das Kameramodul an dem Fahrzeug oder anderen Komponenten zu befestigen, wie beispielsweise die Schnappverbindung, die in dem
Aus der
Die
Die bekannten Bewegungsmechanismen sind in der Regel sehr aufwändig und benötigen eine komplexe Mechanik, was wiederum den notwendigen Bauraum vergrößert.The known movement mechanisms are usually very complex and require a complex mechanism, which in turn increases the necessary space.
Es ist daher die Aufgabe der vorliegenden Erfindung, eine Kameraanordnung für ein Kraftfahrzeug bereitzustellen, die besonders kompakt und einfach in der Konstruktion ist. Es ist ferner Aufgabe der vorliegenden Erfindung, ein Kraftfahrzeug mit einer solchen Kameraanordnung bereitzustellen.It is therefore the object of the present invention to provide a camera assembly for a motor vehicle, which is particularly compact and simple in construction. It is a further object of the present invention to provide a motor vehicle with such a camera arrangement.
Diese Aufgabe wird erfindungsgemäß gelöst durch eine Kameraanordnung für ein Kraftfahrzeug, mit einem bewegbaren Kameragehäuse, in welchem mindestens eine Kamera aufgenommen oder aufnehmbar ist, wobei das Kameragehäuse zwischen einer Verstauposition in einer Aufnahme und einer Betriebsposition, in welcher das Kameragehäuse zumindest teilweise aus der Aufnahme ausgefahren ist, entlang einer Freiformkurve bewegbar ist, die vorzugsweise ausgehend von der Verstauposition einen ersten, im Wesentlichen translatorischen Bewegungsabschnitt und einen zweiten, im Wesentlichen rotatorischen Bewegungsabschnitt umfasst.This object is achieved by a camera assembly for a motor vehicle, with a movable camera housing in which at least one camera is recorded or receivable, wherein the camera body between a stowed position in a receptacle and an operating position, in which the camera body at least partially extended from the recording is movable along a free-form curve, which preferably comprises a first, substantially translational movement section and a second, substantially rotational movement section starting from the stowed position.
Die Bewegung entlang einer Freiformkurve ermöglicht es, einen besonders raumsparenden Bewegungsablauf zu verwirklichen, der deutlich weniger Bauraum benötigt als beispielsweise eine Kombination von rein translatorischen und rein rotatorischen Bewegungsphasen. Damit kann sowohl die Aufnahme für die Kameraanordnung besonders klein gehalten werden, als auch die Öffnung der Aufnahme, durch welche Kamera in ihre Betriebsposition bewegt wird. Gleichzeitig kann ein solcher Bewegungsablauf auch mechanisch besonders einfach verwirklicht werden. Es ist dabei zudem möglich, sowohl die Geometrie der Aufnahme für die Kameraanordnung als auch die der Kameraanordnung selbst zu variieren. Um die gewünschte Funktionalität aufrecht zu erhalten, ist lediglich eine Anpassung der jeweiligen Freiformkurve notwendig. Erfindungsgemäß umfasst die Freiformkurve ausgehend von der Verstauposition einen ersten, im Wesentlichen translatorischen Bewegungsabschnitt und einen zweiten, im Wesentlichen rotatorischen Bewegungsabschnitt. Auch dies dient einem raumsparenden Bewegungsablauf.The movement along a free-form curve makes it possible to realize a particularly space-saving sequence of movements, which requires significantly less installation space than, for example, a combination of purely translatory and purely rotational movement phases. Thus, both the receptacle for the camera arrangement can be kept particularly small, as well as the opening of the recording, which camera is moved to its operating position. At the same time, such a sequence of movements can also be realized particularly easily mechanically. It is also possible to vary both the geometry of the recording for the camera arrangement as well as the camera arrangement itself. In order to maintain the desired functionality, only an adjustment of the respective free-form curve is necessary. According to the invention, the free-form curve, starting from the storage position, comprises a first, substantially translatory movement section and a second, essentially rotational movement section. This also serves a space-saving movement.
Unter „Freiformkurven“ sollen hier insbesondere Kurven verstanden werden, die keinen konstanten Radius aufweisen und die insbesondere eine kontinuierliche Änderung ihrer Tangentensteigung bzw. ihres Kurvenradius aufweisen. Es muss sich dabei jedoch nicht um eine Freiformkurve im engeren Sinn, also eine analytisch nicht beschreibbare Kurve handeln.The term "free-form curves" should in particular be understood to mean curves which do not have a constant radius and in particular have a continuous change in their tangential gradient or their curve radius. However, this does not have to be a free-form curve in the narrower sense, ie a curve that can not be described analytically.
Unter „im Wesentlichen“ translatorisch bzw. rotatorisch soll hier verstanden werden, dass im jeweiligen Bewegungsabschnitt die jeweilige Bewegungskomponente überwiegt.By "substantially" translatory or rotational is to be understood here as meaning that the respective movement component predominates in the respective movement section.
Nach der Erfindung ist es bevorzugt, dass der erste Bewegungsabschnitt eine erste translatorische Bewegungskomponente und ggf. eine erste rotatorische Bewegungskomponente umfasst, und der zweite Bewegungsabschnitt eine zweite rotatorische Bewegungskomponente und ggf. eine zweite translatorische Bewegungskomponente umfasst, wobei vorzugsweise die erste rotatorische Bewegungskomponente kleiner ist als die zweite rotatorische Bewegungskomponente, und die erste translatorische Bewegungskomponente größer ist als die zweite translatorische Bewegungskomponente.According to the invention, it is preferred that the first movement section comprises a first translational movement component and possibly a first rotational movement component, and the second movement section comprises a second rotational movement component and optionally a second translational movement component, wherein preferably the first rotational movement component is smaller than the second rotational motion component, and the first translational motion component is greater than the second translational motion component.
In jedem Bewegungsabschnitt können also sowohl translatorische als auch rotatorische Bewegungskomponenten vorliegen. So kann es beispielsweise möglich sein, dass die Kameraanordnung translatorisch zu einer Öffnung in einer zugehörigen Aufnahme geführt wird und gleichzeitig durch Rotation relativ zur Öffnung orientiert wird. Damit wird nicht nur der benötigte Raum für die Bewegung verglichen zum Stand der Technik verringert, sondern auch eine schnellere Überführung der Kameraanordnung von der Verstauposition in die Betriebsposition und umgekehrt ermöglicht.Thus, both translatory and rotational components of motion can be present in each movement section. For example, it may be possible for the camera arrangement to be guided translationally to an opening in an associated receptacle and at the same time oriented by rotation relative to the opening. This not only reduces the space required for the movement compared to the prior art, but also allows a faster transfer of the camera assembly from the storage position to the operating position and vice versa.
Wird die Kameraanordnung zunächst in Richtung ihrer Betriebsposition verschoben, während die korrekte Orientierung erst im späteren Verlauf der Bewegung durch Drehung eingenommen wird, kann die Bewegung der Kameraanordnung besonders einfach an unterschiedliche Bauformen und auch an unterschiedliche Konfigurationen des Kraftfahrzeugs angepasst werden. Beispielsweise kann im Falle, dass ein Anhänger angekoppelt ist, die Verschiebung größer ausfallen und die Drehung angepasst werden, um auch mit Anhänger einen zuverlässigen Bildwinkel im gewünschten Bereich zu erzielen. If the camera arrangement is initially displaced in the direction of its operating position, while the correct orientation is taken by rotation only during the later course of the movement, the movement of the camera arrangement can be adapted particularly easily to different designs and also to different configurations of the motor vehicle. For example, in the event that a trailer is coupled, the displacement can be greater and the rotation can be adjusted in order to achieve a reliable viewing angle in the desired range even with a trailer.
Mit der Erfindung wird zudem vorgeschlagen, dass die Translationsrichtung der ersten und/oder zweiten translatorischen Bewegungskomponente im Wesentlichen senkrecht zu einer Außenfläche des Außenverkleidungsteils und/oder im Wesentlich horizontal verläuft.With the invention it is also proposed that the direction of translation of the first and / or second translational movement component is substantially perpendicular to an outer surface of the outer trim part and / or extends substantially horizontally.
Die Kameraanordnung wird also translatorisch insbesondere in Abstand zur Außenverkleidung des Kraftfahrzeugs gebracht, so dass sie in ihrer Betriebsposition hinreichend von der Außenverkleidung beabstandet ist, um den gewünschten Bildwinkel, beispielsweise für eine Rückblickfunktion, zu erzielen.The camera assembly is thus brought translationally in particular at a distance from the outer panel of the motor vehicle, so that it is sufficiently spaced in its operating position of the outer panel in order to achieve the desired image angle, for example, for a retrospective function.
Die Drehachse der ersten und/oder zweiten rotatorischen Bewegungskomponente kann sich erfindungsgemäß von der Translationsrichtung unterscheidet. Zudem kann die Drehrichtung von der Verstauposition in die Betriebsposition im Uhrzeigersinn oder gegen den Uhrzeigersinn verlaufen.The axis of rotation of the first and / or second rotational movement component can differ according to the invention from the translation direction. In addition, the direction of rotation may run clockwise or counterclockwise from the stowed position to the operating position.
Durch die rotatorische Bewegungskomponente wird damit nicht nur eine Einstellung des Blickwinkels der Kamera nach oben und unten ermöglicht, sondern eine freie Einstellung in beliebige Richtungen.The rotational movement component not only allows adjustment of the angle of the camera up and down, but also a free adjustment in any direction.
Mit der Erfindung wird weiterhin vorgeschlagen, dass das Kameragehäuse einen Basisabschnitt und einen Kameraaufnahmeabschnitt aufweist, der um mehr als 90° und weniger als 180°, insbesondere um etwa 100°, zum Basisabschnitt abgewinkelt ist.With the invention it is further proposed that the camera body has a base portion and a camera receiving portion, which is angled by more than 90 ° and less than 180 °, in particular by about 100 °, to the base portion.
Ferner kann vorgesehen sei, dass die Freiformkurve durch eine Führungskulisse in der Aufnahme definiert ist. Auf diese Weise kann eine besonders einfache Bewegungsmechanik geschaffen werden, die mit besonders wenigen Bauteilen auskommt und daher kostengünstig und platzsparend ist.Furthermore, it can be provided that the freeform curve is defined by a guide slot in the receptacle. In this way, a particularly simple motion mechanism can be created, which manages with very few components and therefore is inexpensive and space-saving.
Bevorzugte Ausführungsformen der Erfindung zeichnen sich dadurch aus, dass in dem Kameragehäuse eine weitere Komponente angebracht oder anbringbar ist, insbesondere in Form eines Lichtelements, vorzugsweise ausgewählt aus einem Seitenbegrenzungslicht, einer Signalleuchte, einem Blinker, einer Laseranzeige, einer Logolampe, einer Bodenleuchte und/oder einem Projektor, und/oder in Form einer Reinigungsvorrichtung für die Kamera, vorzugsweise einer Linse der Kamera. Durch die Integration derartiger Komponenten kann auf zusätzliche Anbauteile verzichtet werden. Hierdurch wird die Aerodynamik des Kraftfahrzeugs verbessert und Gewicht eingespart.Preferred embodiments of the invention are characterized in that in the camera body, a further component is mounted or attachable, in particular in the form of a light element, preferably selected from a side limiting light, a signal light, a turn signal, a laser display, a logo lamp, a floor lamp and / or a projector, and / or in the form of a cleaning device for the camera, preferably a lens of the camera. By integrating such components can be dispensed with additional attachments. As a result, the aerodynamics of the motor vehicle is improved and weight saved.
Die Aufnahme kann nach der Erfindung hinter einem Außenverkleidungsteil des Kraftfahrzeugs angeordnet oder anordbar ist und/oder eine Öffnung für den Durchtritt der Kamera, vorzugsweise der Kamera und der weiteren Komponente, aufweisen.The receptacle can be arranged or arranged according to the invention behind an outer covering part of the motor vehicle and / or an opening for the passage of the camera, preferably the camera and the further component having.
Dabei kann vorgesehen sein, dass beim Passieren der Öffnung durch die Kamera von dem ersten Bewegungsabschnitt in den zweiten Bewegungsabschnitt ausgehend von der Verstauposition und/oder von dem zweiten Bewegungsabschnitt in den ersten Bewegungsabschnitt ausgehend von der Betriebsposition wechselbar ist.It can be provided that when passing the opening through the camera of the first movement section in the second movement section, starting from the storage position and / or from the second movement section in the first movement section, starting from the operating position is changeable.
Die Erfindung betrifft ferner ein Kraftfahrzeug mit einer Kameraanordnung der vorstehend beschriebenen Art. Auch hier kommen die genannten Vorteile zum Tragen.The invention further relates to a motor vehicle with a camera arrangement of the type described above. Again, the advantages mentioned come into play.
Im Folgenden werden die Erfindung und ihre Ausführungsformen anhand von Zeichnung beispielhaft näher erläutert. Hierbei zeigt
-
1 eine schematische Schnittansicht eines Ausführungsbeispiels einer erfindungsgemäßen Kameraanordnung in der Betriebsposition; -
2 die Kameraanordnung nach1 in schematischer perspektivischer Darstellung; -
3 die Kameraanordnung nach1 ins schematischer Schnittansicht in der Verstauposition und der Betriebsposition; -
4 die Kameraanordnung nach1 in schematischer Schnittansicht in unterschiedlichen Betriebspositionen; -
5 eine Detailansicht eines Ausführungsbeispiels einer Kameraanordnung in der Verstauposition und der Betriebsposition; -
6 eine Detailansicht eines Kameragehäuses der Kameraanordnung nach5 in der Verstauposition und der Betriebsposition; und -
7 einen schematischer Graph zur Veranschaulichung unterschiedlicher Verschwenkpfade eines Ausführungsbeispiels einer erfindungsgemäßen Kameraanordnung zwischen deren Verstauposition und deren Betriebsposition.
-
1 a schematic sectional view of an embodiment of a camera assembly according to the invention in the operating position; -
2 the camera arrangement after1 in a schematic perspective view; -
3 the camera arrangement after1 in a schematic sectional view in the stowed position and the operating position; -
4 the camera arrangement after1 in a schematic sectional view in different operating positions; -
5 a detail view of an embodiment of a camera assembly in the stowed position and the operating position; -
6 a detailed view of a camera body of the camera assembly after5 in the stowed position and the operating position; and -
7 a schematic graph illustrating different Verschwenkpfade an embodiment of a camera assembly according to the invention between the stowed position and its operating position.
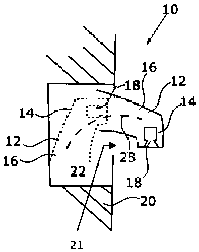
Eine im Ganzen mit 10 bezeichnete Kameraanordnung für ein Kraftfahrzeug umfasst ein Kameragehäuse
Das Kameragehäuse
Der Bewegungsablauf des Kameragehäuses
Demnach umfasst die Bewegung einen ersten Bewegungsabschnitt, in dem die Verschiebung entlang des Pfeils
Es ist dabei auch möglich, unterschiedliche Bewegungsabläufe aus der gleichen Einbaulage im gleichen Kraftfahrzeug zu verwirklichen. Beispielsweise kann die Kameraposition angepasst werden, je nachdem, ob ein Anhänger mit dem Kraftfahrzeug gekoppelt ist, oder nicht.It is also possible to realize different movement sequences from the same installation position in the same vehicle. For example, the camera position can be adjusted depending on whether a trailer is coupled to the motor vehicle or not.
In den
In
Insgesamt wird so eine Kameraanordnung
Die in der vorstehenden Beschreibung sowie in den Ansprüchen und Zeichnungen offenbarten Merkmale der Erfindung können sowohl einzeln als auch in jeder beliebigen Kombination für die Verwirklichung der Erfindung in ihren verschiedenen Ausführungsformen wesentlich sein.The features of the invention disclosed in the foregoing description as well as in the claims and drawings may be essential both individually and in any combination for the realization of the invention in its various embodiments.
BezugszeichenlisteLIST OF REFERENCE NUMBERS
- 1010
- Kameraanordnungcamera assembly
- 1212
- Kameragehäusecamera housing
- 1414
- KameraaufnahmeabschnittCamera receiving portion
- 1616
- Basisabschnittbase section
- 1818
- Kameracamera
- 2020
- Aufnahmeadmission
- 2121
- Öffnungopening
- 2222
- AußenverkleidungsteilSiding part
- 24 24
- TranslationsrichtungTranslation direction
- 2626
- Drehrichtungdirection of rotation
- 2828
- FreiformkurveFreeform curve
- 3030
- FreiformkurveFreeform curve
- 3232
- FreiformkurveFreeform curve
ZITATE ENTHALTEN IN DER BESCHREIBUNG QUOTES INCLUDE IN THE DESCRIPTION
Diese Liste der vom Anmelder aufgeführten Dokumente wurde automatisiert erzeugt und ist ausschließlich zur besseren Information des Lesers aufgenommen. Die Liste ist nicht Bestandteil der deutschen Patent- bzw. Gebrauchsmusteranmeldung. Das DPMA übernimmt keinerlei Haftung für etwaige Fehler oder Auslassungen.This list of the documents listed by the applicant has been generated automatically and is included solely for the better information of the reader. The list is not part of the German patent or utility model application. The DPMA assumes no liability for any errors or omissions.
Zitierte PatentliteraturCited patent literature
- DE 102012108488 [0007]DE 102012108488 [0007]
- DE 102012107833 [0007]DE 102012107833 [0007]
- DE 102012107834 [0007]DE 102012107834 [0007]
- EP 2738043 [0007]EP 2738043 [0007]
- EP 2947378 [0007]EP 2947378 [0007]
- EP 3045944 [0007]EP 3045944 [0007]
- US 15/228566 [0007]US 15/228566 [0007]
- US 15/000733 [0007]US 15/000733 [0007]
- US 15/256532 [0007]US 15/256532 [0007]
- DE 102015115555 [0007]DE 102015115555 [0007]
- EP 3144183 [0007]EP 3144183 [0007]
- DE 102016108247 [0008, 0010, 0012, 0014]DE 102016108247 [0008, 0010, 0012, 0014]
- DE 102011053999 [0009, 0010, 0017]DE 102011053999 [0009, 0010, 0017]
- US 6703925 [0009]US 6703925 [0009]
- US 8031224 [0009, 0010, 0013]US8031224 [0009, 0010, 0013]
- DE 102011103200 [0010]DE 102011103200 [0010]
- US 15/281780 [0010, 0012]US 15/281780 [0010, 0012]
- US 13/090127 [0010, 0015, 0017]US 13/090127 [0010, 0015, 0017]
- US 8740427 [0010]US 8740427 [0010]
- US 09/771140 [0010, 0011, 0013]US 09/771140 [0010, 0011, 0013]
- US 8460060 [0010]US 8460060 [0010]
- US 13/242829 [0010]US 13/242829 [0010]
- US 9181616 [0010]US 9181616 [0010]
-
US 14/936024 [0010]
US 14/936024 [0010] - US 15/124310 [0010]US 15/124310 [0010]
- US 14/809509 [0010, 0011]US Pat. No. 14/809509 [0010, 0011]
- EP 08103179 [0010]EP 08103179 [0010]
- EP 2202826 [0010, 0011]EP 2202826 [0010, 0011]
- US 7999992 [0010, 0011]US 7999992 [0010, 0011]
- US 8537451 [0010, 0011]US 8537451 [0010, 0011]
- DE 102016106126 [0011, 0017]DE 102016106126 [0011, 0017]
- EP 14165197 [0012]EP 14165197
- EP 13163677 [0012]EP 13163677
- EP 15173201 [0012]EP 15173201 [0012]
- EP 1673260 [0012]EP 1673260 [0012]
- US 8395514 [0013]US 8395514 [0013]
- EP 1328141 [0013, 0015]EP 1328141 [0013, 0015]
- US 62/470658 [0013, 0014]US 62/470658 [0013, 0014]
- US 7083311 [0015]US7083311 [0015]
- EP 09171683 [0016]EP 09171683 [0016]
- US 8487633 [0016]US 8487633 [0016]
- EP 2146325 [0017]EP 2146325 [0017]
- US 8849104 [0017]US 8849104 [0017]
- US 14/83040 [0017]US Pat. No. 14/83040 [0017]
- EP 2233360 [0018]EP 2233360 [0018]
- US 2016065796 A1 [0019]US 2016065796 A1 [0019]
- US 2009231430 A1 [0020]US 2009231430 A1 [0020]
Claims (11)
Priority Applications (5)
| Application Number | Priority Date | Filing Date | Title |
|---|---|---|---|
| DE102017117024.3A DE102017117024B4 (en) | 2017-07-27 | 2017-07-27 | Camera arrangement and motor vehicle with camera arrangement |
| PCT/EP2018/061680 WO2018206484A1 (en) | 2017-05-08 | 2018-05-07 | Movable lighting and image-recording unit for a motor vehicle |
| EP18725140.0A EP3595933B1 (en) | 2017-05-08 | 2018-05-07 | Movable lighting and image-recording unit for a motor vehicle |
| US16/611,709 US11034288B2 (en) | 2017-05-08 | 2018-05-07 | Moveable illumination and image acquisition unit for a motor vehicle |
| CN201890000833.XU CN211223284U (en) | 2017-05-08 | 2018-05-07 | Illumination and image acquisition unit and motor vehicle |
Applications Claiming Priority (1)
| Application Number | Priority Date | Filing Date | Title |
|---|---|---|---|
| DE102017117024.3A DE102017117024B4 (en) | 2017-07-27 | 2017-07-27 | Camera arrangement and motor vehicle with camera arrangement |
Publications (2)
| Publication Number | Publication Date |
|---|---|
| DE102017117024A1 true DE102017117024A1 (en) | 2019-01-31 |
| DE102017117024B4 DE102017117024B4 (en) | 2021-01-21 |
Family
ID=65003853
Family Applications (1)
| Application Number | Title | Priority Date | Filing Date |
|---|---|---|---|
| DE102017117024.3A Active DE102017117024B4 (en) | 2017-05-08 | 2017-07-27 | Camera arrangement and motor vehicle with camera arrangement |
Country Status (1)
| Country | Link |
|---|---|
| DE (1) | DE102017117024B4 (en) |
Cited By (3)
| Publication number | Priority date | Publication date | Assignee | Title |
|---|---|---|---|---|
| DE102021118666A1 (en) | 2021-07-20 | 2023-01-26 | Bayerische Motoren Werke Aktiengesellschaft | Monitor system for a vehicle |
| DE102022203794A1 (en) | 2022-01-31 | 2023-08-03 | Witte Automotive Gmbh | Device for a vehicle and vehicle |
| US12319205B2 (en) | 2022-01-31 | 2025-06-03 | Witte Automotive Gmbh | Device for a vehicle and vehicle |
Citations (34)
| Publication number | Priority date | Publication date | Assignee | Title |
|---|---|---|---|---|
| EP1328141A2 (en) | 2002-01-12 | 2003-07-16 | Schefenacker Vision Systems Germany GmbH & Co. KG | Conductor from flexible material, assembly having such a flexible conductor and method for manufacturing such a conductor |
| US6703925B2 (en) | 2000-01-28 | 2004-03-09 | Reitter & Schefenacker Gmbh & Co. Kg | Monitoring device for vehicles, in particular, motor vehicles |
| EP1673260A2 (en) | 2003-10-14 | 2006-06-28 | Schefenacker Vision Systems Germany GmbH & Co. KG | Cleaning device |
| DE102006039192A1 (en) * | 2006-08-22 | 2008-02-28 | Huf Hülsbeck & Fürst Gmbh & Co. Kg | Device for opening a vehicle lock and for image acquisition in the exterior of the vehicle |
| US20090231430A1 (en) | 2006-05-16 | 2009-09-17 | Huf Hülsbeck & Fürst Gmbh & Co. Kg | Device for Capturing an Image of the External Area of a Vehicle by Means of a Camera |
| EP2146325A1 (en) | 2008-07-16 | 2010-01-20 | SMR PATENTS S.à.r.l. | Recording device for receiving and processing image files in a vehicle and method |
| EP2202826A1 (en) | 2008-12-23 | 2010-06-30 | SMR PATENTS S.à.r.l. | Polymer Electrolytes and Devices containing them |
| EP2233360A1 (en) | 2009-03-27 | 2010-09-29 | SMR Patents S.à.r.l. | Snap fit connection in a rear view mirror |
| DE102009015610A1 (en) * | 2009-04-02 | 2010-10-07 | Huf Hülsbeck & Fürst Gmbh & Co. Kg | Device with a camera unit for image acquisition of the exterior of a motor vehicle |
| US7999992B2 (en) | 2005-07-01 | 2011-08-16 | Smr Patents S.A.R.L. | Charge conducting medium |
| US8031224B2 (en) | 2006-09-14 | 2011-10-04 | Smr Patents S.A.R.L. | Camera system, method for operation of a camera system and sensor device of a camera system |
| DE102011001825A1 (en) * | 2011-04-05 | 2012-10-11 | Huf Hülsbeck & Fürst Gmbh & Co. Kg | Device with a camera unit |
| US8304014B2 (en) | 2006-02-09 | 2012-11-06 | Global Oled Technology Llc | Aligning OLED substrates to a shadow mask |
| DE102011103200A1 (en) | 2011-05-31 | 2012-12-06 | SMR Patents S.à.r.l. | Light window for use as light conductor for turn indicator in outside mirror arrangement of vehicle, has uncoupling structures at certain location of window, and optical film with molded coating and provided with uncoupling structures |
| US8395514B2 (en) | 2008-06-24 | 2013-03-12 | Smr Patents S.A.R.L. | Optical system and method for detecting optical system obscuration in a vehicle |
| DE102011053999A1 (en) | 2011-09-28 | 2013-03-28 | SMR Patents S.à.r.l. | Detection system for optical detection of object and/or region of space for driver assistance and/or display systems of motor vehicle, has optical sensor arranged as light field sensor for detection of direction information of light beam |
| US8460060B2 (en) | 2009-01-30 | 2013-06-11 | Smr Patents S.A.R.L. | Method for creating a complex surface on a substrate of glass |
| US8487633B2 (en) | 2010-01-14 | 2013-07-16 | Smr Patents S.A.R.L. | Fault detection of electric consumers in motor vehicles |
| US8537451B2 (en) | 2008-03-26 | 2013-09-17 | Smr Patents S.A.R.L. | Processes for producing electrochromic substrates and electrochromic articles made therefrom |
| DE102012107834A1 (en) | 2012-08-24 | 2014-02-27 | SMR Patents S.à.r.l. | Lighting device for back-vision unit, such as interior- or exterior mirrors, of motor vehicle, has clamping unit with adjusting unit, with which distance between lighting unit and light coupling area is adjustable |
| DE102012107833A1 (en) | 2012-08-24 | 2014-02-27 | SMR Patents S.à.r.l. | Illumination device for rearview device e.g. exterior mirror, of motor vehicle, has illumination unit comprising lighting unit fixed with fixing unit of sealing unit such that light of lighting unit is coupled to body over coupling area |
| DE102012108488A1 (en) | 2012-09-11 | 2014-03-13 | SMR Patents S.à.r.l. | Rearview assembly for motor vehicle, comprises rearview element and illumination unit that designs brake light functions, where rearview element is arranged according to external view mirror element in external area of motor vehicle |
| US8740427B2 (en) | 2010-09-08 | 2014-06-03 | Smr Patents S.A.R.L. | Optimal light coupling for rear view devices |
| EP2738043A1 (en) | 2012-12-03 | 2014-06-04 | SMR Patents S.à.r.l. | Housing and display device |
| US20150183380A1 (en) * | 2013-12-31 | 2015-07-02 | Huf North America Automotive Parts Mfg. Corp. | Multi-Positioning of a Camera or Other Sensing Device |
| US9181616B2 (en) | 2012-01-24 | 2015-11-10 | Smr Patents S.A.R.L. | Chromium-based reflective coating |
| EP2947378A1 (en) | 2014-05-22 | 2015-11-25 | SMR Patents S.à.r.l. | Optical light guide for a vehicle lighting unit |
| US20150360619A1 (en) * | 2014-06-13 | 2015-12-17 | Huf Huelsbeck & Fuerst Gmbh & Co. Kg | Assembly for a vehicle |
| US20160065796A1 (en) | 2014-08-28 | 2016-03-03 | Nissan North America, Inc. | Vehicle camera assembly |
| EP3045944A1 (en) | 2015-01-19 | 2016-07-20 | SMR Patents S.à.r.l. | Light guiding device |
| DE102015105771A1 (en) * | 2015-04-15 | 2016-10-20 | Witte Automotive Gmbh | camera assembly |
| DE102015115555A1 (en) | 2015-09-15 | 2017-03-16 | SMR Patents S.à.r.l. | Lighting device, rear view device, footwell device and vehicle |
| EP3144183A1 (en) | 2015-09-15 | 2017-03-22 | SMR Patents S.à.r.l. | Lighting device, vehicle component and vehicle |
| DE102016108247A1 (en) | 2016-05-03 | 2017-11-09 | SMR Patents S.à.r.l. | Cleaning system for a camera lens |
Family Cites Families (16)
| Publication number | Priority date | Publication date | Assignee | Title |
|---|---|---|---|---|
| EP2123731A1 (en) * | 2008-03-31 | 2009-11-25 | SMR PATENTS S.à.r.l. | Processes for producing electrochromic substrates and electrochromic articles made therefrom |
| EP2301803A1 (en) * | 2009-09-29 | 2011-03-30 | SMR Patents S.à.r.l. | Self substaining rear view mirror |
| EP2377725B2 (en) * | 2010-04-19 | 2017-01-25 | SMR Patents S.à.r.l. | Side mirror simulation |
| EP2465727B1 (en) * | 2010-12-15 | 2015-03-25 | SMR Patents S.à.r.l. | Camera arrangement and door handle for motor vehicle |
| EP3139711B1 (en) * | 2015-09-03 | 2020-05-06 | SMR Patents S.à.r.l. | Electronics device and rear view device |
| DE102012104529B4 (en) * | 2012-05-25 | 2025-10-09 | SMR Patents S.à.r.l. | Light guide unit |
| US10155484B2 (en) * | 2012-08-29 | 2018-12-18 | Smr Patents S.A.R.L. | Telescoping rearview assembly with camera and lens wiping system |
| EP2792556B1 (en) * | 2013-04-15 | 2017-10-04 | SMR Patents S.à.r.l. | Lens wiper |
| EP2792555B1 (en) * | 2013-04-18 | 2019-06-05 | SMR Patents S.à.r.l. | Method for controlling a wiper device |
| US10066069B2 (en) * | 2014-03-07 | 2018-09-04 | Smr Patents S.A.R.L. | Decorative coatings for plastic substrates |
| EP2933155B1 (en) * | 2014-04-17 | 2018-02-14 | SMR Patents S.à.r.l. | Optical system for a vehicle, cleaning device and vehicle comprising an optical system |
| EP2944866A1 (en) * | 2014-05-12 | 2015-11-18 | SMR Patents S.à.r.l. | Optical unit, display device, rear view device and motor vehicle including the same |
| EP2978209B1 (en) * | 2014-07-25 | 2018-03-07 | SMR Patents S.à.r.l. | Apparatus for light intensity adjustment |
| US10060594B2 (en) * | 2015-01-19 | 2018-08-28 | SMR Patents S.à.r.l. | Light guiding device |
| DE102015104163A1 (en) * | 2015-03-19 | 2016-09-22 | SMR Patents S.à.r.l. | Lighting device and method for producing a lighting device |
| EP3109102B1 (en) * | 2015-06-22 | 2019-09-04 | SMR Patents S.à.r.l. | Lens cleaning with flexural actuator |
-
2017
- 2017-07-27 DE DE102017117024.3A patent/DE102017117024B4/en active Active
Patent Citations (36)
| Publication number | Priority date | Publication date | Assignee | Title |
|---|---|---|---|---|
| US6703925B2 (en) | 2000-01-28 | 2004-03-09 | Reitter & Schefenacker Gmbh & Co. Kg | Monitoring device for vehicles, in particular, motor vehicles |
| US7083311B2 (en) | 2002-01-12 | 2006-08-01 | Schefenacker Vision Systems Germany Gmbh & Co. Kg | Conductor of flexible material, component comprising such flexible conductor, and method of manufacturing such conductor |
| EP1328141A2 (en) | 2002-01-12 | 2003-07-16 | Schefenacker Vision Systems Germany GmbH & Co. KG | Conductor from flexible material, assembly having such a flexible conductor and method for manufacturing such a conductor |
| EP1673260A2 (en) | 2003-10-14 | 2006-06-28 | Schefenacker Vision Systems Germany GmbH & Co. KG | Cleaning device |
| US7999992B2 (en) | 2005-07-01 | 2011-08-16 | Smr Patents S.A.R.L. | Charge conducting medium |
| US8304014B2 (en) | 2006-02-09 | 2012-11-06 | Global Oled Technology Llc | Aligning OLED substrates to a shadow mask |
| US20090231430A1 (en) | 2006-05-16 | 2009-09-17 | Huf Hülsbeck & Fürst Gmbh & Co. Kg | Device for Capturing an Image of the External Area of a Vehicle by Means of a Camera |
| DE102006039192A1 (en) * | 2006-08-22 | 2008-02-28 | Huf Hülsbeck & Fürst Gmbh & Co. Kg | Device for opening a vehicle lock and for image acquisition in the exterior of the vehicle |
| US8031224B2 (en) | 2006-09-14 | 2011-10-04 | Smr Patents S.A.R.L. | Camera system, method for operation of a camera system and sensor device of a camera system |
| US8537451B2 (en) | 2008-03-26 | 2013-09-17 | Smr Patents S.A.R.L. | Processes for producing electrochromic substrates and electrochromic articles made therefrom |
| US8395514B2 (en) | 2008-06-24 | 2013-03-12 | Smr Patents S.A.R.L. | Optical system and method for detecting optical system obscuration in a vehicle |
| US8849104B2 (en) | 2008-07-16 | 2014-09-30 | Smr Patents S.A.R.L. | Recording device and method for capturing and processing image data in a vehicle |
| EP2146325A1 (en) | 2008-07-16 | 2010-01-20 | SMR PATENTS S.à.r.l. | Recording device for receiving and processing image files in a vehicle and method |
| EP2202826A1 (en) | 2008-12-23 | 2010-06-30 | SMR PATENTS S.à.r.l. | Polymer Electrolytes and Devices containing them |
| US8460060B2 (en) | 2009-01-30 | 2013-06-11 | Smr Patents S.A.R.L. | Method for creating a complex surface on a substrate of glass |
| EP2233360A1 (en) | 2009-03-27 | 2010-09-29 | SMR Patents S.à.r.l. | Snap fit connection in a rear view mirror |
| DE102009015610A1 (en) * | 2009-04-02 | 2010-10-07 | Huf Hülsbeck & Fürst Gmbh & Co. Kg | Device with a camera unit for image acquisition of the exterior of a motor vehicle |
| US8487633B2 (en) | 2010-01-14 | 2013-07-16 | Smr Patents S.A.R.L. | Fault detection of electric consumers in motor vehicles |
| US8740427B2 (en) | 2010-09-08 | 2014-06-03 | Smr Patents S.A.R.L. | Optimal light coupling for rear view devices |
| DE102011001825A1 (en) * | 2011-04-05 | 2012-10-11 | Huf Hülsbeck & Fürst Gmbh & Co. Kg | Device with a camera unit |
| DE102011103200A1 (en) | 2011-05-31 | 2012-12-06 | SMR Patents S.à.r.l. | Light window for use as light conductor for turn indicator in outside mirror arrangement of vehicle, has uncoupling structures at certain location of window, and optical film with molded coating and provided with uncoupling structures |
| DE102011053999A1 (en) | 2011-09-28 | 2013-03-28 | SMR Patents S.à.r.l. | Detection system for optical detection of object and/or region of space for driver assistance and/or display systems of motor vehicle, has optical sensor arranged as light field sensor for detection of direction information of light beam |
| US9181616B2 (en) | 2012-01-24 | 2015-11-10 | Smr Patents S.A.R.L. | Chromium-based reflective coating |
| DE102012107834A1 (en) | 2012-08-24 | 2014-02-27 | SMR Patents S.à.r.l. | Lighting device for back-vision unit, such as interior- or exterior mirrors, of motor vehicle, has clamping unit with adjusting unit, with which distance between lighting unit and light coupling area is adjustable |
| DE102012107833A1 (en) | 2012-08-24 | 2014-02-27 | SMR Patents S.à.r.l. | Illumination device for rearview device e.g. exterior mirror, of motor vehicle, has illumination unit comprising lighting unit fixed with fixing unit of sealing unit such that light of lighting unit is coupled to body over coupling area |
| DE102012108488A1 (en) | 2012-09-11 | 2014-03-13 | SMR Patents S.à.r.l. | Rearview assembly for motor vehicle, comprises rearview element and illumination unit that designs brake light functions, where rearview element is arranged according to external view mirror element in external area of motor vehicle |
| EP2738043A1 (en) | 2012-12-03 | 2014-06-04 | SMR Patents S.à.r.l. | Housing and display device |
| US20150183380A1 (en) * | 2013-12-31 | 2015-07-02 | Huf North America Automotive Parts Mfg. Corp. | Multi-Positioning of a Camera or Other Sensing Device |
| EP2947378A1 (en) | 2014-05-22 | 2015-11-25 | SMR Patents S.à.r.l. | Optical light guide for a vehicle lighting unit |
| US20150360619A1 (en) * | 2014-06-13 | 2015-12-17 | Huf Huelsbeck & Fuerst Gmbh & Co. Kg | Assembly for a vehicle |
| US20160065796A1 (en) | 2014-08-28 | 2016-03-03 | Nissan North America, Inc. | Vehicle camera assembly |
| EP3045944A1 (en) | 2015-01-19 | 2016-07-20 | SMR Patents S.à.r.l. | Light guiding device |
| DE102015105771A1 (en) * | 2015-04-15 | 2016-10-20 | Witte Automotive Gmbh | camera assembly |
| DE102015115555A1 (en) | 2015-09-15 | 2017-03-16 | SMR Patents S.à.r.l. | Lighting device, rear view device, footwell device and vehicle |
| EP3144183A1 (en) | 2015-09-15 | 2017-03-22 | SMR Patents S.à.r.l. | Lighting device, vehicle component and vehicle |
| DE102016108247A1 (en) | 2016-05-03 | 2017-11-09 | SMR Patents S.à.r.l. | Cleaning system for a camera lens |
Cited By (3)
| Publication number | Priority date | Publication date | Assignee | Title |
|---|---|---|---|---|
| DE102021118666A1 (en) | 2021-07-20 | 2023-01-26 | Bayerische Motoren Werke Aktiengesellschaft | Monitor system for a vehicle |
| DE102022203794A1 (en) | 2022-01-31 | 2023-08-03 | Witte Automotive Gmbh | Device for a vehicle and vehicle |
| US12319205B2 (en) | 2022-01-31 | 2025-06-03 | Witte Automotive Gmbh | Device for a vehicle and vehicle |
Also Published As
| Publication number | Publication date |
|---|---|
| DE102017117024B4 (en) | 2021-01-21 |
Similar Documents
| Publication | Publication Date | Title |
|---|---|---|
| EP3595933B1 (en) | Movable lighting and image-recording unit for a motor vehicle | |
| DE102017117153B4 (en) | Camera device, rearview device and automobile | |
| EP3727934B1 (en) | Luminaire, rear view device, and motor vehicle having luminaire | |
| DE102018116008A1 (en) | Basic arrangement with rearview device | |
| DE112018004812T5 (en) | Active all-round vision system with self-cleaning mechanism | |
| EP3864437B1 (en) | Vehicle surroundings sensor with movable sensor unit | |
| DE102023106330B3 (en) | Sensor module for attachment to a surface component of a motor vehicle and roof module for forming a vehicle roof on a motor vehicle | |
| DE102018105657B3 (en) | REVIEW SENSOR ARRANGEMENT AND VEHICLE | |
| DE102017117024B4 (en) | Camera arrangement and motor vehicle with camera arrangement | |
| DE102014217749B4 (en) | Lens hood, driver assistance system and procedure | |
| DE102017109872B4 (en) | Lighting and image recording unit for a motor vehicle | |
| DE102017121376B4 (en) | Method for operating a motor vehicle with at least one external camera and a motor vehicle with at least one external camera | |
| DE102018116011A1 (en) | Sealing means, basic arrangement with such a sealing means and rearview device with such a basic arrangement | |
| EP3667410B1 (en) | Motor vehicle sensor system combination module | |
| DE102017129186A1 (en) | Review device for a motor vehicle, assembly method and motor vehicle with a review device | |
| WO2019115746A1 (en) | Lighting device, rear-view device and motor vehicle | |
| EP3272589B1 (en) | Hinge cover of a commercial vehicle for accommodating an image acquisition unit | |
| DE102017117032B4 (en) | Camera arrangement and motor vehicle with camera arrangement | |
| EP3470272A1 (en) | Decorative trim for a vehicle and vehicle with decorative trim | |
| DE102018121580B4 (en) | Lighting device and rear view device therewith | |
| DE102017130246B4 (en) | Rear-view device and motor vehicle | |
| DE102017100602A1 (en) | Electronic side mirror for a motor vehicle with a camera arranged in a housing of the electronic side mirror, camera system and motor vehicle | |
| DE202016005453U1 (en) | Vehicle exterior mirror system | |
| DE102018202200B4 (en) | Sensor device for detecting the surroundings of a vehicle | |
| DE102017125757A1 (en) | Review device and motor vehicle |
Legal Events
| Date | Code | Title | Description |
|---|---|---|---|
| R012 | Request for examination validly filed | ||
| R016 | Response to examination communication | ||
| R084 | Declaration of willingness to licence | ||
| R018 | Grant decision by examination section/examining division | ||
| R020 | Patent grant now final |
