DE102017001517B4 - Method for creating a status analysis of a wireless network infrastructure - Google Patents
Method for creating a status analysis of a wireless network infrastructure Download PDFInfo
- Publication number
- DE102017001517B4 DE102017001517B4 DE102017001517.1A DE102017001517A DE102017001517B4 DE 102017001517 B4 DE102017001517 B4 DE 102017001517B4 DE 102017001517 A DE102017001517 A DE 102017001517A DE 102017001517 B4 DE102017001517 B4 DE 102017001517B4
- Authority
- DE
- Germany
- Prior art keywords
- data
- mobile terminal
- measurement data
- wlan
- radio
- Prior art date
- Legal status (The legal status is an assumption and is not a legal conclusion. Google has not performed a legal analysis and makes no representation as to the accuracy of the status listed.)
- Active
Links
Images
Classifications
-
- H—ELECTRICITY
- H04—ELECTRIC COMMUNICATION TECHNIQUE
- H04W—WIRELESS COMMUNICATION NETWORKS
- H04W24/00—Supervisory, monitoring or testing arrangements
- H04W24/08—Testing, supervising or monitoring using real traffic
-
- G—PHYSICS
- G01—MEASURING; TESTING
- G01S—RADIO DIRECTION-FINDING; RADIO NAVIGATION; DETERMINING DISTANCE OR VELOCITY BY USE OF RADIO WAVES; LOCATING OR PRESENCE-DETECTING BY USE OF THE REFLECTION OR RERADIATION OF RADIO WAVES; ANALOGOUS ARRANGEMENTS USING OTHER WAVES
- G01S5/00—Position-fixing by co-ordinating two or more direction or position line determinations; Position-fixing by co-ordinating two or more distance determinations
- G01S5/0009—Transmission of position information to remote stations
- G01S5/0018—Transmission from mobile station to base station
- G01S5/0027—Transmission from mobile station to base station of actual mobile position, i.e. position determined on mobile
-
- H—ELECTRICITY
- H04—ELECTRIC COMMUNICATION TECHNIQUE
- H04W—WIRELESS COMMUNICATION NETWORKS
- H04W16/00—Network planning, e.g. coverage or traffic planning tools; Network deployment, e.g. resource partitioning or cells structures
- H04W16/18—Network planning tools
-
- H—ELECTRICITY
- H04—ELECTRIC COMMUNICATION TECHNIQUE
- H04W—WIRELESS COMMUNICATION NETWORKS
- H04W64/00—Locating users or terminals or network equipment for network management purposes, e.g. mobility management
Landscapes
- Engineering & Computer Science (AREA)
- Physics & Mathematics (AREA)
- General Physics & Mathematics (AREA)
- Radar, Positioning & Navigation (AREA)
- Remote Sensing (AREA)
- Computer Networks & Wireless Communication (AREA)
- Signal Processing (AREA)
- Mobile Radio Communication Systems (AREA)
Abstract
Verfahren zum Erstellen einer Zustandsanalyse einer Funknetzwerk-Infrastruktur, welche wenigstens einen Funk-Sender (36) und wenigstens ein mobiles Endgerät (24), welches zum Empfangen von wenigstens einem Funk-Signal des wenigstens einen Funk-Senders (36) ausgebildet ist, umfasst, bei welchem
- das wenigstens eine mobile Endgerät (24) Messdaten des wenigstens einen Funk-Signals erfasst,
- mittels einer Positionsermittlungsvorrichtung (25) Positionsdaten ermittelt werden, welche die Position des wenigstens einen mobilen Endgerätes (24) angeben,
- die Messdaten und die Positionsdaten umfassende Daten an eine übergeordnete Erfassungseinrichtung (15) übertragen werden,
- die Daten in einer Datenbank der Erfassungseinrichtung (15) gespeichert werden, und bei welchem
-für die Zustandsanalyse die Daten mittels einer Datenverarbeitungseinrichtung (13) ausgewertet werden, dadurch gekennzeichnet, dass die Positionsdaten von einem Prozessleitsystem dem wenigstens einen mobilen Endgerät (24) zur Verfügung gestellt werden, und dass die Daten durch die Datenverarbeitungseinrichtung (13) mittels eines Massendatenanalysewerkzeugs im Hinblick auf wenigstens ein Kriterium gefiltert werden, mittels des Massendatenanalysewerkzeugs eine zeitliche Entwicklung der Messdaten über einen definierten Zeitraum dargestellt wird, und in Abhängigkeit von der zeitlichen Entwicklung der Messdaten durch die Datenverarbeitungseinrichtung (13) Grenzwerte (44,46) einer Stärke des Funk-Signals ermittelt werden.
Method for creating a status analysis of a radio network infrastructure, which comprises at least one radio transmitter (36) and at least one mobile terminal (24), which is designed to receive at least one radio signal from the at least one radio transmitter (36). , in which
- the at least one mobile terminal (24) records measurement data from the at least one radio signal,
- position data is determined by means of a position determination device (25), which indicates the position of the at least one mobile terminal (24),
- the measurement data and data comprising the position data are transmitted to a higher-level detection device (15),
- the data is stored in a database of the recording device (15), and in which
-for the status analysis, the data is evaluated by means of a data processing device (13), characterized in that the position data is made available to the at least one mobile terminal (24) by a process control system, and that the data is processed by the data processing device (13) using a mass data analysis tool are filtered with regard to at least one criterion, a temporal development of the measurement data is displayed over a defined period of time by means of the mass data analysis tool, and depending on the temporal development of the measurement data by the data processing device (13) limit values (44,46) of a strength of the radio Signal can be determined.
Description
Die Erfindung betrifft ein Verfahren zum Erstellen einer Zustandsanalyse einer Funknetzwerk-Infrastruktur gemäß dem Oberbegriff von Patentanspruch 1 sowie ein System mit einer Funknetzwerk-Infrastruktur.The invention relates to a method for creating a status analysis of a radio network infrastructure according to the preamble of claim 1 and a system with a radio network infrastructure.
Ein Verfahren zum Analysieren von Daten ist bereits aus der
Ein Verfahren zur Fernwartung eines Flurförderzeugs wird in der
In der
Aus der
Überdies offenbart die
Des Weiteren ist aus der
Für eine Steigerung von Mobilität und Flexibilität werden in Produktionsbetrieben immer mehr mobile und damit funkangebundene Endgeräte eingesetzt. Diese mobilen Endgeräte sind beispielsweise Teilnehmer einer flächenmäßigen WLAN-Infrastruktur, bei welcher es sich um eine Funknetzwerk-Infrastruktur handelt und welche beispielsweise von einer Abteilung zur Informationstechnik betrieben wird. Momentan gibt es allenfalls ein Zustandsmonitoring der WLAN-Infrastruktur, insbesondere von aktiven Informationstechnik-Komponenten und Zugangspunkten, wobei deren Verfügbarkeit überprüft wird. Da eine Erfassung von relevanten Messdaten zur Beurteilung eines WLAN-Signals sowie deren Bewertung und deren erfahrungsbasierte Grenzbetriebswerte fehlen, ist eine umfassende Überwachung der WLAN-Infrastruktur hierbei nicht möglich. Aufgrund einer bisherigen Fokussierung auf Ausfallverhalten von Informationstechnologie-Komponenten und nicht auf reale Betriebswerte der WLAN-Infrastruktur kann bei Störungen nur eine reaktive Problembehandlung stattfinden. Hierbei erfolgt eine Benachrichtigung einer Instandhaltungsabteilung durch Produktionsmitarbeiter anhand von manuell erfassten Fehlersymptomen. Anschließend kann beispielsweise eine Störungsmeldung per Telefon bei der Informationstechnologie-Abteilung erfolgen. Inzwischen kann das Problem aber verschwunden sein und/oder das wenigstens eine mobile Endgerät befindet sich wieder in einem Bereich in welchem ein Empfang des WLAN-Signals gut funktioniert.To increase mobility and flexibility, more and more mobile and therefore radio-connected devices are being used in production companies. These mobile devices are, for example, participants in an extensive WLAN infrastructure, which is a radio network infrastructure and which is operated, for example, by an information technology department. At the moment there is at most status monitoring of the WLAN infrastructure, especially of active information technology components and access points, whereby their availability is checked. Since there is no collection of relevant measurement data to assess a WLAN signal as well as their evaluation and their experience-based limit operating values, comprehensive monitoring of the WLAN infrastructure is not possible. Due to the previous focus on the failure behavior of information technology components and not on the real operating values of the WLAN infrastructure, only reactive troubleshooting can take place in the event of disruptions. A maintenance department is notified by production employees based on manually recorded error symptoms. For example, a fault report can then be made by telephone to the information technology department. In the meantime, however, the problem may have disappeared and/or the at least one mobile device is again in an area in which reception of the WLAN signal works well.
Hieraus ergibt sich der Nachteil, dass lediglich eine reaktive Problemlösung möglich ist und keine vorausschauenden prädiktiven oder proaktiven Ansätze verfolgt werden können. Des Weiteren ist eine Feststellung der Fehlerursache nur schwer möglich. Darüber hinaus ist lediglich eine sehr grobe räumliche und/oder zeitliche Überwachung der WLAN-Infrastruktur möglich, was für produktionskritische Komponenten der WLAN-Infrastruktur unzureichend ist. Da keine Langzeitspeicherung von Betriebsdaten erfolgt, können keine Tendenzen und/oder Trends und/oder Änderungen erkannt werden. Auch ist kein Überblick über den Zustand der WLAN-Infrastruktur mit zeitlichem und/oder örtlichem Fokus möglich. Bislang ist eine räumliche Ortung von Komponenten, insbesondere mobiler Endgeräte, der WLAN-Infrastruktur nur ansatzweise und ungenau auf Basis von Triangulation möglich. Außerdem ist eine systematische Analyse von Betriebskenngrößen der WLAN-Infrastruktur nicht möglich, da keine belastbaren, datenbasierten und übertragbaren Eingriffs- und Grenzwerte existieren.This has the disadvantage that only reactive problem solving is possible and no forward-looking, predictive or proactive approaches can be pursued. Furthermore, it is difficult to determine the cause of the error. In addition, only very rough spatial and/or temporal monitoring of the WLAN infrastructure is possible, which is insufficient for production-critical components of the WLAN infrastructure. Since there is no long-term storage of operating data, no tendencies and/or trends and/or changes can be recognized. It is also not possible to provide an overview of the status of the WLAN infrastructure with a temporal and/or spatial focus. To date, spatial location of components, especially mobile devices, of the WLAN infrastructure has only been possible to a limited extent and imprecisely based on triangulation. In addition, a systematic analysis of operating parameters of the WLAN infrastructure is not possible because there are no reliable, data-based and transferable intervention and limit values.
Aufgabe der vorliegenden Erfindung ist es, ein Verfahren und ein System zu schaffen, mittels welchem ein Zustand einer Funknetzwerk-Infrastruktur besonders vorteilhaft erfassbar ist.The object of the present invention is to create a method and a system by means of which a state of a radio network infrastructure can be detected particularly advantageously.
Diese Aufgabe wird erfindungsgemäß durch ein Verfahren mit den Merkmalen des Patentanspruchs 1 sowie durch ein System mit den Merkmalen des Patentanspruchs 10 gelöst. Vorteilhafte Ausgestaltungen der Erfindung sind Gegenstand der abhängigen Ansprüche.This object is achieved according to the invention by a method with the features of patent claim 1 and by a system with the features of
Ein erster Aspekt der Erfindung betrifft ein Verfahren zum Erstellen einer Zustandsanalyse einer Funknetzwerk-Infrastruktur, welche wenigstens einen Funk-Sender und wenigstens ein mobiles Endgerät, welches zum Empfang von wenigstens einem Funk-Signal des wenigstens einen Funk-Senders ausgebildet ist, umfasst. Bei dem Verfahren erfasst das wenigstens eine mobile Endgerät Messdaten des wenigstens einen Funk-Signals. Des Weiteren werden mittels einer Positionsermittlungsvorrichtung Positionsdaten ermittelt, welche die Position des wenigstens einen mobilen Endgerätes angeben. Darüber hinaus werden die Messdaten und die Positionsdaten umfassende Daten an eine übergeordnete Erfassungseinrichtung übertragen und die Daten in einer Datenbank der Erfassungseinrichtung gespeichert. Für die Zustandsanalyse werden die Daten mittels einer Datenverarbeitungseinrichtung ausgewertet.A first aspect of the invention relates to a method for creating a status analysis of a radio network infrastructure, which comprises at least one radio transmitter and at least one mobile terminal, which is designed to receive at least one radio signal from the at least one radio transmitter. In the method, the at least one mobile terminal records measurement data from the at least one radio signal. Furthermore, position data is determined by means of a position determination device, which indicates the position of the at least one mobile terminal. In addition, the measurement data and data comprising the position data are transmitted to a higher-level recording device and the data is stored in a database of the recording device. For the condition analysis, the data is evaluated using a data processing device.
Mit anderen Worten wird mittels des erfindungsgemäßen Verfahrens beispielsweise eine WLAN-Infrastruktur, bei welcher es sich um ein Beispiel der Funknetzwerk-Infrastruktur handelt, bezüglich ihres Zustandes analysiert. Weitere Beispiele für die Funknetzwerk-Infrastruktur sind eine UMTS-Infrastruktur und eine LTE-Infrastruktur. Im Folgenden wird das Verfahren anhand des Beispiels der WLAN-Infrastruktur näher erläutert, wobei angemerkt wird, dass die in diesem Zusammenhang erläuterten Ausführungen und Vorteile ebenso für andere Funknetzwerk-Infrastrukturen Gültigkeit besitzen.In other words, using the method according to the invention, for example, a WLAN infrastructure, which is an example of the radio network infrastructure, is analyzed with regard to its condition. Further examples of radio network infrastructure are a UMTS infrastructure and an LTE infrastructure. The method is explained in more detail below using the example of the WLAN infrastructure, whereby it is noted that the explanations and advantages explained in this context also apply to other radio network infrastructures.
Für die Zustandsanalyse der WLAN-Infrastruktur werden mittels des mobilen Endgerätes Messdaten des wenigstens einen WLAN-Signals erfasst, wobei es sich bei den Messdaten beispielsweise um relevante Messdaten zur Beurteilung der Signalstärke handeln kann.For the condition analysis of the WLAN infrastructure, measurement data of the at least one WLAN signal is recorded using the mobile terminal, whereby the measurement data can be, for example, relevant measurement data for assessing the signal strength.
Zu den relevanten Messdaten zur Beurteilung der Signalstärke gehören beispielsweise aktuelle Signalkennwerte, wie beispielsweise das Signal-Rausch-Verhältnis (Noise) und wenigstens ein Indikator für die Empfangsfeldstärke (beispielsweise der Received Signal Strength Indicator (RSSI)). Des Weiteren können als relevante Messdaten zur Beurteilung der Signalstärke beispielsweise die Hardware-Adresse (Media-Access-Control-Adresse) des mobilen Endgerätes, der jeweilige Name aller mobilen Endgeräte (Service Set Identifier (SSID)), der aktive WLAN-Kanal, die Datenrate, die Sendeleistung in Milliwatt, die Anzahl Pakete Empfänger (Receiver (Rx)), die Anzahl Pakete Sender (Transmitter (Tx)), die Anzahl Pakete Neuversuch (Retry), die Anzahl Pakete Fehler, Wechseleinstellungen zwischen verschiedenen WLAN-Netzen (Roamingeinstellungen), insbesondere Messdaten zum Signal-Rausch-Verhältnis (Signal-Noise-Ratio (SNR)) sowie eine Anzahl und eine Zeit der Wechsel, Daten zum Kommunikationsprotokoll (Dynamic Host Configuration Protocol) sowie zu Internetprotokoll-Adressen (IP-Adressen), inklusive Gültigkeitsdauer einer Internetprotokoll-Konfiguration (Lease-Time) und Namen (Host-Name), WLAN-Verbindung (WLAN IO/NIO), ein Abtasten der umgebenden Zugangspunkte (Scan der umgebenden Accesspoints) sowie eine Statistik über offene Anschlüsse (Ports) sowie aktive Netzwerkprotokolle (Übertragungsteuerungsprotokoll: Transmission Control Protocol (TCP), Anwenderdatagrammprotokoll: User Datagram Protocol (UDP)), herangezogen werden. Die Messdaten zum WLAN IO/NIO können über das Aussenden eines Paketes eines Diagnose-Werkzeugs (Ping) an feste Diener (Server), Leitrechner oder an Protokollumsetzer (Gateways) ermittelt werden.The relevant measurement data for assessing the signal strength includes, for example, current signal characteristics, such as the signal-to-noise ratio (noise) and at least one indicator for the received field strength (for example the Received Signal Strength Indicator (RSSI)). Furthermore, the hardware address (media access control address) of the mobile device, the respective name of all mobile devices (Service Set Identifier (SSID)), the active WLAN channel, etc. can be used as relevant measurement data for assessing the signal strength Data rate, the transmission power in milliwatts, the number of receiver packets (Rx), the number of transmitter packets (Tx), the number of retry packets, the number of error packets, switch settings between different WLAN networks (roaming settings ), in particular measurement data on the signal-noise ratio (SNR) as well as a number and time of changes, data on the communication protocol (Dynamic Host Configuration Protocol) and on Internet protocol addresses (IP addresses), included Validity period of an Internet protocol configuration (lease time) and name (host name), WLAN connection (WLAN IO/NIO), scanning of the surrounding access points (scan of the surrounding access points) as well as statistics on open connections (ports) and active ones Network protocols (transmission control protocol: Transmission Control Protocol (TCP), user datagram protocol: User Datagram Protocol (UDP)) can be used. The measurement data for WLAN IO/NIO can be determined by sending a packet from a diagnostic tool (ping) to fixed servers (servers), master computers or to protocol converters (gateways).
Bei dem Verfahren werden die Positionsdaten, welche die Position des wenigstens einen mobilen Endgerätes angeben, mittels der Positionsermittlungsvorrichtung ermittelt. Unter der Positionsermittlungsvorrichtung ist eine Vorrichtung zu verstehen, welche der Ermittlung der Position des wenigstens einen mobilen Endgerätes dient. Dabei kann die Positionsermittlungsvorrichtung beispielsweise über empfangene Daten, insbesondere mittels GPS, und/oder über Triangulation die Position des wenigstens einen mobilen Endgerätes ermitteln. Alternativ oder zusätzlich kann die Positionsermittlungsvorrichtung die Position des wenigstens einen mobilen Endgerätes anhand von Kennwerten zu einem Prozessablauf, in welchem das mobile Endgerät beispielsweise eingesetzt wird, ermittelt werden. Beispielsweise befindet sich das mobile Endgerät in einem Fahrzeug, welches sich wiederum in einem ortsfesten Prüfstand befindet. Beispielsweise ermittelt die Positionsermittlungsvorrichtung anhand von der Information, dass das mobile Endgerät in dem Fahrzeug in dem ortsfesten Prüfstand befindlich ist, Positionsdaten zur Position des wenigstens einen mobilen Endgerätes.In the method, the position data, which indicates the position of the at least one mobile terminal, is determined by means of the position determination device. The position determination device is to be understood as a device which serves to determine the position of the at least one mobile terminal. The position determination device can, for example, determine the position of the at least one mobile terminal via received data, in particular using GPS, and/or via triangulation. Alternatively or additionally, the position determination device can determine the position of the at least one mobile terminal based on characteristic values for a process flow in which the mobile terminal is used, for example. For example, the mobile device is located in a vehicle, which in turn is located in a stationary test stand. For example, the position determination device determines position data for the position of the at least one mobile terminal based on the information that the mobile terminal in the vehicle is located in the stationary test stand.
Anschließend werden die die Messdaten und die Positionsdaten umfassenden Daten an die übergeordnete Erfassungseinrichtung übertragen, wobei die Übertragung beispielsweise über die WLAN-Infrastruktur erfolgen kann. Insbesondere werden die die Messdaten und die Positionsdaten umfassenden Daten so an die übergeordnete Erfassungseinrichtung übertragen, dass die Positionsdaten den Messdaten beziehungsweise die Messdaten den Positionsdaten zuordenbar sind. Das bedeutet, dass die Messdaten den Positionsdaten beziehungsweise die Positionsdaten den Messdaten zugeordnet werden können.The data comprising the measurement data and the position data are then transmitted to the higher-level detection device, whereby the transmission can take place, for example, via the WLAN infrastructure. In particular, the data comprising the measurement data and the position data are transmitted to the higher-level detection device in such a way that the position data corresponds to the measurement data or the measurement data corresponds to the posi tion data can be assigned. This means that the measurement data can be assigned to the position data or the position data can be assigned to the measurement data.
Bei der übergeordneten Erfassungseinrichtung kann es sich beispielsweise um einen Server handeln, auf welchem die Daten speicherbar sind. Beispielsweise ist der Server mit einer Software ausgestattet, welche das Empfangen der Daten ermöglicht. Darüber hinaus umfasst die Erfassungseinrichtung die Datenbank, in welcher die Daten speicherbar sind. Hierbei ist unter der Datenbank insbesondere eine Einrichtung zu verstehen, in beziehungsweise auf welcher die Daten speicherbar sind. Dabei kann die Datenbank sowohl Software als auch Hardware umfassen.The higher-level recording device can be, for example, a server on which the data can be stored. For example, the server is equipped with software that enables data to be received. In addition, the recording device includes the database in which the data can be stored. Here, the database is to be understood in particular as a device in or on which the data can be stored. The database can include both software and hardware.
In der Datenbank der Erfassungseinrichtung werden die Daten gespeichert und mittels der Datenverarbeitungseinrichtung ausgewertet, um die Zustandsanalyse der WLAN-Infrastruktur zu erstellen. Insbesondere werden die Messdaten und die Positionsdaten einander zuordenbar in der Datenbank der Erfassungseinrichtung gespeichert.The data is stored in the database of the recording device and evaluated by the data processing device in order to create the status analysis of the WLAN infrastructure. In particular, the measurement data and the position data are stored in the database of the detection device so that they can be assigned to one another.
Erfindungsgemäß ist vorgesehen, dass die Positionsdaten von einem Prozessleitsystem dem wenigstens einen mobilen Endgerät zur Verfügung gestellt werden. In dem Prozessleitsystem ist beispielsweise hinterlegt, zu welchem Zeitpunkt sich das wenigstens eine mobile Endgerät an welcher Position befindet. Über beispielsweise speicherprogrammierbare Steuerung von Fördertechnik kann das mobile Endgerät beispielsweise sehr genau entsprechend der Vorgaben des Prozessleitsystems bewegt werden. Somit wird beispielsweise von der Fördertechnik dafür gesorgt, dass sich das mobile Endgerät zu einem jeweiligen Zeitpunkt an einer vom Prozessleitsystem vorgegebenen Position befindet. Diese im Prozessleitsystem hinterlegten zeitabhängigen Positionsdaten können beispielsweise an die Positionsermittlungsvorrichtung übertragen werden. Somit ist eine besonders präzise Bestimmung der Positionsdaten des mobilen Endgerätes möglich. Beispielsweise befindet sich das wenigstens eine mobile Endgerät in dem Fahrzeug, welches wiederum in dem ortsfesten Prüfstand steht. Sowohl die Position des Prüfstandes, als auch die Dauer eines Prüfprozesses kann im Prozessleitsystem hinterlegt sein und an die Positionsermittlungsvorrichtung übertragen werden. Folglich sind die Positionsdaten des mobilen Endgerätes während des Prüfprozesses und während eines Aufenthalts des mobilen Endgerätes in dem ortsfesten Prüfstand von der Positionsermittlungsvorrichtung erfassbar.According to the invention, it is provided that the position data is made available to the at least one mobile terminal by a process control system. For example, the process control system stores at what point in time the at least one mobile terminal is in which position. For example, using programmable logic control of conveyor technology, the mobile device can be moved very precisely in accordance with the specifications of the process control system. For example, the conveyor technology ensures that the mobile device is at a position specified by the process control system at any given time. This time-dependent position data stored in the process control system can, for example, be transmitted to the position determination device. This makes a particularly precise determination of the position data of the mobile device possible. For example, the at least one mobile terminal is located in the vehicle, which in turn is located in the stationary test stand. Both the position of the test stand and the duration of a test process can be stored in the process control system and transferred to the position determination device. Consequently, the position data of the mobile terminal can be detected by the position determination device during the testing process and while the mobile terminal is in the stationary test stand.
Befindet sich das mobile Endgerät beispielsweise in einem Fahrzeug, welches kontinuierlich mittels der Fördertechnik bewegt wird, so sind die Positionsdaten des mobilen Endgerätes ebenfalls von der Positionsermittlungsvorrichtung erfassbar, da die Fördertechnik mittels der speicherprogrammierbaren Steuerung und anhand der im Prozessleitsystem hinterlegten Daten gesteuert wird und somit ebenfalls die zeitabhängige Position des sich indirekt mittels der Fördertechnik bewegten mobilen Endgeräts im Prozessleitsystem hinterlegt und an die Positionsermittlungsvorrichtung übertragbar ist.If, for example, the mobile terminal is located in a vehicle that is continuously moved by means of the conveyor technology, the position data of the mobile terminal can also be detected by the position determination device, since the conveyor technology is controlled by means of the programmable logic controller and based on the data stored in the process control system and thus also the time-dependent position of the mobile terminal, which moves indirectly by means of the conveyor technology, is stored in the process control system and can be transferred to the position determination device.
Die Ermittlung der Positionsdaten mittels der Positionsermittlungsvorrichtung, bei welcher die Positionsdaten von dem Prozessleitsystem dem wenigstens einen mobilen Endgerät zur Verfügung gestellt werden, ermöglicht eine besonders genaue Ermittlung der Position des wenigstens einen mobilen Endgerätes verglichen mit der ungenaueren Triangulationsmethodik.The determination of the position data by means of the position determination device, in which the position data from the process control system is made available to the at least one mobile terminal, enables a particularly precise determination of the position of the at least one mobile terminal compared to the less precise triangulation methodology.
Weiterhin erfindungsgemäß werden die Daten durch die Datenverarbeitungseinrichtung mittels eines Massendatenanalysewerkzeugs im Hinblick auf wenigstens ein Kriterium gefiltert. Dies ermöglicht eine bedarfsorientierte Auswertung der Daten und erhöht den Komfort eines Nutzers der Daten, insbesondere bei einer großen Menge an erfassten Daten. Das verwendete Massendatenanalysewerkzeug ist vorteilhafterweise so ausgestaltet, dass dem Nutzer die gewünschten Daten aus den Daten herausgefiltert und besonders komfortabel präsentiert werden können.Furthermore, according to the invention, the data is filtered by the data processing device using a mass data analysis tool with regard to at least one criterion. This enables needs-oriented evaluation of the data and increases the comfort of a user of the data, especially when there is a large amount of recorded data. The mass data analysis tool used is advantageously designed in such a way that the desired data can be filtered out of the data to the user and presented in a particularly convenient manner.
Des Weiteren wird mittels des Massendatenanalysewerkzeugs eine zeitliche Entwicklung der Messdaten über einen definierten Zeitraum dargestellt. Beispielsweise werden die Daten im Hinblick auf die Signalstärke an einer definierten Position des mobilen Endgerätes über einen definierten Zeitraum gefiltert. Hieraus ergibt sich der Vorteil, dass sich die zeitliche Entwicklung des Zustandes der Funknetzwerk-Infrastruktur und insbesondere der WLAN-Infrastruktur mittels des Massendatenanalysewerkzeugs für den Nutzer besonders komfortabel und übersichtlich darstellen lassen. Des Weiteren können anhand der zeitlichen Entwicklung der Messdaten Eingriffs- und Betriebsgrenzen generiert, abgesichert und fundiert werden. Anhand dieser Eingriffs- und Betriebsgrenzen kann in vorteilhafter Weise für den Benutzer besonders schnell kenntlich gemacht werden, an welcher Position die Messdaten die Eingriffs- und Betriebsgrenzen überschreiten beziehungsweise unterschreiten. Dies ermöglicht eine proaktive Wartung und Fehlervermeidung. Des Weiteren können beispielsweise bauliche Veränderungen anhand einer Änderung der von dem wenigstens einen mobilen Endgerät gemessenen Messdaten erkannt werden. Durch die beispielsweise besonders schnelle Erfassung der baulichen Veränderung kann beispielsweise die WLAN-Infrastruktur besonders schnell neuen Gegebenheiten angepasst werden.Furthermore, a temporal development of the measurement data over a defined period of time is displayed using the mass data analysis tool. For example, the data is filtered with regard to the signal strength at a defined position of the mobile device over a defined period of time. This has the advantage that the temporal development of the state of the radio network infrastructure and in particular the WLAN infrastructure can be displayed particularly conveniently and clearly for the user using the mass data analysis tool. Furthermore, intervention and operating limits can be generated, secured and substantiated based on the temporal development of the measurement data. Based on these intervention and operating limits, it can advantageously be made clear to the user particularly quickly at which position the measurement data exceeds or falls below the intervention and operating limits. This enables proactive maintenance and error prevention. Furthermore, for example, structural changes can be recognized based on a change in the measurement data measured by the at least one mobile terminal. By detecting structural changes particularly quickly, for example, the WLAN infrastructure can can be adapted particularly quickly to new circumstances.
Es werden überdies in Abhängigkeit der zeitlichen Entwicklung der Messdaten durch die Datenverarbeitungseinrichtung Grenzwerte einer Stärke des Funk-Signals ermittelt. Dies bedeutet, dass die zeitliche Entwicklung der Messdaten beispielsweise über einen längeren Zeitraum analysiert wird und abhängig davon Grenzwerte der Stärke des Funk-Signals ermittelt beziehungsweise festgelegt werden. Liegen die Messdaten beispielsweise über dem festgelegten Grenzwert, so kann beispielsweise eine Warnung an den Nutzer ausgegeben werden. In Abhängigkeit der Warnung kann anschließend eine proaktive Fehlerbehebung durchgeführt werden. Die Proaktivität der Fehlerbehebung ist dadurch gegeben, dass bei einer ermittelten Überschreitung des Grenzwertes durch die Messdaten des Funk-Signals eingegrenzt werden kann, in welchem räumlichen Bereich, beziehungsweise bei welchem mobilen Endgerät, bei Verwendung von mehreren mobilen Endgeräten, eine Ursache des Fehler zu erwarten ist. Der Nutzer kann sich nun bei der Suche nach der Ursache des Fehlers auf diesen Bereich beziehungsweise auf dieses mobile Endgerät konzentrieren. Dies ermöglicht eine besonders schnelle und effiziente Fehlerbehebung.Furthermore, depending on the temporal development of the measurement data, limit values of the strength of the radio signal are determined by the data processing device. This means that the temporal development of the measurement data is analyzed over a longer period of time, for example, and depending on this, limit values for the strength of the radio signal are determined or set. For example, if the measurement data is above the specified limit, a warning can be issued to the user. Depending on the warning, proactive troubleshooting can then be carried out. The proactivity of troubleshooting is ensured by the fact that if the limit value is determined to be exceeded, the measurement data of the radio signal can be used to narrow down in which spatial area, or in which mobile device, if several mobile devices are used, the cause of the error is to be expected is. The user can now concentrate on this area or this mobile device when searching for the cause of the error. This enables particularly quick and efficient troubleshooting.
Dem liegt die Idee zugrunde, dass die Zustandsanalyse der WLAN-Infrastruktur unter Nutzung der Schwarmintelligenz des wenigstens einen mobilen Endgerätes, insbesondere mehrerer mobiler Endgeräte, welche in einem Fertigungsbetrieb eingesetzt werden, erfolgt. Hierbei kann jedes mobile Endgerät zu einem insbesondere permanenten WLAN-Schnüffler in dem Fertigungsbetrieb werden. Insbesondere können von dem wenigstens einen mobilen Endgerät beispielsweise zumindest im Wesentlichen zu jeder Zeit und an jedem Einsatzort die Daten gesammelt werden.This is based on the idea that the status analysis of the WLAN infrastructure is carried out using the swarm intelligence of the at least one mobile terminal, in particular several mobile terminals that are used in a manufacturing company. Every mobile device can become a permanent WLAN sniffer in the manufacturing company. In particular, the data can be collected from the at least one mobile terminal, for example, at least essentially at any time and at any location.
Üblicherweise werden die relevanten Messdaten zur Beurteilung der Signalstärke des wenigstens einen WLAN-Signals nur bei einem Aufbau und einer Übergabe der WLAN-Infrastruktur, insbesondere eines WLAN-Netzwerkes, von einem WLAN-Netzwerk-Lieferanten an einen WLAN-Netzwerk-Kunden gemessen. Mittels des vorstehend beschriebenen Verfahrens kann aufgrund einer Verbindung der relevanten Messdaten zur Beurteilung der Signalstärke des wenigstens einen WLAN-Signals mit den Positionsdaten zur Position des wenigstens einen mobilen Endgerätes eine dauerhafte, flächig-räumliche Vermessung der WLAN-Infrastruktur, insbesondere des WLAN-Netzwerkes erfolgen. Insbesondere sind die Daten des wenigstens einen mobilen Endgerätes die Basis für Auswertungen, wodurch sichtbar und analysierbar wird, was letztendlich das mobile Endgerät bezüglich unterschiedlicher Parameter des WLAN-Signals zu sehen bekommt.Typically, the relevant measurement data for assessing the signal strength of the at least one WLAN signal is only measured when the WLAN infrastructure, in particular a WLAN network, is set up and handed over from a WLAN network supplier to a WLAN network customer. By means of the method described above, a permanent, area-spatial measurement of the WLAN infrastructure, in particular of the WLAN network, can be carried out based on a connection of the relevant measurement data for assessing the signal strength of the at least one WLAN signal with the position data on the position of the at least one mobile terminal . In particular, the data from the at least one mobile device is the basis for evaluations, which makes it visible and possible to analyze what the mobile device ultimately sees with regard to different parameters of the WLAN signal.
Bei der Auswertung der Daten für die Zustandsanalyse mittels der Datenverarbeitungseinrichtung sind sowohl Einzelauswertungen für dedizierte Zeiten, Geräte oder Orte möglich, als auch Massendatenanalysen. Bei den Massendatenanalysen können beispielsweise Korrelations- und/oder Tendenzauswertungen durchgeführt werden. Mittels Massendatenanalysewerkzeugen können die Daten beispielsweise ausgewertet, analysiert, miteinander korreliert, aufbereitet und/oder visualisiert werden. Bei einer beispielsweise Speicherung der Daten über einen längeren Zeitraum können Langzeitbeobachtungen durchgeführt und beispielsweise Trends erkannt werden.When evaluating the data for the status analysis using the data processing device, both individual evaluations for dedicated times, devices or locations are possible, as well as mass data analyses. In mass data analyses, for example, correlation and/or trend evaluations can be carried out. Using mass data analysis tools, the data can, for example, be evaluated, analyzed, correlated with one another, processed and/or visualized. For example, if the data is stored over a longer period of time, long-term observations can be carried out and trends can be identified, for example.
Mittels des vorstehend beschriebenen Verfahrens kann beispielsweise zu jedem beliebigen Zeitpunkt eine Zustandsanalyse der WLAN-Infrastruktur durchgeführt werden. Es sind somit eine Echtzeit-Visualisierung und eine Zeit-Raum-Korrelation der relevanten Messdaten zur Beurteilung der Signalstärke des WLAN-Signals möglich. Beispielsweise ergeben sich durch eine Erfassung eines zeitlichen Verlaufs der Messdaten des mobilen Endgerätes sowie der Positionsdaten des wenigstens einen mobilen Endgerätes umfassende Überwachungsmöglichkeiten für die WLAN-Infrastruktur. Es können beispielsweise durch die Erfassung der Messdaten des wenigstens einen WLAN-Signals durch das mobile Endgerät die Zustandsanalyse der WLAN-Infrastruktur in beispielsweise einem definierten Bereich, einer Halle oder einem Prozessort erstellt werden. Beispielsweise kann der Zustand der WLAN-Infrastruktur in Bezug auf eine Bandbreite, mit zeitlichem und räumlichem Bezug, erfasst werden. Des Weiteren kann beispielsweise mittels des Verfahrens ein räumliches und zeitliches Bewegungsprofil des wenigstens einen mobilen Endgerätes erstellt werden. Darüber hinaus kann beispielsweise ein Roaming-Verhalten des wenigstens einen mobilen Endgerätes mit zeitlichem und räumlichem Bezug überwacht werden.Using the method described above, a status analysis of the WLAN infrastructure can, for example, be carried out at any time. Real-time visualization and a time-space correlation of the relevant measurement data are therefore possible to assess the signal strength of the WLAN signal. For example, by recording a time course of the measurement data of the mobile terminal and the position data of the at least one mobile terminal, comprehensive monitoring options for the WLAN infrastructure arise. For example, by recording the measurement data of the at least one WLAN signal by the mobile terminal, the status analysis of the WLAN infrastructure can be created in, for example, a defined area, a hall or a processing location. For example, the state of the WLAN infrastructure can be recorded in relation to a bandwidth, with a temporal and spatial reference. Furthermore, for example, a spatial and temporal movement profile of the at least one mobile terminal can be created using the method. In addition, for example, roaming behavior of the at least one mobile terminal can be monitored with a temporal and spatial reference.
Nach der Erstellung der Zustandsanalyse mittels des erfindungsgemäßen Verfahrens können beispielsweise datenbasierte proaktive Eingriffs- und Betriebsgrenzen anhand der Langzeitbeobachtung entwickelt und eingeführt werden. Des Weiteren können beispielsweise aufgrund der Zustandsanalyse Maßnahmen zur Optimierung und/oder Stabilisierung des Systemverhaltens und/oder des Applikationsbetriebsverhaltens der WLAN-Infrastruktur definiert werden. Vorteilhafterweise kann aufgrund der Zustandsanalyse eine proaktive Wartung der WLAN-Infrastruktur sowie eine Fehlervermeidung erfolgen. Beispielsweise können unter Nutzung von Massendatenanalysewerkzeugen Erfahrungswerte für einen sicheren Betrieb, sowie Eingriffs- und Betriebsgrenzen generiert, abgesichert und fundiert werden sowie beispielsweise anschließend in den Regelbetrieb transferiert werden.After the condition analysis has been created using the method according to the invention, data-based proactive intervention and operating limits can, for example, be developed and introduced based on long-term observation. Furthermore, for example, based on the status analysis, measures for optimizing and/or stabilizing the system behavior and/or the application operating behavior of the WLAN infrastructure can be defined. Advantageously, proactive maintenance of the WLAN infrastructure and error prevention can take place based on the condition analysis. For example, empirical values can be obtained using mass data analysis tools for safe operation, as well as intervention and operating limits are generated, secured and substantiated and, for example, then transferred to regular operation.
Durch die Anwendung des Verfahrens ergeben sich die Vorteile, dass datenbasierte und somit reproduzierbare Transparenz bezüglich des Zustandes der WLAN-Infrastruktur mittels des wenigstens einen mobilen Endgerätes, welches beispielsweise in einer Fertigungshalle eingesetzt wird, geschaffen werden kann. Da für das Verfahren die Messdaten des wenigstens einen WLAN-Signals mittels des wenigstens einen mobilen Endgerätes erfasst werden, welches insbesondere ein hierfür vorgesehenes Erfassungssystem umfasst, sind insbesondere keine zusätzlichen und mit Kosten verbundenen Sensoren sowie keine zusätzliche Technik für die Zustandsanalyse notwendig. Darüber hinaus wird durch die Verwendung des Verfahrens eine proaktive Fehlervermeidung, insbesondere durch Aufdecken von beispielsweise Funklöchern, abweichenden Bewegungsrouten des wenigstens einen mobilen Endgerätes, sowie eine Aufdeckung von Überschreitungen von Grenzwerten, ermöglicht. Mittels einer graphischen Visualisierung der Daten sowie beispielsweise durch eine Vorverarbeitung der Daten, wird eine intuitive Analysemöglichkeit der Daten geschaffen. Dies ermöglicht beispielsweise eine besonders vorteilhafte Datenzugänglichkeit sowie eine besonders schnelle Analyse der Daten. Mittels Massendatenanalysewerkzeugen können beispielsweise große Datenmengen besonders schnell verarbeitet werden. Dies führt beispielsweise zu einer besonders genauen Analyse des Zustandes der WLAN-Infrastruktur, insbesondere von Fehlerzuständen und/oder Störungen in der WLAN-Infrastruktur. Darüber hinaus sind auf Basis einer durch das vorstehend beschriebene Verfahren erstellten Zustandsanalyse definierte Eingriffs- und Betriebsgrenzwerte besonders gut reproduzierbar, da diese beispielsweise datenbasiert erstellt worden sind.The use of the method results in the advantages that data-based and therefore reproducible transparency regarding the state of the WLAN infrastructure can be created using the at least one mobile terminal, which is used, for example, in a production hall. Since for the method the measurement data of the at least one WLAN signal are recorded by means of the at least one mobile terminal, which in particular includes a detection system intended for this purpose, no additional sensors associated with costs and no additional technology are necessary for the status analysis. In addition, the use of the method enables proactive error avoidance, in particular by detecting, for example, dead spots, deviating movement routes of the at least one mobile terminal, as well as detecting limit values being exceeded. By means of a graphic visualization of the data and, for example, through pre-processing of the data, an intuitive analysis option for the data is created. This enables, for example, particularly advantageous data accessibility and particularly quick analysis of the data. For example, using mass data analysis tools, large amounts of data can be processed particularly quickly. This leads, for example, to a particularly precise analysis of the state of the WLAN infrastructure, in particular error states and/or disruptions in the WLAN infrastructure. In addition, intervention and operating limit values defined on the basis of a condition analysis created by the method described above are particularly easy to reproduce, since these have been created, for example, based on data.
In einer vorteilhaften Ausgestaltung der Erfindung werden die Messdaten und/oder die Positionsdaten zunächst in einem Datenspeicher des wenigstens einen mobilen Endgerätes gespeichert und anschließend an die Erfassungseinrichtung übertragen.In an advantageous embodiment of the invention, the measurement data and/or the position data are first stored in a data memory of the at least one mobile terminal and then transmitted to the detection device.
Mit anderen Worten umfasst das wenigstens eine mobile Endgerät den Datenspeicher, in welchem die Messdaten und/oder die Positionsdaten speicherbar sind. Beispielsweise ist das wenigstens eine mobile Endgerät mit einer Software ausgestattet, mittels welcher die Messdaten des wenigstens einen WLAN-Signals erfasst und auf dem Datenspeicher des wenigstens einen mobilen Endgerätes gespeichert werden. Anschließend werden die Messdaten und/oder die Positionsdaten an die Erfassungseinrichtung übertragen. Hieraus ergibt sich der Vorteil, dass über einen längeren Zeitraum in dem Datenspeicher des wenigstens einen mobilen Endgerätes die Messdaten und/oder die Positionsdaten gesammelt und gespeichert werden können, um sie bei Bedarf an die übergeordnete Erfassungseinrichtung zu übertragen. Somit kann beispielsweise das mobile Endgerät Messdaten des wenigstens einen WLAN-Signals erfassen und in dem Datenspeicher speichern, unabhängig davon, ob die Signalstärke des WLAN-Signals ausreicht, um die Messdaten und/oder die Positionsdaten an die übergeordnete Erfassungseinrichtung zu übertragen. Befindet sich das wenigstens eine mobile Endgerät beispielsweise in einem Bereich, in welchem die Signalstärke des WLAN-Signals nicht ausreicht, um die Messdaten und/oder die Positionsdaten an die übergeordnete Erfassungseinrichtung zu übertragen, so kann das mobile Endgerät Messdaten des wenigstens einen WLAN-Signals erfassen, in seinem Datenspeicher speichern und zu einem Zeitpunkt, an welchem es sich wieder in einem Bereich befindet, in welchem die Signalstärke des WLAN-Signals ausreicht, die Messdaten und/oder die Positionsdaten an die übergeordnete Erfassungseinrichtung übertragen.In other words, the at least one mobile terminal comprises the data memory in which the measurement data and/or the position data can be stored. For example, the at least one mobile terminal is equipped with software by means of which the measurement data of the at least one WLAN signal is recorded and stored on the data memory of the at least one mobile terminal. The measurement data and/or the position data are then transmitted to the detection device. This results in the advantage that the measurement data and/or the position data can be collected and stored in the data memory of the at least one mobile terminal over a longer period of time in order to transmit them to the higher-level detection device if necessary. Thus, for example, the mobile terminal can record measurement data from the at least one WLAN signal and store it in the data memory, regardless of whether the signal strength of the WLAN signal is sufficient to transmit the measurement data and/or the position data to the higher-level detection device. If the at least one mobile terminal is, for example, in an area in which the signal strength of the WLAN signal is not sufficient to transmit the measurement data and / or the position data to the higher-level detection device, the mobile terminal can receive measurement data from the at least one WLAN signal record, store in its data memory and transmit the measurement data and / or the position data to the higher-level detection device at a time when it is again in an area in which the signal strength of the WLAN signal is sufficient.
Vorzugsweise erfolgt das Übertragen der Messdaten und/oder der Positionsdaten auf Veranlassung des wenigstens einen mobilen Endgerätes und/oder der übergeordneten Erfassungseinrichtung. Beispielsweise kann das wenigstens eine mobile Endgerät die Messdaten und/oder die Positionsdaten an die übergeordnete Erfassungseinrichtung senden. Dieses Aussenden der Messdaten und/oder der Positionsdaten von dem wenigstens einen mobilen Endgerät an die übergeordnete Erfassungseinrichtung kann beispielsweise von dem wenigstens einen mobilen Endgerät initiiert werden. Alternativ oder zusätzlich kann das Übertragen der Messdaten und/oder der Positionsdaten von der übergeordneten Erfassungseinrichtung beispielsweise durch das Aussenden eines Signals ausgelöst werden. Hierdurch kann eine besonders hohe Prozesssicherheit beim Erstellen der Zustandsanalyse erreicht werden.Preferably, the measurement data and/or the position data are transmitted at the instigation of the at least one mobile terminal and/or the higher-level detection device. For example, the at least one mobile terminal can send the measurement data and/or the position data to the higher-level detection device. This sending of the measurement data and/or the position data from the at least one mobile terminal to the higher-level detection device can, for example, be initiated by the at least one mobile terminal. Alternatively or additionally, the transmission of the measurement data and/or the position data can be triggered by the higher-level detection device, for example by sending a signal. This allows a particularly high level of process reliability to be achieved when creating the condition analysis.
In einer weiteren vorteilhaften Ausgestaltung wird das Übertragen der Messdaten und/oder der Positionsdaten in regelmäßigen Zeitabständen vorgenommen. Mit anderen Worten werden die Messdaten und/oder die Positionsdaten zyklisch auf die übergeordnete Erfassungseinrichtung übertragen. Beispielsweise werden die Messdaten des wenigstens einen WLAN-Signals einmal pro Minute erfasst, abgespeichert, in dem Datenspeicher des wenigstens einen mobilen Endgerätes abgespeichert und stündlich an die übergeordnete Erfassungseinrichtung übertragen. Dies ermöglicht einen besonders sicheren Betrieb der Funknetzwerk-Infrastruktur und insbesondere der WLAN-Infrastruktur, da Langzeitbeobachtungen ermöglicht werden.In a further advantageous embodiment, the measurement data and/or the position data are transmitted at regular time intervals. In other words, the measurement data and/or the position data are cyclically transmitted to the higher-level detection device. For example, the measurement data of the at least one WLAN signal is recorded once per minute, saved, stored in the data memory of the at least one mobile terminal and transmitted to the higher-level detection device every hour. This enables particularly secure operation of the wireless network infrastructure especially the WLAN infrastructure, as long-term observations are possible.
In einer vorteilhaften Ausgestaltung der Erfindung werden als Messdaten eine Stärke und/oder eine Qualität des Funk-Signals erfasst. Hieraus ergibt sich der Vorteil, dass eine Zustandsanalyse der Funknetzwerk-Infrastruktur hinsichtlich der Stärke und/oder der Qualität des Funk-Signals erstellt werden kann.In an advantageous embodiment of the invention, a strength and/or a quality of the radio signal is recorded as measurement data. This has the advantage that a status analysis of the radio network infrastructure can be created with regard to the strength and/or quality of the radio signal.
Das mobile Endgerät kann beispielsweise Messdaten bezüglich der Stärke und/oder der Qualität des WLAN-Signals erfassen und an die übergeordnete Erfassungseinrichtung übertragen. In der übergeordneten Erfassungseinrichtung kann beispielsweise ausgewertet werden, ob die Stärke und/oder die Qualität des WLAN-Signals, in der Form in der es vom mobilen Endgerät erfassbar ist, ausreichend ist beziehungsweise Grenzwerte über- oder unterschreitet. Hierdurch kann vorteilhafterweise die Leistungsfähigkeit der Funknetzwerk-Infrastruktur und insbesondere der WLAN-Infrastruktur gezielt angepasst werden.The mobile terminal can, for example, record measurement data regarding the strength and/or quality of the WLAN signal and transmit it to the higher-level detection device. In the higher-level detection device, for example, it can be evaluated whether the strength and/or quality of the WLAN signal, in the form in which it can be detected by the mobile device, is sufficient or exceeds or falls below limit values. In this way, the performance of the radio network infrastructure and in particular the WLAN infrastructure can advantageously be adjusted in a targeted manner.
In einer vorteilhaften Ausgestaltung der Erfindung werden die Daten mittels eines in einer Flurfördereinrichtung und/oder in einem Kraftfahrzeug angeordneten mobilen Endgerätes und/oder mittels eines mobilen Telefons und/oder eines Personal Computers und/oder eines Laptops und/oder eines Tabletcomputers und/oder eines Handterminals und/oder eines Staplerterminals und/oder eines Logistikterminals erfasst. Mit anderen Worten können insbesondere mobile Endgeräte für das erfindungsgemäße Verfahren verwendet werden, welche mit einer WLAN-Karte ausgestattet sind. Je mehr mobile Endgeräte für das Verfahren genutzt werden, desto umfassender kann die Zustandsanalyse durchgeführt werden. Des Weiteren kann durch den Einsatz einer Mehrzahl von mobilen Endgeräten die Genauigkeit der Zustandsanalyse optimiert werden. Beispielsweise kann durch den Einsatz mehrerer mobiler Endgeräte, welche sich an unterschiedlichen Positionen befinden, eine Zustandsanalyse der WLAN-Infrastruktur in dem Bereich durchgeführt werden, in welchem sich die mobilen Endgeräte befinden.In an advantageous embodiment of the invention, the data is transmitted by means of a mobile terminal arranged in an industrial conveyor and/or in a motor vehicle and/or by means of a mobile telephone and/or a personal computer and/or a laptop and/or a tablet computer and/or a Hand-held terminals and/or a forklift terminal and/or a logistics terminal are recorded. In other words, mobile devices in particular that are equipped with a WLAN card can be used for the method according to the invention. The more mobile devices are used for the procedure, the more comprehensive the condition analysis can be carried out. Furthermore, the accuracy of the condition analysis can be optimized by using a plurality of mobile devices. For example, by using several mobile devices located in different positions, a status analysis of the WLAN infrastructure can be carried out in the area in which the mobile devices are located.
Vorzugsweise werden mittels des erfindungsgemäßen Verfahrens Bereiche unterschiedlicher Qualität des Funk-Signals detektiert. Beispielsweise werden die die Messdaten und die Positionsdaten umfassenden Daten in Bezug auf die Qualität des WLAN-Signals an definierten Positionen analysiert. Insbesondere werden die Daten in einem Diagramm mit unterschiedlichen Farben, insbesondere einer Heatmap, visualisiert. Beispielsweise kann in diesem Diagramm ein definierter Bereich, in welchem die WLAN-Infrastruktur hinsichtlich ihres Zustandes analysiert werden soll, dargestellt sein. Die Qualität des WLAN-Signals an unterschiedlichen Positionen in diesem dargestellten Bereich kann beispielsweise mit unterschiedlichen Farben, insbesondere einer Farbcodierung, markiert sein, wobei eine Farbe einem definierten Kennzahlbereich der Qualität des WLAN-Signals zuordenbar ist. Hieraus ergibt sich der Vorteil, dass aufgrund der Farbcodierung für einen Nutzer sehr schnell ersichtlich ist, wie sich die Qualität des WLAN-Signals an unterschiedlichen Positionen des untersuchten Bereichs verhält.Areas of different quality of the radio signal are preferably detected using the method according to the invention. For example, the data comprising the measurement data and the position data are analyzed in relation to the quality of the WLAN signal at defined positions. In particular, the data is visualized in a diagram with different colors, in particular a heatmap. For example, a defined area in which the WLAN infrastructure is to be analyzed with regard to its condition can be shown in this diagram. The quality of the WLAN signal at different positions in this represented area can, for example, be marked with different colors, in particular a color coding, whereby a color can be assigned to a defined key figure range of the quality of the WLAN signal. This has the advantage that, thanks to the color coding, a user can quickly see how the quality of the WLAN signal behaves at different positions in the area being examined.
In einer vorteilhaften Ausgestaltung der Erfindung werden in Abhängigkeit der zeitlichen Entwicklung der Messdaten durch die Datenverarbeitungseinrichtung Standardwerte einer Stärke des Funk-Signals ermittelt. Dies bedeutet, dass die zeitliche Entwicklung der Messdaten beispielsweise über einen längeren Zeitraum analysiert wird und abhängig davon Standardwerte der Stärke des Funk-Signals ermittelt beziehungsweise festgelegt werden.In an advantageous embodiment of the invention, standard values of the strength of the radio signal are determined by the data processing device depending on the development of the measurement data over time. This means that the temporal development of the measurement data is analyzed over a longer period of time, for example, and depending on this, standard values of the strength of the radio signal are determined or set.
In einer vorteilhaften Ausgestaltung der Erfindung erfolgt das Übertragen der auf dem Datenspeicher gespeicherten Daten in Abhängigkeit vom Auftreten eines Fehlers. Beispielsweise kann beim Auftreten des Fehlers eine Übertragung der Messdaten und der Positionsdaten an die übergeordnete Erfassungseinrichtung initiiert werden. Somit kann infolge des Auftretens des Fehlers die Zustandsanalyse der Funknetzwerk-Infrastruktur und insbesondere der WLAN-Infrastruktur erstellt werden. Dies dient einer besonders schnellen und effizienten Fehlerbehebung, da zeitnah zum Auftreten des Fehlers die Zustandsanalyse der Funknetzwerk-Infrastruktur erstellt wird.In an advantageous embodiment of the invention, the data stored in the data memory is transferred depending on the occurrence of an error. For example, when the error occurs, a transmission of the measurement data and the position data to the higher-level detection device can be initiated. As a result of the occurrence of the error, the status analysis of the radio network infrastructure and in particular the WLAN infrastructure can be created. This ensures particularly quick and efficient troubleshooting, as the status analysis of the wireless network infrastructure is created as soon as the error occurs.
Ein zweiter Aspekt der Erfindung betrifft ein System mit einer Funknetzwerk-Infrastruktur, welche einen Funk-Sender und wenigstens ein mobiles Endgerät umfasst, wobei das wenigstens eine mobile Endgerät dazu ausgebildet ist, wenigstens ein Funk-Signal des wenigstens einen Funk-Senders zu empfangen sowie Messdaten des wenigstens einen Funk-Signals zu erfassen. Des Weiteren umfasst das System eine Positionsermittlungseinrichtung, welche dazu ausgebildet ist, von einem Prozessleitsystem zur Verfügung gestellte Positionsdaten, welche die Position des wenigstens einen mobilen Endgerätes angeben, zu ermitteln. Darüber hinaus weist das System eine Übertragungseinrichtung auf, welche dazu ausgebildet ist, die Messdaten und die Positionsdaten umfassende Daten an eine übergeordnete Erfassungseinrichtung des Systems zu übertragen, wobei eine Datenbank der Erfassungseinrichtung dazu ausgebildet ist, die Daten zu speichern. Überdies hinaus umfasst das System eine Datenverarbeitungseinrichtung, welche dazu ausgebildet ist, die Daten zum Erstellen einer Zustandsanalyse der Funknetzwerk-Infrastruktur auszuwerten. Die Datenverarbeitungseinrichtung ist des Weiteren dazu eingerichtet, die Daten mittels eines Massendatenanalysewerkzeugs im Hinblick auf wenigstens ein Kriterium zu filtern, mittels des Massendatenanalysewerkzeugs eine zeitliche Entwicklung der Messdaten über einen definierten Zeitraum darzustellen und in Abhängigkeit von der zeitlichen Entwicklung der Messdaten Grenzwerte einer Stärke des Funksignals zu ermitteln.A second aspect of the invention relates to a system with a radio network infrastructure, which comprises a radio transmitter and at least one mobile terminal, wherein the at least one mobile terminal is designed to receive at least one radio signal from the at least one radio transmitter and To record measurement data of the at least one radio signal. Furthermore, the system includes a position determination device, which is designed to determine position data provided by a process control system, which indicates the position of the at least one mobile terminal. In addition, the system has a transmission device which is designed to transmit data comprising the measurement data and the position data to a higher-level detection device of the system, with a database of the detection device being designed to store the data. In addition, the system includes a data processing device which is designed to use the data to create a Evaluate the status analysis of the radio network infrastructure. The data processing device is further set up to filter the data using a mass data analysis tool with regard to at least one criterion, to display a temporal development of the measurement data over a defined period of time using the mass data analysis tool and to assign limit values for a strength of the radio signal depending on the temporal development of the measurement data determine.
Zu der Erfindung gehören auch Weiterbildungen des erfindungsgemäßen Systems, die Merkmale aufweisen, wie sie bereits im Zusammenhang mit den Weiterbildungen des erfindungsgemäßen Verfahrens beschrieben worden sind. Aus diesem Grund sind die entsprechenden Weiterbildungen des erfindungsgemäßen Systems nicht noch einmal beschrieben.The invention also includes further developments of the system according to the invention, which have features as have already been described in connection with the further developments of the method according to the invention. For this reason, the corresponding developments of the system according to the invention are not described again.
Im Folgenden ist ein Ausführungsbeispiel der Erfindung beschrieben. Hierzu zeigt:
-
1 ein Verfahrensschema zur Auswertung von Daten mittels einer Datenverarbeitungseinrichtung; -
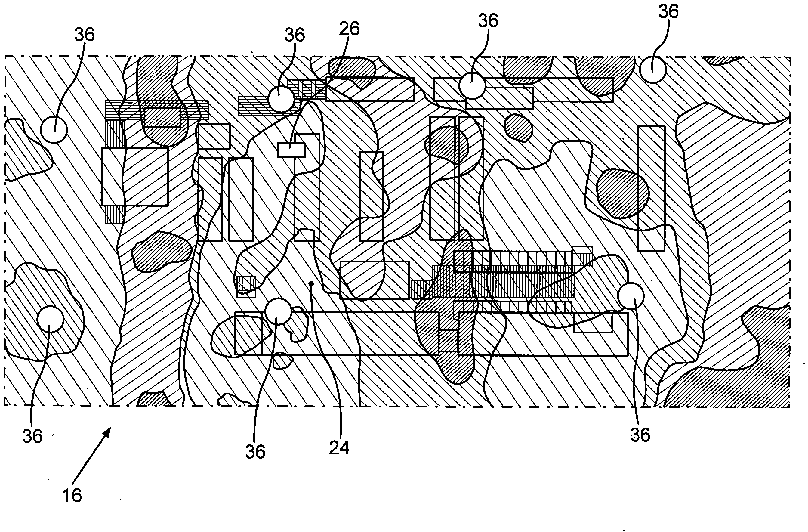
2 eine schematische Draufsicht einer Fertigungsstätte; -
3 eine schematische Darstellung einer örtlichen Zustandsanalyse eines Zugangspunktes mittels wenigstens eines mobilen Endgerätes; -
4 eine schematische Darstellung eines Diagramms zur Visualisierung von Bereichen unterschiedlicher Qualität eines WLAN-Signals; -
5 eine Darstellung von drei Diagrammen zur Visualisierung unterschiedlicher Messdaten in Abhängigkeit von der Zeit; und -
6 eine Darstellung eines Diagramms zur Überwachung der Einhaltung von Eingriffs- und Betriebsgrenzen.
-
1 a process diagram for evaluating data using a data processing device; -
2 a schematic top view of a manufacturing facility; -
3 a schematic representation of a local status analysis of an access point using at least one mobile terminal; -
4 a schematic representation of a diagram for visualizing areas of different quality of a WLAN signal; -
5 a representation of three diagrams for visualizing different measurement data depending on time; and -
6 a representation of a diagram for monitoring compliance with control and operating limits.
Bei dem im Folgenden erläuterten Ausführungsbeispiel handelt es sich um eine bevorzugte Ausführungsform der Erfindung. Bei dem Ausführungsbeispiel stellen die beschriebenen Komponenten der Ausführungsform jeweils einzelne, unabhängig voneinander zu betrachtende Merkmale der Erfindung dar, welche die Erfindung jeweils auch unabhängig voneinander weiterbilden und damit auch einzeln oder in einer anderen als der gezeigten Kombination als Bestandteil der Erfindung anzusehen sind. Des Weiteren ist die beschriebene Ausführungsform auch durch weitere der bereits beschriebenen Merkmale der Erfindung ergänzbar.The exemplary embodiment explained below is a preferred embodiment of the invention. In the exemplary embodiment, the described components of the embodiment each represent individual features of the invention that can be viewed independently of one another, which also develop the invention independently of one another and are therefore also to be viewed as part of the invention individually or in a combination other than that shown. Furthermore, the described embodiment can also be supplemented by further features of the invention that have already been described.
In den Figuren sind funktionsgleiche Elemente jeweils mit denselben Bezugszeichen versehen.In the figures, functionally identical elements are each provided with the same reference numerals.
Bei dem Ausführungsbeispiel handelt es sich um eine beispielhafte Auswertung von Daten, welche zum Erstellen einer Zustandsanalyse einer WLAN-Infrastruktur erfasst wurden. An dieser Stelle sei betont, dass es sich lediglich um ein Ausführungsbeispiel handelt und die Zustandsanalyse ebenso für Funknetzwerk-Infrastrukturen Gültigkeit besitzt, innerhalb welcher über andere Funkverbindungen wie beispielsweise UMTS oder LTE kommuniziert wird.The exemplary embodiment is an exemplary evaluation of data that was recorded to create a status analysis of a WLAN infrastructure. At this point it should be emphasized that this is only an exemplary embodiment and the status analysis is also valid for radio network infrastructures within which communication takes place via other radio connections such as UMTS or LTE.
Die bezüglich ihres Zustandes analysierte WLAN-Infrastruktur umfasst wenigstens einen WLAN-Sender 36 (welcher schematisch in den
Ein Verfahrensschema zur Auswertung der Daten mittels der Datenverarbeitungseinrichtung 13 ist in
Für die Visualisierung 14 kann beispielsweise eine schematische Draufsicht einer Fertigungsstätte 16, wie sie in
In der in
In
In
Mittels des mobilen Endgerätes 24 sind Messdaten des wenigstens einen WLAN-Signals des WLAN-Senders 36 erfassbar. Beispielsweise kann das mobile Endgerät 24, wenn es sich in einer jeweiligen Produktionsstation 32, 34, 38, 40, 42 befindet, Messdaten des WLAN-Signals erfassen. Werden mittels einer Positionsermittlungsvorrichtung Positionsdaten zur Position des mobilen Endgerätes 24 zum gleichen Zeitpunkt ermittelt, zu welchem das mobile Endgerät 24 die Messdaten zum WLAN-Signal erfasst, so können die Messdaten des WLAN-Signals der Position des mobilen Endgerätes 24 zugeordnet werden. Misst das mobile Endgerät 24 beispielsweise eine gute Stärke des WLAN-Signals in den Produktionsstationen 38, eine verglichen dazu weniger gute Signalstärke in den Produktionsstationen 40 und eine im Vergleich dazu schlechte Signalstärke in den Produktionsstationen 42, so kann die gemessene Signalstärke in der Datenverarbeitungseinrichtung mit den Positionsdaten des mobilen Endgerätes 24 in Zusammenhang gebracht werden und beispielsweise eine Darstellung der Produktionsanlage 28 erstellt werden, in welcher örtliche Differenzen der Signalstärke beispielsweise mittels Farbcodierung kenntlich gemacht sind.Using the
Nach Durchlaufen der Produktionsanlage 28 kann der Kraftwagen 26 beispielsweise in eine weitere Produktionsanlage 33 bewegt werden, welche sich beispielsweise in einem Bereich befindet, in welchem die Signalstärke des WLAN-Signals des WLAN-Senders 36 unter einen Grenzwert fällt.After passing through the
Die analog dem im Zusammenhang mit
Mit den ortsbezogenen Messdaten zur Signalstärke des WLAN-Signals des WLAN-Senders 36 an unterschiedlichen Positionen kann beispielsweise eine Visualisierung der Daten realisiert werden, bei welcher die Fertigungsstätte 16 dargestellt ist und Bereiche unterschiedlicher Qualität des WLAN-Signals, beispielsweise unterschiedlicher Signalstärke, in der Darstellung der Fertigungsstätte 16 kenntlich gemacht sind, wie dies in
In
In
Insgesamt zeigt das Beispiel, wie durch die Erfindung ein WLAN-Applikations-Monitoring im Real-Betrieb durch Schwarmnutzung produktiver mobiler WLAN-Endgeräte erreicht werden kann.Overall, the example shows how the invention can be used to achieve WLAN application monitoring in real operation through the swarm use of productive mobile WLAN devices.
Claims (10)
Priority Applications (1)
| Application Number | Priority Date | Filing Date | Title |
|---|---|---|---|
| DE102017001517.1A DE102017001517B4 (en) | 2017-02-15 | 2017-02-15 | Method for creating a status analysis of a wireless network infrastructure |
Applications Claiming Priority (1)
| Application Number | Priority Date | Filing Date | Title |
|---|---|---|---|
| DE102017001517.1A DE102017001517B4 (en) | 2017-02-15 | 2017-02-15 | Method for creating a status analysis of a wireless network infrastructure |
Publications (2)
| Publication Number | Publication Date |
|---|---|
| DE102017001517A1 DE102017001517A1 (en) | 2018-08-16 |
| DE102017001517B4 true DE102017001517B4 (en) | 2023-12-14 |
Family
ID=62982433
Family Applications (1)
| Application Number | Title | Priority Date | Filing Date |
|---|---|---|---|
| DE102017001517.1A Active DE102017001517B4 (en) | 2017-02-15 | 2017-02-15 | Method for creating a status analysis of a wireless network infrastructure |
Country Status (1)
| Country | Link |
|---|---|
| DE (1) | DE102017001517B4 (en) |
Citations (14)
| Publication number | Priority date | Publication date | Assignee | Title |
|---|---|---|---|---|
| US20040203855A1 (en) | 2002-05-07 | 2004-10-14 | Samsung Electronics Co., Ltd. | System and method for identifying coverage holes in a wireless network |
| DE102006056407A1 (en) | 2005-11-30 | 2007-05-31 | Agilent Technologies, Inc. (n.d. Ges. d. Staates Delaware), Santa Clara | Communication network e.g. local area network, performance monitoring method, involves executing measurement in coverage area, and transmitting position data and measurement to processing resource over networks by communication terminals |
| WO2008080247A2 (en) | 2006-12-31 | 2008-07-10 | Licania Gmbh | Method and apparatus for linking mobile communication devices to wireless networks in underground edifices |
| DE102007043472A1 (en) | 2007-09-04 | 2009-03-05 | Jungheinrich Aktiengesellschaft | Truck and remote maintenance system as well as remote maintenance of a truck |
| DE102009007241A1 (en) | 2009-02-03 | 2010-08-05 | Siemens Ag Österreich | Coverage determining method for digital trunked system, involves transmitting data associated with mobile interruptions to evaluating unit of mobile network after receiving corresponding request from evaluating unit |
| US20120178376A1 (en) | 2009-03-18 | 2012-07-12 | Robert Bosch Gmbh | Dead spot prediction method for wireless vehicular applications |
| EP1880519B1 (en) | 2005-05-09 | 2013-04-17 | Aeroscout, Ltd. | Wireless local area network (wlan) method and system for presence detection and location finding |
| US20130114446A1 (en) | 2011-11-04 | 2013-05-09 | Interdigital Patent Holdings, Inc. | Methods, apparatus and systems for minimization of drive tests (mdt) based on qos verifications |
| WO2013110261A2 (en) | 2012-01-23 | 2013-08-01 | Joachim Linz | Method for multilateral and thorough detection and improvement of the mobile service quality with the aid of customer terminals giving feedback to the customer |
| DE102012024038A1 (en) | 2012-12-08 | 2014-06-12 | Identytec Gmbh & Co. Kg | production system |
| US20140295805A1 (en) | 2012-06-29 | 2014-10-02 | Google, Inc. | Systems and methods for aggregating missed call data and adjusting telephone settings |
| US20150326447A1 (en) | 2012-10-29 | 2015-11-12 | T-Mobile Usa, Inc. | Quality of User Experience Analysis Using Echo Locate |
| US9462497B2 (en) | 2011-07-01 | 2016-10-04 | At&T Mobility Ii Llc | Subscriber data analysis and graphical rendering |
| US9532180B2 (en) | 2014-06-19 | 2016-12-27 | Cellwize Wireless Technologies Ltd. | Method of analysing data collected in a cellular network and system thereof |
-
2017
- 2017-02-15 DE DE102017001517.1A patent/DE102017001517B4/en active Active
Patent Citations (14)
| Publication number | Priority date | Publication date | Assignee | Title |
|---|---|---|---|---|
| US20040203855A1 (en) | 2002-05-07 | 2004-10-14 | Samsung Electronics Co., Ltd. | System and method for identifying coverage holes in a wireless network |
| EP1880519B1 (en) | 2005-05-09 | 2013-04-17 | Aeroscout, Ltd. | Wireless local area network (wlan) method and system for presence detection and location finding |
| DE102006056407A1 (en) | 2005-11-30 | 2007-05-31 | Agilent Technologies, Inc. (n.d. Ges. d. Staates Delaware), Santa Clara | Communication network e.g. local area network, performance monitoring method, involves executing measurement in coverage area, and transmitting position data and measurement to processing resource over networks by communication terminals |
| WO2008080247A2 (en) | 2006-12-31 | 2008-07-10 | Licania Gmbh | Method and apparatus for linking mobile communication devices to wireless networks in underground edifices |
| DE102007043472A1 (en) | 2007-09-04 | 2009-03-05 | Jungheinrich Aktiengesellschaft | Truck and remote maintenance system as well as remote maintenance of a truck |
| DE102009007241A1 (en) | 2009-02-03 | 2010-08-05 | Siemens Ag Österreich | Coverage determining method for digital trunked system, involves transmitting data associated with mobile interruptions to evaluating unit of mobile network after receiving corresponding request from evaluating unit |
| US20120178376A1 (en) | 2009-03-18 | 2012-07-12 | Robert Bosch Gmbh | Dead spot prediction method for wireless vehicular applications |
| US9462497B2 (en) | 2011-07-01 | 2016-10-04 | At&T Mobility Ii Llc | Subscriber data analysis and graphical rendering |
| US20130114446A1 (en) | 2011-11-04 | 2013-05-09 | Interdigital Patent Holdings, Inc. | Methods, apparatus and systems for minimization of drive tests (mdt) based on qos verifications |
| WO2013110261A2 (en) | 2012-01-23 | 2013-08-01 | Joachim Linz | Method for multilateral and thorough detection and improvement of the mobile service quality with the aid of customer terminals giving feedback to the customer |
| US20140295805A1 (en) | 2012-06-29 | 2014-10-02 | Google, Inc. | Systems and methods for aggregating missed call data and adjusting telephone settings |
| US20150326447A1 (en) | 2012-10-29 | 2015-11-12 | T-Mobile Usa, Inc. | Quality of User Experience Analysis Using Echo Locate |
| DE102012024038A1 (en) | 2012-12-08 | 2014-06-12 | Identytec Gmbh & Co. Kg | production system |
| US9532180B2 (en) | 2014-06-19 | 2016-12-27 | Cellwize Wireless Technologies Ltd. | Method of analysing data collected in a cellular network and system thereof |
Non-Patent Citations (1)
| Title |
|---|
| Estanjini, R.M. et al.; Optimizing Warehouse Forklift Dispatching Using a Sensor Network and Stochastic Learning. In: IEEE Transactions on Industrial Informatics, Vol.7, Issue 3, pp.476-486, July 2011. |
Also Published As
| Publication number | Publication date |
|---|---|
| DE102017001517A1 (en) | 2018-08-16 |
Similar Documents
| Publication | Publication Date | Title |
|---|---|---|
| WO2000060842A1 (en) | System and method for especially graphically monitoring and/or remote controlling stationary and/or mobile devices | |
| EP1096350B1 (en) | Vehicle service system and method for testing and maintenance of a component especially for a functional component or a drive unit | |
| DE112008003241T5 (en) | System and method for maintaining machine operation | |
| DE10313467A1 (en) | Fault diagnosis and/or control information re-programming method for traffic network control device, using radio link between hand-held diagnosis device and control device | |
| DE102021214544A1 (en) | Monitoring method of a tester and server | |
| DE112015006605T5 (en) | Mobile station, base station, maintenance device, mobile communication system and transfer position determination method | |
| EP3633392B1 (en) | Concept for analysis of a radio communication system | |
| DE102013107962B4 (en) | Method for monitoring components of a system, cooperative driver assistance system, infrastructure and computer program | |
| WO2017162395A1 (en) | Method for monitoring the security of communication connections of a vehicle | |
| DE102017001517B4 (en) | Method for creating a status analysis of a wireless network infrastructure | |
| EP2002679B1 (en) | Measurement data recording | |
| DE602004006770T2 (en) | Improved error handling of the measurement control procedure in a UMTS radio access network | |
| EP3420745B1 (en) | System for monitoring, controlling, analyzing performance and/or tracing malfunctions in wlans | |
| DE19714743A1 (en) | Process for the spatial assignment of quality parameters in digital mobile communication systems | |
| DE19950641B4 (en) | Radio measurement method and system for quality optimization in mobile radio networks | |
| DE102019134540A1 (en) | Method for fault monitoring of an antenna system of a base station, monitoring system, test device, base station and computer program for this | |
| EP1283642B1 (en) | Analysis of a data transmission system | |
| DE102020209171B4 (en) | Method and system for monitoring a wireless communication network | |
| EP3988398A1 (en) | Method for checking an error condition of a mobile user unit | |
| EP3889098B1 (en) | Industrial truck with a communication network and diagnostic method for an industrial truck with a communication network | |
| EP3226446B1 (en) | Method for determining a signal quality for radio connection between a radio base station and at least one radio subscriber station and a radio base station | |
| DE102012021506A1 (en) | Assembly for use in system of vehicle for real-time remote monitoring of vehicle electrical systems, is arranged to transmit signal of electronic fuse to telecommunication unit | |
| DE10032865A1 (en) | Process automisation system with central automisation device provided with a transmitter for summoning assistance | |
| DE102017215391A1 (en) | Industry 4.0 - device | |
| EP4152226A1 (en) | Logistics system, fleet management server and method for operating a logistics system |
Legal Events
| Date | Code | Title | Description |
|---|---|---|---|
| R012 | Request for examination validly filed | ||
| R016 | Response to examination communication | ||
| R016 | Response to examination communication | ||
| R018 | Grant decision by examination section/examining division | ||
| R020 | Patent grant now final |
