DE102011123129B4 - Laser light source with mode filter structure - Google Patents
Laser light source with mode filter structure Download PDFInfo
- Publication number
- DE102011123129B4 DE102011123129B4 DE102011123129.7A DE102011123129A DE102011123129B4 DE 102011123129 B4 DE102011123129 B4 DE 102011123129B4 DE 102011123129 A DE102011123129 A DE 102011123129A DE 102011123129 B4 DE102011123129 B4 DE 102011123129B4
- Authority
- DE
- Germany
- Prior art keywords
- web
- ridge
- laser light
- semiconductor layer
- light source
- Prior art date
- Legal status (The legal status is an assumption and is not a legal conclusion. Google has not performed a legal analysis and makes no representation as to the accuracy of the status listed.)
- Active
Links
Images
Classifications
-
- H—ELECTRICITY
- H01—ELECTRIC ELEMENTS
- H01S—DEVICES USING THE PROCESS OF LIGHT AMPLIFICATION BY STIMULATED EMISSION OF RADIATION [LASER] TO AMPLIFY OR GENERATE LIGHT; DEVICES USING STIMULATED EMISSION OF ELECTROMAGNETIC RADIATION IN WAVE RANGES OTHER THAN OPTICAL
- H01S5/00—Semiconductor lasers
- H01S5/20—Structure or shape of the semiconductor body to guide the optical wave ; Confining structures perpendicular to the optical axis, e.g. index or gain guiding, stripe geometry, broad area lasers, gain tailoring, transverse or lateral reflectors, special cladding structures, MQW barrier reflection layers
- H01S5/22—Structure or shape of the semiconductor body to guide the optical wave ; Confining structures perpendicular to the optical axis, e.g. index or gain guiding, stripe geometry, broad area lasers, gain tailoring, transverse or lateral reflectors, special cladding structures, MQW barrier reflection layers having a ridge or stripe structure
-
- H—ELECTRICITY
- H01—ELECTRIC ELEMENTS
- H01S—DEVICES USING THE PROCESS OF LIGHT AMPLIFICATION BY STIMULATED EMISSION OF RADIATION [LASER] TO AMPLIFY OR GENERATE LIGHT; DEVICES USING STIMULATED EMISSION OF ELECTROMAGNETIC RADIATION IN WAVE RANGES OTHER THAN OPTICAL
- H01S5/00—Semiconductor lasers
- H01S5/10—Construction or shape of the optical resonator, e.g. extended or external cavity, coupled cavities, bent-guide, varying width, thickness or composition of the active region
- H01S5/1003—Waveguide having a modified shape along the axis, e.g. branched, curved, tapered, voids
- H01S5/101—Curved waveguide
-
- H—ELECTRICITY
- H01—ELECTRIC ELEMENTS
- H01S—DEVICES USING THE PROCESS OF LIGHT AMPLIFICATION BY STIMULATED EMISSION OF RADIATION [LASER] TO AMPLIFY OR GENERATE LIGHT; DEVICES USING STIMULATED EMISSION OF ELECTROMAGNETIC RADIATION IN WAVE RANGES OTHER THAN OPTICAL
- H01S5/00—Semiconductor lasers
- H01S5/10—Construction or shape of the optical resonator, e.g. extended or external cavity, coupled cavities, bent-guide, varying width, thickness or composition of the active region
- H01S5/1003—Waveguide having a modified shape along the axis, e.g. branched, curved, tapered, voids
- H01S5/1014—Tapered waveguide, e.g. spotsize converter
-
- H—ELECTRICITY
- H01—ELECTRIC ELEMENTS
- H01S—DEVICES USING THE PROCESS OF LIGHT AMPLIFICATION BY STIMULATED EMISSION OF RADIATION [LASER] TO AMPLIFY OR GENERATE LIGHT; DEVICES USING STIMULATED EMISSION OF ELECTROMAGNETIC RADIATION IN WAVE RANGES OTHER THAN OPTICAL
- H01S5/00—Semiconductor lasers
- H01S5/20—Structure or shape of the semiconductor body to guide the optical wave ; Confining structures perpendicular to the optical axis, e.g. index or gain guiding, stripe geometry, broad area lasers, gain tailoring, transverse or lateral reflectors, special cladding structures, MQW barrier reflection layers
- H01S5/2004—Confining in the direction perpendicular to the layer structure
- H01S5/2018—Optical confinement, e.g. absorbing-, reflecting- or waveguide-layers
- H01S5/2022—Absorbing region or layer parallel to the active layer, e.g. to influence transverse modes
-
- H—ELECTRICITY
- H01—ELECTRIC ELEMENTS
- H01S—DEVICES USING THE PROCESS OF LIGHT AMPLIFICATION BY STIMULATED EMISSION OF RADIATION [LASER] TO AMPLIFY OR GENERATE LIGHT; DEVICES USING STIMULATED EMISSION OF ELECTROMAGNETIC RADIATION IN WAVE RANGES OTHER THAN OPTICAL
- H01S2301/00—Functional characteristics
- H01S2301/16—Semiconductor lasers with special structural design to influence the modes, e.g. specific multimode
- H01S2301/166—Single transverse or lateral mode
-
- H—ELECTRICITY
- H01—ELECTRIC ELEMENTS
- H01S—DEVICES USING THE PROCESS OF LIGHT AMPLIFICATION BY STIMULATED EMISSION OF RADIATION [LASER] TO AMPLIFY OR GENERATE LIGHT; DEVICES USING STIMULATED EMISSION OF ELECTROMAGNETIC RADIATION IN WAVE RANGES OTHER THAN OPTICAL
- H01S2301/00—Functional characteristics
- H01S2301/17—Semiconductor lasers comprising special layers
- H01S2301/176—Specific passivation layers on surfaces other than the emission facet
-
- H—ELECTRICITY
- H01—ELECTRIC ELEMENTS
- H01S—DEVICES USING THE PROCESS OF LIGHT AMPLIFICATION BY STIMULATED EMISSION OF RADIATION [LASER] TO AMPLIFY OR GENERATE LIGHT; DEVICES USING STIMULATED EMISSION OF ELECTROMAGNETIC RADIATION IN WAVE RANGES OTHER THAN OPTICAL
- H01S5/00—Semiconductor lasers
- H01S5/04—Processes or apparatus for excitation, e.g. pumping, e.g. by electron beams
- H01S5/042—Electrical excitation ; Circuits therefor
- H01S5/0425—Electrodes, e.g. characterised by the structure
- H01S5/04256—Electrodes, e.g. characterised by the structure characterised by the configuration
-
- H—ELECTRICITY
- H01—ELECTRIC ELEMENTS
- H01S—DEVICES USING THE PROCESS OF LIGHT AMPLIFICATION BY STIMULATED EMISSION OF RADIATION [LASER] TO AMPLIFY OR GENERATE LIGHT; DEVICES USING STIMULATED EMISSION OF ELECTROMAGNETIC RADIATION IN WAVE RANGES OTHER THAN OPTICAL
- H01S5/00—Semiconductor lasers
- H01S5/10—Construction or shape of the optical resonator, e.g. extended or external cavity, coupled cavities, bent-guide, varying width, thickness or composition of the active region
- H01S5/1003—Waveguide having a modified shape along the axis, e.g. branched, curved, tapered, voids
- H01S5/1017—Waveguide having a void for insertion of materials to change optical properties
-
- H—ELECTRICITY
- H01—ELECTRIC ELEMENTS
- H01S—DEVICES USING THE PROCESS OF LIGHT AMPLIFICATION BY STIMULATED EMISSION OF RADIATION [LASER] TO AMPLIFY OR GENERATE LIGHT; DEVICES USING STIMULATED EMISSION OF ELECTROMAGNETIC RADIATION IN WAVE RANGES OTHER THAN OPTICAL
- H01S5/00—Semiconductor lasers
- H01S5/10—Construction or shape of the optical resonator, e.g. extended or external cavity, coupled cavities, bent-guide, varying width, thickness or composition of the active region
- H01S5/1053—Comprising an active region having a varying composition or cross-section in a specific direction
- H01S5/1064—Comprising an active region having a varying composition or cross-section in a specific direction varying width along the optical axis
-
- H—ELECTRICITY
- H01—ELECTRIC ELEMENTS
- H01S—DEVICES USING THE PROCESS OF LIGHT AMPLIFICATION BY STIMULATED EMISSION OF RADIATION [LASER] TO AMPLIFY OR GENERATE LIGHT; DEVICES USING STIMULATED EMISSION OF ELECTROMAGNETIC RADIATION IN WAVE RANGES OTHER THAN OPTICAL
- H01S5/00—Semiconductor lasers
- H01S5/10—Construction or shape of the optical resonator, e.g. extended or external cavity, coupled cavities, bent-guide, varying width, thickness or composition of the active region
- H01S5/1082—Construction or shape of the optical resonator, e.g. extended or external cavity, coupled cavities, bent-guide, varying width, thickness or composition of the active region with a special facet structure, e.g. structured, non planar, oblique
- H01S5/1085—Oblique facets
-
- H—ELECTRICITY
- H01—ELECTRIC ELEMENTS
- H01S—DEVICES USING THE PROCESS OF LIGHT AMPLIFICATION BY STIMULATED EMISSION OF RADIATION [LASER] TO AMPLIFY OR GENERATE LIGHT; DEVICES USING STIMULATED EMISSION OF ELECTROMAGNETIC RADIATION IN WAVE RANGES OTHER THAN OPTICAL
- H01S5/00—Semiconductor lasers
- H01S5/20—Structure or shape of the semiconductor body to guide the optical wave ; Confining structures perpendicular to the optical axis, e.g. index or gain guiding, stripe geometry, broad area lasers, gain tailoring, transverse or lateral reflectors, special cladding structures, MQW barrier reflection layers
- H01S5/2004—Confining in the direction perpendicular to the layer structure
- H01S5/2018—Optical confinement, e.g. absorbing-, reflecting- or waveguide-layers
- H01S5/2031—Optical confinement, e.g. absorbing-, reflecting- or waveguide-layers characterized by special waveguide layers, e.g. asymmetric waveguide layers or defined bandgap discontinuities
-
- H—ELECTRICITY
- H01—ELECTRIC ELEMENTS
- H01S—DEVICES USING THE PROCESS OF LIGHT AMPLIFICATION BY STIMULATED EMISSION OF RADIATION [LASER] TO AMPLIFY OR GENERATE LIGHT; DEVICES USING STIMULATED EMISSION OF ELECTROMAGNETIC RADIATION IN WAVE RANGES OTHER THAN OPTICAL
- H01S5/00—Semiconductor lasers
- H01S5/20—Structure or shape of the semiconductor body to guide the optical wave ; Confining structures perpendicular to the optical axis, e.g. index or gain guiding, stripe geometry, broad area lasers, gain tailoring, transverse or lateral reflectors, special cladding structures, MQW barrier reflection layers
- H01S5/2054—Methods of obtaining the confinement
- H01S5/2081—Methods of obtaining the confinement using special etching techniques
- H01S5/2086—Methods of obtaining the confinement using special etching techniques lateral etch control, e.g. mask induced
-
- H—ELECTRICITY
- H01—ELECTRIC ELEMENTS
- H01S—DEVICES USING THE PROCESS OF LIGHT AMPLIFICATION BY STIMULATED EMISSION OF RADIATION [LASER] TO AMPLIFY OR GENERATE LIGHT; DEVICES USING STIMULATED EMISSION OF ELECTROMAGNETIC RADIATION IN WAVE RANGES OTHER THAN OPTICAL
- H01S5/00—Semiconductor lasers
- H01S5/30—Structure or shape of the active region; Materials used for the active region
- H01S5/32—Structure or shape of the active region; Materials used for the active region comprising PN junctions, e.g. hetero- or double- heterostructures
- H01S5/323—Structure or shape of the active region; Materials used for the active region comprising PN junctions, e.g. hetero- or double- heterostructures in AIIIBV compounds, e.g. AlGaAs-laser, InP-based laser
- H01S5/32308—Structure or shape of the active region; Materials used for the active region comprising PN junctions, e.g. hetero- or double- heterostructures in AIIIBV compounds, e.g. AlGaAs-laser, InP-based laser emitting light at a wavelength less than 900 nm
- H01S5/32341—Structure or shape of the active region; Materials used for the active region comprising PN junctions, e.g. hetero- or double- heterostructures in AIIIBV compounds, e.g. AlGaAs-laser, InP-based laser emitting light at a wavelength less than 900 nm blue laser based on GaN or GaP
Landscapes
- Physics & Mathematics (AREA)
- Condensed Matter Physics & Semiconductors (AREA)
- General Physics & Mathematics (AREA)
- Electromagnetism (AREA)
- Optics & Photonics (AREA)
- Geometry (AREA)
- Semiconductor Lasers (AREA)
Abstract
Laserlichtquelle mit einer Stegwellenleiterstruktur, aufweisend
eine Halbleiterschichtenfolge (10) mit einer Mehrzahl von funktionalen Schichten (4) und einem aktiven Bereich (45), der geeignet ist, im Betrieb Laserlicht zu erzeugen,
wobei zumindest eine der funktionalen Schichten (4) als Steg (11) der Stegwellenleiterstruktur ausgebildet ist und
wobei die Halbleiterschichtenfolge (10) eine Modenfilterstruktur (6) aufweist, die senkrecht zu einer Haupterstreckungsebene der funktionalen Schichten (4) unterhalb des Stegs (11) ausgebildet ist,
wobei die Haupterstreckungsebene senkrecht zu einer Anordnungsrichtung der Halbleiterschichtenfolge (10) ist,
wobei die Halbleiterschichtenfolge (10) zumindest eine funktionale Schicht als Modenfilterstruktur (6) aufweist, die eine geschädigte Struktur (66) aufweist, die durch Verdampfen eines Materials der Halbleiterschichtenfolge (10) mit einem Laser erzeugt ist,
wobei die Laserlichtquelle eine weitere Modenfilterstruktur (6) aufweist, und die weitere Modenfilterstruktur (6) unterschiedliche Steghöhen (110, 110') an zwei gegenüber liegenden Stegseitenflächen (111, 112) aufweist, so dass ein asymmetrischer Wellenleiter erzeugt ist, und
wobei die Modenfilterstrukturen (6) höhere Moden, die neben einer Grundmode in der Laserlichtquelle auftreten, dämpft.
Laser light source with a ridge waveguide structure, comprising
a semiconductor layer sequence (10) with a plurality of functional layers (4) and an active region (45) which is suitable for generating laser light during operation,
wherein at least one of the functional layers (4) is formed as a ridge (11) of the ridge waveguide structure and
wherein the semiconductor layer sequence (10) has a mode filter structure (6) which is formed perpendicular to a main extension plane of the functional layers (4) below the web (11),
wherein the main extension plane is perpendicular to an arrangement direction of the semiconductor layer sequence (10),
wherein the semiconductor layer sequence (10) has at least one functional layer as a mode filter structure (6) which has a damaged structure (66) which is produced by evaporating a material of the semiconductor layer sequence (10) with a laser,
wherein the laser light source has a further mode filter structure (6), and the further mode filter structure (6) has different ridge heights (110, 110') on two opposite ridge side surfaces (111, 112), so that an asymmetric waveguide is produced, and
wherein the mode filter structures (6) attenuate higher modes that occur in addition to a fundamental mode in the laser light source.
Description
Für Projektionsanwendungen werden Laserquellen in einem Grundmoden- oder Monomoden-Betrieb mit immer höheren Leistungen benötigt, um bei zunehmenden Bilddiagonalen der Projektionsfläche ausreichende Helligkeiten zu erzielen und dennoch eine sehr hohe Effizienz zu erreichen. Zudem ist vielfach ein geringes Aspekt-Verhältnis des Laserstrahls wünschenswert, um aufwändige und verlustbehaftete Linsensysteme vereinfachen zu können.For projection applications, laser sources operating in fundamental mode or monomode with ever-increasing power are required to achieve sufficient brightness while still maintaining very high efficiency for increasing screen sizes. In addition, a low aspect ratio of the laser beam is often desirable to simplify complex and lossy lens systems.
In typischen indexgeführten Laserstrukturen wie etwa Laserdioden mit Stegwellenleiterstrukturen wird Monomodigkeit dadurch erreicht, dass der Lasersteg eine extrem geringe Breite aufweist. Hierin besteht jedoch ein wesentlicher Nachteil in den hohen technologischen Anforderungen, da herkömmliche Belichtungs- und Ätztechnologien an ihre Grenzen stoßen. Ein weiterer großer Nachteil solch schmaler Stegbreiten besteht in den erhöhten Betriebsspannungen, die zum Betrieb solcher Laserdioden nötig sind.In typical index-guided laser structures, such as laser diodes with ridge waveguide structures, monomode operation is achieved by having an extremely narrow laser ridge width. However, this poses a significant disadvantage in the high technological requirements, as conventional exposure and etching technologies reach their limits. Another major disadvantage of such narrow ridge widths is the increased operating voltages required to operate such laser diodes.
Eine weitere Möglichkeit zur Verbesserung der Monomodigkeit einer Laserdiode mit Stegwellenleiterstruktur besteht in einer geringen Steghöhe. Die daraus resultierende schwache optische Führung bewirkt, dass nur die Grundmode anschwingen kann. Dies führt jedoch gleichzeitig zu erhöhten Schwellströmen, da in der Regel eine schwache Wellenführung beziehungsweise eine geringe Höhe des Stegs mit einer Stromaufweitung verbunden ist.Another way to improve the monomode performance of a laser diode with a ridge waveguide structure is to use a low ridge height. The resulting weak optical guidance allows only the fundamental mode to oscillate. However, this also leads to increased threshold currents, since weak waveguide or a low ridge height is usually associated with current spreading.
Es ist weiterhin bekannt, Absorberschichten auf eine dünne Passivierungsschicht neben dem Lasersteg aufzubringen. Da für diese Konfiguration jedoch sehr dünne Passivierungsschichten benötige werden, können elektrische Probleme auftreten, etwa hinsichtlich der Durchschlagfestigkeit oder hinsichtlich Leckströmen. Weiterhin ist dabei nachteilig, dass im Allgemeinen nicht verhindert werden kann, dass auch die Grundmode durch den Absorber gedämpft wird, was Verluste in den Laserparametern, insbesondere eine verringerte Effizienz, bedeutet.It is also known to apply absorber layers to a thin passivation layer adjacent to the laser ridge. However, since this configuration requires very thin passivation layers, electrical problems can arise, such as dielectric strength or leakage currents. Another disadvantage is that it is generally impossible to prevent the fundamental mode from being attenuated by the absorber, which results in losses in the laser parameters, particularly reduced efficiency.
Die Druckschrift
Die Druckschrift
Die Druckschrift
Die Druckschrift
Die Druckschrift
Die Druckschrift
Die Druckschrift
Die Druckschrift
Die Druckschrift
Die Druckschrift
Die Druckschrift
Die Druckschrift
Eine Aufgabe zumindest einer Ausführungsform ist es, eine Laserlichtquelle mit einer Halbleiterschichtenfolge anzugeben.An object of at least one embodiment is to provide a laser light source with a semiconductor layer sequence.
Diese Aufgabe wird durch einen Gegenstand mit den Merkmalen des unabhängigen Patentanspruchs gelöst. Vorteilhafte Ausführungsformen und Weiterbildungen des Gegenstands und des Verfahrens sind in den abhängigen Ansprüchen gekennzeichnet und gehen aus der nachfolgenden Beschreibung und den Zeichnungen hervor.This object is achieved by a subject matter having the features of the independent patent claim. Advantageous embodiments and further developments of the subject matter and the method are characterized in the dependent claims and will become apparent from the following description and the drawings.
Die Laserlichtquelle mit einer Stegwellenleiterstruktur, weist auf eine Halbleiterschichtenfolge mit einer Mehrzahl von funktionalen Schichten und einem aktiven Bereich, der geeignet ist, im Betrieb Laserlicht zu erzeugen, wobei zumindest eine der funktionalen Schichten als Steg der Stegwellenleiterstruktur ausgebildet ist und wobei die Halbleiterschichtenfolge eine Modenfilterstruktur aufweist, die senkrecht zu einer Haupterstreckungsebene der funktionalen Schichten unterhalb des Stegs ausgebildet ist, wobei die Haupterstreckungsebene senkrecht zu einer Anordnungsrichtung der Halbleiterschichtenfolge ist, wobei die Halbleiterschichtenfolge zumindest eine funktionale Schicht als Modenfilterstruktur aufweist, die eine geschädigte Struktur aufweist, die durch Verdampfen eines Materials der Halbleiterschichtenfolge mit einem Laser erzeugt ist,
wobei die Laserlichtquelle eine weitere Modenfilterstruktur aufweist, und die weitere Modenfilterstruktur unterschiedliche Steghöhen an zwei gegenüber liegenden Stegseitenflächen aufweist, so dass ein asymmetrischer Wellenleiter erzeugt ist, und
wobei die Modenfilterstrukturen höhere Moden, die neben einer Grundmode in der Laserlichtquelle auftreten, dämpft.The laser light source with a ridge waveguide structure has a semiconductor layer sequence with a plurality of functional layers and an active region which is suitable for generating laser light during operation, wherein at least one of the functional layers is designed as a ridge of the ridge waveguide structure and wherein the semiconductor layer sequence has a mode filter structure which is designed perpendicular to a main extension plane of the functional layers below the ridge, wherein the main extension plane is perpendicular to an arrangement direction of the semiconductor layer sequence, wherein the semiconductor layer sequence has at least one functional layer as a mode filter structure which has a damaged structure which is formed by evaporating a material of the semiconductor layer sequence with generated by a laser,
wherein the laser light source has a further mode filter structure, and the further mode filter structure has different ridge heights on two opposite ridge side surfaces, so that an asymmetric waveguide is produced, and
where the mode filter structures attenuate higher modes that occur in addition to a fundamental mode in the laser light source.
Gemäß zumindest einer Ausführungsform weist eine Laserlichtquelle eine Halbleiterschichtenfolge auf, die eine Mehrzahl von funktionalen Schichten aufweist. Insbesondere weist die Halbleiterschichtenfolge eine aktive Schicht mit einem aktiven Bereich auf, der im Betrieb der Laserlichtquelle Laserlicht erzeugen kann. Die funktionalen Schichten weisen jeweils eine Haupterstreckungsebene auf, die senkrecht zur Anordnungsrichtung der übereinander angeordneten funktionalen Schichten ist.According to at least one embodiment, a laser light source comprises a semiconductor layer sequence comprising a plurality of functional layers. In particular, the semiconductor layer sequence comprises an active layer with an active region that can generate laser light during operation of the laser light source. The functional layers each have a main plane of extension that is perpendicular to the arrangement direction of the superimposed functional layers.
Gemäß einer weiteren Ausführungsform ist die Laserlichtquelle als kantenemittierende Laserdiode ausgebildet. Dazu weist die Halbleiterschichtenfolge eine Seitenfläche auf, die zumindest geneigt gegenüber der Haupterstreckungsebene der funktionalen Schichten und beispielsweise senkrecht oder im Wesentlichen senkrecht dazu ist und die als Strahlungsauskoppelfläche ausgeführt ist, so dass über die Strahlungsauskoppelfläche im Betrieb das Laserlicht abgestrahlt werden kann. Bevorzugt kann die Halbleiterschichtenfolge eine erste und eine zweite Wellenleiterschicht aufweisen, zwischen denen der aktive Bereich angeordnet ist. Insbesondere kann die Halbleiterschichtenfolge einen optischen Resonator für das Laserlicht aufweisen. Dieser kann insbesondere eine erste zumindest teilweise reflektierende Schicht, beispielsweise eine Spiegelschicht, auf der Strahlungsauskoppelfläche und/oder eine zweite zumindest teilweise reflektierende Schicht, beispielsweise eine Spiegelschicht, auf einer der Strahlungsauskoppelfläche gegenüberliegenden Seitenfläche der Halbleiterschichtenfolge umfassen, zwischen denen der aktive Bereich angeordnet ist.According to a further embodiment, the laser light source is designed as an edge-emitting laser diode. For this purpose, the semiconductor layer sequence has a side surface that is at least inclined with respect to the main extension plane of the functional layers and, for example, perpendicular or substantially perpendicular thereto, and which is designed as a radiation outcoupling surface, such that the laser light can be emitted via the radiation outcoupling surface during operation. The semiconductor layer sequence can preferably have a first and a second waveguide layer, between which the active region is arranged. In particular, the semiconductor layer sequence can have an optical resonator for the laser light. This can in particular comprise a first at least partially reflective layer, for example a mirror layer, on the radiation outcoupling surface and/or a second at least partially reflective layer, for example a mirror layer, on a side surface of the semiconductor layer sequence opposite the radiation outcoupling surface, between which the active region is arranged.
Die Halbleiterschichtenfolge kann als Epitaxieschichtenfolge oder als strahlungsemittierender Halbleiterchip mit einer Epitaxieschichtenfolge, also als epitaktisch gewachsene Halbleiterschichtenfolge ausgeführt sein. Dabei kann die Halbleiterschichtenfolge beispielsweise auf der Basis von InGaAlN ausgeführt sein. Unter InGaAlN-basierte Halbleiterchips und Halbleiterschichtenfolgen fallen insbesondere solche, bei denen die epitaktisch hergestellte Halbleiterschichtenfolge in der Regel eine Schichtenfolge aus unterschiedlichen Einzelschichten aufweist, die mindestens eine Einzelschicht enthält, die ein Material aus dem III-V-Verbindungshalbleitermaterialsystem InxAlyGa1-x-yN mit 0 ≤ x ≤ 1, 0 ≤ y ≤ 1 und x + y ≤ 1 aufweist. Halbleiterschichtenfolgen, die zumindest eine aktive Schicht auf Basis auf InGaAlN aufweisen, können beispielsweise bevorzugt elektromagnetische Strahlung in einem ultravioletten bis grünen Wellenlängenbereich emittieren.The semiconductor layer sequence can be embodied as an epitaxial layer sequence or as a radiation-emitting semiconductor chip with an epitaxial layer sequence, i.e. as an epitaxially grown semiconductor layer sequence. The semiconductor layer sequence can be embodied, for example, on the basis of InGaAlN. InGaAlN-based semiconductor chips and semiconductor layer sequences include, in particular, those in which the epitaxially produced semiconductor layer sequence generally has a layer sequence of different individual layers, which contains at least one individual layer comprising a material from the III-V compound semiconductor material system In x Al y Ga 1-xy N with 0 ≤ x ≤ 1, 0 ≤ y ≤ 1 and x + y ≤ 1. Semiconductor layer sequences that have at least one active layer based on InGaAlN can, for example, preferably emit electromagnetic radiation in an ultraviolet to green wavelength range.
Alternativ oder zusätzlich kann die Halbleiterschichtenfolge oder der Halbleiterchip auch auf InGaAlP basieren, das heißt, dass die Halbleiterschichtenfolge unterschiedliche Einzelschichten aufweisen kann, wovon mindestens eine Einzelschicht ein Material aus dem III-V-Verbindungshalbleitermaterialsystem InxAlyGa1-x-yP mit 0 ≤ x ≤ 1, 0 ≤ y ≤ 1 und x + y ≤ 1 aufweist. Halbleiterschichtenfolgen oder Halbleiterchips, die zumindest eine aktive Schicht auf Basis von InGaAlP aufweisen, können beispielsweise bevorzugt elektromagnetische Strahlung mit einer oder mehreren spektralen Komponenten in einen grünen bis roten Wellenlängenbereich emittieren.Alternatively or additionally, the semiconductor layer sequence or the semiconductor chip can also be based on InGaAlP, i.e. the semiconductor layer sequence can have different individual layers, of which at least one individual layer has a material from the III-V compound semiconductor material system In x Al y Ga 1-xy P with 0 ≤ x ≤ 1, 0 ≤ y ≤ 1 and x + y ≤ 1. Semiconductor layer sequences or semiconductor chips which have at least one active layer based on InGaAlP can, for example, preferably emit electromagnetic radiation with one or more spectral components in a green to red wavelength range.
Alternativ oder zusätzlich kann die Halbleiterschichtenfolge oder der Halbleiterchip auch andere III-V-Verbindungshalbleitermaterialsysteme, beispielsweise ein AlGaAs-basiertes Material, oder II-VI-Verbindungshalbleitermaterialsysteme aufweisen. Insbesondere kann eine aktive Schicht, die ein AlGaAs-basiertes Material aufweist, geeignet sein, elektromagnetische Strahlung mit einer oder mehreren spektralen Komponenten in einem roten bis infraroten Wellenlängenbereich zu emittieren.Alternatively or additionally, the semiconductor layer sequence or the semiconductor chip may also comprise other III-V compound semiconductor material systems, for example, an AlGaAs-based material, or II-VI compound semiconductor material systems. In particular, an active layer comprising an AlGaAs-based material may be suitable for emitting electromagnetic radiation with one or more spectral components in a red to infrared wavelength range.
Die Halbleiterschichtenfolge kann weiterhin ein Substrat aufweisen, auf dem die oben genannten III-V- oder II-VI-Verbindungshalbleitermaterialsystem abgeschieden sind. Die funktionalen Schichten können auf dem Substrat aufgewachsen sein, das dann als Aufwachssubstrat ausgebildet ist. Alternativ dazu können die funktionalen Schichten nach dem Aufwachsen auf das Substrat übertragen werden, das dann als Trägersubstrat ausgebildet ist. Das Substrat kann ein Halbleitermaterial, beispielsweise ein oben genanntes Verbindungshalbleitermaterialsystem, umfassen. Insbesondere kann das Substrat GaP, GaN, SiC, Si, Ge und/oder Saphir umfassen oder aus einem solchen Material sein.The semiconductor layer sequence may further comprise a substrate on which the above-mentioned III-V or II-VI compound semiconductor material system is deposited. The functional layers may be grown on the substrate, which is then formed as a growth substrate. Alternatively, the functional layers may be transferred to the substrate after growth, which is then formed as a carrier substrate. The substrate may comprise a semiconductor material, for example, an above-mentioned compound semiconductor material system. In particular, the substrate may comprise GaP, GaN, SiC, Si, Ge, and/or sapphire, or be made of such a material.
Die Halbleiterschichtenfolge kann als aktiven Bereichen in der aktiven Schicht beispielsweise einen herkömmlichen pn-Übergang, eine Doppelheterostruktur, eine Einfach-Quantentopfstruktur (SQW-Strukturen) oder eine Mehrfach-Quantentopfstruktur (MQW-Strukturen) aufweisen. Die Halbleiterschichtenfolge kann neben der aktiven Schicht mit dem aktiven Bereich weitere funktionale Schichten und funktionelle Bereiche umfassen, etwa p- oder n-dotierte Ladungsträgertransportschichten, p- oder n-dotierte Confinement-, Mantel- oder Wellenleiterschichten, Barriereschichten, Planarisierungsschichten, Pufferschichten, Schutzschichten und/oder Elektroden sowie Kombinationen daraus. Die Elektroden können dabei jeweils eine oder mehrere Metallschichten mit Ag, Au, Sn, Ti, Pt, Pd, Rh und/oder Ni aufweisen. Solche Strukturen die aktive Schicht oder die weiteren funktionalen Schichten und Bereiche betreffend sind dem Fachmann insbesondere hinsichtlich Aufbau, Funktion und Struktur bekannt und werden von daher an dieser Stelle nicht näher erläutert.The semiconductor layer sequence can have, for example, a conventional pn junction, a double heterostructure, a single quantum well structure (SQW structures) or a multiple quantum well structure (MQW structures) as active regions in the active layer. In addition to the active layer with the active region, the semiconductor layer sequence can comprise further functional layers and functional regions, such as p- or n-doped charge carrier transport layers, p- or n-doped confinement, cladding or waveguide layers, barrier layers, planarization layers, buffer layers, protective layers and/or Electrodes and combinations thereof. The electrodes can each have one or more metal layers containing Ag, Au, Sn, Ti, Pt, Pd, Rh, and/or Ni. Such structures relating to the active layer or the other functional layers and regions are known to the person skilled in the art, particularly with regard to design, function, and structure, and are therefore not explained in detail here.
Darüber hinaus können zusätzliche Schichten, etwa Pufferschichten, Barriereschichten und/oder Schutzschichten auch senkrecht zur Aufwachsrichtung der Halbleiterschichtenfolge beispielsweise um die Halbleiterschichtenfolge herum angeordnet sein, also etwa auf den Seitenflächen der Halbleiterschichtenfolge.In addition, additional layers, such as buffer layers, barrier layers and/or protective layers, can also be arranged perpendicular to the growth direction of the semiconductor layer sequence, for example around the semiconductor layer sequence, for example on the side surfaces of the semiconductor layer sequence.
Gemäß einer weiteren Ausführungsform weist die Laserlichtquelle eine Stegwellenleiterstruktur auf. Dazu sind zumindest eine oder mehrere funktionale Schichten der Halbleiterschichtenfolge derartig strukturiert, dass die zumindest eine oder die mehreren Schichten einen Steg bilden, der sich in einer Richtung, der Stegerstreckungsrichtung, parallel zur Haupterstreckungsebene der funktionalen Schichten erstreckt. Insbesondere kann eine solche auch als „Ridge-Struktur“ bezeichenbare Ausgestaltung der Halbleiterschichtenfolge geeignet sein, in Abhängigkeit von ihrer Breite und Höhe und durch die aufgrund der stegförmigen Struktur und einem damit verbundenen Brechungsindexsprung eine so genannte Indexführung die Ausbildung einer transversalen Grundmode im aktiven Bereich zu ermöglichen. Der Steg kann sich insbesondere von der Strahlungsauskoppelfläche bis zur der Strahlungsauskoppelfläche gegenüberliegenden Seitenfläche der Halbleiterschichtenfolge erstrecken.According to a further embodiment, the laser light source has a ridge waveguide structure. For this purpose, at least one or more functional layers of the semiconductor layer sequence are structured such that the at least one or more layers form a ridge that extends in one direction, the ridge extension direction, parallel to the main extension plane of the functional layers. In particular, such a configuration of the semiconductor layer sequence, which can also be referred to as a "ridge structure," can be suitable, depending on its width and height and due to the so-called index guidance due to the ridge-shaped structure and an associated refractive index jump, to enable the formation of a transverse fundamental mode in the active region. The ridge can extend, in particular, from the radiation output surface to the side surface of the semiconductor layer sequence opposite the radiation output surface.
Zur Herstellung der Stegwellenleiterstruktur kann beispielsweise die Halbleiterschichtenfolge mit den oben genannten funktionalen Schichten und dem aktiven Bereich bereitgestellt werden. Der Steg kann durch eine Maske mittels eines abtragenden Verfahrens, etwa Ätzen, auf einer Hauptoberfläche der Halbleiterschichtenfolge, die parallel zur Haupterstreckungsebene der funktionalen Schichten angeordnet ist, erzeugt werden. Die Breite des Stegs kann dabei über eine photolithographisch herstellbare Maske einstellbar sein.To produce the ridge waveguide structure, for example, the semiconductor layer sequence with the aforementioned functional layers and the active region can be provided. The ridge can be created through a mask using an ablation process, such as etching, on a main surface of the semiconductor layer sequence, which is arranged parallel to the main extension plane of the functional layers. The width of the ridge can be adjustable using a photolithographically produced mask.
Gemäß einer weiteren Ausführungsform weist die Halbleiterschichtenfolge eine Modenfilterstruktur auf. Die Modenfilterstruktur kann insbesondere geeignet sein, höhere Moden, die neben einer Grundmode in der Laserlichtquelle auftreten können, zu dämpfen.According to a further embodiment, the semiconductor layer sequence has a mode filter structure. The mode filter structure can be particularly suitable for attenuating higher modes that may occur in the laser light source alongside a fundamental mode.
Gemäß einer weiteren Ausführungsform ist die Modenfilterstruktur als Teil des Stegs ausgeführt und/oder entlang einer Haupterstreckungsebene der funktionalen Schichten neben dem Steg ausgebildet und/oder senkrecht zu einer Haupterstreckungsebene der funktionellen Schichten unterhalb des Stegs ausgebildet. Dabei kann die Modenfilterstruktur eines oder mehrere der im Folgenden beschriebenen Elemente, Merkmale und/oder Ausführungsformen aufweisen.According to a further embodiment, the mode filter structure is embodied as part of the web and/or formed along a main extension plane of the functional layers adjacent to the web and/or formed perpendicular to a main extension plane of the functional layers below the web. The mode filter structure may comprise one or more of the elements, features, and/or embodiments described below.
Gemäß einer weiteren Ausführungsform weist der Steg senkrecht zur Stegerstreckungsrichtung und parallel zur Haupterstreckungsebene der funktionalen Schichten eine horizontale Stegbreite auf. Senkrecht zur Haupterstreckungsebene der funktionalen Schichten und senkrecht zur Stegerstreckungsrichtung kann der Steg eine vertikale Stegbreite aufweisen. Die horizontale Stegbreite kann dabei mit anderen Worten die Breite des Stegs sein, die der Steg in einer Aufsicht auf die Oberseite der Laserlichtquelle mit dem Steg aufweist. Die vertikale Stegbreite kann die Breite des Stegs sein, die der Steg in einem Schnitt senkrecht zu den Haupterstreckungsebenen der funktionalen Schichten und senkrecht zur Stegerstreckungsrichtung aufweist. Der Steg kann insbesondere als Modenfilterstruktur eine variierende horizontale Stegbreite und/oder eine variierende vertikale Stegbreite aufweisen.According to a further embodiment, the web has a horizontal web width perpendicular to the web extension direction and parallel to the main extension plane of the functional layers. Perpendicular to the main extension plane of the functional layers and perpendicular to the web extension direction, the web can have a vertical web width. In other words, the horizontal web width can be the width of the web that the web has in a plan view of the top side of the laser light source with the web. The vertical web width can be the width of the web that the web has in a section perpendicular to the main extension planes of the functional layers and perpendicular to the web extension direction. In particular, as a mode filter structure, the web can have a varying horizontal web width and/or a varying vertical web width.
Gemäß einer weiteren Ausführungsform weist die horizontale Stegbreite zumindest eine Verdickung und/oder eine Einschnürung auf. Das kann insbesondere bedeuten, dass sich die horizontale Stegbreite entlang der Stegerstreckungsrichtung vergrößert und dann wieder verkleinert, um eine Verdickung zu bilden, und/oder sich verkleinert und dann wieder vergrößert, um eine Einschnürung zu bilden. Die zumindest eine Verdickung und/oder Einschnürung kann dabei als Knick oder Stufe der horizontalen Stegbreite ausgeführt sein oder auch als sich kontinuierlich verändernde Stegbreite.According to a further embodiment, the horizontal web width has at least one thickening and/or a constriction. This can mean, in particular, that the horizontal web width increases along the web extension direction and then decreases again to form a thickening, and/or decreases and then increases again to form a constriction. The at least one thickening and/or constriction can be designed as a kink or step in the horizontal web width or as a continuously changing web width.
Durch eine Verbreiterung des Stegs in Form einer oder mehrerer Verdickungen der horizontalen Stegbreite kann an einer oder mehreren Stellen die Kontaktfläche des Stegs auf der funktionalen Schicht oder Teilschicht, auf der der Steg direkt angeordnet ist und an die der Steg direkt angrenzt, und/oder die Kontaktfläche einer Elektrodenschicht auf dem Steg zum Steg beziehungsweise zu den funktionalen Schichten vergrößert werden, wodurch die Betriebsspannung der Laserlichtquelle verringert und somit die Effizienz verbessert werden kann. Insbesondere durch eine kontinuierliche Änderung der variierenden horizontalen Stegbreite können Verluste in der Laserlichtquelle verringert oder ganz vermieden werden, die bei abrupten Änderungen der Stegbreite auftreten können. Besonders bevorzugt können dabei fließende Übergänge sein, wie sie zum Beispiel durch Variationen von Exponentialfunktionen, Sinus-, Kosinus, Tangens- und/oder Gauß-Kurven sowie Kombination daraus erzielt werden können.By widening the ridge in the form of one or more thickenings of the horizontal ridge width, the contact area of the ridge on the functional layer or sub-layer on which the ridge is directly arranged and to which the ridge directly adjoins, and/or the contact area of an electrode layer on the ridge to the ridge or to the functional layers can be increased at one or more locations, thereby reducing the operating voltage of the laser light source and thus improving efficiency. In particular, by continuously changing the varying horizontal ridge width, losses in the laser light source that can occur with abrupt changes in the ridge width can be reduced or completely avoided. Smooth transitions, such as those achieved, for example, by variations of exponential functions, can be particularly preferred. Sine, cosine, tangent and/or Gaussian curves and combinations thereof can be achieved.
Gemäß einer weiteren Ausführungsform weist der Steg eine variierende horizontale Stegbreite mit zumindest einer Verdickung und/oder einer Einschnürung auf, wobei die horizontale Stegbreite an zumindest einer Stelle schmaler als die so genannte Cut-Off-Breite zur Erreichung eines Single-Mode-Betriebs sein. Diese kann mit der bekannten Beziehung
Gemäß einer weiteren Ausführungsform weist der Steg eine Stegbreite auf, die im Bereich von einschließlich 0,3 µm bis einschließlich 200 µm, bevorzugt im Bereich von einschließlich 0,5 µm bis einschließlich 10 µm und besonders bevorzugt im Bereich von einschließlich 0,8 µm bis einschließlich 3 µm liegt.According to a further embodiment, the web has a web width which is in the range from 0.3 µm to 200 µm inclusive, preferably in the range from 0.5 µm to 10 µm inclusive, and particularly preferably in the range from 0.8 µm to 3 µm inclusive.
Gemäß einer weiteren Ausführungsform weist der Steg eine Verdickung hinsichtlich seiner horizontalen Stegbreite nahe oder an der Strahlungsauskoppelfläche und/oder der der Strahlungsauskoppelfläche gegenüber liegenden Seitenfläche der Halbleiterschichtenfolge auf. Dadurch kann die Leistungsdichte direkt an der Strahlungsauskoppelfläche verringert werden, wodurch höhere Ausgangsleistungen erreicht werden können, ohne dass die Strahlungsauskoppelfläche der Laserlichtquelle zerstört wird (COMD: „catastrophic optical mirror damage“). Alternativ dazu kann der Steg zwischen der Strahlungsauskoppelfläche und der der Strahlungsauskoppelfläche gegenüberliegenden Seitenfläche der Halbleiterschichtenfolge eine Verdickung der horizontalen Stegbreite aufweisen, während an der Strahlungsauskoppelfläche oder der der Strahlungsauskoppelfläche gegenüberliegenden Seitenfläche die horizontale Stegbreite eine Einschnürung oder Verjüngung aufweist. Dadurch kann ein breiteres laterales Fernfeld erzeugt werden.According to a further embodiment, the ridge has a thickening with respect to its horizontal ridge width near or at the radiation outcoupling surface and/or the side surface of the semiconductor layer sequence opposite the radiation outcoupling surface. This makes it possible to reduce the power density directly at the radiation outcoupling surface, whereby higher output powers can be achieved without destroying the radiation outcoupling surface of the laser light source (COMD: "catastrophic optical mirror damage"). Alternatively, the ridge can have a thickening of the horizontal ridge width between the radiation outcoupling surface and the side surface of the semiconductor layer sequence opposite the radiation outcoupling surface, while the horizontal ridge width has a constriction or taper at the radiation outcoupling surface or the side surface opposite the radiation outcoupling surface. This makes it possible to generate a wider lateral far field.
Durch einen Steg mit einer variierenden Stegbreite, die zumindest eine Verdickung und/oder eine Einschnürung aufweist, kann eine Kombination der Vorteile eines schmalen Stegs und eines breiten Stegs erreicht werden, wobei durch einen schmalen Steg beziehungsweise die schmalen Stegbereiche ein geringes Aspekt-Verhältnis des abgestrahlten Laserstrahls sowie eine ausgeprägte Monomodenführung erreicht werden kann, während durch einen breiten Steg beziehungsweise die breiten Stegbereiche der elektrische Kontakt verbessert werden kann, wodurch die Betriebsspannung verringert werden kann.By means of a web with a varying web width, which has at least one thickening and/or a constriction, a combination of the advantages of a narrow web and a wide web can be achieved, wherein a narrow web or the narrow web regions can achieve a low aspect ratio of the emitted laser beam and a pronounced monomode guidance, while a wide web or the wide web regions can improve the electrical contact, whereby the operating voltage can be reduced.
Gemäß einer weiteren Ausführungsform weist die vertikale Stegbreite eine Einschnürung auf. Dabei kann die Einschnürung beispielsweise den aktiven Bereich oder zumindest eine funktionale Schicht oberhalb des aktiven Bereichs umfassen. Das kann bedeuten, dass die Einschnürung der vertikalen Stegbreite im Bereich der aktiven Schicht mit dem aktiven Bereich oder darüber angeordnet ist. Dadurch, dass durch die Einschnürung ein oberer Teil des Stegs breiter ist als der für die Wellenführung relevantere untere Teil, kann eine größere Kontaktfläche der Halbleiterschichtenfolge zu einer darauf aufgebrachten Elektrodenschicht erzeugt werden. Dadurch kann insbesondere erreicht werden, dass die Spannung zum Betrieb der Laserlichtquelle verringert werden kann, wodurch die Effizienz steigt. Dies kann insbesondere für eine Laserlichtquelle mit einer Halbleiterschichtenfolge basierend auf einem Nitrid-Verbindungshalbleitermaterial von Vorteil sein, da bei diesem Material insbesondere die Kontaktwiderstände mit p-dotierten Halbleiterschichten im Vergleich zu anderen Materialsystemen hoch sind.According to a further embodiment, the vertical ridge width has a constriction. The constriction can, for example, comprise the active region or at least a functional layer above the active region. This can mean that the constriction of the vertical ridge width is arranged in the region of the active layer with the active region or above it. Because the constriction makes an upper part of the ridge wider than the lower part, which is more relevant for waveguiding, a larger contact area can be created between the semiconductor layer sequence and an electrode layer applied thereon. This can, in particular, achieve a reduction in the voltage for operating the laser light source, thereby increasing efficiency. This can be particularly advantageous for a laser light source with a semiconductor layer sequence based on a nitride compound semiconductor material, since with this material, in particular, the contact resistances with p-doped semiconductor layers are high compared to other material systems.
Gemäß einer weiteren Ausführungsform weist der Steg als Modenfilterstruktur eine variierende Steghöhe senkrecht zu einer Haupterstreckungsebene der funktionalen Schichten auf. Insbesondere kann das bedeuten, dass die Steghöhe entlang der Stegerstreckungsrichtung variiert. Bereiche, in denen der Steg eine hohe Steghöhe aufweist, in denen also der Teil der Halbleiterschichtenfolge, der an den Steg angrenzt, eine Vertiefung aufweist, können eine Verringerung der Stromaufweitung und eine bessere Überlappung der optischen Mode mit dem elektrisch gepumpten Bereich bewirken, wodurch eine niedrigere Laserschwelle und damit eine gute Effizienz erreicht werden können. Bereiche mit einer niedrigeren Steghöhe, also Bereiche der Halbleiterschichtenfolge beziehungsweise des Teils der Halbleiterschichtenfolge, der an den Steg angrenzt, die im Vergleich zu anderen Teilen eine Erhöhung aufweisen, können für eine schwächere Wellenführung sorgen, sodass höhere Moden stärkere Verluste erfahren und somit gedämpft werden können oder besonders bevorzugt gar nicht mehr geführt werden können. Die Übergänge zwischen Bereichen mit einer hohen Steghöhe und Bereichen mit einer niedrigen Steghöhe können abrupt, also insbesondere stufenförmig oder in Form von Knicken, im Höhenprofil des Teils der Halbleiterschichtenfolge, der an den Steg angrenzt, ausgeführt sein. Alternativ dazu kann die Steghöhe auch kontinuierlich entlang der Stegerstreckungsrichtung variieren.According to a further embodiment, the ridge as a mode filter structure has a varying ridge height perpendicular to a main extension plane of the functional layers. In particular, this can mean that the ridge height varies along the ridge extension direction. Regions in which the ridge has a high ridge height, i.e. in which the part of the semiconductor layer sequence adjacent to the ridge has a depression, can bring about a reduction in current spreading and better overlap of the optical mode with the electrically pumped region, whereby a lower laser threshold and thus good efficiency can be achieved. Regions with a lower ridge height, i.e. regions of the semiconductor layer sequence or the part of the semiconductor layer sequence adjacent to the ridge that have a raised area compared to other parts, can ensure weaker waveguiding, so that higher modes experience greater losses and can thus be attenuated or, more preferably, can no longer be guided at all. The transitions between regions with a high ridge height and regions with a low ridge height can be abrupt, i.e., in particular, stepped or in the form of kinks, in the height profile of the part of the semiconductor layer sequence adjacent to the ridge. Alternatively, the ridge height can also vary continuously along the ridge extension direction.
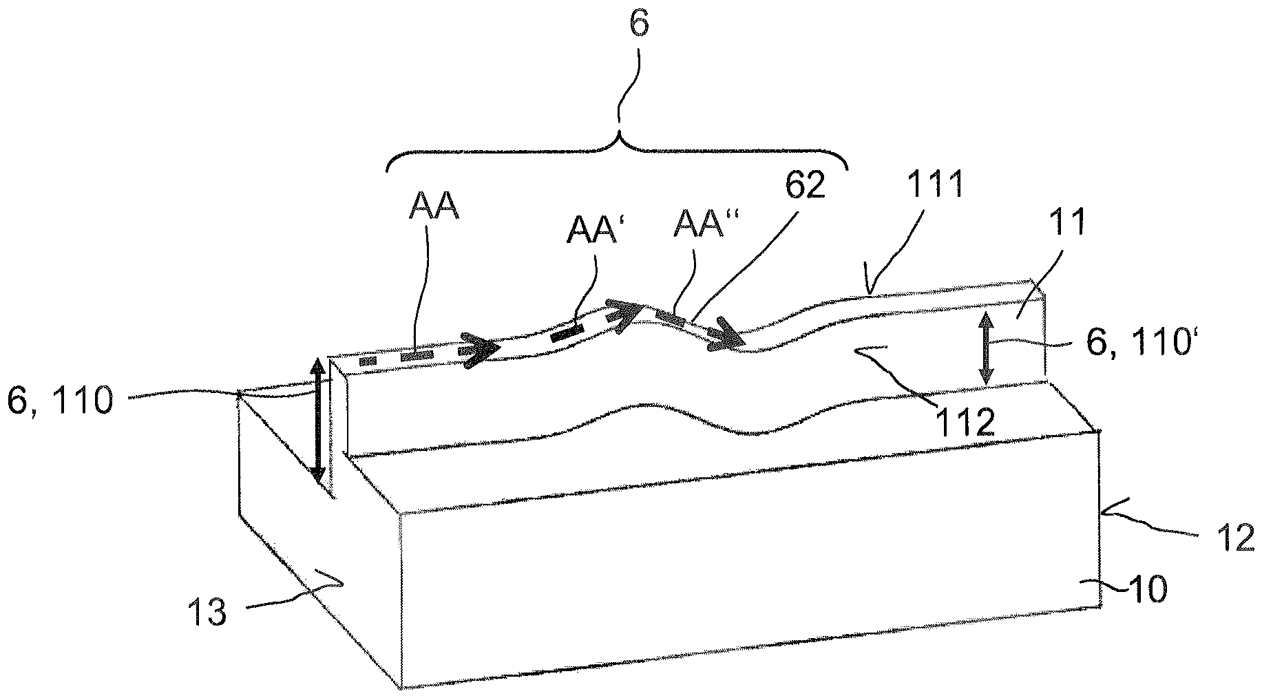
Gemäß einer weiteren Ausführungsform weist der Steg Stegseitenflächen auf, die den Steg in einer Richtung senkrecht zur Stegerstreckungsrichtung begrenzen und die entlang der Stegerstreckungsrichtung verlaufen. Der Steg kann dabei als Modenfilterstruktur zumindest teilweise oder entlang des gesamten Stegs unterschiedliche Steghöhen für die beiden Seitenflächen aufweisen. Durch eine derartige asymmetrische Ausführung der Steghöhen an den Stegseitenflächen kann eine asymmetrische Wellenleitung erzeugt werden, die besonders bevorzugt nur eine Mode führen kann. Durch die höhere Steghöhe auf einer Seite des Steges kann die Stromaufweitung auf dieser Seite reduziert werden, was zu einer Steigerung der Effizienz bei gleichzeitiger Erhaltung der Einmodigkeit führen kann. Zusätzlich kann die Steghöhe auf einer oder beiden Stegseitenflächen entlang der Stegerstreckungsrichtung variieren.According to a further embodiment, the web has web side surfaces that delimit the web in a direction perpendicular to the web extension direction and that run along the web extension direction. The web can have different web heights for the two side surfaces, at least partially or along the entire web, as a mode filter structure. Such an asymmetric design of the web heights on the web side surfaces can create asymmetric waveguiding that can particularly preferably only guide one mode. The higher web height on one side of the web can reduce the current spreading on this side, which can lead to an increase in efficiency while simultaneously maintaining single-mode operation. In addition, the web height on one or both web side surfaces can vary along the web extension direction.
Gemäß einer weiteren Ausführungsform ist neben dem Steg als Modenfilterstruktur eine Passivierung angeordnet, die entlang der Stegerstreckungsrichtung variiert. Das kann insbesondere bedeuten, dass die Passivierung als Passivierungsschicht ausgeführt ist, die beispielsweise hinsichtlich ihrer Zusammensetzung und/oder ihres Materials entlang der Stegerstreckungsrichtung variiert. Durch die variierende Passivierung entlang des Stegs kann eine Variierung des Brechungsindex entlang des Stegs erreicht werden, wobei ein Bereich mit einem geringeren Brechungsindex den gleichen Effekt haben kann wie eine Vergrößerung der Steghöhe. Insbesondere kann die Passivierung hinsichtlich ihrer Zusammensetzung und/oder ihres Materials und insbesondere hinsichtlich ihres Brechungsindex kontinuierlich variieren. Das kann beispielsweise durch zwei Passivierungsschichten erreicht werden, wovon die eine Passivierungsschicht entlang der Stegerstreckungsrichtung dünner wird und eine darauf aufgebrachte zweite Passivierungsschicht dicker wird. Insbesondere kann die Passivierung direkt an den Steg an zumindest einer Stegseitenfläche angrenzen. Besonders bevorzugt ist eine Passivierung angrenzend an beide Stegseitenflächen angeordnet.According to a further embodiment, a passivation layer is arranged next to the ridge as a mode filter structure, which passivation layer varies along the ridge extension direction, for example, with regard to its composition and/or material. By varying the passivation along the ridge, a variation of the refractive index along the ridge can be achieved, whereby a region with a lower refractive index can have the same effect as an increase in the ridge height. In particular, the passivation layer can vary continuously with regard to its composition and/or material and in particular with regard to its refractive index. This can be achieved, for example, by two passivation layers, of which one passivation layer becomes thinner along the ridge extension direction and a second passivation layer applied thereon becomes thicker. In particular, the passivation layer can be directly adjacent to the ridge on at least one ridge side surface. Particularly preferably, a passivation layer is arranged adjacent to both ridge side surfaces.
Gemäß einer weiteren Ausführungsform weist die Laserlichtquelle als Modenfilterstruktur an den beiden Stegseitenflächen neben dem Steg unterschiedliche Passivierungen auf, die beispielsweise unterschiedliche Brechungsindices aufweisen. Dadurch kann ein ähnlicher Effekt wie oben für unterschiedliche Steghöhen beschrieben an den Stegseitenflächen erreicht werden.According to a further embodiment, the laser light source, as a mode filter structure, has different passivations on the two ridge side surfaces adjacent to the ridge, which, for example, have different refractive indices. This allows a similar effect to that described above for different ridge heights to be achieved on the ridge side surfaces.
Gemäß einer weiteren Ausführungsform weist der Steg als Modenfilterstruktur eine gekrümmte Stegerstreckungsrichtung auf. Eine gekrümmte Stegerstreckungsrichtung kann in einer Aufsicht auf den Steg durch einen gekrümmten Verlauf des Stegs erkennbar sein. Das kann insbesondere bedeuten, dass der Steg nicht ausschließlich spiegelsymmetrisch zur optischen Achse der Laserlichtquelle ausgebildet ist. Die optische Achse kann insbesondere durch die Richtung in der Halbleiterschichtenfolge, insbesondere im aktiven Bereich, gegeben sein, entlang derer sich die Laserstrahlung ausbildet. Die Abstrahlrichtung, in der das Laserlicht von der Laserlichtquelle von der Strahlungsauskoppelfläche abgestrahlt wird, kann eine Verlängerung der optischen Achse sein.According to a further embodiment, the ridge as a mode filter structure has a curved ridge extension direction. A curved ridge extension direction can be recognizable in a plan view of the ridge by a curved profile of the ridge. This can mean, in particular, that the ridge is not exclusively mirror-symmetrical to the optical axis of the laser light source. The optical axis can be defined, in particular, by the direction in the semiconductor layer sequence, in particular in the active region, along which the laser radiation is generated. The emission direction in which the laser light is emitted by the laser light source from the radiation output surface can be an extension of the optical axis.
Gemäß einer weiteren Ausführungsform sind die Stegseitenflächen eines Stegs mit gekrümmter Stegerstreckungsrichtung parallel oder zumindest annähernd parallel. Dadurch kann die Prozessierbarkeit vereinfacht werden und/oder die Reproduzierbarkeit von Laserlichtquelle zu Laserlichtquelle erhöht werden.According to a further embodiment, the web side surfaces of a web with a curved web extension direction are parallel or at least approximately parallel. This can simplify processability and/or increase reproducibility from laser light source to laser light source.
Gemäß einer weiteren Ausführungsform weist der Steg eine gekrümmte Stegerstreckungsrichtung auf, die durch zumindest einen Knick im Steg und/oder zumindest eine kontinuierliche Richtungsänderung des Stegs relativ zur optischen Achse ausgebildet ist. Der zumindest einen Knick oder die zumindest eine kontinuierliche Richtungsänderung kann dabei durch einen definierten Winkel gegeben sein.According to a further embodiment, the bridge has a curved bridge extension direction, which is formed by at least one bend in the bridge and/or at least one continuous change in direction of the bridge relative to the optical axis. The at least one bend or the at least one continuous change in direction can be defined by a defined angle.
Durch eine gekrümmte Stegerstreckungsrichtung kann es möglich sein, höhere Moden im aktiven Bereich stärker zu dämpfen, wobei dabei auch bei einer Stegbreite, die größer als die oben beschriebene Cut-Off-Stegbreite ist, ein einmodiges Verhalten erzielt werden kann.By using a curved ridge extension direction, it may be possible to attenuate higher modes in the active region more strongly, whereby a single-mode behavior can be achieved even with a ridge width that is larger than the cut-off ridge width described above.
Gemäß einer weiteren Ausführungsform kann als Modenfilterstruktur eine gekrümmte Stegerstreckungsrichtung mit einer variierenden Passivierung entlang der Stegerstreckungsrichtung und/oder auf den beiden Stegseitenflächen kombiniert sein. Ein gekrümmter Steg kann je nach Krümmung ein asymmetrisches Fernfeld aufweisen. Zur Kompensation dieses kann bei einer gekrümmten Stegerstreckungsrichtung, insbesondere bei einer gebogenen, kurvenförmigen Stegerstreckungsrichtung mit einer oder mehreren Kurven an einer oder mehreren Innenkurven eine Passivierung angeordnet werden, die eine höhere Absorption aufweist als eine Passivierung an der entsprechenden Außenkurve. Dadurch kann die Phase der optischen Mode so beeinflusst werden, dass ein symmetrisches Abstrahlprofil beziehungsweise Fernfeld erzeugt wird.According to a further embodiment, a mode filter structure can be combined with a curved ridge extension direction and a varying passivation along the ridge extension direction and/or on the two ridge side surfaces. Depending on the curvature, a curved ridge can have an asymmetric far field. To compensate for this, in the case of a curved ridge extension direction, in particular in the case of a curved, curved ridge extension direction with one or more curves, a passivation can be arranged on one or more inner curves that has a higher absorption than a passivation on the corresponding outer curve. This can influence the phase of the optical mode such that a symmetrical radiation profile or far field is generated.
Gemäß einer weiteren Ausführungsform ist der Steg durch zwei entlang der Stegerstreckungsrichtung verlaufende Stegseitenflächen begrenzt, wobei als Modenfilterstruktur zumindest ein Teilbereich einer Stegseitenfläche eine Oxidierung aufweist. Das kann insbesondere bedeuten, dass zumindest ein Teilbereich einer Stegseitenfläche, bevorzugt eine Stegseitenfläche und besonders bevorzugt beide Stegseitenflächen, zumindest in Teilbereichen oxidiert sind. Dazu kann der Steg zumindest eine Aluminium enthaltende Schicht aufweisen, deren Seitenflächen, die einen Teilbereich der Stegseitenflächen bilden, oxidiert sind.According to a further embodiment, the web is delimited by two web side surfaces running along the web extension direction, wherein, as a mode filter structure, at least a partial region of a web side surface exhibits oxidation. This can mean, in particular, that at least a partial region of a web side surface, preferably one web side surface and particularly preferably both web side surfaces, are oxidized at least in partial regions. For this purpose, the web can have at least one aluminum-containing layer whose side surfaces, which form a partial region of the web side surfaces, are oxidized.
Gemäß einer weiteren Ausführungsform grenzt der Steg an eine funktionale Schicht der Halbleiterschichtenfolge an, die als Modenfilterstruktur ein die Leitfähigkeit änderndes und/oder ein Licht absorbierendes Material aufweist. Ein derartiges Material, das beispielsweise ein Dotierstoff wie etwa Silizium, ein elektrisch isolierender Stoff wie etwa Wasserstoff oder ein Licht absorbierender Stoff wie etwa Germanium sein kann, kann durch Implantation und/oder Diffusion zumindest in Teilbereiche der an den Steg angrenzenden funktionalen Schicht eingebracht werden. Derartige Bereiche können als Strom- und/oder Modenblenden dienen, durch die durch eine laterale Strombegrenzung und/oder eine entsprechende Wellenführung höhere Moden gedämpft werden können.According to a further embodiment, the ridge borders a functional layer of the semiconductor layer sequence, which comprises a conductivity-changing and/or light-absorbing material as a mode filter structure. Such a material, which may be, for example, a dopant such as silicon, an electrically insulating substance such as hydrogen, or a light-absorbing substance such as germanium, can be introduced by implantation and/or diffusion into at least partial regions of the functional layer adjacent to the ridge. Such regions can serve as current and/or mode apertures, through which higher modes can be attenuated by lateral current limitation and/or appropriate waveguiding.
Gemäß einer weiteren Ausführungsform weist die Halbleiterschichtenfolge zumindest eine funktionale Schicht als Modenfilterstruktur auf, die neben dem Steg und/oder unterhalb des Stegs zumindest teilweise eine geschädigte Struktur aufweist. Eine geschädigte Struktur kann beispielsweise nach dem Aufwachsen der Halbleiterschichtenfolge und dem Ausbilden des Stegs durch zumindest teilweises Verdampfen von Halbleitermaterial der Halbleiterschichtenfolge in zumindest einer funktionalen Schicht erfolgen. Das Verdampfen kann beispielsweise durch Bestrahlung der Halbleiterschichtenfolge mit Laserstrahlung, insbesondere Kurzpuls-Laserstrahlung, erreicht werden, durch die bei entsprechender Fokussierung das Halbleitermaterial in gezielten Bereichen geschädigt werden kann. Insbesondere kann die Laserstrahlung derart gewählt werden, dass eine Komponente, beispielsweise bei einem Gruppe-III-V-Verbindungshalbleitermaterial das Gruppe-V-Material, zumindest teilweise verdampft. Der geschädigte Bereich kann dabei unmittelbar angrenzend an den Steg in einer funktionalen Schicht ausgebildet sein. Zusätzlich oder alternativ kann die Halbleiterschichtenfolge einen geschädigten Bereich unterhalb und/oder seitlich versetzt neben dem Steg und unterhalb des Stegs, beispielsweise auf einer dem Steg abgewandten Seite des aktiven Bereichs, aufweisen. Durch einen derartigen beschädigten Bereich kann ebenfalls eine Strom- und/oder Modenblende erreicht werden.According to a further embodiment, the semiconductor layer sequence has at least one functional layer as a mode filter structure, which at least partially has a damaged structure next to the ridge and/or below the ridge. A damaged structure can be created, for example, after the semiconductor layer sequence has grown and the ridge has been formed, by at least partially evaporating semiconductor material of the semiconductor layer sequence in at least one functional layer. Evaporation can be achieved, for example, by irradiating the semiconductor layer sequence with laser radiation, in particular short-pulse laser radiation, which, with appropriate focusing, can damage the semiconductor material in targeted areas. In particular, the laser radiation can be selected such that a component, for example, the group V material in the case of a group III-V compound semiconductor material, is at least partially evaporated. The damaged area can be formed in a functional layer directly adjacent to the ridge. Additionally or alternatively, the semiconductor layer sequence may have a damaged region below and/or laterally offset next to the ridge and below the ridge, for example, on a side of the active region facing away from the ridge. A current and/or mode gate can also be achieved through such a damaged region.
Gemäß einer weiteren Ausführungsform weist die Laserlichtquelle als Modenfilterstruktur zumindest zwei der genannten Modenfilterstrukturmerkmale und/oder Ausführungsformen auf. Das kann insbesondere bedeuten, dass die Laserlichtquelle als Modenfilterstruktur eine variierende Stegbreite und/oder eine variierende Steghöhe und/oder eine variierende Passivierung entlang der Stegerstreckungsrichtung aufweist. Das kann auch bedeuten, dass der Steg zusätzlich oder alternativ als Modenfilterstruktur eine gekrümmte Stegerstreckungsrichtung und/oder implantierte oder dotierte Bereiche und/oder geschädigte Bereiche aufweist.According to a further embodiment, the laser light source, as a mode filter structure, has at least two of the aforementioned mode filter structure features and/or embodiments. This can mean, in particular, that the laser light source, as a mode filter structure, has a varying ridge width and/or a varying ridge height and/or a varying passivation along the ridge extension direction. This can also mean that the ridge, as a mode filter structure, additionally or alternatively has a curved ridge extension direction and/or implanted or doped regions and/or damaged regions.
Durch die hier genannten Ausführungsformen der Modenfilterstruktur kann es möglich sein, das Modenprofil der Laserlichtquelle optimal auf eine hohe Effizienz, eine gewünschte Fernfeldbreite sowie auf eine Einmodigkeit einzustellen.The embodiments of the mode filter structure mentioned here may make it possible to optimally adjust the mode profile of the laser light source to high efficiency, a desired far-field width and single-mode operation.
Weitere Vorteile und vorteilhafte Ausführungsformen und Weiterbildungen der Erfindung ergeben sich aus den im Folgenden in Verbindung mit den Figuren beschriebenen Beispielen.Further advantages and advantageous embodiments and developments of the invention will become apparent from the examples described below in conjunction with the figures.
Es zeigen:
-
1A bis 1C schematische Darstellungen von Laserlichtquellen mit einer Stegwellenleitstruktur, -
2A bis 2N schematische Darstellungen von Laserlichtquellen mit einer variierenden horizontalen Stegbreite gemäß mehreren Beispielen, -
3A bis 3M schematische Darstellungen von Laserlichtquellen mit gekrümmten Stegerstreckungsrichtungen gemäß weiteren Beispielen, -
schematische Darstellungen von Laserlichtquellen mit variierenden Steghöhen,4A bis 6 -
7 schematische Darstellung einer Laserlichtquellen mit einer variierenden Passivierung gemäß einem weiteren Beispiel, -
8A bis 8B schematische Darstellungen von Laserlichtquellen mit variierenden Passivierungen gemäß weiteren Beispielen, -
9A bis 10C schematische Darstellungen von Laserlichtquellen mit variierenden vertikalen Stegbreiten, -
11A bis 11C schematische Darstellungen einer Laserlichtquelle mit einer Oxidierung von Stegseitenflächen gemäß weiteren Beispielen, -
12A bis 12D schematische Darstellungen von Laserlichtquellen mit die Leitfähigkeit ändernden, den Brechungsindex ändernden und/oder Licht absorbierenden Materialien gemäß weiteren Beispielen, -
13A bis 14B schematische Darstellungen von Laserlichtquellen mit Bereichen mit einer geschädigten Struktur gemäß weiteren Beispielen und -
15A bis 15G schematische Darstellungen von Laserlichtquellen mit Streulichtfiltern gemäß weiteren Beispielen.
-
1A to 1C schematic representations of laser light sources with a ridge waveguide structure, -
2A to 2N schematic representations of laser light sources with a varying horizontal web width according to several examples, -
3A to 3M schematic representations of laser light sources with curved web extension directions according to further examples, -
4A to 6 schematic representations of laser light sources with varying web heights, -
7 schematic representation of a laser light source with a varying passivation according to another example, -
8A to 8B schematic representations of laser light sources with varying passivations according to further examples, -
9A to 10C schematic representations of laser light sources with varying vertical bar widths, -
11A to 11C schematic representations of a laser light source with oxidation of web side surfaces according to further examples, -
12A to 12D schematic representations of laser light sources with conductivity-changing, refractive index-changing and/or light-absorbing materials according to further examples, -
13A to 14B schematic representations of laser light sources with areas with a damaged structure according to further examples and -
15A to 15G schematic representations of laser light sources with stray light filters according to further examples.
In den Beispielen und Figuren können gleiche oder gleich wirkende Bestandteile jeweils mit den gleichen Bezugszeichen versehen sein. Die dargestellten Elemente und deren Größenverhältnisse untereinander sind grundsätzlich nicht als maßstabsgerecht anzusehen, vielmehr können einzelne Elemente, wie zum Beispiel Schichten, Bauteile, Bauelemente und Bereiche, zur besseren Darstellbarkeit und/oder zum besseren Verständnis übertrieben dick oder groß dimensioniert dargestellt sein.In the examples and figures, identical or functionally identical components may be provided with the same reference numerals. The illustrated elements and their relative sizes are generally not to scale; rather, individual elements, such as layers, components, structural elements, and regions, may be exaggeratedly thick or oversized for clarity and/or clarity.
Zur Beschreibung der grundlegenden Merkmale einer Laserlichtquelle mit einer Stegwellenleiterstruktur ist in
Die Laserlichtquelle weist eine Halbleiterschichtenfolge 10 mit einem Substrat 1 auf, auf dem eine Mehrzahl von funktionalen, epitaktisch aufgewachsenen Schichten 4 aufgebracht ist. Die funktionalen Schichten 4 weisen dabei jeweils eine Haupterstreckungsebene auf, die senkrecht zur Anordnungsrichtung der funktionalen Schichten ist. Die Halbleiterschichtenfolge 10 basiert im gezeigten Beispiel auf einem InGaAlN-Verbindungshalbleitermaterial wie oben im allgemeinen Teil beschrieben ist. Die funktionalen Schichten 4 sind als n- und p-dotierte Mantelschichten 41, 44 und Wellenleiterschichten 42, 43 sowie als aktive Schicht 40 mit einem aktiven Bereich 45 ausgebildet. Die aktive Schicht 40 kann beispielsweise als Mehrfach-Quantentopf-Struktur mit 1 bis 5 Quantenfilmen ausgebildet sein, die zwischen Barriereschichten angeordnet sind. Weiterhin können zusätzlich zu den gezeigten funktionalen Schichten noch weitere funktionale Schichten wie etwa eine oder mehrere Kontaktschichten und/oder Zwischenschichten vorhanden sein. The laser light source comprises a
Alternativ zum hier beschriebenen Nitrid-basierten Halbleitermaterial kann die Halbleiterschichtenfolge 10 beispielsweise auch Phosphid- und Arsenid-basierte Halbleitermaterialien aufweisen.As an alternative to the nitride-based semiconductor material described here, the
Das Substrat 1 kann ein Aufwachssubstrat sein, auf dem die funktionalen Schichten 4 epitaktisch aufgewachsen werden. Alternativ dazu kann die Halbleiterschichtenfolge 10 in Dünnfilm-Technologie herstellbar sein. Das bedeutet, dass die funktionalen Schichten 4 auf einem Aufwachssubstrat aufgewachsen und anschließen auf ein Trägersubstrat, das dann das Substrat 1 der Halbleiterschichtenfolge 10 bildet, übertragen wird. Je nach Aufwachstechnik können dabei die n-leitenden Schichten oder die p-leitenden Schichten der Halbleiterschichtenfolge 10 dem Substrat 1 zugewandt sein.The
Die elektrische Kontaktierung der Halbleiterschichtenfolge 10 erfolgt im gezeigten Beispiel über eine Elektrode 2 auf der den funktionellen Schichten 4 abgewandten Unterseite des Substrats 1 und über eine Elektrode 3 auf der dem Substrat 1 gegenüberliegenden Oberseite der Halbleiterschichtenfolge 10. Die Elektroden 2 und 3 können dabei jeweils eine oder mehrere Metallschichten, beispielsweise mit Ag, Au, Sn, Ti, Pt, Pd, Rh und/oder Ni, aufweisen.In the example shown, the electrical contacting of the
Alternativ zur elektrischen Kontaktierung durch das Substrat 1 hindurch kann der elektrische Kontakt 2 auch auf derselben Seite der Substrats 1 wie die funktionellen Schichten 4 und neben der aktiven Schicht 40 angeordnet sein. Diese Kontaktierungsart ist vor allem geeignet, um die funktionalen Schichten 4 auf der Substratseite elektrisch zu kontaktieren, wenn diese auf einem elektrisch nicht leitfähigen Substrat 1 angeordnet sind.As an alternative to electrical contacting through the
Weiterhin weist die Halbleiterschichtenfolge 10 eine Strahlungsauskoppelfläche 12 und eine dazu gegenüberliegenden als Rückseite ausgebildete Seitenfläche 13 auf, die jeweils eine zumindest teilweise reflektierende Beschichtung aufweisen (nicht gezeigt). Dadurch bilden die Strahlungsauskoppelfläche 12 und die rückseitige Seitenfläche 13 einen optischen Resonator. Die jeweilige zumindest teilweise reflektierende Beschichtung kann beispielsweise eine Bragg-Spiegel-Schichtenfolge und/oder reflektierende Metallschichten aufweisen oder daraus sein.Furthermore, the
Auf oder über Oberflächen der Halbleiterschichtenfolge 10 können weiterhin Passivierungsschichten zum Schutz der Halbleiterschichtenfolge aufgebracht sein (nicht gezeigt).Passivation layers for protecting the semiconductor layer sequence can also be applied on or over surfaces of the semiconductor layer sequence 10 (not shown).
Die auf der dem Substrat 1 angewandten Oberseite der aktiven Schicht 40 angeordnete Mantelschicht 44 ist im gezeigten Beispiel teilweise als Steg 11 aufgebildet und bildet eine so genannte Stegwellenleiterstruktur oder „Ridge“-Struktur wie im allgemeinen Teil beschrieben ist. Alternativ kann der Steg 11 auch als Teil weiterer funktionaler Schichten 4 ausgebildet sein. Der Steg 11 weist Stegseitenflächen 111, 112 auf, die entlang der Stegerstreckungsrichtung AA verlaufen und den Steg 11 in einer Richtung parallel zur Haupterstreckungsebene der funktionalen Schichten 4 und senkrecht zur Stegerstreckungsrichtung AA begrenzen. Die Stegwellenleiterstruktur mit dem Steg 11 wird nach dem Herstellen der Halbleiterschichtenfolge 10 durch Aufbringen der funktionalen Schicht 4 auf dem Substrat 1 mittels Ätzen hergestellt. Hierzu kann die Halbleiterschichtenfolge 10 beispielsweise auch eine als Ätzstoppschicht ausgebildete funktionale Schicht aufweisen. Die Steghöhe 110 entspricht somit der Ätztiefe beim Ausbilden des Stegs 11.The
Alternativ zur Herstellung des Stegs 11 mittels Ätzen kann dieser auch mittels selektivem Wachstum als Teil der Halbleiterschichtenfolge 10 aufgewachsen werden.As an alternative to producing the
Durch die Stegwellenleiterstruktur mit dem Steg 11 kann in der aktiven Schicht 40 die Ausbildung von Laserlicht ermöglicht werden, wohingegen unerwünschte weitere Lasermoden im Vergleich zu Steg-losen Laserlichtquellen zu einem gewissen Grad unterdrückt werden können. Insbesondere weist die aktive Schicht 40 den aktiven Bereich 45 auf, der unter anderem durch die Breite des Stegs 11 vorgegeben ist und im gezeigten Beispiel durch die schraffierte Fläche in der aktiven Schicht 40 angedeutet ist. Der aktive Bereich 45 erstreckt sich dabei über die gesamte Länge der aktiven Schicht 40 in dem durch die Strahlungsauskoppelfläche 12 und die rückseitige Seitenfläche 13 gebildeten Resonator. Im aktiven Bereich 45 kann die Halbleiterschichtenfolge 10 im Betrieb durch stimulierte Emission Laserlicht erzeugen, das über die Strahlungsauskoppelfläche 12 abgestrahlt werden kann.The ridge waveguide structure with
Neben der Stegerstreckungsrichtung AA sind für die Beschreibung der folgenden Beispiele weiterhin eine vertikale Schnittebene BB durch die Halbleiterschichtenfolge 10 sowie eine Blickrichtung CC als Aufsicht auf die Halbleiterschichtenfolge 10 und insbesondere die Stegwellenleiterstruktur mit dem Steg 11 angedeutet.In addition to the ridge extension direction AA, a vertical sectional plane BB through the
In den
Weiterhin ist es auch möglich, den Steg 11 als sogenannte vergrabene Heterostruktur („buried heterostructure“) auszubilden. Hierbei wird nach dem Ausbilden des Stegs dieser mit weiteren Halbleiterschichten epitaktisch überwachsen.Furthermore, it is also possible to form the
Die nachfolgenden Beispiele beschreiben erfindungsgemäße Varianten der in den
In den
In den
Insbesondere weisen die Stege 11 der Laserlichtquelle der Beispiele gemäß den
Die Modenfilterstrukturen 6 der Beispiele der
In den
Alternativ zu der jeweils in den Beispielen gezeigten Anzahl der Verdickungen 61 und/oder Einschnürungen 62 können auch mehr Verdickungen 61 und/oder Einschnürungen 62 vorhanden sein. Insbesondere können auch die gezeigten Formen der Verdickungen 61 und/oder Einschnürungen 62 der verschiedenen Beispiele miteinander kombiniert werden.As an alternative to the number of
Besonders bevorzugt ist die horizontale Stegbreite 113 jeweils an der schmalsten Stelle bevorzugt kleiner als die im allgemeinen Teil beschriebene Cut-Off-Stegbreite zur Erfüllung der Bedingung der Einmodigkeit. An anderen Stellen kann der Steg 11 jeweils auch breiter als die Cut-Off-Stegbreite sein.Particularly preferably, the
Je nach gewünschtem Abstrahlwinkel kann beziehungsweise können die zumindest eine Verdickung 61 und/oder die zumindest eine Einschnürung 62 nahe der Facetten, also nahe der Strahlungsauskoppelfläche 12 und/oder der der Strahlungsauskoppelfläche gegenüberliegenden rückseitigen Seitenfläche 13 und/oder eher im Inneren des Stegs 11 entlang der Stegerstreckungsrichtung AA angeordnet sein. Eine Verbreiterung 61 des Stegs 11 zu den Facetten hin, wie beispielsweise in den
Um die Prozessierbarkeit zu vereinfachen und die Reproduzierbarkeit von verschiedenen gleichartig ausgebildeten Laserlichtquellen zu erhöhen, ist es vorteilhaft, wenn die Kanten und damit die Seitenflächen des Stegs 11 im Facettenbereich bevorzugt zumindest annähernd parallel verlaufen, wie in den
In den
Wie in
Besonders bevorzugt sind die Stegseitenflächen im Bereich der Facetten 12, 13 senkrecht oder wenigstens annähernd senkrecht zu diesen ausgebildet. Dabei können, wie in den
In den
In den
Wie in
In den
Die Beispiele gemäß den
Flacher geätzte Bereiche, also Bereiche mit einer niedrigeren Steghöhe, können für eine schwächere Wellenführung sorgen, sodass höhere Moden stärkere Verluste erfahren und somit gedämpft werden oder gar nicht mehr geführt werden.Flatter etched areas, i.e. areas with a lower ridge height, can result in weaker waveguiding, so that higher modes experience greater losses and are thus attenuated or no longer guided at all.
Wie in den
Bei dem in
Um breitere laterale Fernfelder und damit ein geringeres Aspekt-Verhältnis zwischen vertikaler und horizontaler Mode zu erreichen, kann der Steg auch insbesondere im Facettenbereich 12, 13 eher tief geätzt sein. In diesem Fall können dann flacher geätzte Bereiche mit einer geringeren Steghöhe als Modenfilterstruktur 6 in der Mitte des durch die Facetten 12, 13, also die Strahlungsauskoppelfläche 12 und die der Strahlungsauskoppelfläche gegenüberliegende Seitenfläche 13, gebildeten Resonators (siehe
Um einen geringeren Fernfeldwinkel einzustellen und/oder um höhere Ausgangsleistungen zu ermöglichen, kann der Steg 11 im Facettenbereich, also insbesondere im Bereich der Strahlungsauskoppelfläche 12, flacher geätzt sein und damit eine geringere Steghöhe 110'' aufweisen, wie in
Durch die geringere Steghöhe weitet sich die optische Mode in diesem Bereich auf. Insbesondere für höhere Moden ergeben sich dadurch zusätzliche hohe Verluste.Due to the lower ridge height, the optical mode expands in this region. This results in additional high losses, especially for higher modes.
Wie in Verbindung mit den
Ein geringes Aspekt-Verhältnis des abgestrahlten Laserstrahls wird durch schmale Stege nahe der Strahlungsauskoppelfläche 12 sowie eine starke Wellenführung durch eine hohe Steghöhe begünstigt. Dies kann im Mittelbereich mit einer größeren Stegbreite kombiniert werden, die durch eine geringere Steghöhe, also eine flachere Ätztiefe, weniger stark indexgeführt wird, wie in
Insbesondere können beispielsweise die Laserlichtquellen der Beispiele der
Gemäß dem Beispiel in
Gemäß dem Beispiel in
Zusätzlich zu den unterschiedlichen Steghöhen 110, 110' auf den beiden Seiten des Stegs 11 können die Steghöhen auch entlang der Stegerstreckungsrichtung AA variieren. Weiterhin ist es auch möglich, dass beispielsweise wie in
In den bisher gezeigten Beispielen wird die Wellenführung durch einen Brechungsindexsprung zwischen dem Halbleitermaterial der Halbleiterschichtenfolge und der Umgebung, die beispielsweise durch Luft oder eine in den Beispielen nicht gezeigte homogene Passivierungsschicht gebildet wird, ermöglicht. Eine Variation des Brechungsindexsprungs wird dabei durch die variierende oder unterschiedliche Steghöhe erreicht. Wie in Verbindung mit den
Wie in
Im Beispiel gemäß der
Besonders vorteilhaft ist eine Kombination der Ausbildung verschiedener Steghöhen mit der Verwendung unterschiedlicher Passivierungsmaterialien und/oder unterschiedlicher absorbierender Materialien entlang des Stegs 11. Beim Steg 11 gemäß dem Beispiel der
Eine Kombination der Modenfilterstrukturen 6 der Beispiele gemäß den
In den
In beiden Verfahren wird gemäß den
Im Beispiel gemäß der
Im Beispiel gemäß der
Anschließend an die in den
Durch die Verbindung mit den
In den
Im Beispiel gemäß der
In Verbindung mit den
Während gemäß dem Beispiel in
In den
Im Beispiel der
Im Beispiel gemäß der
Weiterhin ist es auch möglich, dass die geschädigte Struktur 66 bis in die aktive Schicht 40 hineinragt, entweder von der Seite oberhalb der aktiven Schicht 40 oder auch von Bereichen unterhalb der aktiven Schicht 40. Weiterhin ist es auch möglich, dass geschädigte Strukturen 66 oberhalb und unterhalb sowie weiterhin auch zusätzlich in der aktiven Schicht 40 erzeugt werden. Furthermore, it is also possible for the damaged structure 66 to extend into the
Zusätzlich zu den in Verbindung mit den Beispielen der Figuren gezeigten Modenfilterstrukturen können neben oder im Stegbereich noch weitere Ätzstrukturen vorhanden sein, die beispielsweise zusätzliche absorbierende Materialien enthalten können, um höhere Moden noch stärker zu unterdrücken.In addition to the mode filter structures shown in connection with the examples in the figures, further etching structures may be present next to or in the web area, which may, for example, contain additional absorbing materials in order to suppress higher modes even more strongly.
In den
Zumindest einige der vorab beschriebenen Laserlichtquellen mit Modenfilterstrukturen 6 basieren darauf, dass höhere Moden größere Verluste erfahren als die Grundmode und dadurch gedämpft werden. Diese Verluste können beispielsweise Streuverluste sein. Das kann bedeuten, dass Streulicht in den wellenleitenden Schichten der Halbleiterschichtenfolge 10 neben dem Steg 11 geführt wird und schließlich an der Strahlungsauskoppelfläche 12 austritt, was zu Störungen im Fernfeld führt. Die Modenfilterstrukturen 6 gemäß den Beispielen in den
Diese Streulichtfilterstruktur 67 kann sich, wie in den
Die Streulichtfilterstruktur 67 kann beispielsweise eine Vertiefung, beispielsweise einen Ätzgraben, aufweisen oder sein, wie in
Die Streulichtfilterstrukturen 67 weisen einen Abstand 114 von 0 µm bis 20 µm, bevorzugt von 0 µm bis 6 µm und besonders bevorzugt von 1 µm bis 3pm vom Steg 11 auf. Die Länge 115 der Streulichtfilterstruktur 67 beträgt zwischen 0,1 µm und 500 µm, bevorzugt zwischen 1 µm und 100 µm und besonders bevorzugt zwischen 3 µm und 30 µm, wobei die Grenzen jeweils eingeschlossen sind. Die Streulichtfilterstrukturen 67 sind zumindest auf einer Seite, bevorzugt aber auf beiden Seiten des Stegs 11 angeordnet und verschiedene Formen haben, von denen einige rein beispielhaft in den
Die in den einzelnen Figuren gezeigten und Beispiele für Laserlichtquellen mit Modenfilterstrukturen können insbesondere auch miteinander kombiniert werden. Besonders bevorzugte Kombinationen von Modenfilterstrukturen können eine unterschiedliche Stegbreite, also eine variierende horizontale und/oder vertikale Stegbreite, in Kombination mit einer variierenden Steghöhe und/oder in Kombination mit einer variierenden Passivierung entlang des Stegs und/oder eine Kombination der letztgenannten beiden Merkmale sein. Weiterhin kann besonders vorteilhaft eine Kombination zumindest eines der genannten Merkmale für die Modenfilterstruktur mit einer gekrümmten Stegerstreckungsrichtung sein. Die genannten Merkmale, also insbesondere zumindest eines oder mehrere der genannten Merkmale für die Modenfilterstruktur, können auch besonders vorteilhaft in Kombination mit oxidierten Teilbereichen zumindest einer Stegseitenfläche und/oder mit in die an den Steg angrenzende funktionale Schicht eingebrachten Materialien und/oder mit geschädigten Bereichen zumindest einer funktionalen Schicht sein. Durch die Kombinationen der verschiedenen Ausführungsbeispiele und Beispiele und Merkmale der Modenfilterstruktur können die Vorteile der einzelnen Varianten miteinander kombiniert werden, während Nachteile, die die einzelnen Varianten haben können, durch eben solche Kombinationen und andere zusätzliche Merkmale der Modenfilterstruktur kompensiert werden können.The examples of laser light sources with mode filter structures shown in the individual figures can, in particular, also be combined with one another. Particularly preferred combinations of mode filter structures can be a different ridge width, i.e., a varying horizontal and/or vertical ridge width, in combination with a varying ridge height and/or in combination with a varying passivation along the ridge and/or a combination of the latter two features. Furthermore, a combination of at least one of the mentioned features for the mode filter structure with a curved ridge extension direction can be particularly advantageous. The mentioned features, i.e., in particular, at least one or more of the mentioned features for the mode filter structure, can also be particularly advantageous in combination with oxidized partial regions of at least one ridge side surface and/or with materials introduced into the functional layer adjacent to the ridge and/or with damaged regions of at least one functional layer. By combining the various embodiments, examples, and features of the mode filter structure, the advantages of the individual variants can be combined with one another, while disadvantages that the individual variants may have can be eliminated by such combinations. and other additional features of the mode filter structure can be compensated.
Dadurch kann es möglich sein, dass durch die unterschiedlichen Designs und technologischen Realisierungsmöglichkeiten der Modenfilterstruktur die Ausgangsleistung im optischen Monomoden-Betrieb gesteigert werden kann, ohne dass andere Laserparameter in unerwünschter Weise beeinträchtigt würden.This may make it possible for the output power in optical single-mode operation to be increased by the different designs and technological implementation options of the mode filter structure without adversely affecting other laser parameters.
Claims (11)
Priority Applications (1)
| Application Number | Priority Date | Filing Date | Title |
|---|---|---|---|
| DE102011123129.7A DE102011123129B4 (en) | 2011-05-02 | 2011-05-02 | Laser light source with mode filter structure |
Applications Claiming Priority (1)
| Application Number | Priority Date | Filing Date | Title |
|---|---|---|---|
| DE102011123129.7A DE102011123129B4 (en) | 2011-05-02 | 2011-05-02 | Laser light source with mode filter structure |
Publications (1)
| Publication Number | Publication Date |
|---|---|
| DE102011123129B4 true DE102011123129B4 (en) | 2025-04-30 |
Family
ID=95342604
Family Applications (1)
| Application Number | Title | Priority Date | Filing Date |
|---|---|---|---|
| DE102011123129.7A Active DE102011123129B4 (en) | 2011-05-02 | 2011-05-02 | Laser light source with mode filter structure |
Country Status (1)
| Country | Link |
|---|---|
| DE (1) | DE102011123129B4 (en) |
Citations (12)
| Publication number | Priority date | Publication date | Assignee | Title |
|---|---|---|---|---|
| US5070510A (en) * | 1989-12-12 | 1991-12-03 | Sharp Kabushiki Kaisha | Semiconductor laser device |
| DE19963807A1 (en) * | 1999-12-30 | 2001-07-19 | Osram Opto Semiconductors Gmbh | Strip laser diode element |
| US20030219053A1 (en) * | 2002-05-21 | 2003-11-27 | The Board Of Trustees Of The University Of Illinois | Index guided laser structure |
| JP2004179350A (en) * | 2002-11-26 | 2004-06-24 | Nichia Chem Ind Ltd | Nitride semiconductor laser device and method of manufacturing the same |
| JP2005183821A (en) * | 2003-12-22 | 2005-07-07 | Sony Corp | Semiconductor light emitting device |
| US20060011946A1 (en) * | 2002-03-01 | 2006-01-19 | Tadao Toda | Nitride semiconductor laser element |
| US20060193353A1 (en) * | 2005-02-28 | 2006-08-31 | Samsung Electro-Mechanics Co., Ltd. | High power single mode semiconductor laser device and fabrication method thereof |
| US20070258495A1 (en) * | 2004-08-13 | 2007-11-08 | Nec Corporation | Semiconductor Laser Diode, Semiconductor Optical Amplifier, and Optical Communication Device |
| DE102006046297A1 (en) * | 2006-09-29 | 2008-04-03 | Osram Opto Semiconductors Gmbh | Semiconductor laser |
| US20080273564A1 (en) * | 2004-09-14 | 2008-11-06 | You Wang | Semiconductor Laser Element and Semiconductor Laser Element Array |
| DE102008012859A1 (en) * | 2007-12-21 | 2009-11-19 | Osram Opto Semiconductors Gmbh | Laser light source and method for producing a laser light source |
| CN101710670A (en) * | 2009-05-15 | 2010-05-19 | 长春理工大学 | 808 nm emission wavelength tapered semiconductor laser respectively driven and provided with optical feedback restriction structures |
-
2011
- 2011-05-02 DE DE102011123129.7A patent/DE102011123129B4/en active Active
Patent Citations (12)
| Publication number | Priority date | Publication date | Assignee | Title |
|---|---|---|---|---|
| US5070510A (en) * | 1989-12-12 | 1991-12-03 | Sharp Kabushiki Kaisha | Semiconductor laser device |
| DE19963807A1 (en) * | 1999-12-30 | 2001-07-19 | Osram Opto Semiconductors Gmbh | Strip laser diode element |
| US20060011946A1 (en) * | 2002-03-01 | 2006-01-19 | Tadao Toda | Nitride semiconductor laser element |
| US20030219053A1 (en) * | 2002-05-21 | 2003-11-27 | The Board Of Trustees Of The University Of Illinois | Index guided laser structure |
| JP2004179350A (en) * | 2002-11-26 | 2004-06-24 | Nichia Chem Ind Ltd | Nitride semiconductor laser device and method of manufacturing the same |
| JP2005183821A (en) * | 2003-12-22 | 2005-07-07 | Sony Corp | Semiconductor light emitting device |
| US20070258495A1 (en) * | 2004-08-13 | 2007-11-08 | Nec Corporation | Semiconductor Laser Diode, Semiconductor Optical Amplifier, and Optical Communication Device |
| US20080273564A1 (en) * | 2004-09-14 | 2008-11-06 | You Wang | Semiconductor Laser Element and Semiconductor Laser Element Array |
| US20060193353A1 (en) * | 2005-02-28 | 2006-08-31 | Samsung Electro-Mechanics Co., Ltd. | High power single mode semiconductor laser device and fabrication method thereof |
| DE102006046297A1 (en) * | 2006-09-29 | 2008-04-03 | Osram Opto Semiconductors Gmbh | Semiconductor laser |
| DE102008012859A1 (en) * | 2007-12-21 | 2009-11-19 | Osram Opto Semiconductors Gmbh | Laser light source and method for producing a laser light source |
| CN101710670A (en) * | 2009-05-15 | 2010-05-19 | 长春理工大学 | 808 nm emission wavelength tapered semiconductor laser respectively driven and provided with optical feedback restriction structures |
Similar Documents
| Publication | Publication Date | Title |
|---|---|---|
| DE102011100175B4 (en) | Laser light source with a ridge waveguide structure and a mode filter structure | |
| EP2564478B1 (en) | Laser light source | |
| EP2347482B1 (en) | Edge-emitting semiconductor laser chip | |
| DE112017003576B4 (en) | Semiconductor laser diode with a trench structure | |
| DE102009019996B4 (en) | DFB laser diode with lateral coupling for high output power | |
| EP2220733B1 (en) | Laser light source | |
| DE102016125857B4 (en) | semiconductor laser diode | |
| DE60014969T2 (en) | SEMICONDUCTOR LASER DEVICE WITH A DIVERGING REGION | |
| DE102010046793B4 (en) | Edge-emitting semiconductor laser diode and method for its manufacture | |
| DE102011111604B4 (en) | Radiation-emitting semiconductor component | |
| EP2218153B1 (en) | Method for producing a radiation-emitting component and radiation-emitting component | |
| DE102013215052B4 (en) | Semiconductor laser device | |
| DE102009039248B4 (en) | Edge-emitting semiconductor laser | |
| DE102012103549B4 (en) | Semiconductor laser light source with an edge-emitting semiconductor body and light-scattering partial area | |
| EP2494665B1 (en) | Edge emitting semiconductor laser | |
| EP2523279B1 (en) | Wide stripe diode laser with high efficiency and low far-field divergence | |
| DE102009035639B4 (en) | Broad strip laser with an epitaxial layer stack and method for its production | |
| DE60311844T2 (en) | HIGH PERFORMANCE SEMICONDUCTOR LASER DIODE AND METHOD FOR PRODUCING SUCH A DIODE | |
| DE112019004669B4 (en) | Gain-guided semiconductor laser and manufacturing method therefor | |
| DE102016122147B4 (en) | semiconductor laser | |
| DE102012110613A1 (en) | Optoelectronic semiconductor component e.g. superluminescent LED laser light source for Pico projection application, has recess that is formed in main surface transversely to radiation direction side of bar-shaped structure | |
| DE102013223499B4 (en) | Wide-band laser and method for producing a wide-band laser | |
| DE102011123129B4 (en) | Laser light source with mode filter structure | |
| WO2020156775A1 (en) | Device for generating a laser beam | |
| DE102022133047A1 (en) | EDGE-EMITTING SEMICONDUCTOR LASER, METHOD FOR PRODUCING A PLURALITY OF EDGE-EMITTING SEMICONDUCTOR LASERS, LASER COMPONENT AND METHOD FOR PRODUCING A LASER COMPONENT |
Legal Events
| Date | Code | Title | Description |
|---|---|---|---|
| R129 | Divisional application from |
Ref document number: 102011100175 Country of ref document: DE |
|
| R012 | Request for examination validly filed | ||
| R016 | Response to examination communication | ||
| R016 | Response to examination communication | ||
| R016 | Response to examination communication | ||
| R018 | Grant decision by examination section/examining division |
