DE102010041695A1 - In-the-ear (ITE) hearing instrument e.g. low ear channel hearing instrument of ear piece, has recordable receiver manufactured by deep-drawing that is provided with collar - Google Patents
In-the-ear (ITE) hearing instrument e.g. low ear channel hearing instrument of ear piece, has recordable receiver manufactured by deep-drawing that is provided with collar Download PDFInfo
- Publication number
- DE102010041695A1 DE102010041695A1 DE102010041695A DE102010041695A DE102010041695A1 DE 102010041695 A1 DE102010041695 A1 DE 102010041695A1 DE 102010041695 A DE102010041695 A DE 102010041695A DE 102010041695 A DE102010041695 A DE 102010041695A DE 102010041695 A1 DE102010041695 A1 DE 102010041695A1
- Authority
- DE
- Germany
- Prior art keywords
- receiver
- hearing instrument
- ear
- receptacle
- housing
- Prior art date
- Legal status (The legal status is an assumption and is not a legal conclusion. Google has not performed a legal analysis and makes no representation as to the accuracy of the status listed.)
- Ceased
Links
- 238000004519 manufacturing process Methods 0.000 claims abstract description 17
- 239000000463 material Substances 0.000 claims abstract description 17
- 230000005670 electromagnetic radiation Effects 0.000 claims abstract description 8
- 239000007769 metal material Substances 0.000 claims description 7
- 210000000613 ear canal Anatomy 0.000 abstract description 28
- 238000009434 installation Methods 0.000 abstract description 6
- 238000003856 thermoforming Methods 0.000 abstract description 6
- 238000012423 maintenance Methods 0.000 abstract description 5
- 238000012545 processing Methods 0.000 description 7
- 208000009205 Tinnitus Diseases 0.000 description 6
- 238000011161 development Methods 0.000 description 5
- 230000018109 developmental process Effects 0.000 description 5
- 231100000886 tinnitus Toxicity 0.000 description 5
- 238000013016 damping Methods 0.000 description 4
- 238000003780 insertion Methods 0.000 description 4
- 230000037431 insertion Effects 0.000 description 4
- 210000003454 tympanic membrane Anatomy 0.000 description 4
- 208000016354 hearing loss disease Diseases 0.000 description 3
- 229920001296 polysiloxane Polymers 0.000 description 3
- RYGMFSIKBFXOCR-UHFFFAOYSA-N Copper Chemical compound [Cu] RYGMFSIKBFXOCR-UHFFFAOYSA-N 0.000 description 2
- 210000000988 bone and bone Anatomy 0.000 description 2
- 210000002939 cerumen Anatomy 0.000 description 2
- 229910052802 copper Inorganic materials 0.000 description 2
- 239000010949 copper Substances 0.000 description 2
- 230000001419 dependent effect Effects 0.000 description 2
- 230000008447 perception Effects 0.000 description 2
- 239000004033 plastic Substances 0.000 description 2
- 229920003023 plastic Polymers 0.000 description 2
- 206010011878 Deafness Diseases 0.000 description 1
- 208000032041 Hearing impaired Diseases 0.000 description 1
- 101100460844 Mus musculus Nr2f6 gene Proteins 0.000 description 1
- 230000003321 amplification Effects 0.000 description 1
- 239000004020 conductor Substances 0.000 description 1
- 238000010276 construction Methods 0.000 description 1
- 239000002537 cosmetic Substances 0.000 description 1
- 231100000895 deafness Toxicity 0.000 description 1
- 210000000883 ear external Anatomy 0.000 description 1
- 210000001162 elastic cartilage Anatomy 0.000 description 1
- 230000006698 induction Effects 0.000 description 1
- 239000002184 metal Substances 0.000 description 1
- 229910052751 metal Inorganic materials 0.000 description 1
- 150000002739 metals Chemical class 0.000 description 1
- 229910000595 mu-metal Inorganic materials 0.000 description 1
- 238000003199 nucleic acid amplification method Methods 0.000 description 1
- 239000007779 soft material Substances 0.000 description 1
- 210000003582 temporal bone Anatomy 0.000 description 1
- 238000002560 therapeutic procedure Methods 0.000 description 1
- 229920001169 thermoplastic Polymers 0.000 description 1
- 239000004416 thermosoftening plastic Substances 0.000 description 1
Images
Classifications
-
- H—ELECTRICITY
- H04—ELECTRIC COMMUNICATION TECHNIQUE
- H04R—LOUDSPEAKERS, MICROPHONES, GRAMOPHONE PICK-UPS OR LIKE ACOUSTIC ELECTROMECHANICAL TRANSDUCERS; DEAF-AID SETS; PUBLIC ADDRESS SYSTEMS
- H04R25/00—Deaf-aid sets, i.e. electro-acoustic or electro-mechanical hearing aids; Electric tinnitus maskers providing an auditory perception
- H04R25/65—Housing parts, e.g. shells, tips or moulds, or their manufacture
- H04R25/658—Manufacture of housing parts
-
- H—ELECTRICITY
- H04—ELECTRIC COMMUNICATION TECHNIQUE
- H04R—LOUDSPEAKERS, MICROPHONES, GRAMOPHONE PICK-UPS OR LIKE ACOUSTIC ELECTROMECHANICAL TRANSDUCERS; DEAF-AID SETS; PUBLIC ADDRESS SYSTEMS
- H04R2225/00—Details of deaf aids covered by H04R25/00, not provided for in any of its subgroups
- H04R2225/025—In the ear hearing aids [ITE] hearing aids
-
- H—ELECTRICITY
- H04—ELECTRIC COMMUNICATION TECHNIQUE
- H04R—LOUDSPEAKERS, MICROPHONES, GRAMOPHONE PICK-UPS OR LIKE ACOUSTIC ELECTROMECHANICAL TRANSDUCERS; DEAF-AID SETS; PUBLIC ADDRESS SYSTEMS
- H04R2225/00—Details of deaf aids covered by H04R25/00, not provided for in any of its subgroups
- H04R2225/49—Reducing the effects of electromagnetic noise on the functioning of hearing aids, by, e.g. shielding, signal processing adaptation, selective (de)activation of electronic parts in hearing aid
-
- H—ELECTRICITY
- H04—ELECTRIC COMMUNICATION TECHNIQUE
- H04R—LOUDSPEAKERS, MICROPHONES, GRAMOPHONE PICK-UPS OR LIKE ACOUSTIC ELECTROMECHANICAL TRANSDUCERS; DEAF-AID SETS; PUBLIC ADDRESS SYSTEMS
- H04R2460/00—Details of hearing devices, i.e. of ear- or headphones covered by H04R1/10 or H04R5/033 but not provided for in any of their subgroups, or of hearing aids covered by H04R25/00 but not provided for in any of its subgroups
- H04R2460/17—Hearing device specific tools used for storing or handling hearing devices or parts thereof, e.g. placement in the ear, replacement of cerumen barriers, repair, cleaning hearing devices
-
- H—ELECTRICITY
- H04—ELECTRIC COMMUNICATION TECHNIQUE
- H04R—LOUDSPEAKERS, MICROPHONES, GRAMOPHONE PICK-UPS OR LIKE ACOUSTIC ELECTROMECHANICAL TRANSDUCERS; DEAF-AID SETS; PUBLIC ADDRESS SYSTEMS
- H04R25/00—Deaf-aid sets, i.e. electro-acoustic or electro-mechanical hearing aids; Electric tinnitus maskers providing an auditory perception
- H04R25/60—Mounting or interconnection of hearing aid parts, e.g. inside tips, housings or to ossicles
- H04R25/604—Mounting or interconnection of hearing aid parts, e.g. inside tips, housings or to ossicles of acoustic or vibrational transducers
-
- H—ELECTRICITY
- H04—ELECTRIC COMMUNICATION TECHNIQUE
- H04R—LOUDSPEAKERS, MICROPHONES, GRAMOPHONE PICK-UPS OR LIKE ACOUSTIC ELECTROMECHANICAL TRANSDUCERS; DEAF-AID SETS; PUBLIC ADDRESS SYSTEMS
- H04R25/00—Deaf-aid sets, i.e. electro-acoustic or electro-mechanical hearing aids; Electric tinnitus maskers providing an auditory perception
- H04R25/75—Electric tinnitus maskers providing an auditory perception
Landscapes
- Engineering & Computer Science (AREA)
- Manufacturing & Machinery (AREA)
- Health & Medical Sciences (AREA)
- General Health & Medical Sciences (AREA)
- Neurosurgery (AREA)
- Otolaryngology (AREA)
- Physics & Mathematics (AREA)
- Acoustics & Sound (AREA)
- Signal Processing (AREA)
- Headphones And Earphones (AREA)
Abstract
Die Erfindung betrifft ein Im-Ohr-Hörinstrument zum Tragen im Ohrkanal eines Benutzers, beispielsweise ein ITE Hörinstrument, ein CIC Hörinstrument, insbesondere ein Tief-Ohrkanal-Hörinstrument Deep Fit), sowie ein ein Ohrstück zum Tragen im Ohrkanal und außerdem ein Herstellungsverfahren zum Herstellen eines solchen Im-Ohr-Hörinstruments bzw. Ohrstücks. Das Hörinstrument 71) bzw. das 9. Ohrstück 32, 52) umfasst ein Gehäuse 72) und eine Receiveraufnahme 4, 61, 81), in die ein Receiver 37, 57, 77) einsetzbar ist, wobei die Receiveraufnahme 4, 61, 81) durch Tiefziehen gefertigt ist. Das Herstellungsverfahren umfasst die folgenden Schritte a) Herstellen eines Gehäuses 72), b) Tiefziehen einer Receiveraufnahme 4, 61, 81), c) Montieren der Receiveraufnahme 4, 61, 81) in das Gehäuse 72) und d) Einsetzen eines Receivers 37, 57, 77) in die Receiveraufnahme 4, 61, 81). Vorteilhafterweise ist Tiefziehen ein unaufwändiger Fertigungsprozess. Weiter vorteilhafterweise weisen Tiefziehteile je nach verwendetem Werkstoff geringe Materialstärken und damit auch geringe Abmessungen auf. Weiter vorteilhafterweise ermöglicht die eigens vorgesehene Receiveraufnahme eine unaufwändige Montage bzw. Wartung durch leichtes einsetzen oder entnehmen eines Receivers aus der Receiveraufnahme. Eine weitere vorteilhafte Weiterbildung sieht vor, dass die Receiveraufnahme aus einem elektromagnetische Strahlung dämpfenden oder abschirmenden Werkstoff gefertigt ist.The invention relates to an in-ear hearing instrument for wearing in the ear canal of a user, for example an ITE hearing instrument, a CIC hearing instrument, in particular a deep-ear canal hearing instrument deep fit), as well as an earpiece for wearing in the ear canal and also a manufacturing method for manufacturing of such an in-ear hearing instrument or earpiece. The hearing instrument 71) or the 9th ear piece 32, 52) comprises a housing 72) and a receiver receiver 4, 61, 81), into which a receiver 37, 57, 77) can be inserted, the receiver receiver 4, 61, 81 ) is made by deep drawing. The manufacturing method comprises the following steps: a) producing a housing 72), b) deep-drawing a receiver receptacle 4, 61, 81), c) mounting the receiver receptacle 4, 61, 81) into the housing 72) and d) inserting a receiver 37, 57, 77) in the receiver receptacle 4, 61, 81). Advantageously, thermoforming is an inexpensive production process. Further advantageously, thermoformed parts, depending on the material used low material thicknesses and thus also small dimensions. Further advantageously, the specially provided receiver receptacle allows an unobtrusive installation or maintenance by easily inserting or removing a receiver from the receiver receptacle. A further advantageous embodiment provides that the receiver receptacle is made of a material that attenuates or shields electromagnetic radiation.
Description
Die Erfindung betrifft ein Im-Ohr-Hörinstrument zum Tragen im Ohrkanal eines Benutzers, beispielsweise ein In-dem-Ohr Hörinstrument (IDO, auch In-the-Ear oder ITE) oder ein CIC Hörinstrument (Completely-In-Canal), insbesondere ein Tief-Ohrkanal-Hörinstrument (Deep Fit), zum Tragen tief im Ohrkanal eines Benutzers. Die Erfindung betrifft weiter ein Ohrstück zum Tragen im Ohrkanal eines Benutzers. Die Erfindung betrifft außerdem ein Herstellungsverfahren zum Herstellen eines solchen Im-Ohr-Hörinstruments bzw. Ohrstücks.The invention relates to an in-ear hearing instrument for wearing in the ear canal of a user, for example an in-the-ear hearing instrument (IDO, also in-the-ear or ITE) or a CIC hearing instrument (Completely-In-Canal), in particular Deep-ear canal hearing aid (deep-fit), for carrying deep in the ear canal of a user. The invention further relates to an earpiece for wearing in the ear canal of a user. The invention also relates to a manufacturing method for producing such an in-ear hearing instrument or earpiece.
Hörinstrumente können beispielsweise als Hörgeräte ausgeführt sein. Ein Hörgerät dient der Versorgung einer hörgeschädigten Person mit akustischen Umgebungssignalen, die zur Kompensation bzw. Therapie der jeweiligen Hörschädigung verarbeitet und verstärkt sind. Es besteht prinzipiell aus einem oder mehreren Eingangswandlern, aus einer Signalverarbeitungseinrichtung, einer Verstärkungseinrichtung, und aus einem Ausgangswandler. Der Eingangswandler ist in der Regel ein Schallempfänger, z. B. ein Mikrofon, und/oder ein elektromagnetischer Empfänger, z. B. eine Induktionsspule. Der Ausgangssignalerzeuger ist in der Regel als elektroakustischer Wandler, z. B. Miniaturlautsprecher, oder als elektromechanischer Wandler, z. B. Knochenleitungshörer, realisiert. Er wird auch als Hörer oder Receiver bezeichnet. Der Ausgangssignalerzeuger erzeugt Ausgangssignale, die zum Gehör des Patienten geleitet werden und beim Patienten eine Hörwahrnehmung erzeugen sollen. Der Verstärker ist in der Regel in die Signalverarbeitungseinrichtung integriert. Die Stromversorgung des Hörgeräts erfolgt durch eine ins Hörgerätegehäuse integrierte Batterie. Die wesentlichen Komponenten eines Hörgeräts sind in der Regel auf einer gedruckten Leiterplatine als Schaltungsträger angeordnet bzw. damit verbunden.Hearing instruments can be designed for example as hearing aids. A hearing aid is used to supply a hearing-impaired person with acoustic ambient signals that are processed and amplified for compensation or therapy of the respective hearing impairment. It consists in principle of one or more input transducers, of a signal processing device, of an amplification device, and of an output transducer. The input transducer is usually a sound receiver, z. As a microphone, and / or an electromagnetic receiver, for. B. an induction coil. The output signal generator is usually as an electroacoustic transducer, z. As miniature speaker, or as an electromechanical transducer, z. B. bone conduction, realized. He is also referred to as a handset or receiver. The output signal generator generates output signals that are routed to the patient's ear and are intended to produce a hearing perception in the patient. The amplifier is usually integrated in the signal processing device. The hearing aid is powered by a battery integrated into the hearing aid housing. The essential components of a hearing aid are usually arranged on a printed circuit board as a circuit carrier or connected thereto.
Hörinstrumente können weiter auch als Hörgeräte, welche der Kompensation eines geschwächten Hörvermögens, üblicherweise als Schwerhörigkeit bezeichnet, dienen, können Hörinstrumente auch als sogenannte Tinnitus-Masker ausgeführt sein. Tinnitus-Masker werden zu Therapie von Tinnitus-Patienten eingesetzt. Sie erzeugen von der jeweiligen Hörbeeinträchtigung und je nach Wirkprinzip auch von Umgebungsgeräuschen abhängige akustische Ausgangssignale, die zur Verringerung der Wahrnehmung störender Tinnitus- oder sonstiger Ohrgeräusche beitragen können.Hearing instruments can also be used as hearing aids, which are the compensation of a weakened hearing, commonly referred to as deafness, hearing aids can also be designed as a so-called tinnitus masker. Tinnitus maskers are used to treat tinnitus patients. They produce from the respective hearing impairment and depending on the principle of action also dependent on ambient noise acoustic output signals that can contribute to reducing the perception of annoying tinnitus or other ear noises.
Im folgenden sollen unter dem Begriff Hörinstrument sowohl Hörgeräte, als auch Tinnitus-Masker, als auch sonstige derartige Geräte verstanden werden.In the following, the term hearing instrument is understood to mean both hearing aids and tinnitus maskers, as well as other such devices.
Hörgeräte sind in verschiedenen grundlegenden Gehäuse-Konfigurationen bekannt. Bei IDO-Hörgeräten (In-dem-Ohr, auch ITE oder In-the-Ear) wird ein Gehäuse, das sämtliche funktionalen Komponenten einschließlich Mikrophon und Receiver enthält, größtenteils im Gehörgang getragen. CIC-Hörgeräte (Completely-in-Canal) sind den IDO-Hörgeräten ähnlich, werden jedoch vollständig im Gehörgang getragen. Bei HDO-Hörgeräten (Hinter-dem-Ohr, auch BTE oder Behind-the-Ear) wird ein Gehäuse mit Komponenten wie Batterie und Signalverarbeitungseinrichtung hinter dem Ohr getragen und ein flexibler Schallschlauch, auch als Tube bezeichnet, leitet die akustischen Ausgangssignale eines Receivers vom Gehäuse zum Gehörgang, wo häufig ein Ohrstück zur zuverlässigen Positionierung vorgesehen ist. RIC-BTE-Hörgeräte (Receiver-in-Canal Behind-the-Ear) gleichen den HDO-Hörgeräten, jedoch wird der Receiver im Gehörgang getragen und statt eines Schallschlauchs leitet ein flexibler Hörerschlauch elektrische Signale anstelle akustischer Signale zum Receiver, welcher vorne am Hörerschlauch angebracht ist, meist in einem der zuverlässigen Positionierung dienenden Ohrstück. Allen Gehäuse-Konfigurationen ist gemein, dass möglichst kleine Gehäuse angestrebt werden, um den Tragekomfort zu erhöhen und die Sichtbarkeit des Hörgeräts aus kosmetischen Gründen zu reduzieren.Hearing aids are known in various basic housing configurations. For IDO hearing aids (in-the-ear, including ITE or in-the-ear), a case containing all the functional components, including the microphone and receiver, is mostly worn in the ear canal. Completely-in-Canal (CIC) hearing aids are similar to IDO hearing aids, but are worn fully in the ear canal. In HDO hearing aids (behind-the-ear, also BTE or behind-the-ear), a housing with components such as battery and signal processing device is worn behind the ear and a flexible sound tube, also referred to as tube, directs the acoustic output signals of a receiver from Housing to the ear canal, where often an ear piece is provided for reliable positioning. RIC-BTE hearing aids (receiver-in-canal behind-the-ear) are similar to HDO hearing aids, but the receiver is carried in the ear canal and instead of a sound tube, a flexible earpiece tube conducts electrical signals instead of acoustic signals to the receiver, which is on the front of the earpiece attached, usually in a reliable positioning ear piece. All housing configurations have in common is that as small a housing as possible be sought in order to increase the comfort and to reduce the visibility of the hearing aid for cosmetic reasons.
Tief-Ohrkanal-Hörgeräte gleichen den CIC-Hörgeräten. Während CIC-Hörgeräte jedoch in der Regel im außenliegenden Teil des äußeren Gehörgangs getragen werden, werden Tief-Ohrkanal-Hörgeräte weiter zum Trommelfell hin vorgeschoben und mindestens teilweise im innenliegenden Teil des äußeren Gehörgangs getragen. Der äußere Gehörgang ist ein mit Haut ausgekleideter Kanal und verbindet die Ohrmuschel mit dem Trommelfell. Im äußeren, distalen Teil des Gehörgangs, der sich direkt an die Ohrmuschel anschließt, ist dieser Kanal aus elastischem Knorpel gebildet. Im inneren, proximalen Teil wird der Kanal vom Schläfenbein gebildet und besteht somit aus Knochen. Der knorpelige und der knöcherne Teil des Gehörgangs sind gegeneinander etwas abgeknickt, so dass sie einen von Person zu Person unterschiedlichen Winkel einschließen. Insbesondere der knöcherne Teil des Gehörgangs ist verhältnismäßig empfindlich gegen Druck und Berührungen. Tief-Ohrkanal-Hörgeräte werden zumindest teilweise im empfindlichen knöchernen Teil des Gehörgangs getragen. Beim Vorschieben in den knöchernen Teil des Gehörgangs müssen sie außerdem den erwähnten Knick passieren, was je nach Winkel des Knicks schwierig sein kann. Zudem können kleine Durchmesser und gewundene Formen des Gehörgangs das Vorschieben weiter erschweren.Deep-ear canal hearing aids are similar to the CIC hearing aids. However, while CIC hearing aids are typically worn in the outer portion of the external ear canal, deep ear canal hearing aids are advanced further toward the eardrum and at least partially supported in the inward portion of the external ear canal. The outer ear canal is a skin-lined canal connecting the pinna to the eardrum. In the outer, distal part of the ear canal, which connects directly to the auricle, this channel is formed of elastic cartilage. In the inner, proximal part of the channel is formed by the temporal bone and thus consists of bone. The cartilaginous and bony parts of the ear canal are slightly bent towards each other so that they enclose a different angle from person to person. In particular, the bony part of the ear canal is relatively sensitive to pressure and contact. Deep-ear canal hearing aids are at least partially worn in the delicate bony part of the ear canal. When advancing into the bony part of the ear canal, they must also pass the mentioned kink, which can be difficult depending on the angle of the kink. In addition, small diameter and tortuous shapes of the ear canal can further complicate advancement.
Die Aufgabe der Erfindung besteht darin, ein Im-Ohr-Hörinstrument sowie ein Ohrstück anzugeben, dass unaufwändig in Herstellung und Wartung ist und kleine Abmessungen aufweist.The object of the invention is an in-ear hearing instrument and an ear piece indicate that it is inexpensive to manufacture and maintain and has small dimensions.
Die Erfindung löst diese Aufgabe durch ein Hörinstrument sowie durch ein Ohrstück und durch ein Herstellungsverfahren mit den Merkmalen der unabhängigen Patentansprüche.The invention solves this problem by a hearing instrument and by an ear piece and by a manufacturing method with the features of the independent claims.
Ein Grundgedanke der Erfindung besteht in einem Hörinstrument zum Tragen im Ohr, umfassend ein Gehäuse und eine Receiveraufnahme, in die ein Receiver einsetzbar ist, wobei die Receiveraufnahme durch Tiefziehen gefertigt ist. Vorteilhafterweise ist Tiefziehen ein unaufwändiger Fertigungsprozess.A basic idea of the invention consists in a hearing instrument for wearing in the ear, comprising a housing and a receiver receptacle into which a receiver can be inserted, wherein the receiver receptacle is manufactured by deep drawing. Advantageously, thermoforming is an inexpensive production process.
Weiter vorteilhafterweise weisen Tiefziehteile je nach verwendetem Werkstoff geringe Materialstärken und damit auch geringe Abmessungen auf. Weiter vorteilhafterweise ermöglicht die eigens vorgesehene Receiveraufnahme eine unaufwändige Montage bzw. Wartung durch leichtes einsetzen oder entnehmen eines Receivers aus der Receiveraufnahme.Further advantageously, thermoformed parts, depending on the material used low material thicknesses and thus also small dimensions. Further advantageously, the specially provided receiver receptacle allows an unobtrusive installation or maintenance by easily inserting or removing a receiver from the receiver receptacle.
Eine vorteilhafte Weiterbildung sieht vor, dass das Gehäuse des Hörinstruments eine Öffnung aufweist, durch die die Receiveraufnahme teilweise hindurchgeführt ist. Dadurch ergibt sich eine unaufwändige Montage der Receiveraufnahme im Gehäuse.An advantageous development provides that the housing of the hearing instrument has an opening through which the receiver receptacle is partially passed. This results in an unobtrusive mounting of the receiver receptacle in the housing.
Eine weitere vorteilhafte Weiterbildung sieht vor, dass die Receiveraufnahme einen Kragen aufweist, der dazu ausgebildet ist, ein vollständiges Hindurchführen der Receiveraufnahme durch die Öffnung zu verhindern. Dadurch ergibt sich eine besonders unaufwändige Montage der Receiveraufnahme im Gehäuse, da der Kragen als Anschlag bzw. Begrenzung wirkt, der bzw. die eine Positionierungshilfe beim Einsetzen der Receiveraufnahme bildet.A further advantageous development provides that the receiver receptacle has a collar which is designed to prevent complete passage of the receiver receptacle through the opening. This results in a particularly uncomplicated installation of the receiver receptacle in the housing, since the collar acts as a stop or limit, which forms a positioning aid when inserting the receiver receiver.
Eine weitere vorteilhafte Weiterbildung sieht vor, dass die Receiveraufnahme aus einem metallischen Werkstoff gefertigt ist. Metallische Werkstoffe sind wegen ihrer hohen Duktilität gut zur Verwendung in Tiefziehverfahren geeignet. Zudem erlauben sie die Fertigung von Tiefziehteilen geringer Wandstärken, was zu einer Reduzierung der Abmessungen der Receiveraufnahme und damit auch des Hörinstruments beiträgt.A further advantageous embodiment provides that the receiver receptacle is made of a metallic material. Metallic materials are well suited for use in deep drawing because of their high ductility. In addition, they allow the production of deep-drawn parts of low wall thickness, which contributes to a reduction in the dimensions of the receiver receptacle and thus also of the hearing instrument.
Eine weitere vorteilhafte Weiterbildung sieht vor, dass die Receiveraufnahme aus einem elektromagnetische Strahlung dämpfenden oder abschirmenden Werkstoff gefertigt ist. Eine solche Dämpfung oder Abschirmung ist zum einen vorteilhaft, falls der Receiver auf einem elektromagnetischen Wirkprinzip basiert, um Störungen anderer elektronischer Komponenten durch dessen elektromagnetische Abstrahlung zu reduzieren. Zum anderen ist sie vorteilhaft, um Störungen des Receivers durch elektromagnetische Einstrahlung von weiteren elektronischen Komponenten oder von außerhalb zu reduzieren. Gegebenenfalls kann durch die in die Receiveraufnahme integrierte Dämpfung oder Abschirmung auf weitere, zusätzlich vorzusehende diesbezügliche Vorrichtungsbestandteile verzichtet werden, was zu einer Reduzierung der Abmessungen beiträgt.A further advantageous embodiment provides that the receiver receptacle is made of a material that attenuates or shields electromagnetic radiation. Such attenuation or shielding is advantageous, on the one hand, if the receiver is based on an electromagnetic operating principle in order to reduce interference of other electronic components by its electromagnetic radiation. On the other hand, it is advantageous to reduce interference of the receiver by electromagnetic radiation from other electronic components or from outside. Optionally, can be dispensed with by the integrated in the receiver receptacle damping or shielding on additional, additional to be provided in this respect device components, which contributes to a reduction of the dimensions.
Eine weitere vorteilhafte Weiterbildung sieht vor, dass die Receiveraufnahme eine Schallöffnung aufweist, die dazu ausgebildet ist, einen Receiverstutzen aufzunehmen. Der Receiverstutzen dient dem gerichteten Abgeben des vom Receiver erzeugten akustischen Nutzsignals. Beispielsweise kann auf den Receiverstutzen ein Schallschlauch aufgesteckt bzw. angeschlossen werden. Die für den Receiverstutzen vorgesehene Schallöffnung in der Receiveraufnahme erleichtert das Einsetzen des Receivers. Zudem kann eine Fixierung des Receivers in der Receiveraufnahme dadurch erreicht werden, dass am Receiverstutzen ein Schallschlauch oder ein Dome oder ein Eartip angeschlossen wird, dessen Abmessungen größer als die der Schallöffnung sind, da der Receiver dann an einem Herausgleiten aus der Receiveraufnahme gehindert ist.A further advantageous development provides that the receiver receptacle has a sound opening, which is designed to receive a receiver neck. The receiver neck is used for directional output of the receiver generated by the useful acoustic signal. For example, a sound tube can be plugged or connected to the receiver neck. The provided for the receiver neck sound hole in the receiver recording facilitates the insertion of the receiver. In addition, a fixation of the receiver in the receiver receptacle can be achieved by connecting a sound tube or a dome or an Eartip to the receiver socket whose dimensions are larger than those of the sound opening, since the receiver is then prevented from sliding out of the receiver receptacle.
Eine weitere vorteilhafte Weiterbildung sieht vor, dass die Receiveraufnahme einen Schallstutzen aufweist. Dies ermöglicht es, einen Schallschlauch aufzustecken oder anzuschließen und den Receiver unabhängig vom Schallschlauch einzusetzen oder auszuwechseln.A further advantageous embodiment provides that the receiver receptacle has a sound pipe. This makes it possible to connect or connect a sound tube and to insert or replace the receiver independently of the sound tube.
Ein weiterer Grundgedanke der Erfindung besteht in einem Ohrstück zum Tragen im Ohr, umfassend ein Gehäuse und eine Receiveraufnahme, in die ein Receiver einsetzbar ist, wobei die Receiveraufnahme durch Tiefziehen gefertigt ist. Vorteilhafterweise ist Tiefziehen ein unaufwändiger Fertigungsprozess. Weiter vorteilhafterweise weisen Tiefziehteile je nach verwendetem Werkstoff geringe Materialstärken und damit auch geringe Abmessungen auf. Weiter vorteilhafterweise ermöglicht die eigens vorgesehene Receiveraufnahme eine unaufwändige Montage bzw. Wartung durch leichtes einsetzen oder entnehmen eines Receivers aus der Receiveraufnahme.Another basic idea of the invention consists in an earpiece for wearing in the ear, comprising a housing and a receiver receptacle into which a receiver can be inserted, wherein the receiver receptacle is made by deep drawing. Advantageously, thermoforming is an inexpensive production process. Further advantageously, thermoformed parts, depending on the material used low material thicknesses and thus also small dimensions. Further advantageously, the specially provided receiver receptacle allows an unobtrusive installation or maintenance by easily inserting or removing a receiver from the receiver receptacle.
Bezüglich vorteilhafter Weiterbildungen und deren Vorteile werden die vorangehenden Ausführungen zum Hörinstrument in Bezug genommen, die sinngemäß auch auf das Ohrstück übertragen werden können.With regard to advantageous developments and their advantages, the foregoing explanations regarding the hearing instrument are referred to, which can also be applied analogously to the earpiece.
Ein weiterer Grundgedanke der Erfindung besteht in einem Herstellungsverfahren zum Herstellen eines wie vorangehend erläutert ausgeführten Hörinstruments oder eines wie vorangehend erläutert ausgeführten Ohrstücks mit den folgenden Schritten, die nicht notwendigerweise in der folgenden Reihenfolge erfolgen müssen:
- (a) Herstellen eines Gehäuses
- (b) Tiefziehen einer Receiveraufnahme
- (c) Montieren der Receiveraufnahme in das Gehäuse
- (d) Einsetzen eines Receivers in die Receiveraufnahme.
- (a) making a case
- (b) deep drawing a receiver receiver
- (c) Mount the receiver receptacle in the housing
- (d) Inserting a receiver into the receiver receptacle.
Vorteilhafterweise ist Tiefziehen ein unaufwändiger Fertigungsprozess. Weiter vorteilhafterweise weisen Tiefziehteile je nach verwendetem Werkstoff geringe Materialstärken und damit auch geringe Abmessungen auf. Weiter vorteilhafterweise ermöglicht die eigens vorgesehene Receiveraufnahme eine unaufwändige Montage bzw. Wartung durch leichtes einsetzen oder entnehmen eines Receivers aus der Receiveraufnahme. Bezüglich weiterer vorteilhafter Aspekte und Vorteile werden die vorangehenden Ausführungen zum Hörinstrument in Bezug genommen, die sinngemäß übertragen werden können.Advantageously, thermoforming is an inexpensive production process. Further advantageously, thermoformed parts, depending on the material used low material thicknesses and thus also small dimensions. Further advantageously, the specially provided receiver receptacle allows an unobtrusive installation or maintenance by easily inserting or removing a receiver from the receiver receptacle. With regard to further advantageous aspects and advantages, the foregoing statements relating to the hearing instrument are referred to, which can be transmitted analogously.
Weitere vorteilhafte Weiterbildungen und Vorteile ergeben sich aus den abhängigen Patentansprüchen sowie aus der nachfolgenden Beschreibung von Ausführungsbeispielen anhand von Figuren. Es zeigen:Further advantageous developments and advantages will become apparent from the dependent claims and from the following description of exemplary embodiments with reference to FIGS. Show it:
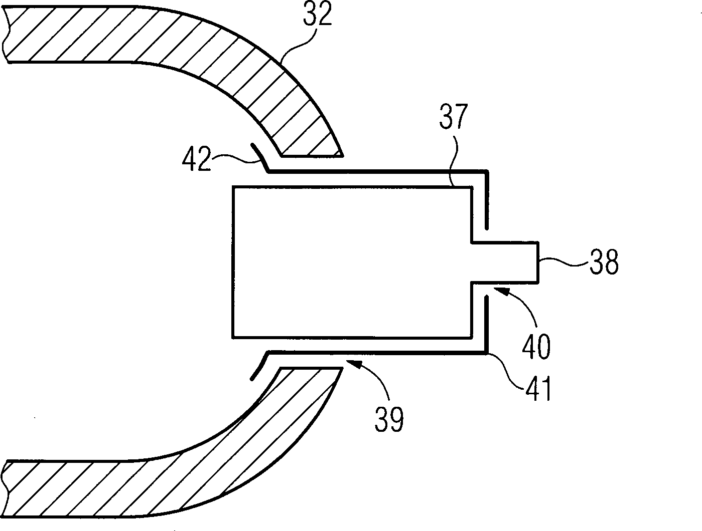
In
Das Gehäuse
Der Receiver
In
Die akustischen Ausgangssignale der Receivers
In
Das Ohrstück
Anstelle eines die Receiveraufnahme
Die Receiveraufnahme
Die Receiveraufnahme
In die Receiveraufnahme
In
Das Ohrstück
Die Receiveraufnahme
In die Receiveraufnahme
In
Der Receiver
Ein Grundgedanke der Erfindung lässt sich wie folgt zusammenfassen: Die Erfindung betrifft ein Im-Ohr-Hörinstrument zum Tragen im Ohrkanal eines Benutzers, beispielsweise ein ITE Hörinstrument, ein CIC Hörinstrument, insbesondere ein Tiefohrkanal-Hörinstrument (Deep Fit), sowie ein Ohrstück zum Tragen im Ohrkanal und außerdem ein Herstellungsverfahren zum Herstellen eines solchen Im-Ohr-Hörinstruments bzw. Ohrstücks. Das Hörinstrument
Claims (17)
Priority Applications (1)
| Application Number | Priority Date | Filing Date | Title |
|---|---|---|---|
| DE102010041695A DE102010041695A1 (en) | 2010-09-30 | 2010-09-30 | In-the-ear (ITE) hearing instrument e.g. low ear channel hearing instrument of ear piece, has recordable receiver manufactured by deep-drawing that is provided with collar |
Applications Claiming Priority (1)
| Application Number | Priority Date | Filing Date | Title |
|---|---|---|---|
| DE102010041695A DE102010041695A1 (en) | 2010-09-30 | 2010-09-30 | In-the-ear (ITE) hearing instrument e.g. low ear channel hearing instrument of ear piece, has recordable receiver manufactured by deep-drawing that is provided with collar |
Publications (1)
| Publication Number | Publication Date |
|---|---|
| DE102010041695A1 true DE102010041695A1 (en) | 2011-08-25 |
Family
ID=44356826
Family Applications (1)
| Application Number | Title | Priority Date | Filing Date |
|---|---|---|---|
| DE102010041695A Ceased DE102010041695A1 (en) | 2010-09-30 | 2010-09-30 | In-the-ear (ITE) hearing instrument e.g. low ear channel hearing instrument of ear piece, has recordable receiver manufactured by deep-drawing that is provided with collar |
Country Status (1)
| Country | Link |
|---|---|
| DE (1) | DE102010041695A1 (en) |
Cited By (9)
| Publication number | Priority date | Publication date | Assignee | Title |
|---|---|---|---|---|
| EP2930947A1 (en) * | 2014-04-10 | 2015-10-14 | GN Resound A/S | A hearing aid receiver and a hearing aid comprising such a receiver |
| EP2930949A1 (en) * | 2014-04-10 | 2015-10-14 | GN Resound A/S | A hearing aid |
| EP2930946A1 (en) * | 2014-04-10 | 2015-10-14 | GN Resound A/S | A hearing aid |
| DK201470201A1 (en) * | 2014-04-10 | 2015-10-26 | Gn Resound As | Hearing aid with a receiver |
| EP3024251A1 (en) * | 2014-10-27 | 2016-05-25 | Sidney A. Higgins | Sinter bonded metal receiver can |
| US9386383B2 (en) | 2014-04-10 | 2016-07-05 | Gn Resound A/S | Hearing aid receiver and a hearing aid comprising such a receiver |
| US9392385B2 (en) | 2014-04-10 | 2016-07-12 | Gn Resound A/S | Hearing aid |
| US9578430B2 (en) | 2014-04-10 | 2017-02-21 | Gn Hearing A/S | Hearing aid |
| EP3280158A3 (en) * | 2016-07-12 | 2018-06-13 | Oticon A/s | Hearing aid |
Citations (2)
| Publication number | Priority date | Publication date | Assignee | Title |
|---|---|---|---|---|
| EP0421233B1 (en) * | 1989-10-05 | 1994-06-29 | Siemens Audiologische Technik GmbH | Device for preventing the penetration of foreign bodies in a sound transducer |
| DE10041727A1 (en) * | 2000-08-25 | 2002-05-02 | Implex Ag Hearing Technology I | Implantable hermetically sealed housing for an implantable medical device |
-
2010
- 2010-09-30 DE DE102010041695A patent/DE102010041695A1/en not_active Ceased
Patent Citations (2)
| Publication number | Priority date | Publication date | Assignee | Title |
|---|---|---|---|---|
| EP0421233B1 (en) * | 1989-10-05 | 1994-06-29 | Siemens Audiologische Technik GmbH | Device for preventing the penetration of foreign bodies in a sound transducer |
| DE10041727A1 (en) * | 2000-08-25 | 2002-05-02 | Implex Ag Hearing Technology I | Implantable hermetically sealed housing for an implantable medical device |
Cited By (11)
| Publication number | Priority date | Publication date | Assignee | Title |
|---|---|---|---|---|
| EP2930947A1 (en) * | 2014-04-10 | 2015-10-14 | GN Resound A/S | A hearing aid receiver and a hearing aid comprising such a receiver |
| EP2930949A1 (en) * | 2014-04-10 | 2015-10-14 | GN Resound A/S | A hearing aid |
| EP2930946A1 (en) * | 2014-04-10 | 2015-10-14 | GN Resound A/S | A hearing aid |
| DK201470201A1 (en) * | 2014-04-10 | 2015-10-26 | Gn Resound As | Hearing aid with a receiver |
| US9386383B2 (en) | 2014-04-10 | 2016-07-05 | Gn Resound A/S | Hearing aid receiver and a hearing aid comprising such a receiver |
| US9392385B2 (en) | 2014-04-10 | 2016-07-12 | Gn Resound A/S | Hearing aid |
| US9578430B2 (en) | 2014-04-10 | 2017-02-21 | Gn Hearing A/S | Hearing aid |
| EP3024251A1 (en) * | 2014-10-27 | 2016-05-25 | Sidney A. Higgins | Sinter bonded metal receiver can |
| EP3280158A3 (en) * | 2016-07-12 | 2018-06-13 | Oticon A/s | Hearing aid |
| US10284976B2 (en) | 2016-07-12 | 2019-05-07 | Oticon A/S | Hearing aid |
| EP4061015A3 (en) * | 2016-07-12 | 2023-02-22 | Oticon A/s | Hearing aid |
Similar Documents
| Publication | Publication Date | Title |
|---|---|---|
| DE102010041695A1 (en) | In-the-ear (ITE) hearing instrument e.g. low ear channel hearing instrument of ear piece, has recordable receiver manufactured by deep-drawing that is provided with collar | |
| EP2782363B1 (en) | Binaural hearing instrument and earpiece | |
| EP2701404B1 (en) | Hearing instrument and earpiece with receiver | |
| EP1993324B1 (en) | Ear piece with adapter seal | |
| EP2654322B1 (en) | Hearing instrument with acoustic tube plug connection | |
| EP2534855B1 (en) | Behind-the-ear hearing aid having a plug-in connector | |
| DE102010006469A1 (en) | Guide device for a listening device | |
| DE102017210447A1 (en) | hearing Aid | |
| DE102008051925B3 (en) | Hearing device with membrane on the battery compartment interior | |
| EP1993323B1 (en) | Earpiece for a hearing aid with bayonet fixing | |
| EP3249954A1 (en) | Retaining ear tip for a standard earpiece | |
| EP2393310B1 (en) | Deep ear canal hearing aid | |
| DE102011083209B3 (en) | IDO hearing instrument with programming socket | |
| DE102012204287A1 (en) | Foam material ear piece for use in hearing instrument e.g. in-the-ear hearing device, has body made from foam material, and cover made from foil material and comprising ventilation opening for discharging and supplying ambient air into body | |
| DE102014200605A1 (en) | Dome with cerumen protection | |
| DE102010022324A1 (en) | Hearing instrument i.e. deep-ear-canal hearing aid, for use by hearing-impaired person, has input transducer, signal processing device and generator that are arranged in housing, where housing and earpiece are connected to each other | |
| EP3451703A1 (en) | Hearing aid | |
| DE102007025446B3 (en) | Ear piece for a hearing device with retaining ring | |
| DE102011078675A1 (en) | Impression structure for a hearing device | |
| DE102014200917A1 (en) | BTE hearing aid with housing and sound tube | |
| DE29916891U1 (en) | Tinnitus masking and / or hearing aid device | |
| EP2866473B1 (en) | Otoplastic, hearing system and method for mounting a hearing system | |
| DE102024211634A1 (en) | Hearing instrument and methods for its manufacture | |
| DE102015226813A1 (en) | hearing Aid | |
| EP2680612A1 (en) | Housing for a hearing instrument and hearing instrument |
Legal Events
| Date | Code | Title | Description |
|---|---|---|---|
| R016 | Response to examination communication | ||
| R230 | Request for early publication | ||
| R002 | Refusal decision in examination/registration proceedings | ||
| R003 | Refusal decision now final |
Effective date: 20111220 |
