[go: up one dir, main page]

DE102010023075A1 - Hinterer Unterbau für ein Fahrzeug - Google Patents

Hinterer Unterbau für ein Fahrzeug Download PDF

Info

Publication number
DE102010023075A1
DE102010023075A1 DE102010023075A DE102010023075A DE102010023075A1 DE 102010023075 A1 DE102010023075 A1 DE 102010023075A1 DE 102010023075 A DE102010023075 A DE 102010023075A DE 102010023075 A DE102010023075 A DE 102010023075A DE 102010023075 A1 DE102010023075 A1 DE 102010023075A1
Authority
DE
Germany
Prior art keywords
rear frame
frame structure
node
substructure
substructure according
Prior art date
Legal status (The legal status is an assumption and is not a legal conclusion. Google has not performed a legal analysis and makes no representation as to the accuracy of the status listed.)
Withdrawn
Application number
DE102010023075A
Other languages
English (en)
Inventor
Udo Mildner
Current Assignee (The listed assignees may be inaccurate. Google has not performed a legal analysis and makes no representation or warranty as to the accuracy of the list.)
GM Global Technology Operations LLC
Original Assignee
GM Global Technology Operations LLC
Priority date (The priority date is an assumption and is not a legal conclusion. Google has not performed a legal analysis and makes no representation as to the accuracy of the date listed.)
Filing date
Publication date
Application filed by GM Global Technology Operations LLC filed Critical GM Global Technology Operations LLC
Priority to DE102010023075A priority Critical patent/DE102010023075A1/de
Priority to GB1108744.2A priority patent/GB2481095B/en
Priority to US13/153,201 priority patent/US8376454B2/en
Priority to RU2011122575/11A priority patent/RU2011122575A/ru
Priority to CN2011102750672A priority patent/CN102381367A/zh
Publication of DE102010023075A1 publication Critical patent/DE102010023075A1/de
Withdrawn legal-status Critical Current

Links

Images

Classifications

    • BPERFORMING OPERATIONS; TRANSPORTING
    • B62LAND VEHICLES FOR TRAVELLING OTHERWISE THAN ON RAILS
    • B62DMOTOR VEHICLES; TRAILERS
    • B62D25/00Superstructure or monocoque structure sub-units; Parts or details thereof not otherwise provided for
    • B62D25/20Floors or bottom sub-units
    • B62D25/2009Floors or bottom sub-units in connection with other superstructure subunits
    • B62D25/2027Floors or bottom sub-units in connection with other superstructure subunits the subunits being rear structures
    • BPERFORMING OPERATIONS; TRANSPORTING
    • B62LAND VEHICLES FOR TRAVELLING OTHERWISE THAN ON RAILS
    • B62DMOTOR VEHICLES; TRAILERS
    • B62D21/00Understructures, i.e. chassis frame on which a vehicle body may be mounted
    • B62D21/02Understructures, i.e. chassis frame on which a vehicle body may be mounted comprising longitudinally or transversely arranged frame members

Landscapes

  • Engineering & Computer Science (AREA)
  • Chemical & Material Sciences (AREA)
  • Combustion & Propulsion (AREA)
  • Transportation (AREA)
  • Mechanical Engineering (AREA)
  • Body Structure For Vehicles (AREA)

Abstract

Die Erfindung betrifft einen hinteren Unterbau (1) für ein Fahrzeug mit einer Hinterrahmenstruktur (2), einer den Boden für den Fußraum (3) des Fahrzeuges bildenden Bodenstruktur (4) und mit einer den Fußraum (3) nach hinten begrenzenden Abschlussstruktur (5). Es ist vorgesehen, dass sich die Hinterrahmenstruktur (2) zumindest teilweise nach vorne bis über die Abschlussstruktur (5) erstreckt.

Description

  • Die Erfindung betrifft einen hinteren Unterbau für ein Fahrzeug mit einer Hinterrahmenstruktur, einer den Boden für den Fußraum des Fahrzeuges bildenden Bodenstruktur und mit einer den Fußraum nach hinten begrenzenden Abschlussstruktur.
  • Ein derartiger Unterbau der Karosserie ist bei Fahrzeugen, insbesondere Kraftfahrzeugen üblich. Ein solcher Unterbau ist üblicherweise bei sogenannten Kleinwagen wie auch bei Fahrzeugen größerer Fahrzeugklassen realisiert.
  • Im Zuge einer kostengünstigen Fertigung von Fahrzeugen, insbesondere Kleinpersonenwagen, wird bei der Entwicklung neuer Modelle angestrebt, dass möglichst viele Bauteile und Komponenten der Karosseriestruktur des Fahrzeuges aus der nächstgrößeren Fahrzeugklasse verwendet werden können. Auch wird angestrebt, dass bei der Fertigung des Fahrzeuges die Zusammenbaureihenfolge, wie sie bei der Fertigung von Fahrzeugen der nächstgrößeren Fahrzeugklasse bereits besteht, beibehalten bleibt. Die Fahrzeuge können dann auf der Fertigungslinie für Fahrzeuge der nächstgrößeren Fahrzeugklasse aufgebaut werden.
  • Einer solchen kostengünstigen Fertigung der Fahrzeuge steht jedoch entgegen, dass viele Bauteile und Komponenten für Fahrzeuge der nächstgrößeren Fahrzeugklasse für eine Verwendung bei einem kleineren Fahrzeug nicht geeignet sind, da sie zu große Abmessungen aufweisen. Beispielsweise sind die Längsträger der Hinterrahmenstruktur für ein Fahrzeug der nächstgrößeren Fahrzeugklasse gewöhnlich länger als die Längsträger der Hinterrahmenstruktur eines Kleinwagens.
  • Der Erfindung liegt daher die Aufgabe zugrunde, einen hinteren Unterbau mit den eingangs genannten Merkmalen vorzuschlagen, durch welchen die Fertigung eines Fahrzeuges auf einer Fertigungslinie für Fahrzeuge einer nächstgrößeren Fahrzeugklasse ermöglicht ist. Es sollen dabei möglichst viele Bauteile und Komponenten von Fahrzeugen einer nächstgrößeren Fahrzeugklasse zum Einsatz kommen können.
  • Zur Lösung der Aufgabe wird ein hinterer Unterbau für ein Fahrzeug vorgeschlagen, welcher die in Anspruch 1 genannten Merkmale aufweist. Vorteilhafte Ausgestaltungen der Erfindung ergeben sich aus den Unteransprüchen sowie der nachfolgenden Beschreibung und den Figuren.
  • Der hintere Unterbau für ein Fahrzeug weist eine Hinterrahmenstruktur und eine den Boden für den Fußraum der Fondspassagiere des Fahrzeuges bildende Bodenstruktur auf. Ferner weist der hintere Unterbau eine nach hinten begrenzende Abschlussstruktur auf. Diese Abschlussstruktur kann als sogenanntes Fersenblech ausgebildet sein.
  • Erfindungsgemäß erstreckt sich die Hinterrahmenstruktur zumindest teilweise nach vorne bis über die Abschlussstruktur.
  • Durch diese Maßnahme kann auf das Konzept für die Hinterrahmenstruktur der nächstgrößeren Fahrzeugklasse zurückgegriffen werden und damit der Entwicklungsaufwand gegenüber einer kompletten Neuentwicklung deutlich reduziert werden. Es ergeben sich beispielsweise Vorteile bei der Crash- und Dauerlaufentwicklung, der Werkzeugfertigung und der Ziehsimulation.
  • Bei dem erfindungsgemäßen Unterbau kann die üblicherweise längere Hinterrahmenstruktur für das größere Fahrzeug der nächsthöheren Fahrzeugklasse problemlos integriert werden, indem die Hinterrahmenstruktur sich über die Abschlussstruktur nach vorne erstreckt. Der erfindungsgemäße Unterbau baut dadurch kürzer als bei einem Fahrzeug der nächstgrößeren Fahrzeugklasse, bei welcher die Hinterrahmenstruktur gewöhnlich direkt an dem Fersenblech angreift und damit verbunden ist.
  • Indem der erfindungsgemäße hintere Unterbau auf eine Hinterrahmenstruktur für Fahrzeuge einer nächstgrößeren Fahrzeugklasse zurückgreifen kann, ist die Montage an einer Transporteinheit einer Fertigungslinie möglich, welche zum Fertigen von Fahrzeugen größerer Fahrzeugklassen dient. Dies vor dem Hintergrund, dass der hintere Unterbau üblicherweise von der Hinterrahmenstruktur aus aufgebaut wird und daher die Fixierung des Unterbaus an der Transporteinheit über die Hinterrahmenstruktur erfolgt. Dazu weist die Hinterrahmenstruktur bevorzugt wenigstens eine Halterung auf.
  • Da mittels des erfindungsgemäßen Unterbaus der Aufbau des Fahrzeuges bzw. Kraftfahrzeuges wie bei einem Fahrzeug einer nächstgrößeren Fahrzeugklasse von der Hinterrahmenstruktur aus durchgeführt werden kann, ist die gleiche oder eine sehr ähnliche Zusammenbaureihenfolge wie bei einem Fahrzeug einer nächstgrößeren Fahrzeugklasse, vorzugsweise auf der gleichen Fertigungslinie, realisierbar. Es ist dadurch die Verwendung vieler Bauteile und Komponenten der Karosseriestruktur für Fahrzeuge einer nächstgrößeren Fahrzeugklasse für die Fertigung des Fahrzeuges begünstigt. Es sind lediglich geringe Modifikationen an den bereits vorhandenen Bauteilen und den bestehenden Fertigungseinrichtungen vorzunehmen. Der erfindungsgemäße Unterbau ermöglicht damit eine besonders kostengünstige Entwicklung und Fertigung eines Fahrzeuges.
  • Der erfindungsgemäße Unterbau bietet sich besonders für einen Kleinwagen an. Bevorzugt ist der Kleinwagen ein Personenkraftwagen mit vier Sitzen, dessen Fußraum pro Fahrzeugseite zwei Fußabstellflächen aufweist, anstelle der üblichen drei Fußabstellflächen bei fünfsitzigen Fahrzeugen.
  • Nach einer ersten Ausgestaltung der Erfindung ist es vorgesehen, dass die Hinterrahmenstruktur zumindest teilweise in den hinteren Fußraum ragt. Es ist dadurch ein sowieso vorhandener Freiraum genutzt, um dahinein die Hinterrahmenstruktur hineinragen zu lassen. Dadurch ist der erfindungsgemäße hintere Unterbau in seiner Dimensionierung in Längsrichtung des Fahrzeugs erheblich verkleinerbar gegenüber der Dimensionierung des Fahrzeuges einer nächstgrößeren Fahrzeugklasse. Durch das Überlappen der Hinterrahmenstruktur mit der den Fußraum bildenden Bodenstruktur kann eine erhebliche Verkürzung des hinteren Unterbaus erreicht werden. Die Hinterrahmenstruktur kann dazu die Bodenstruktur mehr als 100 mm, vorzugsweise 200 mm, bis zu 350 mm überdecken.
  • Bevorzugt sollte die Hinterrahmenstruktur in den äußeren Bereich des hinteren Fußraumes ragen, um hinten sitzenden Fondspassagieren ausreichend Fußabstellfläche zu gewährleisten. Der erfindungsgemäße hintere Unterbau ist daher besonders für viersitzige Fahrzeuge bzw. Kleinwagen geeignet, welche bereits einen ausreichend großen Raum im hinteren Fußraum bereitstellen gegenüber den fünfsitzigen Fahrzeugen mit drei Fußabstellflächen im hinteren Fußraum.
  • Nach einer weiteren Ausgestaltung der Erfindung ist es vorgesehen, dass die Hinterrahmenstruktur mit der Bodenstruktur verbunden ist. Dadurch ist ein haltbarer und stabiler hinterer Unterbau mit hoher Torsionssteifigkeit realisiert.
  • In die gleiche Richtung zielt die Maßnahme nach einer weiteren Ausgestaltung der Erfindung, wonach die Hinterrahmenstruktur mit wenigstens einer Schwellerstruktur verbunden ist.
  • Bevorzugt sollte die Hinterrahmenstruktur mit wenigstens einer inneren Schwellerstruktur verbunden sein. Als innere Schwellerstruktur ist im Zuge der Erfindung die dem Fußraum zugewandte Seite der Schwellerstruktur bzw. die dem Fußraum zugewandte Schwellerstruktur zu verstehen.
  • Nach einer bevorzugten Ausgestaltung der Erfindung ist wenigstens eine Knotenstruktur vorgesehen, welche mit der Hinterrahmenstruktur und der Schwellerstruktur, insbesondere der inneren Schwellerstruktur, unter Bildung eines Hohlraums verbunden ist. Dadurch ist eine zusätzliche Versteifung bzw. Aussteifung im Übergang der Hinterrahmenstruktur auf die Schwellerstruktur realisiert, sodass eine verbesserte Krafteinleitung in die Karosseriestruktur bei einem heckseitigen Aufprall im Crashfall erfolgt. Es ist dadurch ein wirkungsvoller Insassenschutz bei einem Crash gewährleistet.
  • Die Knotenstruktur kann als Knotenblech ausgebildet sein, welche beispielsweise durch ein profiliertes und/oder umgeformtes Blech gebildet ist.
  • Es bietet sich an, dass die wenigstens eine Knotenstruktur mit der Abschlussstruktur verbunden ist. Auch diese Maßnahme zielt darauf, mittels der Knotenstruktur den Unterbau im Bereich der Anbindung der Hinterrahmenstruktur an der Karosseriestruktur zu versteifen, um im Falle eines heckseitigen Aufpralls eine verbesserte Krafteinleitung in die Karosseriestruktur zu ermöglichen.
  • Eine versteifende Wirkung kommt auch der Maßnahme einer weiteren Ausgestaltung der Erfindung zu, wonach die Hinterrahmenstruktur an ihrem sich zumindest teilweise nach vorne bis über die Abschlussstruktur erstreckenden Bereich eine im Wesentlichen vertikale Seitenwandung aufweist, welche an ihrem oberen Endbereich mit der Knotenstruktur verbunden ist. Durch diese Maßnahme ist zudem die Torsionssteifigkeit des Unterbaus erheblich verbessert.
  • Es bietet sich an, dass die Knotenstruktur eine vertikale Seitenwandung der Hinterrahmenstruktur zum Fußraum hin überdeckt. Hierdurch kommt der Knotenstruktur eine Schutzfunktion zu, denn die Knotenstruktur wirkt als Abdeckung der vertikalen Seitenwandung zum Fußraum hin, sodass Fondspassagiere vor Verletzungen an etwaigen scharfen Kanten der vertikalen Seitenwandungen geschützt sind.
  • Es bietet sich ferner an, dass die Knotenstruktur mit der Bodenstruktur verbunden ist. Dadurch ist ein besonders steifer Verbund zwischen der Hinterrahmenstruktur und der vorderen Karosseriestruktur realisiert, sodass dadurch bei einem heckseitigen Aufprall eine Krafteinleitung in die Karosseriestruktur besonders wirkungsvoll stattfindet.
  • Durch die Knotenstruktur und die Art und Weise der Verbindung der Knotenstruktur mit der Hinterrahmenstruktur und den weiteren Bauteilen des hinteren Unterbaus bzw. der Karosseriestruktur des Fahrzeuges ist ein Verbund mit hoher Steifigkeit, insbesondere Torsionssteifigkeit realisiert, sodass bei einem heckseitigen Aufprall die Aufprallenergie definiert in die Karosseriestruktur eingeleitet wird und damit ein effektiver Personenschutz im Fahrgastraum gewährleistet ist.
  • Nach einer Weiterbildung der Erfindung ist es vorgesehen, dass in vertikaler Richtung gesehen, mit zunehmender Erstreckung der Hinterrahmenstruktur in den Fußraum der Abstand zwischen dem oberen Abschluss der Hinterrahmenstruktur und/oder der Knotenstruktur kleiner wird. Dadurch ist ein harmonischer Einlauf der Hinterrahmenstruktur in die Vorderrahmenstruktur bzw. in den Bereich der Bodenstruktur im Fußraum ermöglicht, sodass eine Stufen- bzw. Treppenbildung im Bereich des hinteren seitlichen Einstiegs in den Fahrgastraum für die hinteren Fondspassagiere vermieden ist. Durch den harmonischen Einlauf ist die in den Fußraum hineinragende Hinterrahmenstruktur somit kompakt im Fußraum untergebracht und gewährleistet eine große Fußabstellfläche für die hinteren Fondspassagiere.
  • Nach einer weiteren Ausgestaltung der Erfindung ist eine zusätzliche Knotenstruktur vorgesehen, durch welche die Bodenwandung der Hinterrahmenstruktur mit der Bodenstruktur verbunden ist. Die zusätzliche Knotenstruktur zielt darauf ab, die Gesamtsteifigkeit der Karosserie zu verbessern.
  • Bevorzugt sollte dazu die zusätzliche Knotenstruktur mit der Abschlussstruktur verbunden sein.
  • Auch bietet es sich dazu an, dass die zusätzliche Knotenstruktur, die Knotenstruktur und die Bodenstruktur in einem gemeinsamen Verbindungsbereich miteinander verbunden sind.
  • Ferner bietet es sich an, dass die Knotenstruktur, die zusätzliche Knotenstruktur und die vertikale Seitenwandung der Hinterrahmenstruktur einen weiteren Hohlraum bilden.
  • Durch vorstehend beschriebenen Maßnahmen ergibt sich mittels der zusätzlichen Knotenstruktur eine weitergehende Versteifung der Karosserie, welche auch in ihrer Torsionssteifigkeit verbessert ist.
  • Die zusätzliche Knotenstruktur und/oder die Bodenstruktur sind bevorzugt durch wenigstens ein Blech, insbesondere ein profiliertes und/oder geformtes Blech gebildet.
  • Es ist bevorzugt vorgesehen, dass die Hinterrahmenstruktur wenigstens zwei seitlich angeordnete Trägerprofile aufweist, zwischen denen die Abschlussstruktur bzw. das Fersenblech angeordnet ist.
  • Weitere Ziele, Vorteile, Merkmale und Anwendungsmöglichkeiten der vorliegenden Erfindung ergeben sich aus der nachfolgenden Beschreibung eines Ausführungsbeispiels anhand der Zeichnung.
  • Es zeigen:
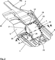
  • 1 eine mögliche Ausführungsform eines hinteren Unterbaus für ein Kraftfahrzeug in perspektivischer Darstellung,
  • 2 den hinteren Unterbau gemäß der 1 als Teilansicht seiner linken Seite,
  • 3 die Hinterrahmenstruktur der linken Seite des hinteren Unterbaus gemäß der 1 in perspektivischer Darstellung,
  • 4 das Fersenblech des hinteren Unterbaus gemäß der 1 mit daran angeordneten unteren Knotenblechen in perspektivischer Darstellung,
  • 5 der hintere Unterbau gemäß der 1 in Schnittdarstellung entlang der Schnittlinie A-A gemäß der 2.
  • 1 zeigt – in schematischer Darstellung – eine mögliche Ausführungsform eines hinteren Unterbaus 1 für ein Fahrzeug bzw. Kraftfahrzeug, insbesondere für einen Personenkraftwagen. Der hintere Unterbau 1 ist besonders für viersitzige Fahrzeuge, insbesondere viersitzige Kleinwagen, geeignet.
  • Der hintere Unterbau 1 weist eine Hinterrahmenstruktur 2 sowie eine den Boden für den Fußraum 3 des Fahrzeuges bildende Bodenstruktur 4 auf. Ferner hat der hintere Unterbau 1 eine den Fußraum 3 nach hinten begrenzende Abschlussstruktur 5, welche durch ein sogenanntes Fersenblech gebildet ist.
  • Der Aufbau des hinteren Unterbaus 1 ist, in Fahrtrichtung 17 gesehen, in der Reihenfolge angeordnet, dass die Hinterrahmenstruktur 2 der Bodenstruktur 4 nachgeschaltet ist, wobei die Bodenstruktur 4 an dem Fersenblech 5 endet, welche das Ende des Fußraumes 3 darstellt. Die Bodenstruktur 4 kann in Fahrtrichtung 17 gesehen, im Wesentlichen im mittleren Bereich eine Mittelkonsole bzw. einen Tunnel 18 aufweisen, welche sich bis an das Fersenblech 5 erstreckt, bevorzugt mit dem Fersenblech 5 fest verbunden ist.
  • Es ist vorgesehen, dass die Hinterrahmenstruktur 2 sich zumindest teilweise nach vorne bis über das Fersenblech 5 hinaus erstreckt. Die Hinterrahmenstruktur 2 ragt zumindest teilweise in den hinteren Fußraum 3, insbesondere in den äußeren Bereich des hinteren Fußraumes 3, sodass die Bodenstruktur 4 zumindest teilweise überdeckt ist.
  • Die Hinterrahmenstruktur 2 weist bevorzugt wenigstens zwei Träger 15a, 15b auf. Zwischen den Trägern 15a, 15b ist das Fersenblech 5 angeordnet, wobei die Träger 15a, 15b sich nach vorne bis über das Fersenblech 5 hinaus erstrecken. In Fahrtrichtung 17 gesehen, ist hinter dem Fersenblech 5 ein hinterer Boden 26 bzw. ein hinteres Bodenblech vorgesehen, welches sich bevorzugt an das Fersenblech 5 anschließt. Der hintere Boden ist bevorzugt, wie das Fersenblech 5, zwischen den Trägern 15a und 15b angeordnet.
  • Weiterhin weist die Hinterrahmenstruktur 2 wenigstens zwei Schließbleche 16a, 16b auf, von denen je ein Schließblech 16a bzw. 16b auf dem zugehörigen Träger 15a bzw. 15b aufliegt bzw. daran befestigt ist.
  • Die Hinterrahmenstruktur 2 ist in dem über das Fersenblech 5 überragenden Bereich durch eine Knotenstruktur 7 überdeckt, welche vorzugsweise als Knotenblech ausgebildet ist. Bevorzugt ist jedem Träger 15a bzw. 15b der Hinterrahmenstruktur 2 eine solche Knotenstruktur 7 zugeordnet.
  • Die Knotenstruktur 7 weist eine horizontale Wandung 33 und sich daran anschließende vertikale Wandung 34 auf, welche dem Fußraum 3 zugewandt ist. Der Verlauf der horizontalen Wandung 33 und der vertikalen Wandung 34 in Fahrtrichtung 17 ist derart, dass mit zunehmender Erstreckung der der Knotenstruktur 7 nach vorne in den Fußraum 3 der Abstand zwischen der horizontalen Wandung 33 und der Bodenstruktur 4 kleiner wird. Die horizontale Wandung 33 verläuft somit von dem Fersenblech 5 beginnend schräg nach unten in Richtung zu der Bodenstruktur 4. Dadurch ist durch die Knotenstruktur ein oberer Abschluss 10 gebildet, welcher einen harmonischer Übergang in die Bodenstruktur 4 ermöglicht.
  • 2 zeigt eine mögliche Ausführungsform der Knotenstruktur 7 und deren Fixierung am Beispiel der in 2 dargestellten linken Seite des hinteren Unterbaus 1 gemäß der 1.
  • Die Knotenstruktur 7 ist mit der Hinterrahmenstruktur 2 mittels Schweißen, insbesondere mittels Punktschweißen verbunden. Dazu kann an der Hinterrahmenstruktur 2 und/oder dem zugewandten Abschnitt der Knotenstruktur 7 wenigstens ein Flanschabschnitt 19' ausgebildet sein, welcher zum Verbinden von Hinterrahmenstruktur 2 und Knotenstruktur 7 mittels Schweißpunkten 19 versehen ist. Bevorzugt ist die Hinterrahmenstruktur 2 auf diese Weise zumindest über deren Schließbleche 16a, 16b mit der Knotenstruktur 7 verbunden, wobei der Flanschabschnitt 19' an dem zugehörigen Schließblech angeformt ist.
  • Die Knotenstruktur 7 ist ferner mit der inneren Schwellerstruktur 6 verbunden. Bevorzugt weist die Knotenstruktur 7 dazu einen Flanschabschnitt 23 auf, an welchem mittels Punktschweißen Schweißpunkte 22 zum Verbinden mit der inneren Schwellerstruktur 6 gesetzt sind. Der Flanschabschnitt 23 kann zumindest teilweise gewinkelt ausgebildet sein, wobei beide Schenkel des Winkels an die winklige Kontur der inneren Schwellerstruktur 6 angepasst sind und jeder Schenkel mittels Punktschweißen mit der Schwellerstruktur 6 fest verbunden ist, wie insbesondere aus 5 ersichtlich ist.
  • Weiterhin ist die Knotenstruktur 7 mit dem Fersenblech 5 verbunden. Dazu kann an der Knotenstruktur 7 und/oder an der Abschlussstruktur 5 ein Flanschabschnitt 21 vorgesehen sein, welcher zum Verbinden mit Schweißpunkten 20 versehen ist.
  • Bevorzugt ist die Knotenstruktur 7 auch mit der Bodenstruktur 4 verbunden. Dazu kann entlang wenigstens einer Seite der Knotenstruktur 7 ein Flanschabschnitt 25 angeordnet sein, welcher auf der Bodenstruktur 4 anliegt und damit verschweißt ist. Auch bei dieser Verbindung ist es denkbar, dass die Knotenstruktur 7 mit der Bodenstruktur 4 mittels Schweißen, insbesondere Punktschweißen durch Schweißpunkte 24 realisiert ist.
  • Bevorzugt ist die Knotenstruktur 7 umlaufend, insbesondere durch die Flanschabschnitte 19, 21, 23, 25 mit den sich im Anbindungsbereich befindlichen Bauteilen des hinteren Unterbaus 1, nämlich der Hinterrahmenstruktur 2, der Abschlussstruktur 5, der Bodenstruktur 4 sowie der inneren Schwellerstruktur 6 verbunden.
  • 3 zeigt die Knotenstruktur 7 und den zugehörigen Träger 15a mit Schließblech 16a getrennt von den anderen Bauteilen des hinteren Unterbaus 1.
  • Wie daraus ersichtlich, ist an dem wenigstens einen Träger 15a eine Aufnahme oder Halterung 27 vorgesehen, um die Hinterrahmenstruktur 2 an einer (nicht dargestellten) Transporteinheit einer Fertigungslinie fixieren zu können. Die Aufnahme 27 ist bevorzugt als wenigstens ein Durchgangsloch ausgebildet.
  • 3 zeigt, dass bevorzugt auch der Träger 15a der Hinterrahmenstruktur 2 mit der Kontenstruktur 7 mittels Schweißen, insbesondere durch Schweißpunkte 29, verbunden ist.
  • 5 zeigt dem hinteren Unterbau gemäß der 1 in Schnittdarstellung entlang der Schnittlinie A-A gemäß der 2. Wie daraus ersichtlich ist, ist die Knotenstruktur 7 mit der Hinterrahmenstruktur 2 und der inneren Schwellerstruktur 6 unter Bildung eines Hohlraumes 8 verbunden.
  • Dazu liegt die Bodenwandung 12 der Hinterrahmenstruktur 2 mit seinem der inneren Schwellerstruktur 6 zugewandten Endbereich an einem Flächenabschnitt der inneren Schwellerstruktur 6 an und ist dort mit der Schwellerstruktur 6 bevorzugt mittels Schweißen, insbesondere durch Schweißpunkte 31, fest verbunden.
  • Ferner ist aus 5 ersichtlich, dass die Hinterrahmenstruktur 2 an ihrem sich nach vorne, bis über die Abschlussstruktur 5 erstreckenden Bereich eine im Wesentlichen vertikale Seitenwandung 9 aufweist welche an ihrem oberen Endbereich mit der Knotenstruktur 7 verbunden ist. Dazu kann an dem oberen Endbereich der Seitenwandung 9 und/oder an der Knotenstruktur 7 wenigstens ein Flanschabschnitt 28 angeordnet sein bzw. angeformt sein, an welchem die Verschweißung von Seitenwandung 9 und Knotenstruktur 7 erfolgt.
  • Der der hintere Unterbau 1 weist eine zusätzliche Knotenstruktur 11 auf, welche bevorzugt durch ein geformtes Blechteil gebildet ist. Durch die zusätzliche Knotenstruktur 11 ist die Bodenwandung 12 der Hinterrahmenstruktur 2 mit der Bodenstruktur 4 verbunden. Die zusätzliche Knotenstruktur 11 ist dazu bevorzugt mit der Bodenwandung 12 der Hinterrahmenstruktur 2 mittels Schweißen, insbesondere durch Schweißpunkte 30 verbunden.
  • Bevorzugt ist die zusätzliche Knotenstruktur 11 mit der Bodenstruktur 4 an demjenigen Verbindungsbereich 13 verbunden, an dem bereits die Bodenstruktur 4 mit der Knotenstruktur 7 verbunden ist.
  • Bevorzugt bilden die zusätzliche Knotenstruktur 11 und die Knotenstruktur 7 mit der vertikalen Seitenwandung 9 der Hinterrahmenstruktur 2 einen weiteren Hohlraum 14, welcher an den Hohlraum 8 angrenzt.
  • 4 zeigt die zusätzlichen Knotenstrukturen 11 und das Fersenblech 5. Wie daraus ersichtlich ist, ist die zusätzliche Knotenstruktur 11 bevorzugt auch mit dem Fersenblech 5 verbunden. Dazu weist das Fersenblech 5 bevorzugt an ihrer unteren Seite einen zumindest teilweise entlang der Seite verlaufenden Flanschabschnitt 32 auf. Daran liegt endseitig ein Abschnitt der zusätzlichen Knotenstruktur 11 an und ist mittels Schweißen an dem Fersenblech 5, insbesondere Punktschweißen mittels Schweißpunkten 35 fest verbunden.
  • Der erfindungsgemäße hintere Unterbau weist eine hohe Gesamtsteifigkeit, insbesondere Torsionssteifigkeit auf, durch welche bei einem heckseitigen Aufprall ein optimaler Schutz der Fondspassagiere im Fahrgastraum sichergestellt ist. Auch ist durch den erfindungsgemäßen hinteren Unterbau gewährleistet, dass zur Fertigung von Kleinwagen auf das Konzept für die Hinterrahmenstruktur der nächstgrößeren Fahrzeugklasse zurückgegriffen werden kann. Dadurch ist der Entwicklungsaufwand, insbesondere der Aufwand bei der Crash- und Dauerlaufentwicklung, der Werkzeugfertigung und der Ziehsimulation, gegenüber einer kompletten Neuentwicklung deutlich reduziert. Es können bereits vorhandene Bauteile und Fertigungseinrichtungen der nächstgrößeren Fahrzeugklasse verwendet werden. Dazu sind lediglich geringfügige Modifikationen vorzunehmen. Der erfindungsgemäße hintere Unterbau ermöglicht somit auch eine kostengünstige Entwicklung und Fertigung eines Fahrzeuges.
  • Bezugszeichenliste
  • 1
    Hinterer Unterbau
    2
    Hinterrahmenstruktur
    3
    Fußraum
    4
    Bodenstruktur
    5
    Abschlussstruktur
    6
    Schwellerstruktur
    7
    Knotenstruktur
    8
    Hohlraum
    9
    Vertikale Seitenwandung
    10
    Oberer Abschluss
    11
    Zusätzliche Knotenstruktur
    12
    Bodenwandung
    13
    Verbindungsbereich
    14
    Weiterer Hohlraum
    15a
    Träger
    15b
    Träger
    16a
    Schließblech
    16b
    Schließblech
    17
    Fahrtrichtung
    18
    Mittelkonsole
    19
    Schweißpunkte
    19'
    Flanschabschnitt
    20
    Schweißpunkte
    21
    Flanschabschnitt
    22
    Schweißpunkte
    23
    Flanschabschnitt
    24
    Schweißpunkte
    25
    Flanschabschnitt
    26
    Hinterer Boden
    27
    Halterung
    28
    Flanschabschnitt
    29
    Schweißpunkte
    30
    Schweißpunkte
    31
    Schweißpunkte
    32
    Flanschabschnitt
    33
    horizontale Wandung
    34
    vertikale Wandung
    35
    Schweißpunkte

Claims (14)

  1. Hinterer Unterbau (1) für ein Fahrzeug mit einer Hinterrahmenstruktur (2), einer den Boden für den Fußraum (3) des Fahrzeuges bildenden Bodenstruktur (4) und mit einer den Fußraum (3) nach hinten begrenzenden Abschlussstruktur (5), dadurch gekennzeichnet, dass die Hinterrahmenstruktur (2) sich zumindest teilweise nach vorne bis über die Abschlussstruktur (5) erstreckt.
  2. Unterbau nach Anspruch 1, dadurch gekennzeichnet, dass die Hinterrahmenstruktur (2) zumindest teilweise in den hinteren Fußraum (3), insbesondere den äußeren Bereich des hinteren Fußraumes (3), ragt.
  3. Unterbau nach Anspruch 1 oder 2, dadurch gekennzeichnet, dass die Hinterrahmenstruktur (2) mit der Bodenstruktur (4) verbunden ist.
  4. Unterbau nach einem der vorhergehenden Ansprüche, dadurch gekennzeichnet, dass die Hinterrahmenstruktur (2) mit wenigstens einer Schwellerstruktur, insbesondere inneren Schwellerstruktur (6) verbunden ist.
  5. Unterbau nach einem der vorhergehenden Ansprüche, dadurch gekennzeichnet, dass wenigstens eine Knotenstruktur (7) vorgesehen ist, welche mit der Hinterrahmenstruktur (2) und einer Schwellerstuktur, insbesondere inneren Schwellerstruktur (6), unter Bildung eines Hohlraumes (8) verbunden ist.
  6. Unterbau nach Anspruch 5, dadurch gekennzeichnet, dass die wenigstens eine Knotenstruktur (7) mit der Abschlussstruktur (5) verbunden ist.
  7. Unterbau nach Anspruch 5 oder 6, dadurch gekennzeichnet, dass die Hinterrahmenstruktur (2) an ihrem sich zumindest teilweise nach vorne bis über die Abschlussstruktur (5) erstreckenden Bereich eine im wesentliche vertikale Seitenwandung (9) aufweist, welche an ihrem oberen Endbereich mit der Knotenstruktur (7) verbunden ist.
  8. Unterbau nach einem der Ansprüche 5 bis 7, dadurch gekennzeichnet, dass die Knotenstruktur (7) eine vertikale Seitenwandung (9) der Hinterrahmenstruktur (2) zum Fußraum (3) hin überdeckt.
  9. Unterbau nach einem der Ansprüche 5 bis 8, dadurch gekennzeichnet, dass die Knotenstruktur (7) mit der Bodenstruktur (4) verbunden ist.
  10. Unterbau nach einem der Ansprüche 5 bis 9, dadurch gekennzeichnet, dass in vertikaler Richtung gesehen, mit zunehmender Erstreckung der Hinterrahmenstruktur (2) in den Fußraum (3) der Abstand zwischen dem oberen Abschluss (10) der Hinterrahmenstruktur (2) und/oder der Knotenstruktur (7) kleiner wird.
  11. Unterbau nach einem der vorhergehenden Ansprüche, dadurch gekennzeichnet, dass eine zusätzliche Knotenstruktur (11) vorgesehen ist, durch welche die Bodenwandung (12) der Hinterrahmenstruktur (2) mit der Bodenstruktur (4) verbunden ist.
  12. Unterbau nach Anspruch 11, dadurch gekennzeichnet, dass Knotenstruktur (7), zusätzliche Knotenstruktur (11) und Bodenstruktur (4) in einem gemeinsamen Verbindungsbereich (13) miteinander verbunden sind.
  13. Unterbau nach Anspruch 11 oder 12, dadurch gekennzeichnet, dass die zusätzliche Knotenstruktur (11) mit der Abschlussstruktur (5) verbunden ist.
  14. Unterbau nach einem der Ansprüche 11 bis 13, dadurch gekennzeichnet, dass die Knotenstruktur (7), die zusätzliche Knotenstruktur (11) und die vertikale Seitenwandung (9) der Hinterrahmenstruktur (2) einen weiteren Hohlraum (14) bilden.
DE102010023075A 2010-06-08 2010-06-08 Hinterer Unterbau für ein Fahrzeug Withdrawn DE102010023075A1 (de)

Priority Applications (5)

Application Number Priority Date Filing Date Title
DE102010023075A DE102010023075A1 (de) 2010-06-08 2010-06-08 Hinterer Unterbau für ein Fahrzeug
GB1108744.2A GB2481095B (en) 2010-06-08 2011-05-24 Rear underbody for a vehicle
US13/153,201 US8376454B2 (en) 2010-06-08 2011-06-03 Rear underbody for a vehicle
RU2011122575/11A RU2011122575A (ru) 2010-06-08 2011-06-06 Задняя нижняя часть транспортного средства
CN2011102750672A CN102381367A (zh) 2010-06-08 2011-06-08 用于车辆的后部车身底板

Applications Claiming Priority (1)

Application Number Priority Date Filing Date Title
DE102010023075A DE102010023075A1 (de) 2010-06-08 2010-06-08 Hinterer Unterbau für ein Fahrzeug

Publications (1)

Publication Number Publication Date
DE102010023075A1 true DE102010023075A1 (de) 2011-12-08

Family

ID=44279559

Family Applications (1)

Application Number Title Priority Date Filing Date
DE102010023075A Withdrawn DE102010023075A1 (de) 2010-06-08 2010-06-08 Hinterer Unterbau für ein Fahrzeug

Country Status (5)

Country Link
US (1) US8376454B2 (de)
CN (1) CN102381367A (de)
DE (1) DE102010023075A1 (de)
GB (1) GB2481095B (de)
RU (1) RU2011122575A (de)

Cited By (3)

* Cited by examiner, † Cited by third party
Publication number Priority date Publication date Assignee Title
DE102020111260B4 (de) 2019-07-02 2021-09-16 Toyota Jidosha Kabushiki Kaisha Fahrzeugkörperunterteilstruktur
US11465689B2 (en) 2018-12-06 2022-10-11 Toyota Jidosha Kabushiki Kaisha Vehicle body structure
EP4003816B1 (de) * 2019-07-25 2024-10-16 Volkswagen Aktiengesellschaft Karosseriestruktur für ein elektrisch betriebenes fahrzeug

Families Citing this family (10)

* Cited by examiner, † Cited by third party
Publication number Priority date Publication date Assignee Title
DE102009056840A1 (de) * 2009-12-03 2011-06-09 GM Global Technology Operations LLC, ( n. d. Ges. d. Staates Delaware ), Detroit Unterbaustruktur einer Kraftfahrzeugkarosserie
DE102011115586A1 (de) 2011-10-11 2013-04-11 GM Global Technology Operations LLC (n. d. Gesetzen des Staates Delaware) Unterbaustruktur für wenigstens zwei Kraftfahrzeuge, insbes. für wenigstens zwei Personenkraftwagen
DE102012006527A1 (de) * 2012-03-29 2013-10-02 GM Global Technology Operations LLC (n.d. Ges. d. Staates Delaware) Bodenstruktur einer Kraftfahrzeugkarosserie
JP5560298B2 (ja) * 2012-04-05 2014-07-23 本田技研工業株式会社 車体前部構造
DE102015208312A1 (de) * 2015-05-05 2016-11-10 Volkswagen Aktiengesellschaft Zweispuriges Fahrzeug
DE102015221935B4 (de) * 2015-11-09 2017-11-09 Volkswagen Aktiengesellschaft Karosseriestruktur für ein zweispuriges Fahrzeug
CN108430857B (zh) * 2016-01-06 2020-10-27 日本制铁株式会社 车辆后部构造
US10112650B2 (en) 2016-12-21 2018-10-30 Honda Motor Co., Ltd. Vehicle frame assembly
KR102664126B1 (ko) * 2019-12-16 2024-05-09 현대자동차주식회사 차량용 사이드실구조
CN119527436B (zh) * 2024-12-18 2025-09-09 岚图汽车科技有限公司 一种中地板结构、车身地板总成及车辆

Citations (5)

* Cited by examiner, † Cited by third party
Publication number Priority date Publication date Assignee Title
DE742977C (de) * 1941-02-23 1944-06-17 Daimler Benz Ag Plattformrahmen fuer Kraftfahrzeuge
DE2408548A1 (de) * 1974-02-22 1975-08-28 Audi Nsu Auto Union Ag Wagenkastenunterrahmen fuer kraftfahrzeuge
DE3114379C2 (de) * 1981-04-09 1986-11-20 Dr.Ing.H.C. F. Porsche Ag, 7000 Stuttgart Aufbaustruktur eines Personenkraftwagens
JP2007296932A (ja) * 2006-04-28 2007-11-15 Honda Motor Co Ltd 自動車の車体後部構造
US20100072786A1 (en) * 2008-09-24 2010-03-25 Suzuki Motor Corporation Vehicle body rear structure

Family Cites Families (12)

* Cited by examiner, † Cited by third party
Publication number Priority date Publication date Assignee Title
NL270496A (de) * 1960-11-10
US3759540A (en) * 1971-12-13 1973-09-18 Gen Electric Vehicle chassis
US4836600A (en) * 1987-04-21 1989-06-06 Nissan Motor Co., Ltd. Floor structure for modular vehicle body
JPH0353384U (de) * 1989-09-30 1991-05-23
EP0512576B1 (de) * 1991-05-10 1995-08-09 Mazda Motor Corporation Fahrzeugmontageverfahren und Fahrzeugkarosserie
JP3470050B2 (ja) * 1998-11-13 2003-11-25 本田技研工業株式会社 自動車の車体フレーム構造
DE20023723U1 (de) 2000-12-01 2005-10-27 Dr.Ing.H.C. F. Porsche Ag Fahrzeug mit einer Bodenaufbaustruktur
FR2829457B1 (fr) * 2001-09-13 2004-12-03 Peugeot Citroen Automobiles Sa Chassis de vehicule automobile
JP4051011B2 (ja) * 2003-08-26 2008-02-20 本田技研工業株式会社 車体構造
JP2006096184A (ja) * 2004-09-29 2006-04-13 Mazda Motor Corp 車体下部構造
US7270369B2 (en) * 2004-09-22 2007-09-18 Mazda Motor Corporation Automobile underbody structure
DE102008020527A1 (de) * 2008-04-24 2009-10-29 GM Global Technology Operations, Inc., Detroit Rahmenstruktur für ein Kraftfahrzeug

Patent Citations (5)

* Cited by examiner, † Cited by third party
Publication number Priority date Publication date Assignee Title
DE742977C (de) * 1941-02-23 1944-06-17 Daimler Benz Ag Plattformrahmen fuer Kraftfahrzeuge
DE2408548A1 (de) * 1974-02-22 1975-08-28 Audi Nsu Auto Union Ag Wagenkastenunterrahmen fuer kraftfahrzeuge
DE3114379C2 (de) * 1981-04-09 1986-11-20 Dr.Ing.H.C. F. Porsche Ag, 7000 Stuttgart Aufbaustruktur eines Personenkraftwagens
JP2007296932A (ja) * 2006-04-28 2007-11-15 Honda Motor Co Ltd 自動車の車体後部構造
US20100072786A1 (en) * 2008-09-24 2010-03-25 Suzuki Motor Corporation Vehicle body rear structure

Cited By (5)

* Cited by examiner, † Cited by third party
Publication number Priority date Publication date Assignee Title
US11465689B2 (en) 2018-12-06 2022-10-11 Toyota Jidosha Kabushiki Kaisha Vehicle body structure
DE102019127603B4 (de) 2018-12-06 2022-11-17 Toyota Jidosha Kabushiki Kaisha Fahrzeugkarosserieaufbau
DE102020111260B4 (de) 2019-07-02 2021-09-16 Toyota Jidosha Kabushiki Kaisha Fahrzeugkörperunterteilstruktur
US11214316B2 (en) 2019-07-02 2022-01-04 Toyota Jidosha Kabushiki Kaisha Vehicle body lower part structure
EP4003816B1 (de) * 2019-07-25 2024-10-16 Volkswagen Aktiengesellschaft Karosseriestruktur für ein elektrisch betriebenes fahrzeug

Also Published As

Publication number Publication date
GB2481095A (en) 2011-12-14
RU2011122575A (ru) 2012-12-20
US8376454B2 (en) 2013-02-19
GB2481095B (en) 2016-12-21
US20110298246A1 (en) 2011-12-08
CN102381367A (zh) 2012-03-21
GB201108744D0 (en) 2011-07-06

Similar Documents

Publication Publication Date Title
DE102010023075A1 (de) Hinterer Unterbau für ein Fahrzeug
EP1525132B1 (de) Bodenträgeranordnung an kraftfahrzeugen
DE102009012057B4 (de) Vorrichtung zum Aufnehmen von Seitenkräften und Kraftfahrzeug mit einer derartigen Vorrichtung
DE102016212297B4 (de) Kraftfahrzeug
EP2441653B1 (de) Bodengruppe für eine Mehrzahl von Bauvarianten einer Karosserie eines Personenkraftwagens, insbesondere mit Heckantriebsaggregat
DE102010039109B4 (de) Kraftfahrzeug
DE10235382A1 (de) Aufbaustruktur eines Personenkraftwagens
DE19738833A1 (de) Kraftfahrzeug mit einer Bodenanlage
WO2008043402A1 (de) Trägerteil für ein frontendmodul eines personenkraftwagens
EP2637913A1 (de) Querträgeranordnung, insbesondere bodenquerträger- und/oder fussraumquerträgeranordnung, an einer fahrzeugkarosserie, insbesondere an einer kraftfahrzeugkarosserie
DE102010051256A1 (de) Kraftfahrzeugkarosserie mit Verstärkungsstruktur
DE102011117682A1 (de) Längsrahmen für die Unterbaustruktur eines Kraftfahrzeuges und Kraftfahrzeug-Unterbaustruktur
DE102009059827A1 (de) Karosseriestruktur für Kraftfahrzeuge
DE102011015542A1 (de) Schottstruktur, Wasserkasten und Vorderwagen für ein Kraftfahrzeug
DE202014103332U1 (de) Bodenbaugruppe für Fahrzeuge und Fahrzeug mit einer solchen Bodenbaugruppe
DE102012020865A1 (de) Kraftfahrzeugkarosserie
DE102004050435B4 (de) Stoßfängersystem für Kraftfahrzeug
DE102008019593B4 (de) Hilfsrahmen im Fahrwerksbereich eines zweispurigen Fahrzeugs
DE10149116C1 (de) Großflächiges Karosserieelement, insbesondere Motor- bzw. Fronthaube eines Kraftfahrzeuges
DE102008009088B4 (de) Karosserie eines Kraftfahrzeugs mit einem Seitenschweller
DE202009017309U1 (de) Unterbodenverkleidung
DE102011121906A1 (de) Bodenstruktur einer Kraftfahrzeugkarosserie
EP1728707B1 (de) Fahrgastzelle für einen Personenkraftwagen
DE102006004045B4 (de) Cabriolet-Fahrzeugkarosserie mit einer Tragstruktur
EP1592586A1 (de) Frontendbereich

Legal Events

Date Code Title Description
R163 Identified publications notified
R012 Request for examination validly filed
R082 Change of representative

Representative=s name: LKGLOBAL ] LORENZ & KOPF PARTG MBB PATENTANWAE, DE

R119 Application deemed withdrawn, or ip right lapsed, due to non-payment of renewal fee