DE102008037250A1 - Quick start for low pressure mercury lamp - Google Patents
Quick start for low pressure mercury lamp Download PDFInfo
- Publication number
- DE102008037250A1 DE102008037250A1 DE102008037250A DE102008037250A DE102008037250A1 DE 102008037250 A1 DE102008037250 A1 DE 102008037250A1 DE 102008037250 A DE102008037250 A DE 102008037250A DE 102008037250 A DE102008037250 A DE 102008037250A DE 102008037250 A1 DE102008037250 A1 DE 102008037250A1
- Authority
- DE
- Germany
- Prior art keywords
- pressure mercury
- mercury lamp
- current
- lamp
- low pressure
- Prior art date
- Legal status (The legal status is an assumption and is not a legal conclusion. Google has not performed a legal analysis and makes no representation as to the accuracy of the status listed.)
- Withdrawn
Links
Classifications
-
- H—ELECTRICITY
- H05—ELECTRIC TECHNIQUES NOT OTHERWISE PROVIDED FOR
- H05B—ELECTRIC HEATING; ELECTRIC LIGHT SOURCES NOT OTHERWISE PROVIDED FOR; CIRCUIT ARRANGEMENTS FOR ELECTRIC LIGHT SOURCES, IN GENERAL
- H05B41/00—Circuit arrangements or apparatus for igniting or operating discharge lamps
- H05B41/14—Circuit arrangements
- H05B41/36—Controlling
- H05B41/38—Controlling the intensity of light
- H05B41/382—Controlling the intensity of light during the transitional start-up phase
- H05B41/386—Controlling the intensity of light during the transitional start-up phase for speeding-up the lighting-up
Landscapes
- Discharge Lamps And Accessories Thereof (AREA)
Abstract
Die Erfindung betrifft ein Verfahren zum Betreiben einer Niederdruckquecksilberlampe, wobei in einer Startphase der Strom gegenüber einer nachfolgenden Betriebsphase wesentlich erhöht wird, sowie eine Niederdruckquecksilberlampe umfassend einen mit Edelgas gefüllten Lampenkolben, sowie zwei Elektroden.The invention relates to a method for operating a low-pressure mercury lamp, wherein in a starting phase, the current compared to a subsequent operating phase is substantially increased, and a low-pressure mercury lamp comprising a lamp bulb filled with inert gas, and two electrodes.
Description
Die Erfindung betrifft eine Schnellstart-Niederdruckquecksilberlampe und ein Verfahren zum Betreiben dieser Lampe.The The invention relates to a quick start low pressure mercury lamp and a method of operating this lamp.
Klassische Niederdrucklampen bieten einen ausgezeichneten Wirkungsgrad. 40% der elektrischen Leistung wird in UV-C-Strahlung bei 254 nm umgewandelt. Üblicherweise werden diese Lampen für die Entkeimung in Luft und Wasser eingesetzt. Dafür typische Einsatzgebiete sind unter anderem die Trinkwasserentkeimung und die Brauchwasseraufbereitung in der Industrie, die Wasserentkeimung in der Fischzucht, aber auch Desinfektion von Luft in Klima- und Kühlanlagen und die Oberflächendesinfektion.Classical Low pressure lamps offer excellent efficiency. 40% the electrical power is converted to UV-C radiation at 254 nm. Usually These lamps are for used the sterilization in air and water. For typical Areas of application include drinking water sterilization and the process water treatment in the industry, the water sterilization in fish farming, but also disinfection of air in air conditioning and refrigeration systems and the surface disinfection.
Die
bisher bekannten und verwendeten Lampen haben jedoch alle den Nachteil,
dass sie einige Minuten benötigen
um die volle UV-Leistung zu erreichen, da das Quecksilber normalerweise
nach der Zündung
noch in flüssiger
Form vorliegt. In der Gasphase befindet sich in diesem Moment nur
ein Bruchteil des für
den optimalen Lampenbetrieb notwendigen Quecksilbers. Der Rest der
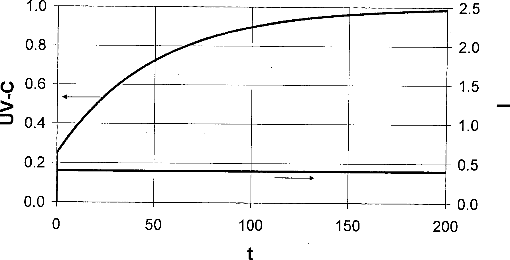
Gasphase besteht aus Edelgas. Erst die Erwärmung durch die Edelgasentladung
bringt das Quecksilber in die gasförmige Phase, so dass die UV-Leistung
der Lampe ihr erwartetes Niveau erreicht, wie in
Die bisher bekannten Niederdruckquecksilberlampen werden meist bei einem Betriebsstrom von 0,2 A bis 1,0 A betrieben und sind baubedingt nicht in der Lage höhere Betriebsströme auszuhalten.The previously known low pressure mercury lamps are usually at a Operating current of 0.2 A to 1.0 A operated and are not building due capable of higher operating currents unbearable.
Aufgabe der Erfindung ist es daher, eine Schnellstartlampe und ein Verfahren bereitzustellen, mit welchem eine Niederdruckquecksilberlampe bereits nach kurzer Zeit die volle UV-Leistung erreicht. Diese Aufgabe wird bereits mit den Merkmalen des unabhängigen Anspruchs gelöst.task The invention therefore provides a quick start lamp and a method to provide with which a low-pressure mercury lamp already achieved the full UV power after a short time. This task will already solved with the features of the independent claim.
Das
erfindungsgemäße Verfahren
zum Betreiben einer Quecksilberlampe sieht vor, dass in der Startphase
der Strom gegenüber
der nachfolgenden Betriebsphase deutlich erhöht wird. Es hat sich gezeigt,
dass eine derartige Erhöhung
dazu führt,
dass beispielsweise eine UV-Standardlampe
bei einem Betriebsstrom von 425 mA einen Anlaufstrom von ca. 2 A
für 3–5 Sekunden
braucht. Der erhöhte
Strom sorgt dafür,
dass trotz des nicht optimalen Dampfdrucks von Quecksilber im Strahler
genügend
und praktisch sofort UV Licht produziert wird. Nach 3–5 Sekunden
wird der Strahler so erhitzt, dass der optimale Dampfdruck erreicht
wird und der Strom auf normales Niveau reduziert wird. Dies bedeutet,
dass die Anlaufzeit sich von ca. 3 Minuten auf 0,5 Sekunde verkürzt und
somit die Lampe bereits nach eine halbe Sekunde ihre volle UV-Leistung
entfalten kann, wie in
Die erfindungsgemäße Schnellstartlampe ist mit Elektroden ausgerüstet, deren Wendeln den erhöhten Strom in der Startphase aushalten. Dabei sind die Elektroden der Niederdruckquecksilberlampen derart ausgestaltet, dass sie einen Startsstrom von 1,0 A bis 5,0 A bevorzugt 1,5 bis 4,0 A aushalten. Diese Stromstärke ist notwendig, um möglichst schnell die volle UV-Leistung der Niederdruckquecksilberlampen zu erzielen. Nach Erreichen des optimalen Dampfdrucks vom Quecksilber wird die erfindungsgemäße Niederdruckquecksilberlampe in der Betriebsphase bei 0,2 A bis 1,0 A betrieben. Die Niederdruckquecksilberlampe ist somit in der Lage höhere Stromstärken für kurze Augenblicke Stand zu halten und somit deutlich schneller den normalen Betriebszustand zu erreichen.The Quick start lamp according to the invention is equipped with electrodes, whose spirals raised the Withstand electricity in the starting phase. The electrodes are the Low-pressure mercury lamps designed such that they have a Starting current of 1.0 A to 5.0 A, preferably endure 1.5 to 4.0 A. These amperage is necessary to get as fast as possible the full UV power to achieve the low-pressure mercury lamps. After reaching the optimum vapor pressure of mercury is the low-pressure mercury lamp according to the invention operated in the operating phase at 0.2 A to 1.0 A. The low pressure mercury lamp is thus capable of higher currents for a short time Moments to withstand and thus much faster the normal To reach operating status.
Claims (6)
Priority Applications (1)
| Application Number | Priority Date | Filing Date | Title |
|---|---|---|---|
| DE102008037250A DE102008037250A1 (en) | 2008-06-19 | 2008-08-09 | Quick start for low pressure mercury lamp |
Applications Claiming Priority (3)
| Application Number | Priority Date | Filing Date | Title |
|---|---|---|---|
| DE102008028833.0 | 2008-06-19 | ||
| DE102008028833 | 2008-06-19 | ||
| DE102008037250A DE102008037250A1 (en) | 2008-06-19 | 2008-08-09 | Quick start for low pressure mercury lamp |
Publications (1)
| Publication Number | Publication Date |
|---|---|
| DE102008037250A1 true DE102008037250A1 (en) | 2009-12-31 |
Family
ID=41055085
Family Applications (1)
| Application Number | Title | Priority Date | Filing Date |
|---|---|---|---|
| DE102008037250A Withdrawn DE102008037250A1 (en) | 2008-06-19 | 2008-08-09 | Quick start for low pressure mercury lamp |
Country Status (3)
| Country | Link |
|---|---|
| EP (1) | EP2289290A1 (en) |
| DE (1) | DE102008037250A1 (en) |
| WO (1) | WO2009153030A1 (en) |
Family Cites Families (7)
| Publication number | Priority date | Publication date | Assignee | Title |
|---|---|---|---|---|
| US5230792A (en) * | 1990-01-24 | 1993-07-27 | Christian Sauska | Ultraviolet water purification system with variable intensity control |
| US5324423A (en) * | 1993-02-11 | 1994-06-28 | Amway Corporation | UV bulb intensity control for water treatment system |
| US5611918A (en) * | 1995-08-02 | 1997-03-18 | Amway Corporation | Electronic driver for water treatment system UV bulb |
| US5907742A (en) * | 1997-03-09 | 1999-05-25 | Hewlett-Packard Company | Lamp control scheme for rapid warmup of fluorescent lamp in office equipment |
| US5914871A (en) * | 1998-07-13 | 1999-06-22 | Mustek Systems, Inc. | Device for multi-stage illuminance control for light source of scanner |
| FR2805957B1 (en) * | 2000-03-02 | 2002-06-28 | Sagem | LIGHTING LAMP POWER SUPPLY PARTICULARLY FOR SCANNING |
| KR101334206B1 (en) * | 2007-06-27 | 2013-11-29 | 삼성전자주식회사 | Image scanning apparatus and method thereof |
-
2008
- 2008-08-09 DE DE102008037250A patent/DE102008037250A1/en not_active Withdrawn
-
2009
- 2009-06-17 EP EP09765610A patent/EP2289290A1/en not_active Withdrawn
- 2009-06-17 WO PCT/EP2009/004362 patent/WO2009153030A1/en not_active Ceased
Also Published As
| Publication number | Publication date |
|---|---|
| WO2009153030A1 (en) | 2009-12-23 |
| EP2289290A1 (en) | 2011-03-02 |
Similar Documents
| Publication | Publication Date | Title |
|---|---|---|
| DE112014001004T5 (en) | LED lighting system | |
| DE3232802A1 (en) | METHOD AND DEVICE FOR PRODUCING ULTRAVIOLETTER RADIATION | |
| WO2010063723A1 (en) | Mercury vapor lamp, method for sterilizing liquids and liquid sterilization device | |
| DE740922C (en) | Arrangement for operating a water-cooled high-pressure mercury discharge lamp | |
| DE102008037250A1 (en) | Quick start for low pressure mercury lamp | |
| EP2311069B1 (en) | Quick-start for low-pressure mercury amalgam lamps | |
| DE102010014040A1 (en) | Method for operating an amalgam lamp | |
| DE102009000092A1 (en) | Liquid sterilization device and method for sterilizing liquids | |
| WO2015162089A1 (en) | Device for the photochemical treatment or cleaning of a liquid medium | |
| DE102005006828A1 (en) | discharge lamp ballast | |
| DE691570C (en) | Electric high pressure discharge lamp with an operating vapor pressure of more than 5 atmospheres | |
| DE102023000526A1 (en) | Metal halide lamp with increased UV-A yield | |
| DE965429C (en) | High-pressure metal vapor discharge vessel, in particular a light tube, with a light-permeable envelope vessel and an ignition gas | |
| DE1764599A1 (en) | Combined incandescent and fluorescent lamp | |
| AT158511B (en) | High pressure metal vapor arc lamp. | |
| WO2009053226A1 (en) | Method and device for operating a gas discharge lamp | |
| Hilscher | Antonio Salieri und die Feste des Wiener Kongresses | |
| AT134747B (en) | Lighting system with a gas-filled electrical discharge tube with one or more glow electrodes. | |
| AT83343B (en) | Device to improve the red light in neon lighting. | |
| AT28642B (en) | Mercury vapor lamp. | |
| DE102013107499A1 (en) | Device and method for directly operating a plurality of light emitting diodes on a pulsating DC voltage | |
| DE102011007492A1 (en) | Light source device, has controlling unit actuating driving apparatus, and excitation beam sources that lie in predetermined range of values, where output power with specified value is not element of predetermined range of values | |
| DE102006060773A1 (en) | Method e.g. for operating high-pressure discharge lamp, involves switching through start-up phase until it reaches operational phase and intermittent operation is provided between two levels with switching taking place | |
| WO2008119537A1 (en) | Lamp for use as a tanning lamp for a tanning device for tanning human skin | |
| DE2542133A1 (en) | THREE-PHASE GAS DISCHARGE LAMP |
Legal Events
| Date | Code | Title | Description |
|---|---|---|---|
| OP8 | Request for examination as to paragraph 44 patent law | ||
| R120 | Application withdrawn or ip right abandoned |
Effective date: 20130305 |
