DE10112624B4 - Method for producing an optical fiber preform and use of a deposition burner for this purpose - Google Patents
Method for producing an optical fiber preform and use of a deposition burner for this purpose Download PDFInfo
- Publication number
- DE10112624B4 DE10112624B4 DE10112624A DE10112624A DE10112624B4 DE 10112624 B4 DE10112624 B4 DE 10112624B4 DE 10112624 A DE10112624 A DE 10112624A DE 10112624 A DE10112624 A DE 10112624A DE 10112624 B4 DE10112624 B4 DE 10112624B4
- Authority
- DE
- Germany
- Prior art keywords
- reaction zone
- nozzle
- oxygen
- gas
- burner
- Prior art date
- Legal status (The legal status is an assumption and is not a legal conclusion. Google has not performed a legal analysis and makes no representation as to the accuracy of the status listed.)
- Expired - Fee Related
Links
- 230000008021 deposition Effects 0.000 title claims abstract description 42
- 238000004519 manufacturing process Methods 0.000 title claims abstract description 9
- 239000013307 optical fiber Substances 0.000 title claims abstract description 9
- 239000007789 gas Substances 0.000 claims abstract description 82
- 238000006243 chemical reaction Methods 0.000 claims abstract description 69
- 239000001301 oxygen Substances 0.000 claims abstract description 61
- 229910052760 oxygen Inorganic materials 0.000 claims abstract description 61
- QVGXLLKOCUKJST-UHFFFAOYSA-N atomic oxygen Chemical compound [O] QVGXLLKOCUKJST-UHFFFAOYSA-N 0.000 claims abstract description 56
- 238000000926 separation method Methods 0.000 claims abstract description 38
- 239000002737 fuel gas Substances 0.000 claims abstract description 36
- 239000002019 doping agent Substances 0.000 claims abstract description 26
- 239000002245 particle Substances 0.000 claims abstract description 14
- 229910004298 SiO 2 Inorganic materials 0.000 claims abstract description 13
- 230000007062 hydrolysis Effects 0.000 claims abstract description 9
- 238000006460 hydrolysis reaction Methods 0.000 claims abstract description 9
- XUIMIQQOPSSXEZ-UHFFFAOYSA-N Silicon Chemical compound [Si] XUIMIQQOPSSXEZ-UHFFFAOYSA-N 0.000 claims abstract description 6
- 229910052710 silicon Inorganic materials 0.000 claims abstract description 6
- 239000010703 silicon Substances 0.000 claims abstract description 6
- 238000000151 deposition Methods 0.000 claims description 41
- 238000000034 method Methods 0.000 claims description 33
- 229910005793 GeO 2 Inorganic materials 0.000 claims description 15
- 239000000446 fuel Substances 0.000 claims description 13
- 238000009826 distribution Methods 0.000 claims description 9
- 239000012159 carrier gas Substances 0.000 claims description 7
- 229910052732 germanium Inorganic materials 0.000 claims description 5
- GNPVGFCGXDBREM-UHFFFAOYSA-N germanium atom Chemical compound [Ge] GNPVGFCGXDBREM-UHFFFAOYSA-N 0.000 claims description 5
- 230000003647 oxidation Effects 0.000 description 19
- 238000007254 oxidation reaction Methods 0.000 description 19
- UFHFLCQGNIYNRP-UHFFFAOYSA-N Hydrogen Chemical compound [H][H] UFHFLCQGNIYNRP-UHFFFAOYSA-N 0.000 description 17
- 239000001257 hydrogen Substances 0.000 description 16
- 229910052739 hydrogen Inorganic materials 0.000 description 16
- 239000011521 glass Substances 0.000 description 13
- 229910003902 SiCl 4 Inorganic materials 0.000 description 12
- VYPSYNLAJGMNEJ-UHFFFAOYSA-N Silicium dioxide Chemical compound O=[Si]=O VYPSYNLAJGMNEJ-UHFFFAOYSA-N 0.000 description 11
- 239000004071 soot Substances 0.000 description 11
- VNWKTOKETHGBQD-UHFFFAOYSA-N methane Chemical compound C VNWKTOKETHGBQD-UHFFFAOYSA-N 0.000 description 10
- 239000007858 starting material Substances 0.000 description 8
- 230000008569 process Effects 0.000 description 7
- 238000005137 deposition process Methods 0.000 description 6
- 230000000694 effects Effects 0.000 description 5
- XKRFYHLGVUSROY-UHFFFAOYSA-N Argon Chemical compound [Ar] XKRFYHLGVUSROY-UHFFFAOYSA-N 0.000 description 4
- 230000000087 stabilizing effect Effects 0.000 description 4
- 238000005253 cladding Methods 0.000 description 3
- 238000002485 combustion reaction Methods 0.000 description 3
- YBMRDBCBODYGJE-UHFFFAOYSA-N germanium oxide Inorganic materials O=[Ge]=O YBMRDBCBODYGJE-UHFFFAOYSA-N 0.000 description 3
- 150000002431 hydrogen Chemical class 0.000 description 3
- 239000000203 mixture Substances 0.000 description 3
- 230000001590 oxidative effect Effects 0.000 description 3
- 230000001603 reducing effect Effects 0.000 description 3
- 239000000126 substance Substances 0.000 description 3
- IJGRMHOSHXDMSA-UHFFFAOYSA-N Atomic nitrogen Chemical compound N#N IJGRMHOSHXDMSA-UHFFFAOYSA-N 0.000 description 2
- MYMOFIZGZYHOMD-UHFFFAOYSA-N Dioxygen Chemical compound O=O MYMOFIZGZYHOMD-UHFFFAOYSA-N 0.000 description 2
- 229910052786 argon Inorganic materials 0.000 description 2
- 230000008859 change Effects 0.000 description 2
- 239000012530 fluid Substances 0.000 description 2
- 230000002028 premature Effects 0.000 description 2
- 230000005855 radiation Effects 0.000 description 2
- VXEGSRKPIUDPQT-UHFFFAOYSA-N 4-[4-(4-methoxyphenyl)piperazin-1-yl]aniline Chemical compound C1=CC(OC)=CC=C1N1CCN(C=2C=CC(N)=CC=2)CC1 VXEGSRKPIUDPQT-UHFFFAOYSA-N 0.000 description 1
- ZOXJGFHDIHLPTG-UHFFFAOYSA-N Boron Chemical compound [B] ZOXJGFHDIHLPTG-UHFFFAOYSA-N 0.000 description 1
- OKTJSMMVPCPJKN-UHFFFAOYSA-N Carbon Chemical compound [C] OKTJSMMVPCPJKN-UHFFFAOYSA-N 0.000 description 1
- PXGOKWXKJXAPGV-UHFFFAOYSA-N Fluorine Chemical compound FF PXGOKWXKJXAPGV-UHFFFAOYSA-N 0.000 description 1
- OAICVXFJPJFONN-UHFFFAOYSA-N Phosphorus Chemical compound [P] OAICVXFJPJFONN-UHFFFAOYSA-N 0.000 description 1
- RTAQQCXQSZGOHL-UHFFFAOYSA-N Titanium Chemical compound [Ti] RTAQQCXQSZGOHL-UHFFFAOYSA-N 0.000 description 1
- VVTSZOCINPYFDP-UHFFFAOYSA-N [O].[Ar] Chemical compound [O].[Ar] VVTSZOCINPYFDP-UHFFFAOYSA-N 0.000 description 1
- 230000032683 aging Effects 0.000 description 1
- 229910052782 aluminium Inorganic materials 0.000 description 1
- XAGFODPZIPBFFR-UHFFFAOYSA-N aluminium Chemical compound [Al] XAGFODPZIPBFFR-UHFFFAOYSA-N 0.000 description 1
- 230000004888 barrier function Effects 0.000 description 1
- 229910052796 boron Inorganic materials 0.000 description 1
- 239000000567 combustion gas Substances 0.000 description 1
- 238000010276 construction Methods 0.000 description 1
- 229910001882 dioxygen Inorganic materials 0.000 description 1
- 239000000835 fiber Substances 0.000 description 1
- 229910052731 fluorine Inorganic materials 0.000 description 1
- 239000011737 fluorine Substances 0.000 description 1
- 229940119177 germanium dioxide Drugs 0.000 description 1
- 229910002804 graphite Inorganic materials 0.000 description 1
- 239000010439 graphite Substances 0.000 description 1
- 229910052734 helium Inorganic materials 0.000 description 1
- 239000001307 helium Substances 0.000 description 1
- SWQJXJOGLNCZEY-UHFFFAOYSA-N helium atom Chemical compound [He] SWQJXJOGLNCZEY-UHFFFAOYSA-N 0.000 description 1
- 230000006872 improvement Effects 0.000 description 1
- 239000011261 inert gas Substances 0.000 description 1
- 239000007788 liquid Substances 0.000 description 1
- 230000014759 maintenance of location Effects 0.000 description 1
- 229910052757 nitrogen Inorganic materials 0.000 description 1
- 150000002894 organic compounds Chemical class 0.000 description 1
- PVADDRMAFCOOPC-UHFFFAOYSA-N oxogermanium Chemical compound [Ge]=O PVADDRMAFCOOPC-UHFFFAOYSA-N 0.000 description 1
- 229910052698 phosphorus Inorganic materials 0.000 description 1
- 239000011574 phosphorus Substances 0.000 description 1
- 230000000704 physical effect Effects 0.000 description 1
- 235000019353 potassium silicate Nutrition 0.000 description 1
- 230000002787 reinforcement Effects 0.000 description 1
- 230000003716 rejuvenation Effects 0.000 description 1
- 239000005049 silicon tetrachloride Substances 0.000 description 1
- 239000002210 silicon-based material Substances 0.000 description 1
- 210000002023 somite Anatomy 0.000 description 1
- 230000006641 stabilisation Effects 0.000 description 1
- 238000011105 stabilization Methods 0.000 description 1
- 239000006228 supernatant Substances 0.000 description 1
- 229910052715 tantalum Inorganic materials 0.000 description 1
- GUVRBAGPIYLISA-UHFFFAOYSA-N tantalum atom Chemical compound [Ta] GUVRBAGPIYLISA-UHFFFAOYSA-N 0.000 description 1
- IEXRMSFAVATTJX-UHFFFAOYSA-N tetrachlorogermane Chemical compound Cl[Ge](Cl)(Cl)Cl IEXRMSFAVATTJX-UHFFFAOYSA-N 0.000 description 1
- 229910052719 titanium Inorganic materials 0.000 description 1
- 239000010936 titanium Substances 0.000 description 1
- 238000007740 vapor deposition Methods 0.000 description 1
Classifications
-
- C—CHEMISTRY; METALLURGY
- C03—GLASS; MINERAL OR SLAG WOOL
- C03B—MANUFACTURE, SHAPING, OR SUPPLEMENTARY PROCESSES
- C03B37/00—Manufacture or treatment of flakes, fibres, or filaments from softened glass, minerals, or slags
- C03B37/01—Manufacture of glass fibres or filaments
- C03B37/012—Manufacture of preforms for drawing fibres or filaments
- C03B37/014—Manufacture of preforms for drawing fibres or filaments made entirely or partially by chemical means, e.g. vapour phase deposition of bulk porous glass either by outside vapour deposition [OVD], or by outside vapour phase oxidation [OVPO] or by vapour axial deposition [VAD]
- C03B37/01413—Reactant delivery systems
- C03B37/0142—Reactant deposition burners
-
- C—CHEMISTRY; METALLURGY
- C03—GLASS; MINERAL OR SLAG WOOL
- C03B—MANUFACTURE, SHAPING, OR SUPPLEMENTARY PROCESSES
- C03B2201/00—Type of glass produced
- C03B2201/06—Doped silica-based glasses
- C03B2201/30—Doped silica-based glasses doped with metals, e.g. Ga, Sn, Sb, Pb or Bi
- C03B2201/31—Doped silica-based glasses doped with metals, e.g. Ga, Sn, Sb, Pb or Bi doped with germanium
-
- C—CHEMISTRY; METALLURGY
- C03—GLASS; MINERAL OR SLAG WOOL
- C03B—MANUFACTURE, SHAPING, OR SUPPLEMENTARY PROCESSES
- C03B2207/00—Glass deposition burners
- C03B2207/04—Multi-nested ports
- C03B2207/06—Concentric circular ports
-
- C—CHEMISTRY; METALLURGY
- C03—GLASS; MINERAL OR SLAG WOOL
- C03B—MANUFACTURE, SHAPING, OR SUPPLEMENTARY PROCESSES
- C03B2207/00—Glass deposition burners
- C03B2207/04—Multi-nested ports
- C03B2207/14—Tapered or flared nozzles or ports angled to central burner axis
-
- C—CHEMISTRY; METALLURGY
- C03—GLASS; MINERAL OR SLAG WOOL
- C03B—MANUFACTURE, SHAPING, OR SUPPLEMENTARY PROCESSES
- C03B2207/00—Glass deposition burners
- C03B2207/20—Specific substances in specified ports, e.g. all gas flows specified
-
- C—CHEMISTRY; METALLURGY
- C03—GLASS; MINERAL OR SLAG WOOL
- C03B—MANUFACTURE, SHAPING, OR SUPPLEMENTARY PROCESSES
- C03B2207/00—Glass deposition burners
- C03B2207/36—Fuel or oxidant details, e.g. flow rate, flow rate ratio, fuel additives
-
- C—CHEMISTRY; METALLURGY
- C03—GLASS; MINERAL OR SLAG WOOL
- C03B—MANUFACTURE, SHAPING, OR SUPPLEMENTARY PROCESSES
- C03B2207/00—Glass deposition burners
- C03B2207/40—Mechanical flame shields
Landscapes
- Chemical & Material Sciences (AREA)
- Engineering & Computer Science (AREA)
- Chemical Kinetics & Catalysis (AREA)
- General Chemical & Material Sciences (AREA)
- Life Sciences & Earth Sciences (AREA)
- General Life Sciences & Earth Sciences (AREA)
- Geochemistry & Mineralogy (AREA)
- Manufacturing & Machinery (AREA)
- Materials Engineering (AREA)
- Organic Chemistry (AREA)
- Manufacture, Treatment Of Glass Fibers (AREA)
- Glass Melting And Manufacturing (AREA)
Abstract
Verfahren zur Herstellung einer Vorform für optische Fasern, umfassend einen Verfahrensschritt, in dem einem Abscheidebrenner in einem zentralen Bereich eine erste, Silizium enthaltende Ausgangskomponente und eine zweite, einen Dotierstoff bildende Ausgangskomponente, in einem äußeren Bereich ein Brenngas, und zwischen dem zentralen Bereich und dem äußeren Bereich ein Trenngasstrom zugeführt werden, wobei die Ausgangskomponenten in einer Reaktionszone durch Flammenhydrolyse zu Oxid-Partikeln umgesetzt und auf einem rotierenden Träger unter Bildung eines SiO2 und den Dotierstoff enthaltenden, porösen Rohlings abgeschieden werden, dadurch gekennzeichnet, dass der Reaktionszone Sauerstoff in einer für die Umsetzung der Ausgangskomponenten in die Oxidpartikel überstöchiometrischen Menge zugeführt wird, wobei als Trenngasstrom ein Sauerstoffstrom eingesetzt wird, und dass die Reaktionszone in einem Bereich beginnt, der radial von einer Gasführungshülse umgeben ist.A method for producing an optical fiber preform, comprising a step of forming in a central region a deposition burner in a central region a first silicon-containing starting component and a second dopant-forming starting component, a fuel gas in an outer region, and between the central region and an outlet gas stream are supplied to the outer region, wherein the starting components are converted in a reaction zone by flame hydrolysis to oxide particles and deposited on a rotating support to form a SiO 2 and the dopant-containing, porous blank, characterized in that the reaction zone oxygen in a for the reaction of the starting components in the oxide particles is supplied more than stoichiometric amount, wherein as the separation gas flow, an oxygen stream is used, and that the reaction zone begins in a region which is radially surrounded by a gas guide sleeve.
Description
Die Erfindung betrifft ein Verfahren zur Herstellung einer Vorform für optische Fasern, umfassend einen Verfahrensschritt, in dem einem Abscheidebrenner in einem zentralen Bereich eine erste, Silizium enthaltende Ausgangskomponente und eine zweite, einen Dotierstoff bildende Ausgangskomponente, und in einem äußeren Bereich ein Brenngas, und zwischen dem zentralen Bereich und dem äußeren Bereich ein Trenngasstrom zugeführt werden, wobei die Ausgangskomponenten in einer Reaktionszone durch Flammenhydrolyse zu Oxid-Partikeln umgesetzt und auf einem rotierenden Träger unter Bildung eines SiO2 und ein Dotierstoff-Oxid enthaltenden, porösen Rohlings abgeschieden werden.The invention relates to a method for producing a preform for optical fibers, comprising a method step in which a deposition burner in a central region a first, silicon-containing starting component and a second, a dopant-forming starting component, and in an outer region of a fuel gas, and between a separating gas stream is supplied to the central region and the outer region, wherein the starting components are converted in a reaction zone by flame hydrolysis to oxide particles and deposited on a rotating support to form a porous blank containing SiO 2 and a dopant oxide.
Weiterhin betrifft die Erfindung eine neue Verwendung eines Abscheidebrenners, der eine zentrale, rohrförmige Mitteldüse für die Zufuhr einer ersten, Silizium enthaltenden Ausgangskomponente und einer zweiten GeO2 bildenden Ausgangskomponente, eine die Mitteldüse koaxial umgebende Ringspaltdüse für die Zufuhr eines Sauerstoffstroms, mindestens eine die Ringspaltdüse umgebende Brennstoffdüse für die Zufuhr eines Brennstoffes, und eine Sauerstoffdüse für die Zufuhr von Sauerstoff zu der Reaktionszone aufweist.Furthermore, the invention relates to a new use of a deposition burner, which comprises a central, tubular center nozzle for the supply of a first, silicon-containing starting component and a second GeO 2 forming output component, a center nozzle coaxially surrounding annular gap nozzle for the supply of an oxygen stream, at least one annular gap nozzle Having a fuel nozzle for the supply of a fuel, and an oxygen nozzle for the supply of oxygen to the reaction zone.
Verfahren für die Herstellung von Vorformen nach einem Außenabscheideverfahren sind unter den Bezeichnungen OVD (Outside vapour deposition) oder VAD (Vapour axial deposition) allgemein bekannt. Bei diesen Verfahren werden unter Einsatz eines oder mehrerer Flammhydrolysebrenner SiO2-Partikel auf einem Träger abgeschieden, so dass sich ein Rohling aus porösem Quarzglas (im folgenden auch als „Sootkörper" bezeichnet) bildet. Um den Brechungsindex von Quarzglas zu verändern, werden Germanium, Phosphor, Bor, Titan, Aluminium, Tantal oder Fluor in das Quarzglas eingebracht. Die Dotierung kann während des Abscheideverfahrens erfolgen, indem der Ausgangskomponente für das Quarzglas – häufig SiCl4 – eine weitere Ausgangskomponente mit dem vorgesehenen Dotierstoff beigemischt wird.Methods for the production of preforms by an external deposition method are well known under the designations OVD (Outside Vapor Deposition) or VAD (Vapor Axial Deposition). In these processes, SiO 2 particles are deposited on a carrier using one or more flame hydrolysis burners, so that a blank of porous quartz glass (also referred to below as "soot body") is formed. Phosphorus, boron, titanium, aluminum, tantalum or fluorine can be introduced into the quartz glass during the deposition process, by mixing the starting component for the quartz glass - often SiCl 4 - with another starting component with the intended dopant.
Dotierstoffe können in Quarzglas unterschiedliche Oxidationsstufen einnehmen, wobei sie in Abhängigkeit von ihrem Oxidationszustand unterschiedliche chemische und physikalische Eigenschaften aufweisen. Es stellt sich daher das Problem, eine homogene Verteilung des Dotierstoffs im Quarzglas zu gewährleisten, wobei es aber nicht nur auf eine gleichmäßige örtliche Verteilung des Dotierstoffs ankommt, sondern auch darauf, den Oxidationszustand des Dotierstoffs definiert einzustellen und während des Abscheideverfahrens möglichst unverändert beizubehalten. Bereits geringfügige Änderungen der Brennerflamme (Temperatur, Lage), der Strömungsgeschwindigkeiten in der Brennerflamme, der Prozessgase oder Verschiebungen der Reaktionszone können sich auf den Oxidationszustand des Dotierstoffs auswirken. In diesem Zusammenhang sind insbesondere Wasserstoff und Methan zu beachten, die bei der Flammenhydrolyse in der Regel als Brennstoff eingesetzt werden. Aufgrund der reduzierenden Wirkung dieser Brennstoffe können sich in der Brennerflamme unterstöchiometrische Dotierstoffoxide bilden. Die aus einem derartig dotierten Quarzglas gewonnenen optischen Fasern können unter anderem eine geringe Alterungs- oder Strahlungsbeständigkeit aufweisen. Als Beispiel hierfür sei Germaniumoxid genannt, das unter reduzierenden Bedingungen leicht als GeO2-x mit unterstöchiometrischem Sauerstoffgehalt anfällt.Dopants can assume different oxidation states in quartz glass, wherein they have different chemical and physical properties depending on their oxidation state. It is therefore the problem to ensure a homogeneous distribution of the dopant in the quartz glass, but it does not only depend on a uniform local distribution of the dopant, but also to set the oxidation state of the dopant defined and maintain as unchanged as possible during the deposition process. Even slight changes in the burner flame (temperature, position), the flow velocities in the burner flame, the process gases or shifts in the reaction zone can affect the oxidation state of the dopant. In this context, in particular hydrogen and methane are to be considered, which are usually used in the flame hydrolysis as a fuel. Due to the reducing effect of these fuels, substoichiometric dopant oxides may form in the burner flame. Among other things, the optical fibers obtained from such doped quartz glass may have a low resistance to aging or radiation. An example of this is called germanium oxide, which is easily obtained under reducing conditions as GeO 2-x with substoichiometric oxygen content.
Das Problem wird dadurch verschärft, dass wichtige Parameter während des Abscheideverfahrens nicht ohne weiteres konstant gehalten werden können. Denn mit zunehmender Oberfläche des Sootkörpers nimmt die Wärmeabstrahlung zu. Ein großvolumiger Sootkörper kühlt daher im Vergleich zum kleinvolumigen Sootkörper schneller aus. Infolgedessen nimmt die Dichte des Sootkörpers in radialer Richtung von innen nach außen ab. Um dieser radialen Dichteabnahme entgegenzuwirken, werden in der Regel entweder der Abstand des Abscheidebrenners von der Oberfläche des sich bildenden Sootkörpers oder die Brennerflamme verändert. Änderungen der Brennerflamme führen im allgemeinen jedoch auch zu Änderungen in der chemischen Umsetzung des Dotierstoffs in der Brennerflamme.The Problem is exacerbated by that important parameters during of the deposition process can not be kept constant without further notice. Because with increasing surface of the soot body takes the heat radiation to. A large volume soot body cools therefore faster compared to the small-volume soot body. Consequently takes the density of the soot body in the radial direction from the inside out. Around this radial Density decrease counteract, are usually either the Distance of the deposition burner from the surface of the forming soot body or the burner flame changed. Changes in the Lead burner flame in general however also to changes in the chemical conversion of the dopant in the burner flame.
Ein Verfahren der eingangs genannten Gattung ist aus der EP-A1 146 659 zu entnehmen. Hierbei werden auf einem waagerecht orientierten und um seine horizontale Längsachse rotierenden Graphitstab feine SiO2-Sootpartikel abgeschieden. Die Sootpartikel werden gebildet aus organischen siliziumhaltigen Verbindungen durch Flammenhydrolyse in einer Sauerstoff-Wasserstoff-Flamme. In einem Ausführungsbeispiel wird hierzu die siliziumhaltige organische Verbindung zusammen mit einem Dotierstoff sowie mit Argon und Sauerstoff der zentralen Düse eines mehrdüsigen Brennerkopfes zugeführt. Die zentrale Mitteldüse ist von mehreren, koaxial zu der Mitteldüse angeordneten Ringspaltdüsen umgeben. Durch die erste Ringspaltdüse wird dem Brennerkopf ein Argon-Sauerstoff-Gasgemisch und durch die zweiten und dritten Düsen Wasserstoff bzw. Sauerstoff zugeführt.A method of the type mentioned above can be taken from EP-A1 146 659. Here, fine SiO 2 soot particles are deposited on a horizontally oriented graphite rod rotating about its horizontal longitudinal axis. The soot particles are formed from organic silicon-containing compounds by flame hydrolysis in an oxygen-hydrogen flame. In one embodiment, for this purpose, the silicon-containing organic compound is supplied together with a dopant and with argon and oxygen of the central nozzle of a multi-nozzle burner head. The central central nozzle is surrounded by a plurality of annular gap nozzles arranged coaxially with the central nozzle. An argon-oxygen-gas mixture is supplied to the burner head through the first annular-gap nozzle, and hydrogen or oxygen is supplied through the second and third nozzles.
Zur Durchführung des Verfahrens nach der EP A1-146 659 wird ein Abscheidebrenner aus Quarzglas eingesetzt, der eine rohrförmige Mitteldüse für die Zufuhr von Glasausgangsmaterial und drei koaxial zur Mitteldüse angeordnete Ringspaltdüsen aufweist. Die beiden äußeren Ringspaltdüsen sind für die Zufuhr eines Brenngas-Gemischs in Form von Sauerstoff und Wasserstoff (im folgenden als „Brenngase" bezeichnet) für die Brennerflamme vorgesehen. Sie sind so ausgebildet, dass die Ströme der Brenngase in Richtung auf die Reaktionszone fokussiert werden. In der „Reaktionszone" findet die chemische Umsetzung des Glasausgangsmaterials unter Bildung der Sootpartikel statt. Zwischen den beiden äußeren Ringspaltdüsen und der Mitteldüse ist eine weitere ringförmige Düse vorgesehen, die zur Zufuhr eines Gasstromes aus einem Sauerstoff-Argon-Gemisch dient.To carry out the process according to EP A1-146 659, a quartz glass deposition burner is used which comprises a tubular central nozzle for the supply of glass starting material and three annular gap nozzles arranged coaxially with the central nozzle having. The two outer annular gap nozzles are provided for the supply of a fuel gas mixture in the form of oxygen and hydrogen (hereinafter referred to as "fuel gases") for the burner flame and are designed so that the streams of fuel gases are focused in the direction of the reaction zone. In the "reaction zone", the chemical conversion of the glass starting material takes place to form the soot particles. Between the two outer annular gap nozzles and the center nozzle, a further annular nozzle is provided which serves to supply a gas stream of an oxygen-argon mixture.
Aus EP-A1 237 183 ist der Einsatz eines ähnlichen Abscheidebrenners bei einem OVD-Verfahren zur Herstellung einer Vorform bekannt. Der Abscheidebrenner weist eine innere Düse für die Zufuhr von Glasausgangsmaterialien auf, die von einer ersten Ringspaltdüse für einen Trenngasstrom umgeben ist. Diese ist wiederum von einer ringförmigen Düse für einen Brenngasstrom umgeben, in der eine Vielzahl kleinerer Düsen für die Zufuhr von Hilfsgasen für die Verbrennung angeordnet sind. Als Glasausgangsstoffe werden Siliciumtetrachlorid, Germaniumtetrachlorid und andere Dotierstoffe, und als Brenngase werden Wasserstoff und Sauerstoff eingesetzt. Das Hilfsgas für die Verbrennung enthält ebenfalls Sauerstoff und das Trenngas ist Argon oder ein anderes Inertgas. Auch bei diesem Abscheidebrenner sind die außen liegenden Ringspaltdüsen für die Zufuhr von Wasserstoff und Brennsauerstoff in Richtung auf die Reaktionszone fokussiert.Out EP-A1 237 183 is the use of a similar Abscheidebrenners in an OVD process for making a preform. The deposition burner has an inner nozzle for the Supply of glass starting materials, which from a first annular gap for a Separating gas flow is surrounded. This is in turn of an annular nozzle for a Surrounding fuel gas stream, in which a large number of smaller nozzles for the supply of auxiliary gases for the combustion are arranged. As glass starting materials are silicon tetrachloride, Germanium tetrachloride and other dopants, and as fuel gases Hydrogen and oxygen are used. The auxiliary gas for combustion also contains Oxygen and the separation gas is argon or another inert gas. Also in this Abscheidebrenner the outer annular gap nozzles for the supply of hydrogen and oxygen in the direction of the reaction zone focused.
Durch die Fokussierung der Brenngase lässt sich durch Bündelung der Brennerflamme auf einen reproduzierbar einstellbaren Punkt in der Reaktionszone die Abscheiderate erhöhen. Andererseits wird jedoch bei einer Änderung der Gasströmungen eine undefinierte und unkontrollierte Verbreiterung der Reaktionszone beobachtet, in deren Folge es zu reduzierenden Bedingungen durch vorzeitige Vermischung mit dem Wasserstoff und den oben beschriebenen Nebenwirkungen kommen kann.By the focus of the fuel gases can be by bundling the burner flame to a reproducible adjustable point in of the reaction zone increase the deposition rate. On the other hand, however in case of a change the gas flows an undefined and uncontrolled broadening of the reaction zone observed, as a result of which it is due to reducing conditions premature mixing with the hydrogen and those described above Side effects can come.
In der FR-A 2,333,628 ist ein weiteres Verfahren zur Herstellung einer Vorform für optische Fasern unter Einsatz eines mehrdüsigen Abscheidebrenners beschrieben. Um Ablagerungen von SiO2-Partikeln im Bereich des Brennermundes zu vermeiden, wird zwischen der Zufuhr des Glasausgangsmaterials in Form von SiCl4 und GeCl4 und den Brenngasen ein Trenngasstrom eingeleitet. Als Trenngas wird entweder Helium oder Stickstoff eingesetzt.In FR-A-2,333,628 another method for making an optical fiber preform using a multi-nozzle deposition burner is described. In order to avoid deposits of SiO 2 particles in the region of the burner mouth, a separation gas stream is introduced between the feed of the glass starting material in the form of SiCl 4 and GeCl 4 and the fuel gases. As separation gas either helium or nitrogen is used.
Bei Einsatz dieses Abscheidebrenners können sich im Bereich des Stroms des Glasausgangsmaterials Bedingungen einstellen, die zu einer unzureichenden Umsetzung des Dotierstoffs zu Oxid mit einer niedrigen Oxidationsstufe führen.at Use of this deposition burner can be in the range of the current Set the glass starting material conditions that are insufficient Implementation of the dopant to oxide with a low oxidation state to lead.
Aus der DE-A1 195 27 451 ist ein Verfahren und eine Vorrichtung zur Herstellung eines Quarzglasrohlings unter Einsatz eines Abscheidebrenners mit vier konzentrischen Düsen bekannt. Der zentralen Düse wird SiCl4 zugeführt und im äußeren Bereich als Brenngase Wasserstoff und Sauerstoff. Zwischen der zentralen Düse und dem äußeren Bereich ist eine Trenngasdüse vorgesehen. Durch die Trenngasdüse wird ein Sauerstoffstrom geleitet, der den SiCl4-Strom von den Brenngasströmen abschirmt. Die Trenngasdüse wirkt in Richtung auf die Reaktionszone fokussierend. Bei diesem Brenner können die Brenngasströme variiert werden, ohne dass der SiCl4-Strom davon merklich beeinflusst wird.From DE-A1 195 27 451 a method and an apparatus for producing a quartz glass blank using a deposition burner with four concentric nozzles is known. The central nozzle SiCl 4 is supplied and in the outer region as fuel gases hydrogen and oxygen. Between the central nozzle and the outer area a separating gas nozzle is provided. Through the separation gas nozzle, an oxygen stream is passed, which shields the SiCl 4 stream from the fuel gas streams. The separating gas nozzle has a focusing effect in the direction of the reaction zone. In this burner, the fuel gas streams can be varied without significantly affecting the SiCl 4 stream thereof.
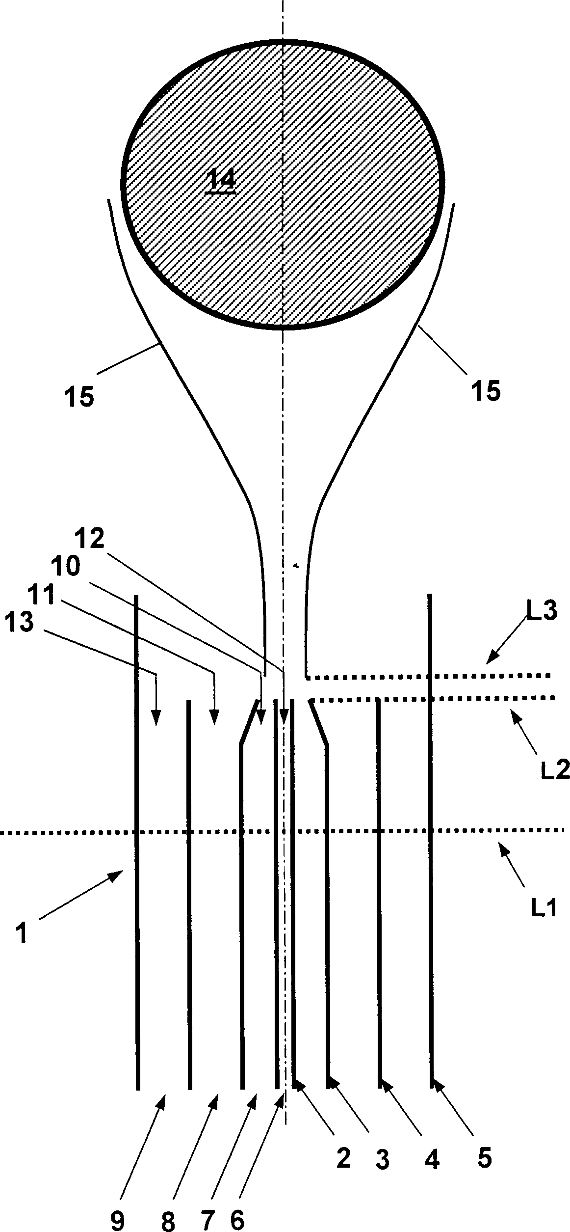
Die
In
der
Der Erfindung liegt die Aufgabe zugrunde, ein stabiles und reproduzierbares Verfahren zur Herstellung einer Vorform für optische Fasern zur Verfügung zu stellen, bei dem durch Außenabscheidung ein poröser, dotierter SiO2-Rohling mit vorgegebener Verteilung und mit definiertem Oxidationszustand des Dotierstoffs hergestellt werden kann. Weiterhin liegt der Erfindung die Aufgabe zugrunde, eine geeignete Verwendung des eingangs genannten Abscheidebrenners anzugeben Hinsichtlich des Verfahrens wird diese Aufgabe ausgehend von dem Verfahren der eingangs genannten Gattung erfindungsgemäß dadurch gelöst, dass der Reaktionszone Sauerstoff in einer für die Umsetzung der Ausgangskomponenten in die Oxidpartikel überstöchiometrischen Menge zugeführt wird, wobei als Trenngasstrom ein Sauerstoffstrom eingesetzt wird, und dass die Reaktionszone in einem Bereich beginnt, der radial von einer Gasführungshülse umgeben ist.The invention has for its object to provide a stable and reproducible method for producing a preform for optical fibers, in which by external deposition, a porous, doped SiO 2 blank with a predetermined distribution and with a defined oxidation state of the dopant can be produced. Furthermore, the invention has for its object to provide a suitable use of the above-mentioned Abscheidebrenners With regard to the method, this object is achieved starting from the method of the aforementioned type according to the invention that the reaction zone oxygen in a superstoichiometric for the implementation of the starting components in the oxide particles amount is fed, wherein as the separation gas stream, an oxygen stream is used, and that the reaction zone begins in a region which is radially from a Gas guide sleeve is surrounded.
Bei dem erfindungsgemäßen Verfahren wird eine überstöchiometrische Menge an Sauerstoff in der Reaktionszone bereitgestellt, so dass eine vollständige Umsetzung der Ausgangskomponenten in die entsprechenden Oxide gewährleistet ist. Dabei kommt dem Trenngasstrom eine zentrale Bedeutung zu. Der Trenngasstrom entfaltet im wesentlichen die drei nachfolgend erläuterten Wirkungen:
- a) Der Einsatz von Sauerstoff für den Trenngasstrom trägt dazu bei, dass sich im inneren Bereich der Brennerflamme eine sauerstoffreiche und somit oxidierend wirkende Atmosphäre einstellt. Dadurch wird eine vollständige Umsetzung der Ausgangskomponenten und insbesondere des Dotierstoffs mit Sauerstoff erreicht, so dass Dotierstoffoxide mit niedrigen Oxidationsstufen verringert oder verhindert werden. Dies ermöglicht die Einhaltung eines definiertem Oxidationszustandes während des Abscheideverfahrens und die Einstellung einer vorgegebenen und reproduzierbaren Verteilung der Dotierstoffe im sich bildenden Rohling. Die Sauerstoffmenge, die durch den Trenngasstrom bereitgestellt wird, kann in Bezug auf eine vollständige Oxidation der Ausgangskomponenten unterstöchiometrisch, stöchiometrisch oder überstöchiometrisch sein. Im Gegensatz zu den beiden erstgenannten Fällen ist eine zusätzliche Sauerstoffzufuhr zur Reaktionszone beim letztgenannten Fall zwar nicht erforderlich, aber durch die erfindungsgemäße Lehre auch nicht ausgeschlossen.
- b) Der Trenngasstrom schirmt außerdem den inneren Bereich der Brennerflamme, in den die Ausgangskomponenten eingespeist werden, vom äußeren Bereich der Flamme, in den die Brennstoffe – insbesondere Wasserstoff oder Methan – eingespeist werden, ab. Dadurch wird ein frühzeitiger Kontakt der Ausgangskomponenten mit den Brennstoffen und eine Beeinflussung des Oxidationszustandes des Dotierstoffoxids durch Wasserstoff bzw. Methan verhindert.
- c) Der Trenngasstrom ermöglicht es im übrigen auch, den Brenngasstrom oder die Brenngasströme im Verlauf der Abscheidung zu variieren, ohne dass der Strom der Ausgangskomponenten davon merklich beeinflusst wird. Diese Wirkung des Trenngasstroms ist in der oben erwähnten DE-A1-195 27 451 näher beschrieben. Der Trenngasstrom trägt daher auch zur Stabilisierung der Reaktionszone bei und gewährleistet so bei Änderungen der Brenngasströme im Verlauf der Abscheidung eine ausreichende Trennung der Ausgangskomponenten von den Brenngasen – und insbesondere von Wasserstoff. Daher kann durch Variation der Brenngase während des Abscheidevorgangs die gewünschte Temperatur auf der Rohling-Oberfläche und damit der gewünschte radiale Dichteverlauf innerhalb des Rohlings erzielt werden, wobei trotz dieser Variation der Brenngase ein vorgegebener Oxidationszustand des Dotierstoffs eingehalten werden kann.
- a) The use of oxygen for the separation gas flow contributes to the fact that in the inner region of the burner flame an oxygen-rich and thus oxidizing atmosphere is established. As a result, complete conversion of the starting components and in particular of the dopant with oxygen is achieved so that dopant oxides with low oxidation states are reduced or prevented. This allows compliance with a defined oxidation state during the deposition process and the setting of a predetermined and reproducible distribution of the dopants in the forming blank. The amount of oxygen provided by the separation gas stream may be substoichiometric, stoichiometric or superstoichiometric with respect to complete oxidation of the starting components. In contrast to the first two cases an additional supply of oxygen to the reaction zone in the latter case, although not required, but not excluded by the teaching of the invention.
- b) The separating gas stream also shields the inner portion of the burner flame, into which the starting components are fed, from the outer region of the flame, into which the fuels - in particular hydrogen or methane - are fed. This prevents premature contact of the starting components with the fuels and an influence on the oxidation state of the dopant oxide by hydrogen or methane.
- c) Incidentally, the separation gas flow also makes it possible to vary the fuel gas flow or the fuel gas flow in the course of the deposition without appreciably affecting the flow of the output components thereof. This effect of the separation gas stream is described in more detail in the abovementioned DE-A1-195 27 451. Therefore, the separation gas stream also contributes to the stabilization of the reaction zone and thus ensures a sufficient separation of the starting components of the fuel gases - and in particular of hydrogen - with changes in the fuel gas streams in the course of deposition. Therefore, by varying the combustion gases during the deposition process, the desired temperature on the blank surface and thus the desired radial density profile within the blank can be achieved, wherein despite this variation of the fuel gases, a predetermined oxidation state of the dopant can be maintained.
Der Trenngasstrom kann aus einer oder aus mehreren Brenner-Düsen bereitgestellt werden.Of the Separating gas flow may be provided from one or more burner nozzles become.
Unter dem Ausdruck „Reaktionszone" wird derjenige Bereich zwischen dem Brennerkopf und der Oberfläche des Rohlings verstanden, in dem eine Oxidation der gasförmigen Ausgangskomponenten stattfindet und dessen Beginn durch den Farbumschlag der Brennerflamme von blau auf weiß gekennzeichnet ist.Under the term "reaction zone" becomes that region between the burner head and the surface of the blank, in which an oxidation of the gaseous Starting components takes place and its beginning by the color change the burner flame is marked from blue to white.
Das erfindungsgemäße Verfahren zeichnet sich weiterhin durch eine Reaktionszone aus, die in einem Bereich beginnt, der radial von einer Gasführungshülse umgeben ist. Die Gasführungshülse wirkt sowohl als radiale Barriere nach Außen, als auch als Abschirmung gegenüber Einwirkungen von Außen auf die Reaktionszone. Darüberhinaus trägt sie zu einer Führung der Gasströmung und zu einer Bündelung der Hitze im Bereich der Reaktionszone bei. Die Gasführungshülse wirkt sich aufgrund dessen insgesamt stabilisierend auf die Reaktionszone und damit auch auf Geometrie und Lage der Brennerflamme aus, so dass sich ändernde äußere Bedingungen nicht zwangsläufig als Schwankungen der Abscheidebedingungen auswirken. Die Gasführungshülse sollte den Beginn der Reaktionszone in Richtung auf den Rohling überragen und sich somit teilweise entlang der Reaktionszone erstrecken.The inventive method is also characterized by a reaction zone, which in a Area begins, which is surrounded radially by a gas guide sleeve. The gas guide sleeve acts both as a radial barrier to the outside, as well as shielding External influences the reaction zone. Furthermore she wears to a tour the gas flow and to a bundling the heat in the region of the reaction zone at. The gas guide sleeve acts due to its total stabilizing effect on the reaction zone and thus also on the geometry and position of the burner flame, so that changing external conditions are not inevitably as fluctuations in the deposition conditions. The gas guide sleeve should project beyond the beginning of the reaction zone in the direction of the blank and thus partially extend along the reaction zone.
Je nach Abscheideverfahren handelt es bei der „Oberfläche des Rohlings" um die Mantelfläche eines Zylinders (OVD-Verfahren) oder um die Stirnfläche eines Stabs (VAD-Verfahren). Aus der Vorform werden optische Fasern, vorzugsweise sogenannte Singlemode-Fasern hergestellt.ever After deposition, the "surface of the blank" is the outer surface of a Cylinder (OVD method) or around the end face of a rod (VAD method). The preform becomes optical fibers, preferably singlemode fibers produced.
Als Brennstoffe werden üblicherweise Wasserstoff bzw. Methan eingesetzt. Zur Verbrennung des Brennstoffes enthält das Brenngas außerdem Sauerstoff. Durch die Verbrennung des Brennstoffs in der Brennerflamme wird die Energie für die Umsetzung der gasförmigen Ausgangskomponenten zur Verfügung gestellt.When Fuels are usually Used hydrogen or methane. For combustion of fuel contains the fuel gas also oxygen. By burning the fuel in the burner flame is the energy for the implementation of gaseous Output components available posed.
Im Sinne dieser Erfindung zielt eine „vollständige chemische Umsetzung einer Ausgangskomponente mit Sauerstoff" („vollständige Oxidation") darauf ab, dass derjenige Mengenanteil der Ausgangskomponente, der durch das Abscheideverfahren in den porösen Rohling eingebracht wird, in möglichst vollständig aufoxidiertem Zustand vorliegt.in the The purpose of this invention is a "complete chemical reaction of a Starting component with oxygen "(" complete oxidation ") from that the proportion of the starting component by the deposition process in the porous Blank is introduced, in as completely as possible oxidized Condition exists.
Die Wirkung der erfindungsgemäßen technischen Lehre tritt unabhängig von der Art und Anzahl der Dotierstoffe oder deren Menge ein.The Effect of the technical invention Teaching occurs independently on the type and number of dopants or their amount.
Vorteilhafterweise erstreckt sich die Gasführungshülse vom Beginn der Reaktionszone über eine Länge von 5 mm bis 60 mm in Richtung auf den Rohling. Es hat sich gezeigt, dass die Effizienz der Abscheidung mit der Länge der Gasführungshülse zunimmt, wenn diese den Beginn der Reaktionszone um 5 mm oder mehr überragt. Andererseits besteht bei einer Gasführungshülse mit einer Länge von mehr 60 mm – vom Beginn der Reaktionszone aus gemessen – die Gefahr von SiO2-Ablagerungen, die die Prozessstabilität beeinträchtigen. Der bevorzugte Längenbereich von 5 mm bis 60 mm erweist sich als geeigneter Kompromiss zwischen Effizienz und Prozessstabilität.Advantageously, the gas guide sleeve extends from the beginning of the reaction zone over a length of 5 mm to 60 mm in the direction of the blank. It has been found that the efficiency of the deposition increases with the length of the gas guide sleeve, if it exceeds the beginning of the reaction zone by 5 mm or more. On the other hand, with a gas guide sleeve having a length of more than 60 mm - measured from the beginning of the reaction zone - there is a risk of SiO 2 deposits which impair process stability. The preferred length range of 5 mm to 60 mm proves to be a suitable compromise between efficiency and process stability.
Eine weitere Verfahrensverbesserung ergibt sich dadurch, dass der Trenngasstrom in Richtung auf die Reaktionszone fokussiert wird. Die Fokussierung kann durch eine in Richtung auf die Brenner-Längsachse geneigte Trenngasdüse erreicht werden. Beispielsweise können die Düsen-Begrenzungswände nach innen geneigt sein und/oder sie können sich nach zur Düsenöffnung hin konisch verjüngen. Durch die Fokussierung des Trenngasstroms wird eine stabile Gasführung erreicht, was eine frühzeitige Vermischung des Trenngasstroms mit den Brenngasen und damit einen Kontakt der Ausgangskomponenten mit den Brenngasen, insbesondere mit Wasserstoff – verhindert. Die Fokussierung trägt auch zur Stabilisierung der Gasströmungen insgesamt bei und erleichtert so die Aufrechterhaltung von Lage und Länge der Reaktionszone, was sich insbesondere bei sehr hohen und bei sehr niedrigen Brenngasströmen bemerkbar macht Vorteilhafterweise wird auch dem zentralen Bereich des Abscheidebrenners ein Zusatz-Sauerstoffstrom zugeführt. Die dadurch bewirkte Verstärkung der oxidativen Wirkung im inneren Flammenbereich erleichtert eine vollständige Oxidation der Ausgangskomponenten und insbesondere des Dotierstoffs. Besonders effektiv gestaltet sich diese Verfahrensweise, wenn ein Trägergasstrom für die Zufuhr der Ausgangskomponenten zum Abscheidebrenner als Zusatz-Sauerstoffstrom eingesetzt wird. Über den Trägergasstrom und den Trenngasstrom wird Sauerstoff in der Reaktionszone in einer für die Umsetzung der Ausgangskomponenten überstöchiometrischen Menge bereitgestellt.A Further process improvement results from the fact that the separation gas stream is focused in the direction of the reaction zone. The focus can be achieved by an inclined in the direction of the burner longitudinal axis Trenngasdüse. For example, you can the nozzle boundary walls after be inclined inside and / or they can go to the nozzle opening tapered conically. By focusing the separation gas flow a stable gas flow is achieved what an early Mixing the separation gas flow with the fuel gases and thus a contact the output components with the fuel gases, especially with hydrogen - prevented. The focus also carries for stabilizing the gas flows overall, thus facilitating the maintenance of location and length the reaction zone, which is particularly at very high and at very low fuel gas flows Advantageously, it also becomes the central area the deposition burner supplied an additional oxygen stream. The result effected reinforcement the oxidative effect in the inner flame area facilitates complete oxidation the starting components and in particular the dopant. Especially effectively, this procedure is when a carrier gas stream for the Supply of the starting components to the deposition burner as additional oxygen flow is used. about the carrier gas flow and The separation gas stream is oxygen in the reaction zone in one for the Implementation of the starting components provided overstoichiometric amount.
Als günstig hat es sich auch erwiesen, dass der Trenngasstrom aus einer frei durchströmbaren Ringspaltdüse des Abscheidebrenners in Richtung der Reaktionszone austritt. In der frei durchströmbaren Ringspaltdüse sind keine den Strom des Trenngases behindernden Bauteile enthalten. Turbulenzen im Trenngasstrom werden so vermieden und eine stabilere Brennerflamme erreicht.When Cheap It has also been found that the separation gas stream from a free permeable annular gap nozzle of the deposition burner exits in the direction of the reaction zone. In the freely permeable annular gap nozzle are contain no obstructing the flow of the separation gas components. Turbulence in the separation gas stream are thus avoided and a more stable Burner flame reached.
Im Hinblick auf einen stabilen Trenngasstrom ist es besonders vorteilhaft, einen Abscheidebrenner einzusetzen, bei dem mindestens eine Brenngasdüse als Diffusor ausgebildet ist. Der Diffusor kann auf den in der Strömungstechnik dafür allgemein bekannten Bauprinzipien beruhen. Wesentlich ist, dass dadurch eine turbulente Brenngasströmung erzeugt wird, die den Trenngasstrom nicht oder wenig beeinflusst. Ein Maß dafür, ob ein Strömungsprofil eines Fluids als turbulent oder als laminar einstufen ist, ergibt sich durch die sogenannte Reynolds-Zahl. Diese hängt von der Strömungsgeschwindigkeit, dem Radius des Rohres in dem die Strömung fließt und von der kinematischen Viskosität des Fluids. Bei Reynolds-Zahlen unterhalb von 2320 ist von einer laminaren Strömung auszugehen. Bei höheren Reynolds-Zahlen wird die Strömung turbulent, wenn – wie hier durch den Diffusor – Störungen des Strömungsprofils vorliegen.in the With regard to a stable separation gas stream, it is particularly advantageous to use a deposition burner, in which at least one fuel gas nozzle as a diffuser is trained. The diffuser can be installed in the flow technique for it generally based on known construction principles. It is essential that thereby one turbulent fuel gas flow is generated, which does not affect the separation gas flow or little. A measure of whether one flow profile of a fluid is classified as turbulent or laminar through the so-called Reynolds number. This depends on the flow velocity, the radius of the pipe in which the flow flows and of the kinematic viscosity of the fluid. Reynolds numbers below 2320 are of one laminar flow go out. At higher Reynolds numbers becomes the flow turbulent, if - how here through the diffuser - disturbances of the airfoil available.
Besonders bewährt hat sich eine Verfahrensweise, bei der als Dotierstoff Germaniumdioxid eingesetzt wird. Für die Herstellung eines porösen, GeO2 enthaltenden Rohlings durch Flammenhydrolyse wird eine Germanium enthaltende Ausgangskomponente eingesetzt.Has proven particularly useful a procedure in which germanium dioxide is used as a dopant. For the production of a porous, GeO 2- containing blank by flame hydrolysis, a germanium-containing starting component is used.
Hinsichtlich der anzugebenden Verwendung wird die oben genannten Aufgabe erfindungsgemäß dadurch gelöst, dass der eingangs genannte Abscheidebrenner zur Herstellung eines porösen, GeO2 enthaltenden Rohlings durch Flammenhydrolyse einer Germanium enthaltenden Ausgangskomponente zum Zweck einer vollständigen chemischen Umsetzung der Ausgangskomponente zu GeO2 in der Reaktionszone und einer homogenen Verteilung von GeO2 im Rohling eingesetzt wird.With regard to the stated use, the abovementioned object is achieved in that the abovementioned deposition burner for producing a porous, GeO 2- containing blank by flame hydrolysis of a germanium-containing starting component for the purpose of complete chemical reaction of the starting component to GeO 2 in the reaction zone and a homogeneous Distribution of GeO 2 is used in the blank.
Erfindungsgemäß wird zum Zweck einer vollständigen chemischen Umsetzung der Ausgangskomponente zu GeO2 und zum Einstellen einer homogenen Verteilung von GeO2 im Rohling ein Abscheidebrenner eingesetzt, der eine zentrale, rohrförmige Mitteldüse für die Zufuhr der Ausgangskomponenten, eine die Mitteldüse koaxial umgebende Ringspaltdüse für die Zufuhr eines Sauerstoffstroms, sowie mindestens eine die Ringspaltdüse umgebende Brennstoff-Düse für die Zufuhr eines Brennstoffes und eine Sauerstoffdüse für die Zufuhr von Sauerstoff zu der Reaktionszone aufweist.According to the invention, a deposition burner is used for the purpose of a complete chemical reaction of the starting component to GeO 2 and for setting a homogeneous distribution of GeO 2 in the blank, which has a central, tubular center nozzle for the supply of the starting components, a center nozzle coaxially surrounding annular gap for the supply of a Oxygen stream, and at least one of the annular gap nozzle surrounding the fuel nozzle for the supply of a fuel and an oxygen nozzle for the supply of oxygen to the reaction zone.
Ein derartiger Abscheidebrenner ist an sich – abgesehen von der Zufuhr für eine Germanium enthaltende Ausgangskomponente – für einen anderen Einsatzzweck aus der DE-A1 195 27 451 bekannt. Der Erfindung liegt die erweiterte Erkenntnis zugrunde, dass ein derartiger Abscheidebrenner für einen Einsatz besonders geeignet ist, in dem es auf eine homogene Verteilung und einen definierten Oxidationszustand des Dotierstoffs Germanium im herzustellenden Rohling ankommt.One Such Abscheidebrenner is in itself - apart from the supply for one Germanium-containing starting component - for a different purpose from DE-A1 195 27 451 known. The invention is the extended Understanding that such a deposition burner for use is particularly suitable in which it is based on a homogeneous distribution and a defined oxidation state of the dopant germanium im comes to be produced blank.
Die Ge-haltige Ausgangskomponente reagiert mit vorhandenem Sauerstoff unter Bildung von GeO2. Dadurch, dass die zentrale, rohrförmige Mitteldüse für die Zufuhr der Ausgangskomponente von einer Ringspaltdüse für die Zufuhr eines Sauerstoffstroms koaxial umgeben ist, umschließt der Sauerstoffstrom den Strom der Ge-haltigen Ausgangskomponente vollständig und gewährleistet deren vollständige Oxidation und gleichzeitig eine ausreichend lange Trennung von den Brenngasen.The Ge-containing starting component reacts with oxygen present to form GeO 2 . Characterized in that the central, central tubular nozzle for the supply of the starting component of an annular gap nozzle for the supply of an oxygen stream is coaxially surrounded, the oxygen flow completely encloses the flow of Ge-containing starting component and ensures their complete oxidation and at the same time a sufficiently long separation from the fuel gases ,
Der Abscheidebrenner ist für den genannten Zweck besonders vorteilhaft einsetzbar, wenn die Sauerstoffdüse mit einer Gasführungshülse versehen ist, die sich über eine Länge zwischen 5 mm und 60 mm entlang der Reaktionszone erstreckt. Die Sauerstoffdüse ist nach außen in Form einer Gasführungshülse verlängert. Diese bewirkt eine Führung der Gasströmung und eine Bündelung der Hitze im Bereich der Reaktionszone, wenn diese innerhalb der Gasführungshülse beginnt. Die Reaktionszone wird dadurch nach Außen begrenzt und gegenüber Einflüssen von Außen abgeschirmt. Die Gasführungshülse wirkt sich somit insgesamt stabilisierend auf die Reaktionszone und vermindert Schwankungen, so dass sie zur vollständigen chemischen Umsetzung der Ausgangskomponente in der Reaktionszone und einer homogenen Verteilung von GeO2 im Rohling beiträgt.The deposition burner can be used particularly advantageously for the stated purpose if the oxygen nozzle is provided with a gas guide sleeve which extends over a length of between 5 mm and 60 mm along the reaction zone. The oxygen nozzle is extended to the outside in the form of a gas guide sleeve. This causes a guide of the gas flow and a bundling of the heat in the region of the reaction zone when it begins within the gas guide sleeve. The reaction zone is thereby limited to the outside and shielded from outside influences. The gas guide sleeve thus has an overall stabilizing effect on the reaction zone and reduces fluctuations, so that it contributes to the complete chemical reaction of the starting component in the reaction zone and a homogeneous distribution of GeO 2 in the blank.
Wegen der weiteren Vorteile hinsichtlich einer in Richtung auf die Reaktionszone fokussierenden Ringspaltdüse (Trenngasdüse) wird auf die obige Erläuterungen zum erfindungsgemäßen Verfahren hingewiesen.Because of the further advantages with respect to one towards the reaction zone focusing annular gap nozzle (Gas separation) will be to the above explanations to the method according to the invention pointed.
Ein Ausführungsbeispiel der Erfindung ist in der Zeichnung dargestellt und wird nachfolgend näher erläutert. Als einzige Figur zeigtOne embodiment The invention is illustrated in the drawing and will be described below explained in more detail. When single figure shows
Der
in
Nachfolgend
wird das erfindungsgemäße Verfahren
anhand eines Ausführungsbeispiels
zur Herstellung eines Ge-dotierten Kernstabes unter Einsatz des
in
Zur
Herstellung einer mit GeO2 dotierten Kernglasschicht
nach dem OVD-Verfahren werden auf einem um seine Längsachse
rotierenden Dorn
To produce a doped with GeO 2 core glass layer according to the OVD method are on a rotating about its longitudinal axis mandrel
Der
Mitteldüse
Der
durch die Trenngasdüse
Die
beschriebene Gasführung
gewährleistet, dass
die Umsetzung von SiCl4 zu SiO2 und
von GeCl4 zu GeO2 möglichst
kurz nach dem Austreten der Gase aus den Düsenöffnungen
Die Menge des Sauerstoffs, der über den Trägergasstrom und den Trenngasstrom in der Reaktionszone bereitgestellt wird, genügt in jedem Fall für eine vollständige Umsetzung von SiCl4 und GeCl4 zu SiO2 und GeO2.The amount of oxygen provided via the carrier gas stream and the separation gas stream in the reaction zone is sufficient in any case for a complete conversion of SiCl 4 and GeCl 4 to SiO 2 and GeO 2 .
Durch
die Fokussierung des Trenngasstroms wird außerdem eine besonders wirksame
Abschirmung der aus den Düsenöffnungen
Auch
der durch die Außendüse
Die
Gasführung
ermöglicht
eine optimale Abschirmung der durch die Mitteldüse
Nachdem
die Kernglasschicht ihre Sollstärke erreicht
hat, wird darauf eine erste Mantelglasschicht abgeschieden. Hierzu
wird die Zufuhr von GeCl4 zum Abscheidebrenner
Anschließend wird
der Dorn
Claims (10)
Priority Applications (1)
| Application Number | Priority Date | Filing Date | Title |
|---|---|---|---|
| DE10112624A DE10112624B4 (en) | 2000-03-14 | 2001-03-14 | Method for producing an optical fiber preform and use of a deposition burner for this purpose |
Applications Claiming Priority (3)
| Application Number | Priority Date | Filing Date | Title |
|---|---|---|---|
| DE10012226.4 | 2000-03-14 | ||
| DE10012226 | 2000-03-14 | ||
| DE10112624A DE10112624B4 (en) | 2000-03-14 | 2001-03-14 | Method for producing an optical fiber preform and use of a deposition burner for this purpose |
Publications (2)
| Publication Number | Publication Date |
|---|---|
| DE10112624A1 DE10112624A1 (en) | 2001-09-27 |
| DE10112624B4 true DE10112624B4 (en) | 2007-03-29 |
Family
ID=7634571
Family Applications (1)
| Application Number | Title | Priority Date | Filing Date |
|---|---|---|---|
| DE10112624A Expired - Fee Related DE10112624B4 (en) | 2000-03-14 | 2001-03-14 | Method for producing an optical fiber preform and use of a deposition burner for this purpose |
Country Status (1)
| Country | Link |
|---|---|
| DE (1) | DE10112624B4 (en) |
Families Citing this family (1)
| Publication number | Priority date | Publication date | Assignee | Title |
|---|---|---|---|---|
| DE10050324C1 (en) * | 2000-10-10 | 2001-12-13 | Heraeus Quarzglas | Production of tube made from doped quartz glass used as preform for optical fibers comprises flame hydrolysis of first starting mixture containing silicon and second starting mixture forming germanium dioxide |
Citations (3)
| Publication number | Priority date | Publication date | Assignee | Title |
|---|---|---|---|---|
| EP0100174A1 (en) * | 1982-07-26 | 1984-02-08 | Corning Glass Works | Method of making glass optical fiber |
| DE19527451A1 (en) * | 1995-07-27 | 1997-01-30 | Heraeus Quarzglas | Process for producing a quartz glass blank and device suitable therefor |
| DE19725955C1 (en) * | 1997-06-19 | 1999-01-21 | Heraeus Quarzglas | Quartz glass preform production for optical fibre manufacture |
-
2001
- 2001-03-14 DE DE10112624A patent/DE10112624B4/en not_active Expired - Fee Related
Patent Citations (3)
| Publication number | Priority date | Publication date | Assignee | Title |
|---|---|---|---|---|
| EP0100174A1 (en) * | 1982-07-26 | 1984-02-08 | Corning Glass Works | Method of making glass optical fiber |
| DE19527451A1 (en) * | 1995-07-27 | 1997-01-30 | Heraeus Quarzglas | Process for producing a quartz glass blank and device suitable therefor |
| DE19725955C1 (en) * | 1997-06-19 | 1999-01-21 | Heraeus Quarzglas | Quartz glass preform production for optical fibre manufacture |
Also Published As
| Publication number | Publication date |
|---|---|
| DE10112624A1 (en) | 2001-09-27 |
Similar Documents
| Publication | Publication Date | Title |
|---|---|---|
| EP0755900B1 (en) | Process and apparatus for producing a quartz glass preform by vapour phase deposition | |
| DE2715333C3 (en) | Process for the production of preforms from which optical fibers can be drawn from gaseous glass starting materials | |
| DE69125913T2 (en) | Process for producing a polarization-maintaining fiber | |
| DE2835326C2 (en) | A method of manufacturing a glass blank for drawing into an optical fiber and manufacturing an optical transmission fiber | |
| DE3105295C2 (en) | ||
| DE29823926U1 (en) | Optical fiber glass semifinished product and device for producing a tubular member for optical fiber production | |
| DE2524335C2 (en) | ||
| DE4236578A1 (en) | Method and device for preform production for quartz glass optical fibers | |
| DE60209718T2 (en) | BURNER ASSEMBLY FOR THE MANUFACTURE OF FORMAS FROM GLASS AND ASSOCIATED PRODUCTION PROCESS | |
| DE2908092C3 (en) | Method of making an optical fiber preform | |
| DE10025176A1 (en) | Process for the production of an optical fiber and preform for an optical fiber | |
| DE2730346C3 (en) | Process for the production of a preform for optical glass fibers | |
| EP2367767B1 (en) | Multi-nozzle tubular plasma deposition burner for producing preforms as semi-finished products for optical fibers | |
| DE2930816C2 (en) | Optical fiber with a cladding glass, mainly made of quartz glass, and a core glass made of quartz glass, doped with Ge0? 2? and P? 2? 0? 5?, Ti0? 2?, Al? 2? 0? 3? and / or Ga? 2? 0? 3? | |
| DE3037491A1 (en) | METHOD FOR PRODUCING A GLASS PREFORM FOR OPTICAL TRANSMISSION | |
| DE3304552A1 (en) | METHOD FOR PRODUCING LIGHTWAVE GUIDES | |
| DE10231037C1 (en) | Making synthetic quartz glass blank by plasma-assisted deposition, for optical fiber manufacture, employs burner to focus flow towards plasma zone | |
| DE2922795C2 (en) | Process for the production of optical glass objects, in particular optical waveguides and device for the production of an optical glass preform | |
| DE3008416A1 (en) | METHOD FOR PRODUCING A FIBERGLASS FIBER | |
| DE10112624B4 (en) | Method for producing an optical fiber preform and use of a deposition burner for this purpose | |
| EP0134480A1 (en) | Method of making glass by deposition starting from the gas phase | |
| EP0208086A1 (en) | Method for producing fluorine-doped silicia glass preforms for drawing glass fibres for optical telecommunication | |
| DE10029151C1 (en) | Process for the production of a SiO¶2¶ blank and SiO¶2¶ blank | |
| DE102008063299A1 (en) | Method for producing a compact synthetic quartz glass, a muffle furnace for carrying out the method, and the quartz glass thus obtained | |
| DE10050324C1 (en) | Production of tube made from doped quartz glass used as preform for optical fibers comprises flame hydrolysis of first starting mixture containing silicon and second starting mixture forming germanium dioxide |
Legal Events
| Date | Code | Title | Description |
|---|---|---|---|
| OP8 | Request for examination as to paragraph 44 patent law | ||
| 8127 | New person/name/address of the applicant |
Owner name: HERAEUS TENEVO AG, 63450 HANAU, DE |
|
| 8127 | New person/name/address of the applicant |
Owner name: HERAEUS TENEVO GMBH, 63450 HANAU, DE |
|
| 8364 | No opposition during term of opposition | ||
| 8327 | Change in the person/name/address of the patent owner |
Owner name: HERAEUS QUARZGLAS GMBH & CO. KG, 63450 HANAU, DE |
|
| 8339 | Ceased/non-payment of the annual fee |
