CN2712121Y - Comfort shoe structure - Google Patents
Comfort shoe structure Download PDFInfo
- Publication number
- CN2712121Y CN2712121Y CN 200420036843 CN200420036843U CN2712121Y CN 2712121 Y CN2712121 Y CN 2712121Y CN 200420036843 CN200420036843 CN 200420036843 CN 200420036843 U CN200420036843 U CN 200420036843U CN 2712121 Y CN2712121 Y CN 2712121Y
- Authority
- CN
- China
- Prior art keywords
- shoe
- comfort
- footwear
- comfortable
- midsole
- Prior art date
- Legal status (The legal status is an assumption and is not a legal conclusion. Google has not performed a legal analysis and makes no representation as to the accuracy of the status listed.)
- Expired - Fee Related
Links
Images
Landscapes
- Footwear And Its Accessory, Manufacturing Method And Apparatuses (AREA)
Abstract
本实用新型公开了一种舒适鞋结构,包括鞋底和鞋面,所述鞋底由鞋大底及相对其形状的鞋中底固接结合成一体;所述鞋面的下端缘配合夹置于鞋大底及鞋中底之间;另外,至少一舒适块固设于鞋大底及鞋中底之间,且部分的舒适块凸露于鞋中底。本实用新型的舒适鞋结构将舒适块与鞋本体固接为一体,除了使穿鞋者在行走时可获得较佳的舒适感外,更可防止行走中造成舒适块的移位。
The utility model discloses a comfortable shoe structure, comprising a sole and an upper, wherein the sole is fixedly connected to form an integral body by an outsole and a midsole of a shape corresponding to the outsole; the lower edge of the upper is clamped between the outsole and the midsole; in addition, at least one comfort block is fixedly arranged between the outsole and the midsole, and part of the comfort block protrudes from the midsole. The comfortable shoe structure of the utility model fixes the comfort block to the shoe body as an integral body, which not only enables the wearer to obtain a better sense of comfort when walking, but also prevents the displacement of the comfort block during walking.
Description
【技术领域】【Technical field】
本实用新型涉及鞋产品,特别涉及一种舒适鞋结构。The utility model relates to a shoe product, in particular to a comfortable shoe structure.
【背景技术】【Background technique】
为使人们穿鞋行走时脚部获得更加的舒适感,通常在鞋内底部加设鞋垫,其主要藉由软性鞋垫来缓冲承担脚部的压力使脚部获得舒适感。但由于鞋垫为扁平状的足形片体,而穿鞋者的脚底面并非为平面状(如脚掌及脚指间处、脚底面内侧凹处),因此,人们穿鞋行走时,鞋垫并无法完全贴靠于脚底面,行走时脚部所获得的舒适感并不足,有鉴于此,市面上产生了改良型的鞋垫。In order to make the feet more comfortable when people wear shoes and walk, an insole is usually added on the inner bottom of the shoe, which mainly uses the soft insole to buffer and bear the pressure on the foot so that the foot can obtain comfort. However, since the insole is a flat foot-shaped sheet, and the sole surface of the wearer's foot is not flat (such as the sole of the foot and the toes, the concave part on the inner side of the sole surface), the insole cannot be fully formed when people walk in shoes. Adhering to the sole surface of the foot, the comfort obtained by the foot when walking is not enough. In view of this, improved insoles have been produced on the market.
如图1-2所示为目前改良后的鞋垫11,鞋垫11主要于其上端面设有若干抵凸12,且各抵凸12对应脚部底面的凹陷处,藉此,鞋垫11置于鞋体13的鞋内底部处使人们穿鞋行走时鞋垫11得以贴靠脚底面,因此,在行走时得以获得最佳的舒适感,但实际使用中仍具有须立即改善的缺陷:As shown in Figure 1-2, the improved
由于鞋垫11以可替换的方式组设于鞋内底面处,因此,鞋垫11无法与鞋体13结合为一体,两者之间存有相互滑移的可能性;也正因如此,一旦穿鞋者穿鞋行走时,因脚部施力于鞋垫11上而造成鞋垫11与鞋内底部之间产生滑移状态,且鞋垫11将会朝向行走方向滑移(即鞋体13前方)使鞋垫11扭曲绉折,而使鞋垫11的抵凸12偏移,无法对应脚底的凹陷处,不但无法增加穿鞋行走时的舒适感,反而因不对位的抵凸而造成反效果,严重者将造成脚部伤害。Because the
【实用新型内容】【Content of utility model】
本实用新型的目的在于针对上述不足提供一种舒适鞋结构,使鞋体具有不易移位的舒适块,以保持穿鞋后脚部的舒适性。The purpose of this utility model is to provide a comfortable shoe structure to address the above-mentioned shortcomings, so that the shoe body has a comfortable block that is not easy to shift, so as to maintain the comfort of the foot after wearing the shoe.
为了实现上述目的,本实用新型提供的一种舒适鞋结构,包括鞋底和鞋面,所述鞋底由鞋大底及相对其形状的鞋中底固接结合成一体;所述鞋面的下端缘配合夹置于鞋大底及鞋中底之间;另外,至少一舒适块固设于鞋大底及鞋中底之间,且部分的舒适块凸露于鞋中底。In order to achieve the above object, a comfortable shoe structure provided by the utility model includes a sole and a vamp, and the sole is fixedly combined by a shoe outsole and a shoe midsole corresponding to its shape; the lower edge of the vamp Cooperate and sandwiched between the outsole and the midsole of the shoe; in addition, at least one comfort block is fixed between the outsole and the midsole of the shoe, and part of the comfort block protrudes from the midsole of the shoe.
本实用新型的上述鞋底的鞋中底最好至少开设有一通孔。Preferably, the midsole of the above-mentioned shoe sole of the present utility model has at least one through hole.
相对于现有技术,本实用新型的舒适鞋结构将舒适块与鞋本体固接为一体,除了使穿鞋者在行走时可获得较佳的舒适感外,更可防止行走中造成舒适块的移位。Compared with the prior art, the comfortable shoe structure of the utility model integrates the comfortable block and the shoe body, which not only enables the wearer to obtain a better sense of comfort when walking, but also prevents the wear of the comfortable block during walking. shift.
【附图说明】【Description of drawings】
图1为现有技术中设有若干抵凸的鞋垫与鞋体的分解图;Fig. 1 is an exploded view of an insole and a shoe body provided with several protrusions in the prior art;
图2为图1的组合剖面图;Fig. 2 is the combined sectional view of Fig. 1;
图3为本实用新型的立体分解图;Fig. 3 is a three-dimensional exploded view of the utility model;
图4为本实用新型的组合局部透视图;Fig. 4 is the combined partial perspective view of the utility model;
图5为本实用新型的纵向剖面图;Fig. 5 is a longitudinal sectional view of the utility model;
图6为本实用新型的横向剖面图。Fig. 6 is a transverse sectional view of the utility model.
其中:in:
11为鞋垫;12为抵凸;13为鞋体;11 is an insole; 12 is a protrusion; 13 is a shoe body;
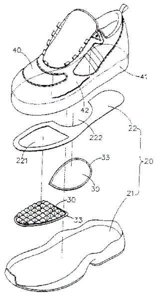
20为鞋底;21为鞋大底;22为鞋中底;221为通孔;222为缺孔;20 is a sole; 21 is a shoe outsole; 22 is a shoe midsole; 221 is a through hole; 222 is a hole;
30为舒适块;31为布面;32为弹性体;33为延伸部;30 is a comfortable piece; 31 is a cloth surface; 32 is an elastic body; 33 is an extension;
40为鞋面;41为夹合部;42为补强部;40 is the vamp; 41 is the clamping part; 42 is the reinforcing part;
50为脚部。50 is the foot.
【具体实施方式】【Detailed ways】
下面结合附图和实施例对本实用新型作进一步描述。Below in conjunction with accompanying drawing and embodiment the utility model is described further.
如图3-6所示,本实用新型一较佳实施例提供的舒适鞋结构由鞋底20、二舒适块30及鞋面40组配而成,其中:As shown in Figures 3-6, the comfortable shoe structure provided by a preferred embodiment of the present invention is composed of a sole 20, two
鞋底20由一概成足形的鞋大底21以及相对于鞋大底21造型的鞋中底22相互固接结合成一体,特别于鞋中底22前端开设有通孔221,且邻近通孔221处又开设有缺孔222。The sole 20 consists of a
二舒适块30由布面31包覆弹性体32所构成,舒适块30周侧具有延伸部33,二舒适块30固设于鞋大底21及鞋中底22之间且对应人体脚底面的凹陷处,而舒适块30的延伸部33位于鞋中底22的通孔221与缺孔222的孔缘处,部分的舒适块30分别通过鞋中底22的通孔221与缺孔222而凸露于鞋中底22。The
鞋面40的下端缘为夹合部41,夹合部41配合夹置于鞋大底21及鞋中底22之间,另外,凸露于鞋中底22缺孔222的舒适块30部分粘固于鞋面40内侧,另外,于夹合部41延伸成型有一补强部42,且补强部42对应鞋中底22的缺孔222处,藉以增加鞋面40与鞋中底22结合的强度。The lower end edge of the
以上所述即为本实用新型一较佳实施例各主要构件的相互关系位置及结构。The above is the relative position and structure of each main component in a preferred embodiment of the present utility model.
为了清楚说明本实用新型的动作方式与功效,请参阅图5,由于舒适块30对应人体脚部50底面的凹陷处而固定结合于鞋底20上(即鞋大底21及鞋中底22之间),因此,舒适块30与鞋底20结合为一体而不可分离,又因为部分的舒适块30凸露于鞋中底22,因此,舒适块30可紧密的贴靠于脚部50底面凹陷处,在行走时可获得较佳的舒适感。另外,舒适块30固定结合于鞋底20上而不与鞋垫结合为一体,因此,当穿鞋者行走时,鞋垫所产生的滑动移位并不会造成舒适块30的移位,藉此,本实用新型得以保持穿鞋后脚部50的舒适性。另外,由于本实用新型于成型后的鞋内底部设有凸出的二舒适块30,且二舒适块30恰对应人体脚部50底面的凹陷处,因此,穿鞋者的脚底得以完全与鞋内底部相密合而不会有空隙的产生,藉以增加穿鞋者穿鞋的舒适性。In order to clearly illustrate the action mode and effect of the present utility model, please refer to FIG. ), therefore, the
再请参阅图3,本实用新型装配步骤如下:先取鞋楦(图未示)作为靠抵物,而于鞋楦端面预先挖设有二凹槽,将开设有通孔221或缺孔222的鞋中底22置于鞋楦上,且使通孔221或缺孔222对应凹槽,紧接着取舒适块30置于鞋中底22上,使舒适块30的延伸部33靠抵于通孔221或缺孔222的孔缘处,部分的舒适块30将通过通孔221或缺孔222而位于鞋楦的凹槽内,再取鞋面40包覆于鞋楦,且使鞋面40的夹合部41靠抵于鞋中底22周侧,此时透过缝设或粘设的定位方式使舒适块30、鞋中底22及鞋面40三者相互定位为一体,最后进行鞋大底21的成型或结合的步骤,取出鞋楦藉以完成鞋的制作。Please refer to Fig. 3 again, the assembling steps of the utility model are as follows: firstly take the shoe last (not shown) as the abutment, and dig two grooves in advance on the end surface of the shoe last, and open the through
Claims (5)
Priority Applications (1)
| Application Number | Priority Date | Filing Date | Title |
|---|---|---|---|
| CN 200420036843 CN2712121Y (en) | 2004-06-28 | 2004-06-28 | Comfort shoe structure |
Applications Claiming Priority (1)
| Application Number | Priority Date | Filing Date | Title |
|---|---|---|---|
| CN 200420036843 CN2712121Y (en) | 2004-06-28 | 2004-06-28 | Comfort shoe structure |
Publications (1)
| Publication Number | Publication Date |
|---|---|
| CN2712121Y true CN2712121Y (en) | 2005-07-27 |
Family
ID=34871572
Family Applications (1)
| Application Number | Title | Priority Date | Filing Date |
|---|---|---|---|
| CN 200420036843 Expired - Fee Related CN2712121Y (en) | 2004-06-28 | 2004-06-28 | Comfort shoe structure |
Country Status (1)
| Country | Link |
|---|---|
| CN (1) | CN2712121Y (en) |
Cited By (2)
| Publication number | Priority date | Publication date | Assignee | Title |
|---|---|---|---|---|
| CN103202572A (en) * | 2012-01-17 | 2013-07-17 | 昆山多威体育用品有限公司 | Improved structure for shoe sole of military training shoe |
| CN109674137A (en) * | 2019-02-21 | 2019-04-26 | 陕西科技大学 | A kind of Multifunctional comfortable running shoes with insole sole integrated structure |
-
2004
- 2004-06-28 CN CN 200420036843 patent/CN2712121Y/en not_active Expired - Fee Related
Cited By (4)
| Publication number | Priority date | Publication date | Assignee | Title |
|---|---|---|---|---|
| CN103202572A (en) * | 2012-01-17 | 2013-07-17 | 昆山多威体育用品有限公司 | Improved structure for shoe sole of military training shoe |
| CN103202572B (en) * | 2012-01-17 | 2015-11-18 | 昆山多威体育用品有限公司 | The structure-improved of military training footwear sole |
| CN109674137A (en) * | 2019-02-21 | 2019-04-26 | 陕西科技大学 | A kind of Multifunctional comfortable running shoes with insole sole integrated structure |
| CN109674137B (en) * | 2019-02-21 | 2024-06-07 | 黎明职业大学 | Multifunctional comfortable running shoes with insole and sole integrated structure |
Similar Documents
| Publication | Publication Date | Title |
|---|---|---|
| CN112790470B (en) | Sole structure with auxetic structure and sipes | |
| US8834770B2 (en) | Sole component for an article of footwear and method for making same | |
| US7047669B2 (en) | High heel shoe cushion system | |
| WO2007092002A1 (en) | Cushioned insole | |
| JPH04231002A (en) | Footwear with sole part consisting of at least two layer | |
| CA2483682A1 (en) | Elastic overshoe with slip resistant sole pads | |
| CN2712121Y (en) | Comfort shoe structure | |
| CN2707063Y (en) | Movable adjustable orthopedic device for plantar height | |
| JP2597347Y2 (en) | Pumps and lasts and insoles for pumps | |
| CN218921848U (en) | Multifunctional sports sole | |
| JP3167656U (en) | footwear | |
| JP2006305265A (en) | Footwear | |
| CN223437962U (en) | A kind of leisure health-care women's shoes | |
| KR200356240Y1 (en) | Shoe last | |
| CN222264527U (en) | Healthy walking shoe with arch support insole | |
| CN221128985U (en) | Novel shoes with multiple wearing styles | |
| KR200464470Y1 (en) | Women's Shoe Midsole, Sole With Tooth And Shoe For Sole Pressure Dispersion | |
| CN217743323U (en) | Outdoor leisure sole with adjustable | |
| CN201595235U (en) | Soft five-toe shoe | |
| KR102339068B1 (en) | Golf shoes | |
| JP3037498U (en) | Footwear | |
| CN2392401Y (en) | Magnetic combined convenient shoes | |
| CN2810257Y (en) | Comfortable, shock-resistant shoes | |
| CN2334208Y (en) | Shoes with wooden sole | |
| JP3068083U (en) | Wooden sandals that can bend while walking |
Legal Events
| Date | Code | Title | Description |
|---|---|---|---|
| C14 | Grant of patent or utility model | ||
| GR01 | Patent grant | ||
| C19 | Lapse of patent right due to non-payment of the annual fee | ||
| CF01 | Termination of patent right due to non-payment of annual fee |
