CN2711908Y - Improved Structure of Light Emitting Diodes - Google Patents
Improved Structure of Light Emitting Diodes Download PDFInfo
- Publication number
- CN2711908Y CN2711908Y CNU2004200643544U CN200420064354U CN2711908Y CN 2711908 Y CN2711908 Y CN 2711908Y CN U2004200643544 U CNU2004200643544 U CN U2004200643544U CN 200420064354 U CN200420064354 U CN 200420064354U CN 2711908 Y CN2711908 Y CN 2711908Y
- Authority
- CN
- China
- Prior art keywords
- chip
- light
- emitting diode
- fluorescent material
- supporting part
- Prior art date
- Legal status (The legal status is an assumption and is not a legal conclusion. Google has not performed a legal analysis and makes no representation as to the accuracy of the status listed.)
- Expired - Lifetime
Links
- 239000000463 material Substances 0.000 claims abstract description 42
- 239000003292 glue Substances 0.000 claims abstract description 5
- 238000010276 construction Methods 0.000 claims description 9
- 239000002390 adhesive tape Substances 0.000 claims description 6
- 239000004033 plastic Substances 0.000 claims description 6
- 229920003023 plastic Polymers 0.000 claims description 6
- 241000218202 Coptis Species 0.000 claims description 5
- 235000002991 Coptis groenlandica Nutrition 0.000 claims description 5
- 230000015572 biosynthetic process Effects 0.000 claims description 2
- 239000011248 coating agent Substances 0.000 claims description 2
- 238000000576 coating method Methods 0.000 claims description 2
- 230000001681 protective effect Effects 0.000 claims description 2
- 230000000694 effects Effects 0.000 description 7
- 238000010586 diagram Methods 0.000 description 6
- 239000004568 cement Substances 0.000 description 4
- 238000005538 encapsulation Methods 0.000 description 3
- 238000000465 moulding Methods 0.000 description 3
- 230000009286 beneficial effect Effects 0.000 description 1
- 230000005540 biological transmission Effects 0.000 description 1
- 238000005516 engineering process Methods 0.000 description 1
- 238000005755 formation reaction Methods 0.000 description 1
- 238000004519 manufacturing process Methods 0.000 description 1
- 238000000034 method Methods 0.000 description 1
- 238000000247 postprecipitation Methods 0.000 description 1
- 239000002244 precipitate Substances 0.000 description 1
- 238000001556 precipitation Methods 0.000 description 1
- 239000002994 raw material Substances 0.000 description 1
Images
Landscapes
- Led Device Packages (AREA)
Abstract
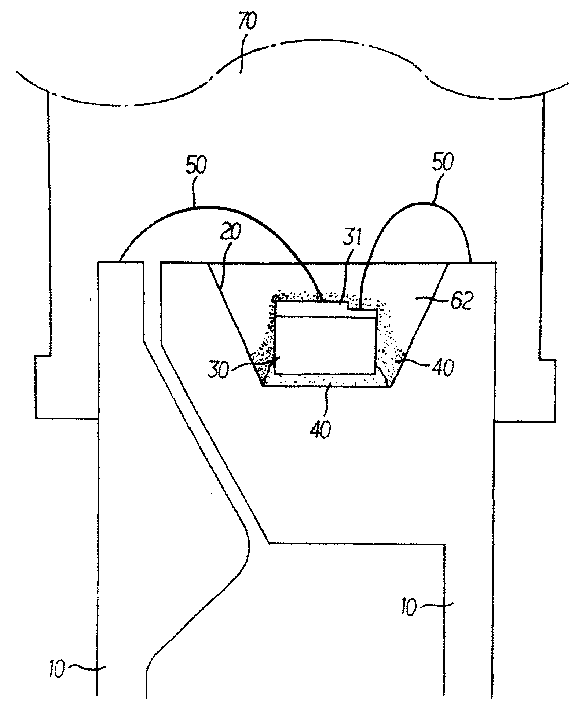
本实用新型发光二极管是将芯片底部埋入由荧光胶所构成的荧光材料而与承载部构成胶合,于芯片顶层以及芯片边侧与承载部的空间是覆盖有粉末状的荧光材料,以使芯片的四周围皆由荧光材料包覆,令构成一可平衡芯片顶层与边侧光线与荧光材料的波长结合,有效避免异色光圈生成的发光二极管构造。
The light-emitting diode of the utility model embeds the bottom of the chip with a fluorescent material made of fluorescent glue to form a glue with the bearing part, and the space between the top layer of the chip and the side of the chip and the bearing part is covered with powdery fluorescent material, so that the chip The four sides of the chip are covered with fluorescent materials, so that a light-emitting diode structure that can balance the wavelength combination of the top layer and side of the chip and the fluorescent material can effectively avoid the generation of heterochromatic apertures.
Description
Claims (5)
Priority Applications (1)
| Application Number | Priority Date | Filing Date | Title |
|---|---|---|---|
| CNU2004200643544U CN2711908Y (en) | 2004-06-01 | 2004-06-01 | Improved Structure of Light Emitting Diodes |
Applications Claiming Priority (1)
| Application Number | Priority Date | Filing Date | Title |
|---|---|---|---|
| CNU2004200643544U CN2711908Y (en) | 2004-06-01 | 2004-06-01 | Improved Structure of Light Emitting Diodes |
Publications (1)
| Publication Number | Publication Date |
|---|---|
| CN2711908Y true CN2711908Y (en) | 2005-07-20 |
Family
ID=36193009
Family Applications (1)
| Application Number | Title | Priority Date | Filing Date |
|---|---|---|---|
| CNU2004200643544U Expired - Lifetime CN2711908Y (en) | 2004-06-01 | 2004-06-01 | Improved Structure of Light Emitting Diodes |
Country Status (1)
| Country | Link |
|---|---|
| CN (1) | CN2711908Y (en) |
Cited By (3)
| Publication number | Priority date | Publication date | Assignee | Title |
|---|---|---|---|---|
| CN100454593C (en) * | 2005-08-03 | 2009-01-21 | 刘士龙 | Method for manufacturing substrate type white light diode |
| WO2014012346A1 (en) * | 2012-07-18 | 2014-01-23 | 上海顿格电子贸易有限公司 | Stereoscopic wrapped and encapsulated led chip |
| WO2020062013A1 (en) * | 2018-09-28 | 2020-04-02 | 江苏新云汉光电科技有限公司 | Led lamp and luminance increasing method therefor |
-
2004
- 2004-06-01 CN CNU2004200643544U patent/CN2711908Y/en not_active Expired - Lifetime
Cited By (3)
| Publication number | Priority date | Publication date | Assignee | Title |
|---|---|---|---|---|
| CN100454593C (en) * | 2005-08-03 | 2009-01-21 | 刘士龙 | Method for manufacturing substrate type white light diode |
| WO2014012346A1 (en) * | 2012-07-18 | 2014-01-23 | 上海顿格电子贸易有限公司 | Stereoscopic wrapped and encapsulated led chip |
| WO2020062013A1 (en) * | 2018-09-28 | 2020-04-02 | 江苏新云汉光电科技有限公司 | Led lamp and luminance increasing method therefor |
Similar Documents
| Publication | Publication Date | Title |
|---|---|---|
| CN202111151U (en) | Novel TOP LED support and TOP LED device manufactured by using the same | |
| JP2004172160A (en) | Light emitting element | |
| CN101551067A (en) | White light LED light source module adopting COB technology and array interconnecting | |
| CN202839741U (en) | Surface-mounted light emitting diode support | |
| CN201796953U (en) | Encapsulating structure of SMD (surface mounted device) for white-light LED | |
| CN205406565U (en) | Cspled | |
| CN2711908Y (en) | Improved Structure of Light Emitting Diodes | |
| CN202513204U (en) | Packaging structure with white light surface attached with light emitting diode | |
| CN205248309U (en) | One -way high luminous flux white light device | |
| CN2681355Y (en) | Light-emitting diode packaging components made of metal substrates | |
| CN2388710Y (en) | Color-mixing LED device | |
| CN209418496U (en) | A kind of integrated LED backlight encapsulating structure | |
| CN218069889U (en) | Anti-vulcanization LED device | |
| CN207217584U (en) | A kind of COB modules of adjustable color temperature | |
| US20070252167A1 (en) | Surface mounting optoelectronic device | |
| CN201666469U (en) | LED module packaging structure | |
| CN2729907Y (en) | Improved White Light Emitting Diode Structure | |
| CN207009472U (en) | A kind of LED filament | |
| CN209418536U (en) | A kind of novel patch formula LED light source encapsulating structure | |
| CN2831439Y (en) | Photoelectric chip package structure with control chip | |
| CN2854813Y (en) | Improvement of Package Structure of Light Emitting Diode | |
| CN2809881Y (en) | High Brightness Light Emitting Diodes | |
| CN208352332U (en) | A kind of full view LED core chip package | |
| CN2593369Y (en) | LED | |
| CN2738401Y (en) | Fluorescent conversion type light-emitting diode |
Legal Events
| Date | Code | Title | Description |
|---|---|---|---|
| C14 | Grant of patent or utility model | ||
| GR01 | Patent grant | ||
| ASS | Succession or assignment of patent right |
Owner name: NISSIN CO., LTD. Free format text: FORMER OWNER: LIU SHILONG Effective date: 20110303 |
|
| C41 | Transfer of patent application or patent right or utility model | ||
| COR | Change of bibliographic data |
Free format text: CORRECT: ADDRESS; FROM: NO.24, LANE 15, LANE 193, SECTION 2, MINZU ROAD, PINGZHEN CITY, TAOYUAN COUNTY, TAIWAN, CHINA TO: MAILBOX 217, APIA, SAMOA |
|
| TR01 | Transfer of patent right |
Effective date of registration: 20110303 Address after: Samoa Apia P.O. Box 217 Patentee after: Nisshin Import & Export Company Limited Address before: China Town National Road Taiwan Taoyuan County Ping two lane 193, Lane 15 No. 24 Patentee before: Liu Shilong |
|
| C17 | Cessation of patent right | ||
| CX01 | Expiry of patent term |
Expiration termination date: 20140601 Granted publication date: 20050720 |
