CN218943903U - Intestinal feeding tube device - Google Patents
Intestinal feeding tube device Download PDFInfo
- Publication number
- CN218943903U CN218943903U CN202222685873.3U CN202222685873U CN218943903U CN 218943903 U CN218943903 U CN 218943903U CN 202222685873 U CN202222685873 U CN 202222685873U CN 218943903 U CN218943903 U CN 218943903U
- Authority
- CN
- China
- Prior art keywords
- milk
- bag
- warm water
- feeding tube
- interface
- Prior art date
- Legal status (The legal status is an assumption and is not a legal conclusion. Google has not performed a legal analysis and makes no representation as to the accuracy of the status listed.)
- Active
Links
- 230000000968 intestinal effect Effects 0.000 title claims abstract description 10
- 239000008267 milk Substances 0.000 claims abstract description 149
- 210000004080 milk Anatomy 0.000 claims abstract description 149
- 235000013336 milk Nutrition 0.000 claims abstract description 149
- XLYOFNOQVPJJNP-UHFFFAOYSA-N water Substances O XLYOFNOQVPJJNP-UHFFFAOYSA-N 0.000 claims abstract description 63
- 238000004140 cleaning Methods 0.000 claims abstract description 16
- 239000007788 liquid Substances 0.000 claims description 7
- 238000010438 heat treatment Methods 0.000 claims description 3
- 239000012528 membrane Substances 0.000 claims description 3
- 210000000481 breast Anatomy 0.000 claims 1
- 238000000034 method Methods 0.000 abstract description 7
- 238000001802 infusion Methods 0.000 abstract description 5
- 230000003670 easy-to-clean Effects 0.000 abstract description 3
- 235000016709 nutrition Nutrition 0.000 description 5
- 230000035764 nutrition Effects 0.000 description 5
- 230000002496 gastric effect Effects 0.000 description 2
- 230000005484 gravity Effects 0.000 description 2
- 238000005086 pumping Methods 0.000 description 2
- 208000028399 Critical Illness Diseases 0.000 description 1
- 230000009286 beneficial effect Effects 0.000 description 1
- 238000010586 diagram Methods 0.000 description 1
- 230000029087 digestion Effects 0.000 description 1
- 239000003814 drug Substances 0.000 description 1
- 239000012535 impurity Substances 0.000 description 1
- 238000009434 installation Methods 0.000 description 1
- 238000012986 modification Methods 0.000 description 1
- 230000004048 modification Effects 0.000 description 1
- 238000004321 preservation Methods 0.000 description 1
Images
Landscapes
- Devices For Dispensing Beverages (AREA)
Abstract
本实用新型涉及一种肠饲管装置,解决现有肠饲管装置使用不便的问题。包括有奶泵,饲管,及供奶装置,清洗接口与温水入口密封连接,奶液从奶袋顶部的奶液进入接口进入到奶袋内,将瓶盖与温水袋的底部外周的第一外螺纹接口进行旋接,然后瓶盖中部的中空的出奶口在旋接的过程中上移,出奶口对应奶袋一侧的针尖将奶袋底部软胶塞扎破,奶液从出奶口流下来,输液完毕,旋转瓶盖,使针尖脱离软胶塞,同时瓶盖与温水袋保持连接,将清洗接口与温水入口分离,温水袋内的水通过瓶盖流入到供奶管内进行清洗,从而从奶液进入接口注入奶液,可以源源不断的提供,另外温水袋给奶袋保温的同时,温水袋内的水可以用来清洗供奶管,清洗方便,从而操作简单,使用方便。
The utility model relates to an intestinal feeding tube device, which solves the problem of inconvenient use of the existing intestinal feeding tube device. It includes a milk pump, a feeding tube, and a milk supply device. The cleaning interface is sealed and connected to the warm water inlet. The milk enters the milk bag from the milk inlet interface on the top of the milk bag. The external thread interface is screwed, and then the hollow milk outlet in the middle of the bottle cap is moved up during the screwing process. The needle tip corresponding to the side of the milk bag on the milk outlet will puncture the soft rubber plug at the bottom of the milk bag, and the milk will flow out from the outlet. After the infusion is completed, turn the bottle cap to remove the needle tip from the soft rubber plug. At the same time, the bottle cap is connected to the warm water bag, and the cleaning interface is separated from the warm water inlet. The water in the warm water bag flows into the milk supply tube through the bottle cap for further Cleaning, so as to inject milk from the milk inlet interface, which can be continuously provided. In addition, while the warm water bag keeps the milk bag warm, the water in the warm water bag can be used to clean the milk supply tube, which is easy to clean, so it is easy to operate and easy to use .
Description
技术领域technical field
本实用新型涉及一种肠饲管装置。The utility model relates to an intestinal feeding tube device.
背景技术Background technique
经鼻胃或鼻空肠给予营养的肠内营养作为危重患儿能量最主要的途径。ICU患者中约98%以上患儿都需要经经鼻胃或鼻空肠输送营养。临床上常使用重力或持续泵入方式经鼻胃管或鼻空肠管或造瘘口输注。目前临床上最为方便也能控制奶输注速度的是肠内营养泵+管路进行控制,但是产品在临床上使用存在较多问题,营养泵与奶瓶连接,奶瓶没有保温装置,奶很容易就变凉,不利于病人消化,另外奶瓶的奶液输完后,要专门对奶瓶进行清洗,操作繁琐,不便使用。Enteral nutrition through nasogastric or nasojejunal nutrition is the most important way of energy for critically ill children. More than 98% of ICU patients need to deliver nutrition via nasogastric or nasojejunal route. Clinically, gravity or continuous pumping is often used for infusion through nasogastric tube or nasojejunal tube or stoma. At present, the most convenient clinical method that can control the milk infusion speed is the enteral nutrition pump + pipeline control, but there are many problems in the clinical use of the product. The nutrition pump is connected to the feeding bottle, and the feeding bottle does not have a heat preservation device, so the milk is easy to drink. It becomes cold, which is not conducive to the patient's digestion. In addition, after the milk in the feeding bottle is transfused, the feeding bottle must be cleaned specially, which is cumbersome and inconvenient to use.
实用新型内容Utility model content
本实用新型的目的在于解决现有肠饲管装置使用不便的问题。The purpose of the utility model is to solve the problem of inconvenient use of the existing intestinal feeding tube device.
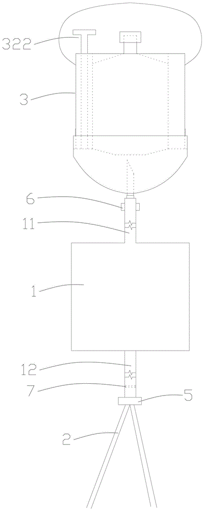
为解决本实用新型所提出的技术问题采用的技术方案为:本实用新型的肠饲管装置包括有奶泵,与奶泵连接的用于伸入人体的饲管,以及供奶装置,所述的供奶装置与奶泵之间通过供奶管连接,所述的奶泵与饲管之间通过送奶管连接,所述的供奶装置包括有奶袋,设于奶袋外周的用于给奶液加热的温水袋,以及设于温水袋上的挂钩,所述的温水袋的底部外周设有第一外螺纹接口,所述的供奶管与第一外螺纹接口之间通过瓶盖连接,所述的瓶盖上设有与第一外螺纹连接的第一内螺纹接口,所述的瓶盖的底部设有第二外螺纹接口,所述的供奶管上设有与第二外螺纹接口配合的第二内螺纹接口,所述的奶袋的底部设有软胶塞,所述的瓶盖中部设有旋转上移过程中用于将软胶塞扎破的中空的出奶口,出奶口对应奶袋的一侧设有针尖,所述的温水袋的底部设有温水入口,所述的温水袋上设有与温水入口可拆卸密封连接的清洗接口,所述的奶袋顶部设有奶液进入接口,奶液进入接口上设有与奶液进入接口配合的可拆卸的奶液进入接口盖。The technical solution adopted for solving the technical problems proposed by the utility model is: the enteral feeding tube device of the utility model includes a milk pump, a feeding tube connected with the milk pump and used to extend into the human body, and a milk supply device. The milk supply device and the milk pump are connected by a milk supply tube, and the milk pump and the feeding tube are connected by a milk supply tube. The milk supply device includes a milk bag, which is arranged on the outer periphery of the milk bag for A warm water bag for heating milk, and a hook arranged on the warm water bag. The outer periphery of the bottom of the warm water bag is provided with a first external threaded interface, and the bottle cap is passed between the milk supply tube and the first external threaded interface. The bottle cap is provided with a first internal thread interface connected with the first external thread, the bottom of the bottle cap is provided with a second external thread interface, and the milk supply tube is provided with a second external thread interface. The second internal thread interface matched with the external thread interface, the bottom of the milk bag is provided with a soft rubber plug, and the middle part of the bottle cap is provided with a hollow milk outlet for puncturing the soft rubber plug during the process of rotating and moving up. There is a needle point on the side of the milk bag corresponding to the milk outlet, a warm water inlet is provided at the bottom of the warm water bag, and a cleaning interface that is detachably and sealed connected with the warm water inlet is provided on the warm water bag. A milk inlet port is provided on the top of the bag, and a detachable milk inlet port cover matched with the milk inlet port is provided on the milk inlet port.
对本实用新型作进一步限定的技术方案包括:The technical scheme that further limits the utility model includes:
所述的清洗接口包括有设于温水袋顶部的把手,以及与把手连接的设于温水袋内的活塞,所述的活塞与温水入口配合设置。The cleaning interface includes a handle arranged on the top of the warm water bag, and a piston connected to the handle and arranged in the warm water bag, and the piston is arranged in cooperation with the warm water inlet.
所述的饲管包括有鼻胃管和肠管,所述的饲管与送料管之间通过三通阀连接。The feeding tube includes a nasogastric tube and an intestinal tube, and the feeding tube is connected to the feeding tube through a three-way valve.
所述的奶液进入接口为设于奶袋顶部的第三外螺纹接口,所述的奶液进入接口盖上设有与第三外螺纹接口配合的第三内螺纹接口。The milk inlet port is a third external threaded port on the top of the milk bag, and the milk inlet port cover is provided with a third internal threaded port that matches the third external threaded port.
所述的奶袋的顶部边缘设有上斜导向面。The top edge of the milk bag is provided with an upwardly inclined guide surface.
所述的奶袋的底部边缘设有下斜导向面。The bottom edge of the milk bag is provided with a downwardly inclined guide surface.
所述的供奶管上设有用于检测供奶管内是否有空气进入的红外传感器,红外传感器与控制器连接,控制器控制奶泵工作。The milk supply pipe is provided with an infrared sensor for detecting whether there is air entering the milk supply pipe, the infrared sensor is connected with the controller, and the controller controls the operation of the milk pump.
所述的送奶管内设有过滤膜。A filter membrane is arranged inside the milk feeding pipe.
通过上述技术方案,本实用新型的有益效果为:本实用新型的肠饲管装置使用时,清洗接口与温水入口密封连接,奶液从奶袋顶部的奶液进入接口进入到奶袋内,将瓶盖与温水袋的底部外周的第一外螺纹接口进行旋接,然后瓶盖中部的中空的出奶口在旋接的过程中上移,出奶口对应奶袋一侧的针尖将奶袋底部软胶塞扎破,奶液从出奶口流下来,输液完毕,旋转瓶盖,使针尖脱离软胶塞,同时瓶盖与温水袋保持连接,将清洗接口与温水入口分离,温水袋内的水通过瓶盖流入到供奶管内进行清洗,从而从奶液进入接口注入奶液,可以源源不断的提供,另外温水袋给奶袋保温的同时,温水袋内的水可以用来清洗供奶管,清洗方便,从而操作简单,使用方便。Through the above technical solution, the beneficial effects of the utility model are: when the enteral feeding tube device of the utility model is used, the cleaning interface is sealed and connected with the warm water inlet, and the milk enters the milk bag from the milk inlet interface on the top of the milk bag, and the The bottle cap is screwed to the first external threaded interface on the bottom periphery of the warm water bag, and then the hollow milk outlet in the middle of the bottle cap moves up during the screwing process, and the milk outlet corresponds to the needle point on the side of the milk bag to push the milk bag The soft rubber plug at the bottom is punctured, and the milk flows down from the milk outlet. After the infusion is completed, rotate the bottle cap to make the needle tip detached from the soft rubber plug. At the same time, the bottle cap is kept connected with the warm water bag, and the cleaning interface is separated from the warm water inlet. The water flows into the milk supply tube through the bottle cap for cleaning, so that the milk is injected from the milk liquid inlet port, which can be continuously supplied. In addition, the warm water bag keeps the milk bag warm, and the water in the warm water bag can be used to clean the milk supply. tube, easy to clean, thus simple to operate and easy to use.
附图说明Description of drawings
图1为本实用新型一种肠饲管装置的结构示意图。Fig. 1 is a schematic structural view of an enteral feeding tube device of the present invention.
图2为本实用新型一种肠饲管装置的供奶装置的结构示意图。Fig. 2 is a structural schematic diagram of a milk supply device of an enteral feeding tube device of the present invention.
具体实施方式Detailed ways
以下结合附图对本实用新型的结构做进一步说明。Below in conjunction with accompanying drawing, the structure of the present utility model is further described.
参照图1和图2,本实用新型的一种肠饲管装置包括有奶泵1,与奶泵连接的用于伸入人体的饲管2,以及供奶装置3,供奶装置与奶泵之间通过供奶管11连接,奶泵与饲管之间通过送奶管12连接,供奶装置3包括有奶袋31,设于奶袋外周的用于给奶液加热的温水袋32,以及设于温水袋上的挂钩33,温水袋32的底部外周设有第一外螺纹接口321,供奶管与第一外螺纹接口之间通过瓶盖4连接,瓶盖4上设有与第一外螺纹连接的第一内螺纹接口41,瓶盖的底部设有第二外螺纹接口42,供奶管11上设有与第二外螺纹接口配合的第二内螺纹接口111,奶袋31的底部设有软胶塞311,瓶盖4中部设有旋转上移过程中用于将软胶塞扎破的中空的出奶口43,出奶口对应奶袋的一侧设有针尖431,温水袋底部设有温水入口323,温水袋32上设有与温水入口可拆卸密封连接的清洗接口322,奶袋31顶部设有奶液进入接口312,奶液进入接口上设有与奶液进入接口配合的可拆卸的奶液进入接口盖34。本实施例中,奶液进入接口312为设于奶袋顶部的第三外螺纹接口,奶液进入接口盖34上设有与第三外螺纹接口配合的第三内螺纹接口341。使用时,清洗接口与温水入口密封连接,奶液从奶袋顶部的奶液进入接口进入到奶袋内,将瓶盖与温水袋的底部外周的第一外螺纹接口进行旋接,然后瓶盖中部的中空的出奶口在旋接的过程中上移,出奶口对应奶袋一侧的针尖将奶袋底部软胶塞扎破,奶液从出奶口流下来,输液完毕,旋转瓶盖,使针尖脱离软胶塞,同时瓶盖与温水袋保持连接,将清洗接口与温水入口分离,温水袋内的水通过瓶盖流入到供奶管内进行清洗,从而从奶液进入接口注入奶液,可以源源不断的提供,另外温水袋给奶袋保温的同时,温水袋内的水可以用来清洗供奶管,清洗方便,从而操作简单,使用方便。With reference to Fig. 1 and Fig. 2, a kind of enteral feeding tube device of the present utility model comprises milk pump 1, the feeding tube 2 that is connected with milk pump and is used to extend into human body, and
本实施例中,奶袋31的顶部边缘设有上斜导向面313。奶袋的底部边缘设有下斜导向面314。上斜导向面和下斜导向面便于奶液分别从上下导向流出。In this embodiment, the top edge of the
本实施例中,清洗接口322包括有设于温水袋顶部的把手3221,以及与把手连接的设于温水袋内的活塞3222,活塞与温水入口配合设置。输奶液时,握住把手将活塞塞入到温水入口内,温水袋内的温水用于给奶液保温,当奶液输完,需要清洗供奶管时,旋转瓶盖,使针尖脱离软胶塞,同时瓶盖与温水袋保持连接,握住把手拔出活塞,将活塞与温水入口分离,温水袋内的水通过瓶盖流入到供奶管内进行清洗。In this embodiment, the
本实施例中,饲管2包括有鼻胃管和肠管,饲管与送料管之间通过三通阀5连接。当需要连通胃管,通过调节三通阀使送料管与胃管连通,可以输送奶,当需要连通肠管,通过调节三通阀使送料管与肠管连通,从而避免接口反复装与拆,降低污染,此装置既可以用于持续泵入奶还可以用于重力鼻饲,或者鼻饲口服药等。In this embodiment, the feeding tube 2 includes a nasogastric tube and an intestinal tube, and the feeding tube and the feeding tube are connected through a three-way valve 5 . When the gastric tube needs to be connected, the feeding tube can be connected with the gastric tube by adjusting the three-way valve, and milk can be delivered; when the intestinal tube needs to be connected, the feeding tube can be connected with the intestinal tube by adjusting the three-way valve, so as to avoid repeated installation and disassembly of the interface and reduce pollution , this device can be used not only for continuous pumping of milk but also for gravity nasal feeding, or nasal feeding of oral medicine, etc.
本实施例中,供奶管上设有用于检测供奶管内是否有空气进入的红外传感器6,红外传感器与控制器连接,控制器控制奶泵工作。红外传感器将检测的供奶管内的样品信号传给控制器,控制器根据水与空气的折射不同分辨出供奶管内是否有空气,当检测到有空气时,控制器奶泵停止工作。从而防止空气进入到人体内。In this embodiment, the milk supply tube is provided with an infrared sensor 6 for detecting whether there is air in the milk supply tube, and the infrared sensor is connected to the controller, and the controller controls the operation of the milk pump. The infrared sensor transmits the detected sample signal in the milk supply tube to the controller, and the controller can distinguish whether there is air in the milk supply tube according to the refraction difference between water and air. When air is detected, the controller milk pump stops working. This prevents air from entering the body.
本实施例中,送奶管12内设有过滤膜7。从而对奶液进行杂质过滤。In this embodiment, a filter membrane 7 is arranged inside the
虽然结合附图对本实用新型的具体实施方式进行了详细地描述,但不应理解为对本实用新型的保护范围的限定。在权利要求书所描述的范围内,本领域技术人员不经创造性劳动即可做出的各种修改和变形仍属于本实用新型的保护范围。Although the specific implementation of the present utility model has been described in detail in conjunction with the accompanying drawings, it should not be construed as limiting the protection scope of the present utility model. Within the scope described in the claims, various modifications and deformations that can be made by those skilled in the art without creative efforts still belong to the protection scope of the present utility model.
Claims (8)
Priority Applications (1)
| Application Number | Priority Date | Filing Date | Title |
|---|---|---|---|
| CN202222685873.3U CN218943903U (en) | 2022-10-12 | 2022-10-12 | Intestinal feeding tube device |
Applications Claiming Priority (1)
| Application Number | Priority Date | Filing Date | Title |
|---|---|---|---|
| CN202222685873.3U CN218943903U (en) | 2022-10-12 | 2022-10-12 | Intestinal feeding tube device |
Publications (1)
| Publication Number | Publication Date |
|---|---|
| CN218943903U true CN218943903U (en) | 2023-05-02 |
Family
ID=86106209
Family Applications (1)
| Application Number | Title | Priority Date | Filing Date |
|---|---|---|---|
| CN202222685873.3U Active CN218943903U (en) | 2022-10-12 | 2022-10-12 | Intestinal feeding tube device |
Country Status (1)
| Country | Link |
|---|---|
| CN (1) | CN218943903U (en) |
-
2022
- 2022-10-12 CN CN202222685873.3U patent/CN218943903U/en active Active
Similar Documents
| Publication | Publication Date | Title |
|---|---|---|
| CN202822354U (en) | Disposable transfusion apparatus with automatic exhaust | |
| CN205515611U (en) | Nutrient solution heaies up and preheats conveyor in nose stomach tube intestines | |
| CN218943903U (en) | Intestinal feeding tube device | |
| CN102580189A (en) | Disposable self-stopping infusion apparatus | |
| CN102580190A (en) | Disposable self-limiting and self-stopping transfusion system | |
| CN202010287U (en) | Post operation liquid food drinking device | |
| CN207532597U (en) | A kind of novel medical multifunctional transfusion set | |
| CN215133700U (en) | Nutrient solution delivery device | |
| CN213407429U (en) | Breathe device of dosing of internal medicine nursing | |
| CN104288859B (en) | Infusion device with warming function | |
| CN201370776Y (en) | Multifunctional stomach irrigator | |
| CN203263916U (en) | Drip cup component for disposable infusion apparatus | |
| CN204709432U (en) | The simple and easy gravity that a kind of flow velocity is adjustable feeds perfusion instrument | |
| CN202342561U (en) | Novel medical infusion set | |
| CN204972312U (en) | Novel nasogastric tube injection that keeps warm device | |
| CN203123158U (en) | Safe infusion set | |
| CN219847624U (en) | A controllable infusion auxiliary device | |
| CN203425263U (en) | Novel stomach tube for digestive system department | |
| CN219579574U (en) | Transfusion system | |
| CN223220784U (en) | A disposable U-shaped safety infusion set with anti-backflow function | |
| CN202605451U (en) | Disposable self-limiting self-infusion stop infusion set | |
| CN201939865U (en) | Gravity type intestine provisions device | |
| CN221013947U (en) | Nasal gastrointestinal tube | |
| CN222110627U (en) | An infusion device with air exhaust and liquid stopping function | |
| CN2387914Y (en) | Once-used regulating infusion device |
Legal Events
| Date | Code | Title | Description |
|---|---|---|---|
| GR01 | Patent grant | ||
| GR01 | Patent grant |
