[go: up one dir, main page]

CN216821236U - Liquid feeder - Google Patents

Liquid feeder Download PDF

Info

Publication number
CN216821236U
CN216821236U CN202123115102.2U CN202123115102U CN216821236U CN 216821236 U CN216821236 U CN 216821236U CN 202123115102 U CN202123115102 U CN 202123115102U CN 216821236 U CN216821236 U CN 216821236U
Authority
CN
China
Prior art keywords
liquid
piece
cavity
rotating
pump
Prior art date
Legal status (The legal status is an assumption and is not a legal conclusion. Google has not performed a legal analysis and makes no representation as to the accuracy of the status listed.)
Active
Application number
CN202123115102.2U
Other languages
Chinese (zh)
Inventor
林翰
张萱
Current Assignee (The listed assignees may be inaccurate. Google has not performed a legal analysis and makes no representation or warranty as to the accuracy of the list.)
Shenzhen Haiyi Zhixin Technology Co Ltd
Original Assignee
Shenzhen Haiyi Zhixin Technology Co Ltd
Priority date (The priority date is an assumption and is not a legal conclusion. Google has not performed a legal analysis and makes no representation as to the accuracy of the date listed.)
Filing date
Publication date
Application filed by Shenzhen Haiyi Zhixin Technology Co Ltd filed Critical Shenzhen Haiyi Zhixin Technology Co Ltd
Priority to CN202123115102.2U priority Critical patent/CN216821236U/en
Application granted granted Critical
Publication of CN216821236U publication Critical patent/CN216821236U/en
Priority to PCT/CN2022/107185 priority patent/WO2023103393A1/en
Active legal-status Critical Current
Anticipated expiration legal-status Critical

Links

Images

Classifications

    • AHUMAN NECESSITIES
    • A01AGRICULTURE; FORESTRY; ANIMAL HUSBANDRY; HUNTING; TRAPPING; FISHING
    • A01KANIMAL HUSBANDRY; AVICULTURE; APICULTURE; PISCICULTURE; FISHING; REARING OR BREEDING ANIMALS, NOT OTHERWISE PROVIDED FOR; NEW BREEDS OF ANIMALS
    • A01K7/00Watering equipment for stock or game
    • A01K7/02Automatic devices

Landscapes

  • Life Sciences & Earth Sciences (AREA)
  • Environmental Sciences (AREA)
  • Animal Husbandry (AREA)
  • Biodiversity & Conservation Biology (AREA)
  • Structures Of Non-Positive Displacement Pumps (AREA)
  • Infusion, Injection, And Reservoir Apparatuses (AREA)

Abstract

本申请公开了一种喂液器,该喂液器设有储液腔和连通储液腔的泵液腔,以及位于储液腔外且与泵液腔间隔设置的驱动件;泵液腔内设置有转动件,驱动件和转动件能够磁性相吸,以在泵液腔外带动转动件转动,使得转动件通过转动将泵液腔内的液体泵送至喂液区。通过驱动件设置于储液腔和泵液腔外以磁性相吸的方式带动转动件转动,使得驱动件无需设置于储液腔内,如此液体流经转动件而可以不流经驱动件,实现水电分离,能够有效地避免液体带电。

Figure 202123115102

The application discloses a liquid feeder, which is provided with a liquid storage cavity, a pump liquid cavity communicating with the liquid storage cavity, and a driving member located outside the liquid storage cavity and spaced from the pump liquid cavity; A rotating member is provided, and the driving member and the rotating member can magnetically attract each other, so as to drive the rotating member to rotate outside the pump liquid chamber, so that the rotating member can pump the liquid in the pump liquid chamber to the feeding area through rotation. The driving member is arranged outside the liquid storage cavity and the pump liquid cavity to drive the rotating member to rotate in a magnetic attraction manner, so that the driving member does not need to be arranged in the liquid storage chamber, so that the liquid flows through the rotating member but does not flow through the driving member. Separation of water and electricity can effectively avoid liquid charging.

Figure 202123115102

Description

Liquid feeder
Technical Field
The application relates to the technical field of animal feeding devices, in particular to a liquid feeding device.
Background
With the rapid development of economy and science and technology in China, people live more and more richly and demand more and more diversified. People are not limited to the demand of materials any more, but continuously pursue their spiritual needs. Raising a pet is one of the choices of people in a large city or a small country at present, the pet can accompany the owner of the pet, and the owner can harvest different spiritual satisfaction due to the pet.
The progress of science and technology makes pet raising of people enter a new era. In order to improve the convenience of pet feeding, a food feeder, an intelligent cat litter box, an electronic collar, an automatic water feeder and the like are put into the market. The water feeder is used for providing drinking water for pets. Current water bowl often needs to use the water pump to pump water, leads to the aquatic weak current of aquatic/static so easily, and the pet is comparatively sensitive to the aquatic electrification, and dare not drink water.
SUMMERY OF THE UTILITY MODEL
The main technical problem who solves of this application provides a liquid feeding ware, can improve the electrified technical problem of aquatic among the prior art.
In order to solve the technical problem, the application adopts a technical scheme that: providing a liquid feeder, wherein the liquid feeder is provided with a liquid storage cavity, a pump liquid cavity communicated with the liquid storage cavity, and a driving piece which is positioned outside the liquid storage cavity and is arranged at an interval with the pump liquid cavity; the pump liquid intracavity is provided with and rotates the piece, and the driving piece can magnetism attract mutually with rotating the piece to drive outside the pump liquid intracavity and rotate, make to rotate the piece through rotating the liquid pump sending to feeding district in with the pump liquid intracavity.
The beneficial effect of this application is: be different from prior art's condition, through setting up the driving piece outside stock solution chamber and pump liquid chamber, and separate the space and drive rotation piece rotation with the mode that magnetism was inhaled mutually, make the driving piece need not to set up in the stock solution intracavity, also need not direct contact and rotate the piece, so liquid flows through and rotates the piece and can not flow through the driving piece, realize the water and electricity separation, can avoid liquid electrified effectively, reduce because wire and electric parts etc. arrange in the stock solution intracavity and bring risks such as electric leakage, reduce wiring complexity and structure complexity effectively.
Drawings
FIG. 1 is a schematic perspective view of an embodiment of a liquid feeder according to the present application;
FIG. 2 is a schematic cross-sectional view of the liquid feeder of FIG. 1 taken along section line A-A;
FIG. 3 is a schematic cross-sectional view of the body of the feeder of FIG. 2;
FIG. 4 is an exploded view of the body of the feeder of FIG. 1;
FIG. 5 is a schematic view of the mating structure of the body and base of the feeder shown in FIG. 2;
FIG. 6 is a perspective view of the rotating member and the driving member of the feeder shown in FIG. 2;
FIG. 7 is another perspective view of the rotating member and the driving member of the feeder shown in FIG. 2.
Detailed Description
The technical solutions in the embodiments of the present application will be clearly and completely described below with reference to the drawings in the embodiments of the present application, and it is obvious that the described embodiments are only a part of the embodiments of the present application, and not all of the embodiments. All other embodiments obtained by a person of ordinary skill in the art based on the embodiments in the present application without making any creative effort belong to the protection scope of the present application.
The inventor of this application discovers through long-term research that the device that supplies animals such as pet to drink water, like the water bowl, generally can be provided with the water tank, is provided with the water pump in the water tank, and the water pump is regional with the water extraction of water in the water tank to feeding, supplies animals such as pet to drink. Set up the water pump in the water tank, so water through electric elements, often can make the interior hosepipe weak current of water tank or static. Although static electricity in water is not readily perceived, pets are relatively sensitive to such static electricity, which in turn can lead to a reluctance of the pet to drink water. And set up the water pump in the water tank, the water tank also can lead to supplying the entity position of wiring less because of there being the reason in water storage space, leads to the wiring difficult and the structure is complicated, and then may lead to the electric property unstability. In order to solve and improve the above technical problem, the present application may provide the following embodiments.
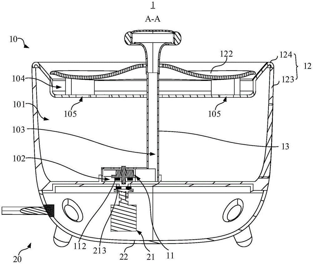
As shown in fig. 1 and fig. 2, the liquid feeder 1 described in the present embodiment of the liquid feeder may be provided with a liquid storage chamber 101 and a pump liquid chamber 102 communicating with the liquid storage chamber 101. The feeder 1 may be provided with a drive member 21 located outside the reservoir 101 and spaced from the pump chamber 102.
The reservoir 101 is used to contain a liquid for pets and the like, such as water, nutrient solution, beverage, or other prepared solution. Liquid in the reservoir chamber 101 can flow into the pump chamber 102 and be pumped in the pump chamber 102 to the feeding area. The feeding area is an area for the pet to drink liquid. The drive member 21 may be located outside the reservoir chamber 101 and the pump chamber 102 for providing a driving force for pumping the liquid.
A rotatably disposed rotor 11 may be disposed within the pump fluid chamber 102. The rotor 11 is adapted to rotate within the pump chamber 102 to pump fluid within the pump chamber 102 to the feeding area. For example, the rotor 11 may rotate to generate centrifugal force on the liquid in the pump fluid chamber 102, thereby pumping the liquid out of the pump fluid chamber 102.
The driver 21 and the rotor 11 can be magnetically attracted. That is, driving piece 21 and rotation piece 11 can carry out magnetic adsorption, and then both can relatively fixed, and driving piece 21 can drive and rotate 11 synchronous rotation, and so, driving piece 21 can drive rotation piece 11 through rotating outside pump fluid chamber 102 and rotate.
Through setting up driving piece 21 outside stock solution chamber 101 and pump liquid chamber 102, and drive a rotation piece 11 with the mode that magnetism attracts mutually and rotate, make driving piece 21 need not to set up in stock solution chamber 101, also need not direct contact and rotate piece 11, so liquid flows through and rotates piece 11 and can not flow through driving piece 21, realize the water and electricity separation, can avoid liquid electrified effectively, reduce because arranging in stock solution chamber 101 and bring risks such as electric leakage because wire and electric components etc. reduce wiring complexity and structure complexity effectively.
An exemplary construction of the feeder 1 is shown below:
as shown in FIG. 2, the liquid feeder 1 may include a main body 10 and a base 20 which are detachably provided. The base 20 is used to carry the main body 10. The main body 10 is opened with a reservoir chamber 101 and a pump chamber 102. The rotation member 11 may be disposed at the main body 10, and the driving member 21 may be disposed at the base 20.
The base 20 and the body 10 are detachably provided, which means that both can be separated or combined. In use, the body 10 may be carried on the base 20, and the two may be combined. When not in use, the two can be separated. When the base 20 and the main body 10 are used in combination, the main body 10 is placed on the base 20, and the driving member 21 and the rotation member 11 can magnetically attract each other. For example, when the main body 10 is carried on the base 20, the driving member 21 and the rotating member 11 can be aligned with each other, so that the driving member 21 and the rotating member 11 can be magnetically attracted.
Thus, the main body 10 and the base 20 are two relatively independent parts, the liquid storage cavity 101 and the driving member 21 can be physically separated, liquid can be prevented from flowing through the driving member 21, and water and electricity separation can be effectively realized. Moreover, the separable arrangement of the base 20 and the main body 10 can improve the convenience of the user, facilitate the maintenance and replacement of the internal structure/electrical components of the liquid feeder 1, such as the driving member 21, and the combined use can also facilitate the replacement of the main body 10 or the base 20 as a whole without affecting the other, thereby reducing the use and maintenance cost.
The body 10 is described exemplarily below:
as shown in fig. 3, the main body 10 has a reservoir 101, a pump chamber 102 communicating with the reservoir 101, and a liquid supply passage 103 communicating with the pump chamber 102. The rotary member 11 is capable of pumping the liquid in the pump chamber 102 to the feeding section by rotating in the pump chamber 102. Specifically, the infusion path 103 is used to deliver the liquid pumped by the rotating member 11 to the feeding area. That is, the administration channel 103 may communicate the pumping chamber 102 and the feeding area.
As shown in fig. 3, the main body 10 may include a first housing 12 and a channel member 13.
As shown in fig. 3, the reservoir chamber 101 and the pump chamber 102 may be open to the first housing 12. Alternatively, a side of the first housing 12 away from the rotation member 11 is formed with a liquid containing space 104 away from the liquid storage chamber 101 and a communication hole 105 communicating with the liquid containing space 104. For example, the top of the first housing 12 facing away from the reservoir 101 may form a liquid containing space 104 and a communication hole 105 communicating with the liquid containing space 104. The liquid containing space 104 may communicate with the liquid storage chamber 101 through the communication hole 105. The body 10 may further include a filter (not shown). The filtering piece is used for filtering the liquid flowing into the liquid storage cavity 101 from the liquid containing space 104 through the communication hole 105, so that the water quality is improved, and the pollution is reduced. For example, the filter may be provided in the liquid containing space 104 and cover the communication hole 105. A liquid containing tray 122 spaced from the bottom of the liquid containing space 104 may be further disposed in the liquid containing space 104.
As shown in fig. 3, the channel member 13 may be opened with an infusion channel 103. The passage member 13 may be inserted in the first housing 12 and communicates with the pump liquid chamber 102.
The transfusion channel 103 penetrates into the liquid containing space 104. The infusion channel 103 can deliver liquid to the liquid holding space 104. The receiving space 104 and/or tray 122 may be considered a feeding area, or correspond to a feeding area, where a pet may drink directly from the feeding area. The liquid holding space 104 may be used for temporarily storing liquid. The liquid in the liquid containing space 104 can flow back to the liquid storage cavity 101 again. The liquid in the liquid containing space 104 can flow back to the liquid storage cavity 101 through the communication hole 105 again, so that water resource can be recycled, water resource can be saved, and the phenomenon that the liquid stays in the liquid containing space 104 for a long time to form dead water and is easily polluted can be reduced.
Further, the pump chamber 102 may be provided to be detachable and attachable, so that the rotor 11 may be exposed therein in a detached state, thereby facilitating cleaning of the rotor 11 and the pump chamber 102. As shown in fig. 3 and 4, the first housing 12 is provided with a first sub-chamber 121 within the reservoir 101. The channel member 13 may be inserted into the first housing 12 and extend into the reservoir 101. The channel piece 13 may include a channel body 131 and a second sub-cavity 132 connected to each other. The channel body 131 is provided with a transfusion channel 103. The infusion channel 103 communicates with the second subcavity 132. First subchamber 121 and second subchamber 132 are removably connected to collectively enclose pump fluid chamber 102 when connected.
Alternatively, the rotor 11 may be detachably and rotatably supported between the first sub-chamber 121 and the second sub-chamber 132, for example, between the top of the first sub-chamber 121 and the bottom of the second sub-chamber 132. Specifically, the rotational shaft 1113 of the rotational member 11 may be rotatably supported between the top of the first sub-chamber 121 and the bottom of the second sub-chamber 132.
The first sub-cavity 121 and the second sub-cavity 132 are detachably connected to realize the detachment and the combination of the pump liquid cavity 102, so that the rotating member 11 in the pump liquid cavity 102 can be exposed in a detached state, and the rotating member 11 can be cleaned conveniently. Further, the rotating member 11 is detachably supported in the pump fluid chamber 102, so that the rotating member 11 can be conveniently detached, cleaned, maintained and the like.
The first sub-chamber 121 is fixedly disposed at the bottom of the first housing 12, for example. Specifically, the bottom of the reservoir 101 enclosed by the first housing 12 is provided with an annular protrusion, which may be considered as the first sub-cavity 121, or the annular protrusion and the bottom of the first housing 12 may be considered as constituting the first sub-cavity 121.
One end of the channel body 131 far from the second sub-cavity 132 can penetrate through the liquid containing space 104 and the liquid containing tray 122, and the liquid conveying channel 103 is used for conveying liquid to the liquid containing tray 122 and the liquid containing space 104. In particular, the outlet of the infusion channel 103 may be arranged towards the drip tray 122, such that liquid flowing out through the infusion channel 103 may fall into the drip tray 122. Alternatively, the outlet of the infusion channel 103 may be located higher than the drip tray 122, above the drip tray 122. The difference in height between the outlet of the infusion channel 103 and the drip tray 122 may be such that the liquid exiting the infusion channel 103 may appear as a flowing liquid, or may be referred to as "running water", which may attract the pet to drink, and which may be more enjoyable to drink running water.
The liquid containing tray 122 may be arranged in an undulated manner. Thus, the liquid containing tray 122 has a concave portion which can be used for containing liquid, so that the liquid can be drunk by a pet. When its recess is full of liquid, drip tray 122 is positioned to allow liquid to overflow into drip space 104. For example, the recess of the drip tray 122 may be arranged shallow, e.g. with a height difference of 0.5-5cm, optionally 1-3cm, between the bottom and the outer edge of the recess. Alternatively, the tray 122 may have a convex middle part and a concave outer part, similar to a "W" shape, the convex middle part may be sleeved on the infusion channel 103, and the concave outer part is used for containing liquid. The liquid containing disc 122 and the liquid containing space 104 can form a water feeding area with a double-layer structure, so that a multi-layer water feeding space can be provided for pets, the liquidity of liquid can be improved, and the situation that the liquid overflowing from the liquid containing disc 122 directly flows out to pollute the environment is avoided.
As shown in fig. 3 and 4, the first housing 12 may include a liquid storage sub-housing 123 and a liquid containing sub-housing 124. The liquid storage sub-housing 123 may be formed with a liquid storage space. The liquid containing shell 124 covers the liquid storage shell 123 to cover the liquid storage space so as to form the liquid storage cavity 101. The first sub-chamber 121 may be disposed in the liquid storage sub-housing 123. The liquid containing sub-case 124 is formed with a liquid containing space 104 and a communication hole 105 communicating with the liquid containing space 104. The reservoir chamber 101 communicates with the reservoir chamber 101 through a communication hole 105. The liquid conveying channel 103 penetrates into the liquid containing space 104 of the liquid containing shell 124, the liquid containing plate 122 which is arranged at an interval with the bottom of the liquid containing space 104 is arranged in the liquid containing space 104 of the liquid containing shell 124, and the liquid conveying channel 103 is used for spraying liquid to the liquid containing plate 122. Alternatively, the liquid storage housing 123 and the liquid containing housing 124 may be integrally formed, or may be detachably combined, that is, the liquid storage housing 123 and the liquid containing housing 124 may be detachably connected. Of course, the drip tray 122 may not be provided.
The top of the second sub-chamber 132 may be disposed toward the bottom of the first housing 12, and the top of the second sub-chamber 132 may be opened with the liquid inlet hole 106. Liquid in the reservoir chamber 101 can enter the pump chamber 102 through the inlet aperture 106.
As shown in fig. 3, the channel body 131 may include a first channel section 1311, a second channel section 1312, and a spray cap 1313, which are connected in sequence. One end of the first channel segment 1311 connects to the second sub-cavity 132 and one end of the first channel segment 1311 connects to the second channel segment 1312. The channel diameter of the first channel segment 1311 may be constant, or may be tapered, or may remain constant after tapering, and finally remain constant. The first channel section 1311 has a channel diameter connecting one end of the second channel section 1312, for example, smaller than or equal to the channel diameter of the second channel section 1312. The channel diameter of the second channel section 1312 gradually increases in a direction away from the second channel section 1312, for example the second channel section 1312 may appear trumpet-shaped. Also, the end of the second channel section 1312 remote from the first channel section 1311 has a flat-like space. The spraying cover 1313 may cover/cover an end of the second channel 1312 far from the first channel 1311. The spray cap 1313 is, for example, a silicone member. Of course, the spray cap 1313 may be a spray head with a separate space, and the end of the second channel segment 1312 far from the first channel segment 1311 may communicate with the spray cap 1313. An outlet for liquid to flow out may be provided in the third channel segment and towards the drip tray 122. The structure of the passage member 13 described above is only one of example structures, and is not limited to this example structure.
The diameter of the channel body 131 is set as above, the diameter of the first channel section 1311 is smaller, the diameter of the second channel section 1312 is larger, and the diameter of the channel of the second channel section 1312 gradually increases, on one hand, the smaller diameter of the channel of the first channel section 1311 can increase the flow speed and the hydraulic pressure, so that the liquid can be conveyed more smoothly, the gradually increased diameter of the channel of the second channel section 1312 can moderate the flow speed of the liquid before the liquid is sprayed out, so that the sprayed liquid flow is gentler, the pet can drink the liquid conveniently, and the gradually increased diameter of the channel of the second channel section 1312 can moderate the inflow and outflow of the liquid, thereby reducing the noise.
The base 20 is described by way of example below:
as shown in fig. 2, the base 20 may include a second housing 22 and a driving member 21. The driver 21 may be disposed in the second housing 22. The second housing 22 may be used to carry the first housing 12. The bottom of the second housing 22 may be provided with support feet for supporting the base 20 to the ground. The drive 21 is a drive device based on a brushless motor, for example.
Based on the above description of the main body 10 and the base 20, the fitting structure between the main body 10 and the base 20 will be described:
as shown in fig. 5, when the main body 10 is carried on the base 20, the driving member 21 and the rotating member 11 can be aligned. Optionally, the body 10 may be provided with a first docking portion 125. The base 20 is provided with a second docking portion 221. When one side of the main body 10 is carried on one side of the base 20, the first docking portion 125 and the second docking portion 221 can be in a socket fit so that the driver 21 and the rotation member 11 can be aligned with each other.
Specifically, the first docking portion 125 may be disposed at one side of the first casing 12 carried on the base 20, that is, at the bottom of the first casing 12. The second docking portion 221 may be disposed at one side of the second case 22 for carrying the main body 10.
As shown in fig. 5, a recessed portion 126 may be formed at one side of the main body 10. Specifically, the side of the first housing 12 carried by the base 20 may be provided with a recessed area 126. The first mating portion 125 is a protrusion convexly disposed in the recessed area 126. Specifically, the first butting portion 125 is a protrusion protruding from the first housing 12 in the recessed area 126.
As shown in fig. 5, one side of the base 20 is provided with a boss portion 222. Specifically, one side of the main body 10 of the second housing 22 for carrying is provided with a boss portion 222. The shape and size of the boss portion 222 and recessed area 126 match. The second docking portion 221 is a recess formed in the boss portion 222. Specifically, the second docking portion 221 may be a recess concavely formed in the boss portion 222. The shape and size of the recesses and projections may be matched.
The first and second housings 12 and 22 may be in contact when one side of the main body 10 is carried on one side of the base 20. At this time, the boss portion 222 may be fitted in the depression 126, and the first docking portion 125, which is a protrusion, may be fitted in the second docking portion 221, which is a recess.
In this way, the boss portion 222 of the base 20 is embedded in the recessed area 126 of the main body 10, and the first docking portion 125 of the main body 10 is embedded in the second docking portion 221 of the base 20, so as to form a cross-embedded structure, so that the combined structure of the main body 10 and the base 20 is more stable, displacement is not easy to occur, and the structural stability is improved.
Moreover, the interfitting engagement of the projections and recesses enables the rotor 11 and driver 21 to be effectively aligned. Specifically, the rotating shaft 1113 of the rotating member 11 is rotatably supported by the first docking portion 125, and the driving member 21 is disposed toward the second docking portion 221, so that the rotating member 11 and the driving member 21 can be aligned when the first docking portion 125 is embedded in the second docking portion 221.
In this embodiment, the alignment of the rotating member 11 and the driving member 21 means that the two are matched in position, and then the two can be magnetically attracted effectively, so as to achieve the goal that the driving member 21 drives the rotating member 11 to rotate synchronously through magnetism.
The rotary member 11 and the driving member 21 may have magnetism. For example, the rotation member 11 may be provided with the first magnetic member 112. The driving member 21 may be provided with a second magnetic member 213, and the first magnetic member 112 and the second magnetic member 213 may be magnetically attracted. There are various cases where the rotation member 11 and the driving member 21 have magnetism, and two of them are described below by way of example.
In the first case: as shown in fig. 6, the rotation member 11 may include an impeller 111 and a first magnetic member 112. An impeller 111 may be rotatably disposed within the pump fluid chamber 102, and a first magnetic member 112 may be disposed on the impeller 111.
The impeller 111 may include a rotating seat 1111 and at least one blade 1112. At least one blade 1112 is fixedly attached to the swivel 1111. For example, the blades 1112 may be partially embedded within the swivel 1111. The number of blades 1112 may be four. The blades 1112 may be arranged in a wave-like manner. The blades 1112 may be extended from the rotation shaft 1113 of the rotation base 1111 in a radial direction of the rotation base 1111. The width direction of the blades 1112 may be the same as the axial direction of the rotating shaft 1113.
The rotary seat 1111 may be rotatably disposed within the pump chamber 102 via a rotary shaft 1113. The first magnetic member 112 may be disposed on the rotating seat 1111. Alternatively, the first magnetic member 112 may be disposed on a side of the rotating seat 1111 facing the driving member 21.
The driving member 21 may be provided with a second magnetic member 213. As shown in fig. 6, the driving member 21 may include a driving body 211, a supporting base 212, and a second magnetic member 213. The support base 212 is coupled to an output shaft of the driving body 211 to be rotatable with the output shaft. Specifically, the supporting seat 212 may be sleeved on the free end of the output shaft. The second magnetic member 213 may be disposed on the supporting base 212. Alternatively, the second magnetic element 213 may be disposed on a side of the supporting base 212 facing the rotating element 11. The driving body 211 is, for example, a brushless motor.
The first magnetic member 112 may include at least one magnet, such as two magnets. The second magnetic member 213 may include at least one magnet, for example, two magnets. The number of magnets of the first magnetic member 112 may be the same as the number of magnets of the second magnetic member 213, and the positions correspond one to one. The magnetic poles of the magnets of the first magnetic member 112 and the corresponding magnets of the second magnetic member 213 are different, for example, the N-pole of the magnet of the first magnetic member 112 corresponds to the S-pole of the magnet of the second magnetic member 213.
As such, the first magnetic member 112 and the second magnetic member 213 can magnetically attract each other. By arranging the magnetic pole positions of the first magnetic member 112 and the second magnetic member 213, the first magnetic member 112 and the second magnetic member 213 have good attraction force, so that the driving member 21 can drive the rotating member 11 to rotate synchronously by magnetic force.
In the second case: as shown in fig. 7, with respect to the first case, it may be provided that the rotating seat 1111 and the supporting seat 212 in the first case may have magnetism themselves, for example, both may be magnetic members.
Specifically, the rotating member 11 may include at least one blade 1112 and a first magnetic member 112 a. At least one blade 1112 is fixedly disposed on the first magnetic member 112 a. The first magnetic member 112a is rotatably disposed in the pump fluid chamber 102 via a rotating shaft 1113. That is, the first magnetic member 112a in the second case can be regarded as the rotating seat 1111 provided with the magnetism in the first case, so that it is possible to eliminate the need for providing an additional magnetic member.
As shown in fig. 7, the driving member 21 may include a driving body 211 and a second magnetic member 213 a. The second magnetic member 213a may be fixedly coupled to the output shaft of the driving body 211 to be rotatable with the output shaft. That is, the second magnetic member 213a in the second case can be regarded as the support base 212 provided with the magnetic property in the first case, and thus, it is not necessary to provide an additional magnetic member.
Compared to the first case, the first magnetic member 112 is provided as the rotating seat 1111, and the second magnetic member 213 is provided as the supporting seat 212, so that the structure can be simplified and the reliability of the structure can be improved.
In summary, the driving member 21 drives the rotating member 11 to rotate in a spaced magnetic attraction manner, so that the liquid flows through the rotating member 11 and does not flow through the driving member 21, water and electricity separation is realized, electrification of the liquid can be effectively avoided, risks such as electric leakage caused by arrangement of wires, electric components and the like in the liquid storage cavity 101 are reduced, and wiring complexity and structural complexity are effectively reduced.
The above description is only an example of the present application and is not intended to limit the scope of the present application, and all modifications of equivalent structures and equivalent processes, which are made by the contents of the specification and the drawings, or which are directly or indirectly applied to other related technical fields, are intended to be included within the scope of the present application.

Claims (11)

1. A liquid feeder, characterized in that:
the liquid feeder is provided with a liquid storage cavity, a pump liquid cavity communicated with the liquid storage cavity and a driving piece which is positioned outside the liquid storage cavity and is arranged at an interval with the pump liquid cavity;
wherein, be provided with in the pump liquid intracavity and rotate the piece, the driving piece with it can the magnetism attract mutually to rotate the piece rotates to the outer drive of pump liquid intracavity, makes it will through rotating to rotate the liquid pump sending in the pump liquid intracavity is to feeding district.
2. A liquid feeder according to claim 1, characterized in that:
the rotating piece is provided with a first magnetic piece, the driving piece is provided with a second magnetic piece, and the first magnetic piece and the second magnetic piece can attract each other magnetically.
3. The liquid feeder of claim 2, wherein:
the rotating part comprises an impeller and the first magnetic part, the impeller is rotatably arranged in the pump liquid cavity, and the first magnetic part is arranged on the impeller;
the driving piece comprises a driving body, a supporting seat and the second magnetic piece; the supporting seat is connected to an output shaft of the driving body and can rotate along with the output shaft; the second magnetic part is arranged on the supporting seat.
4. A liquid feeder according to claim 3, characterized in that:
the impeller comprises a rotating seat and at least one blade, the at least one blade is fixedly connected with the rotating seat, the rotating seat is rotatably arranged in the pump liquid cavity through a rotating shaft, and the first magnetic part is arranged on one side of the rotating seat, which faces the supporting seat; the second magnetic part is arranged on one side, facing the rotating seat, of the supporting seat.
5. A liquid feeder according to claim 2, characterized in that:
the rotating part comprises at least one blade and the first magnetic part, the at least one blade is fixedly arranged on the first magnetic part, and the first magnetic part is rotatably arranged in the pump liquid cavity through a rotating shaft; the driving piece comprises a driving body and a second magnetic piece, and the second magnetic piece is fixedly connected to an output shaft of the driving body and can rotate along with the output shaft.
6. The liquid feeder of claim 1, wherein:
the liquid feeder comprises a main body and a base which are arranged separately, the base is used for bearing the main body, the main body is provided with a liquid storage cavity and a pump liquid cavity, and the driving piece is arranged on the base; when the main body is borne on the base, the driving piece and the rotating piece can be aligned with each other so as to be magnetically attracted.
7. The liquid feeder of claim 6, wherein:
the main body is provided with a first butt joint part, and the base is provided with a second butt joint part; when the main body is borne on the base, the first butt joint part and the second butt joint part can be in plug fit, so that the driving piece and the rotating piece can be aligned with each other.
8. The liquid feeder of claim 7, wherein:
a sunken area is formed in one side of the main body, and the first butt joint part is a bulge convexly arranged in the sunken area; a boss part is arranged on one side of the base, and the second butt joint part is a concave part formed on the boss part; when one side of the main body is borne on one side of the base, the boss part is embedded in the depressed area, and the first butt joint part is embedded in the second butt joint part; the rotating shaft of the rotating part is rotatably supported on the first butt joint part, and the driving part faces the second butt joint part.
9. The liquid feeder of claim 6, wherein:
the main body is provided with a transfusion channel communicated with the pump liquid cavity, and the transfusion channel is used for conveying liquid pumped by the rotating piece to the liquid feeding area.
10. The liquid feeder of claim 9, wherein:
the main body comprises a first shell and a channel piece, the liquid storage cavity is arranged in the first shell, and a first sub cavity is arranged in the liquid storage cavity of the first shell; the channel piece is inserted in the first shell and extends into the liquid storage cavity, the channel piece comprises a channel body and a second sub-cavity which are connected with each other, the channel body is provided with the infusion channel, and the infusion channel is communicated to the second sub-cavity; the first sub-cavity and the second sub-cavity are detachably connected so as to jointly enclose the pump liquid cavity when connected.
11. The liquid feeder of claim 10, wherein:
the first casing is kept away from one side of rotating the piece is formed with and deviates from flourishing liquid space and the intercommunication in stock solution chamber flourishing liquid space's intercommunicating pore, flourishing liquid space passes through the intercommunicating pore intercommunication the stock solution chamber, be equipped with in the flourishing liquid space with flourishing liquid dish that the bottom interval in flourishing liquid space set up, the passageway body is kept away from the one end of the sub cavity of second is worn to establish extremely flourishing liquid space is worn to locate flourishing liquid dish, the infusion passageway is used for carrying liquid extremely flourishing liquid dish and flourishing liquid space.
CN202123115102.2U 2021-12-10 2021-12-10 Liquid feeder Active CN216821236U (en)

Priority Applications (2)

Application Number Priority Date Filing Date Title
CN202123115102.2U CN216821236U (en) 2021-12-10 2021-12-10 Liquid feeder
PCT/CN2022/107185 WO2023103393A1 (en) 2021-12-10 2022-07-21 Liquid feeder

Applications Claiming Priority (1)

Application Number Priority Date Filing Date Title
CN202123115102.2U CN216821236U (en) 2021-12-10 2021-12-10 Liquid feeder

Publications (1)

Publication Number Publication Date
CN216821236U true CN216821236U (en) 2022-06-28

Family

ID=82107376

Family Applications (1)

Application Number Title Priority Date Filing Date
CN202123115102.2U Active CN216821236U (en) 2021-12-10 2021-12-10 Liquid feeder

Country Status (2)

Country Link
CN (1) CN216821236U (en)
WO (1) WO2023103393A1 (en)

Cited By (1)

* Cited by examiner, † Cited by third party
Publication number Priority date Publication date Assignee Title
US12213469B1 (en) * 2024-07-08 2025-02-04 Shenzhen Shouzheng Chuqi Technology Co., Ltd. Water lifting device for pet water dispenser and pet water dispenser

Family Cites Families (10)

* Cited by examiner, † Cited by third party
Publication number Priority date Publication date Assignee Title
KR200337595Y1 (en) * 2003-10-20 2004-01-03 주식회사 인디스 Weaning food auto-feeding system for animal
KR102016466B1 (en) * 2018-01-26 2019-10-21 금오공과대학교 산학협력단 Pet feeder with anti-reflux structure
CN207870038U (en) * 2018-02-10 2018-09-18 马晓晨 More pets identify automatic waterer
US11766026B2 (en) * 2018-09-19 2023-09-26 Lg Electronics Inc. Liquid dispenser for animals
CN109329088B (en) * 2018-09-26 2021-09-03 杭州云蜂工业设计有限公司 Pet feeds and eats water bowl
CN109479743A (en) * 2018-12-25 2019-03-19 深圳前海霍曼科技有限公司 Pet drinking machine
KR102238892B1 (en) * 2019-06-20 2021-04-09 한태희 Automatic Feeding Feeder for Companion Animals
CN214709537U (en) * 2021-01-13 2021-11-16 深圳海翼智新科技有限公司 water feeder
CN113142081B (en) * 2021-04-21 2024-11-19 佛山市川东磁电股份有限公司 A functional drinking fountain for pets
CN113197115A (en) * 2021-06-10 2021-08-03 深圳谐振科技有限公司 Pet drinking device

Cited By (1)

* Cited by examiner, † Cited by third party
Publication number Priority date Publication date Assignee Title
US12213469B1 (en) * 2024-07-08 2025-02-04 Shenzhen Shouzheng Chuqi Technology Co., Ltd. Water lifting device for pet water dispenser and pet water dispenser

Also Published As

Publication number Publication date
WO2023103393A1 (en) 2023-06-15

Similar Documents

Publication Publication Date Title
US8770147B2 (en) Animal watering device
US7313840B2 (en) Induction liquid pump and magnetic tank scrubber
CN216821236U (en) Liquid feeder
CN201541568U (en) Water bowl for pets
US20150189862A1 (en) Clip or Snap on Filter for Submersible Pump
US20140251223A1 (en) Animal Watering Fountain Offering Multi-Dimensional Fluid Circulation
TW201919721A (en) Medical pump drive, pump and medical treatment apparatus
CN111165373A (en) water dispenser
CN113854176A (en) Magnetic drive pump and pet drinking bowl
US20150342162A1 (en) Aquarium filtration system
CN110402833A (en) A pet water dispenser and its manufacturing method
US8887666B2 (en) Universal water fountain system for animals
CN208739859U (en) A kind of Pet drinking machine
CN113546903B (en) A drive assembly and cleaning machine for cleaning machine
CN218266372U (en) Water pump, water tank for pet water dispenser and pet water dispenser
CN213430714U (en) Waterproof tooth flushing device
CN219612781U (en) Wireless power supply constant temperature heating water dispenser
CN105230586A (en) Multi-purpose fishing box
TWM627674U (en) Magnetic pump and pet drinking fountain
CN222090495U (en) Animal drinking device
CN218571139U (en) Pet Water Fountain
CN218571138U (en) Pet drinking bowl
CN214440091U (en) An electric shower and an electric shower device
CN212616511U (en) Liquid medium flow control valve, control structure, pet water dispenser and handicraft
CN115136902A (en) Drinking tray and pet water dispenser

Legal Events

Date Code Title Description
GR01 Patent grant
GR01 Patent grant