CN215837519U - Hair appliance with ion generator - Google Patents
Hair appliance with ion generator Download PDFInfo
- Publication number
- CN215837519U CN215837519U CN201990000761.3U CN201990000761U CN215837519U CN 215837519 U CN215837519 U CN 215837519U CN 201990000761 U CN201990000761 U CN 201990000761U CN 215837519 U CN215837519 U CN 215837519U
- Authority
- CN
- China
- Prior art keywords
- hair
- hair iron
- set forth
- heating element
- slotted nozzle
- Prior art date
- Legal status (The legal status is an assumption and is not a legal conclusion. Google has not performed a legal analysis and makes no representation as to the accuracy of the status listed.)
- Active
Links
Images
Classifications
-
- A—HUMAN NECESSITIES
- A45—HAND OR TRAVELLING ARTICLES
- A45D—HAIRDRESSING OR SHAVING EQUIPMENT; EQUIPMENT FOR COSMETICS OR COSMETIC TREATMENTS, e.g. FOR MANICURING OR PEDICURING
- A45D1/00—Curling-tongs, i.e. tongs for use when hot; Curling-irons, i.e. irons for use when hot; Accessories therefor
- A45D1/02—Curling-tongs, i.e. tongs for use when hot; Curling-irons, i.e. irons for use when hot; Accessories therefor with means for internal heating, e.g. by liquid fuel
- A45D1/04—Curling-tongs, i.e. tongs for use when hot; Curling-irons, i.e. irons for use when hot; Accessories therefor with means for internal heating, e.g. by liquid fuel by electricity
-
- A—HUMAN NECESSITIES
- A45—HAND OR TRAVELLING ARTICLES
- A45D—HAIRDRESSING OR SHAVING EQUIPMENT; EQUIPMENT FOR COSMETICS OR COSMETIC TREATMENTS, e.g. FOR MANICURING OR PEDICURING
- A45D2/00—Hair-curling or hair-waving appliances ; Appliances for hair dressing treatment not otherwise provided for
- A45D2/001—Hair straightening appliances
-
- A—HUMAN NECESSITIES
- A45—HAND OR TRAVELLING ARTICLES
- A45D—HAIRDRESSING OR SHAVING EQUIPMENT; EQUIPMENT FOR COSMETICS OR COSMETIC TREATMENTS, e.g. FOR MANICURING OR PEDICURING
- A45D2200/00—Details not otherwise provided for in A45D
- A45D2200/20—Additional enhancing means
- A45D2200/202—Ionisation
Landscapes
- Brushes (AREA)
- Cleaning And Drying Hair (AREA)
Abstract
一种包含生成离子的离子发生器(20)的烫发器,所述烫发器包括开槽喷嘴(22,122),所述开槽喷嘴与用于生成离子幕的所述离子发生器(20)连通,所述离子幕从所述烫发器的主体(10,11)的至少一侧并排伸出且与在使用时接触所述头发(31)的加热元件(15,16,17,18,115,116,117,118)的纵向边缘大致平行。
A hair iron comprising an ion generator (20) for generating ions, the hair iron comprising a slotted nozzle (22, 122), the slotted nozzle and the ion generator (20) for generating a curtain of ions in communication, the ion curtains extend side by side from at least one side of the iron body (10, 11) and with the heating elements (15, 16, 17, 18, 115) that contact the hair (31) in use , 116, 117, 118) longitudinal edges are approximately parallel.
Description
Cross reference to related applications
This application claims the benefit of hong kong application No. 18107340.2, filed on 5/6/2018, the entire contents of which are incorporated herein by reference.
Technical Field
The present invention relates generally to hair styling appliances, such as curling irons or straightening irons, which incorporate an ionizer.
Background
In hair styling, especially in hair straightening where the appliance is pulled along the hair, static electricity can be problematic because it can cause the hair to stick out of or against the head. To counteract this tendency and thus allow smoother styling, the hair appliance may include an ionizer. Typical prior art hair stylers with ionizers are described, for example, in EP1208766B1, EP1672965B1 and EP1396208B 1.
While these older ion generator-type appliances address to some extent this problem of static electricity in the hair during styling, there remains a need for improvements in this technology to permit smoother styling reliably over a range of different hair styles and under different environmental conditions. It is an object of the present invention to address this need, or more generally, to provide an improved hair appliance having an ionizer.
Disclosure of Invention
According to an aspect of the present invention, there is provided a hair iron including: a body having a hair care portion, at least one elongate heating element disposed in the hair care portion, the elongate heating element having a hair contacting surface for contacting hair in use, an ion generator for generating ions, a slotted spray nozzle in the hair care portion, the slotted spray nozzle being in communication with the ion generator for generating a curtain of ions projecting side by side from at least one side of the body and generally parallel to a longitudinal edge of the heating element.
The present invention provides a hair appliance which is effective and efficient in operational use and which reliably allows smoother styling for a range of different hair styles and under different environmental conditions, and due to the distribution of ions applied to the hair, in particular compared to appliances in which ions are radiated directly to the hair from an object which is in fact a point source. Furthermore, the hair appliance is a device that can be easily used in a hair iron for straightening and also for curling hair. In one type of hair iron for straightening hair, the hair contacting surface may be generally flat and located in an articulated hair iron for straightening hair, a pair of articulated connecting arms, each having a generally flat hair contacting surface, may carry opposed heating elements. In hair irons for curling hair, a barrel-shaped or convex hair contacting surface is provided, optionally the articulated variant may also comprise a heating element having a concave surface complementary to the convex surface. In a curling or straightening type comb, each hair contacting surface may also include an array of protruding teeth or bristles.
Preferably, the at least one elongate heating element comprises a pair of substantially parallel elongate heating elements of similar shape, and the slotted nozzle is disposed between adjacent longitudinal edges of respective ones of the heating elements. For example, the hair contacting surfaces of the heating elements of the pair of heating elements may each be planar or concave in shape (with or without an array of protruding teeth). Configuring the slotted nozzle between a pair of heating elements in this manner provides uniform ion treatment prior to application of the heat styling treatment, regardless of the direction in which the appliance is pulled along the hair during use, thereby providing bi-directional movement and convenient left and right handed operation.
Alternatively, in a generally barrel-shaped hair curling appliance having a single elongate heating element, the slotting nozzle can be arranged between two longitudinal edges of a single nearly annular heating element.
Preferably, the body is elongated, the body having the hair care portion disposed at one longitudinal end, and a grip portion disposed at an opposite longitudinal end for being grasped by a user during use of the hair iron. Alternatively, the grip portion may comprise a separate housing connected to the main body.
Preferably, the ionizer is disposed in the main body, and the main body further includes a supply passage connecting the ionizer with at least one longitudinal end of the slotted nozzle. This arrangement is particularly compact and space-saving. In other embodiments, a pair of supply channels are provided, each connecting longitudinally opposite ends of the slotted spray nozzle to the ionizer or a respective ionizer.
Preferably, the ionizer generates anions.
Preferably, the hair contact surface is formed on an electrical conductor, in particular on a metal plate, and the hair iron comprises a charging circuit connected to the electrical conductor, which charges the electrical conductor so as to attract the ionic curtain. Alternatively, the electrical conductor may be electrically grounded.
Preferably, the slotted nozzle is integral with the hair care portion and includes an outlet opening extending therethrough such that the ion curtain extends from opposite sides of the hair care portion. This through-extending arrangement is also advantageous for cleaning reasons, since such slotted nozzles are easy to clean. Of course, the slotted nozzle may have only a single outlet, such that the ion curtain extends from only one side of the body.
Preferably, the outlet opening extending therethrough has a substantially constant cross-sectional area over its entire length. Preferably, the outlet opening extending therethrough has generally parallel opposing longitudinal sides. Alternatively, the opposing longitudinal sides of the outlet opening may be inclined to each other such that the opening tapers to diverge towards the outlet adjacent a longitudinal edge of the heating element.
Preferably, the body forms a boundary of the slotted nozzle. Alternatively, the heating element may define the slotted nozzle.
Preferably, the at least one elongate heating element further comprises a plurality of similarly shaped teeth projecting from the planar face of the at least one elongate heating element and arranged longitudinally spaced apart and in a linear array, wherein each said tooth is tapered to narrow towards its tip and opposite lateral edges and is elongate in a lateral direction to span a majority of the width of each of the at least one elongate heating elements.
Preferably, the supply channel includes a discharge electrode connected to the ionizer, and the discharge electrode is disposed at a longitudinal end of the slotted nozzle. Preferably, the supply channel comprises at least two discharge electrodes connected to the ionizer, and the at least two discharge electrodes are disposed at both longitudinal ends of the slotted nozzle and are coaxial with the supply channel.
Preferably, the supply channel is coaxial with the ionizer and the axis of the supply channel is inclined at an acute angle relative to the planar face of the at least one elongated heating element so that the stream of ions is delivered into the slotted nozzle with a small transverse velocity component and a large longitudinal component.
Drawings
Preferred forms of the invention will now be described, by way of example, with reference to the accompanying drawings, in which:
FIG. 1 is a schematic side view of a first embodiment of a hair iron of the present invention;
FIG. 2 is a view of 2-2 indicated in FIG. 1;
FIG. 3 is a cross-sectional view of 3-3 indicated in FIG. 1;
FIG. 4 shows the view of FIG. 2 in use when styling a bundle of hair;
FIG. 5 is a partially schematic plan view of a second embodiment of the hair iron of the present invention;
FIG. 6 is a schematic side view of the second embodiment of FIG. 5;
FIG. 7 is a schematic side view of a third embodiment of the hair iron of the present invention;
FIG. 8 is a schematic side view of a fourth embodiment of a hair iron of the present invention, an
Fig. 9 to 12 are schematic plan views of a fifth embodiment, a sixth embodiment, a seventh embodiment and an eighth embodiment of a hair iron of the present invention, respectively.
Detailed Description
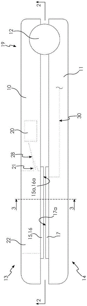
With reference to figures 1 to 3, in a first embodiment, the hair iron according to the invention can be of the pliers type, comprising elongated bodies 10, 11 or jaws connected together at their proximal ends by a hinge 12 and configured for straightening the hair clamped between said bodies 10, 11. Each body 10, 11 comprises a hair care portion 13, 14 at a distal end thereof, and a radiant electric heating element 15, 16, 17 is mounted in said hair care portion 13, 14. Intermediate the hinged member 12 and the hair care portions 13, 14, the main body has a grip portion 19 by means of which the appliance is gripped and manipulated, and the grip portion 19 may be narrower than the hair care portions 13, 14. Thus, the bodies 10, 11 form the structural frame of the hair iron, as well as the housing for its components.
Each of the heating elements 15, 16 may have a similar elongated shape as a rectangular perimeter and be arranged in parallel and spaced apart inside the haircare portion 13, whereas a single heating element 17 may be provided inside the haircare portion 14. The heating element 17 may also have a rectangular perimeter having substantially the same length as each of the heating elements 15, 16 and extending for that length and having substantially the same width as the lateral spacing between the longitudinal outer edges of the heating elements 15, 16. Thus, when in the closed position, a pair of heating elements 15, 16 is in register with the element 17. In the illustrated hair straightener, each of the heating elements 15, 16, 17 has a respective metallic hair contacting surface 15a, 16a, 17a, which metallic hair contacting surfaces 15a, 16a, 17a may be substantially flat and pressed into contact with the hair in use.
The preferred embodiment has a known type of negative ion generator 20 such as a corona discharge device, but as described below, the hair iron of the present invention may alternatively include a positive ion generator or a generator for both negative and positive ions. The negative ion generator 20 may be installed in the main body 10 near inner ends of the heating elements 15, 16 and connected to one longitudinal end of a slot nozzle 22 through an ion supply channel 21, the slot nozzle 22 being integrally formed with the main body 10 in the hair care part 13 and interposed between the heating elements 15, 16. The axis of the ion supply channel 21 may be coaxial with the axis 28 of the anion generator 20 or the discharge electrode (shown in fig. 12) of the anion generator 20, and as best shown in fig. 1, the axis 28 of the ion supply channel 21 may be inclined toward the inner side 26 at an acute angle relative to the flat faces 15a, 16a so that the ion stream is delivered into the slotted nozzle 22 with a small transverse velocity component and a large longitudinal component.
The slotted nozzle 22 is generally longitudinally coextensive with the heating elements 15, 16 and may have generally parallel opposing longitudinal sides 23, 24, the opposing longitudinal sides 23, 24 extending through the hair care portion 13 of the body 10 to opposing outlets, one on the outside 25 and one on the inside between the heating elements 15, 16.
The electrically conductive metal surface 17a of the heating element 17 may be connected to a charging circuit 30, the electrically conductive metal surface 17a being positively charged by the charging circuit 30 to attract the emitted anions. In this manner, operation of the anion generator 20 produces an ion curtain that extends side-by-side from the interior side 26 of the hair care section 13 and is generally parallel to the adjacent longitudinal interior edges of the heating elements 15, 16.
Referring to fig. 4, in use, a bundle of hair 31 extends generally transversely across the heating element and across the slot defined by the slotting nozzle 22. By means of the ion curtain on the inner side, an evenly distributed anion is generated on a larger area of the hair 31 and is directed towards the hair 31. The ion curtain causes the heating element 15 (and half of its counterpart 17) to provide pre-styling treatment if the hair iron is pulled up the hair 31, and likewise, the heating element 16 (and half of its counterpart 17) when the hair iron is pulled down the hair 31. Thus, uniform ionic pretreatment is achieved regardless of the direction in which the appliance is pulled along the hair, providing convenient left and right handed operation. When pulled over the hair, the water collected in the slotted nozzle 22 is exposed to high temperatures and easily vaporized and discharged to the outside 25, while the through-extending arrangement also allows the slotted nozzle 22 to be easily cleaned.
Several variations of the first embodiment may equally yield satisfactory improvement in styling performance, and some of these variations are discussed with reference to the remaining fig. 5-11. Fig. 5 and 6 show a comb-type hair iron for straightening having an elongated body 10 and wherein each of said heating elements 115, 116 further comprises teeth 32, which teeth 32 may extend from their flat faces 115a, 116a and are arranged in a linear array in a longitudinally spaced manner. Each tooth 32 may have a similar shape: each tooth 32 is tapered to narrow towards its tip and opposite lateral edges and is laterally elongated to span a majority of the width of each heating element 115, 116.
Fig. 5 and 6 also show a charging circuit 130, in which the heating elements 115, 116 are electrically grounded, for example by being connected to a high resistance. In a clip type hair iron having the charging circuit 130 connected to a pair of heating elements in one of the bodies, the other of the bodies may be free of the charging circuit 30.
In an embodiment of the invention, the slotted spray nozzle 122 may have only a single outlet, and such a slotted spray nozzle 122 is illustrated in fig. 7, wherein on the opposite side of the open mouth of the slotted spray nozzle 122, the slotted spray nozzle 122 has a closed concave surface 36, the closed concave surface 36 extending longitudinally to maintain a substantially constant cross-sectional area throughout its length.
In the clip-type hair iron, the hingedly connected bodies 10, 11 may each include an integral slotted nozzle 22, 122, and each body 10, 11 may hold a respective anion generator. As shown in fig. 8, ion supply channels 21 are preferably provided at the longitudinal ends of the slotted nozzle 22 and are equally spaced laterally from the heating elements 15-18. The axis 28 of the ionizer may also extend generally longitudinally, as shown in fig. 8, since a preferably small transverse velocity component is not necessary.
In a first embodiment, as best shown in fig. 3, the longitudinal sides 23, 24 of the slotted nozzle 22 are preferably laterally spaced from the opposite inner edges 38, 39 of the elements 15, 16, providing a smaller expansion space 40 on the inside, the smaller expansion space 40 being generally located between the inner opening 41 of the slotted nozzle 22 and the inner edges 38, 39 and being wider than the inner opening 41. However, this expansion space 40 is not necessary and the inner edges 38, 39 may be generally aligned with the longitudinal sides 23, 24 of the slotted nozzle 22 such that the slotted nozzle 22 is bounded by the heating elements 15, 16 rather than the body 10, as shown in fig. 9.
Although the slotted nozzle 22 preferably extends longitudinally between two heating elements, as shown in fig. 2 (or between opposite edges of a single, nearly annular heating element (not shown)), it is not necessary for the slotted nozzle 22 to be located between the heating elements 15, 16 (or between edges of a single heating element). The inventors have found that improved styling performance compared to the older version of the ion styling iron is still achieved with an elongated slotted nozzle 22 longitudinally spanning the hair care portion 13, but the slotted nozzle 22 is located alongside only one longitudinal edge of the heating element 117. Such an embodiment of the invention is shown in fig. 10, wherein the hair care section 13 comprises only a single heating element 117 and a corresponding single slotted nozzle 22, the corresponding single slotted nozzle 22 being adjacent and parallel to the outer edge 45 of the hair care section 13 and being juxtaposed, parallel and spaced apart from the long edges of the generally rectangular perimeter of the heating element 117.
Figure 11 shows a further embodiment of the invention in which a pair of slotted nozzles 22 are formed in the haircare section 13 of the body 10 alongside respective opposite longitudinal edges of the haircare section 13, each slotted nozzle 22 being adjacent a respective longitudinal edge of a single heating element 117. The slotted spray nozzles 22 may be supplied from one ionizer 20 or from a corresponding ionizer 20 (not shown in fig. 11). Similar to the configuration of fig. 9, the opposing outer edges 138, 139 of the element 117 can be coplanar with one of the longitudinal sides 23, 24 of each slotted nozzle 22, such that the inner edge of each slotted nozzle 22 is bounded by the heating element 117. The embodiment with the pair of slotted nozzles 22 also has the advantage previously identified with respect to the first embodiment that the ion pre-treatment is performed prior to the hair styling treatment, regardless of the direction in which the appliance is pulled along the hair.
Fig. 12 illustrates a further embodiment of the present invention, similar to the embodiment of fig. 10, wherein the hair care section 13 includes a single heating element 117 and a corresponding single slotted nozzle 22, the corresponding single slotted nozzle 22 being adjacent and parallel to the outer edge 45 of the hair care section 13 and being juxtaposed, parallel and spaced apart from the long edges of the generally rectangular perimeter of the heating element 117. The supply channel 21 of the slotted nozzle 22 includes two discharge electrodes 47 connected to the negative ion generator 20 (not shown), and the two discharge electrodes 47 are disposed at both longitudinal ends of the slotted nozzle 22 and are coaxial with the supply channel 21. Alternatively, the supply passage 21 of the slotted nozzle 22 may include only one discharge electrode 47, the discharge electrode 47 being connected to the negative ion generator 20 and disposed at a longitudinal end of the slotted nozzle 22.
Aspects of the present invention have been described by way of example only and it should be appreciated that modifications and additions may be made thereto without departing from the scope thereof.
Claims (16)
1. A hair iron comprising:
a main body with a hair care part, a hair brush,
at least one elongate heating element disposed in the hair care section, the at least one elongate heating element having a hair contacting surface for contacting hair in use,
it is characterized in that the hair iron further comprises:
an ion generator for generating ions, and a plurality of ion generators,
a slotted nozzle in the hair care section in communication with the ionizer for generating a curtain of ions extending side-by-side from at least one side of the body and generally parallel to the longitudinal edges of the at least one elongated heating element.
2. The hair iron as set forth in claim 1, wherein the at least one elongated heating element comprises a pair of generally parallel elongated heating elements having a similar shape, and the slotted nozzle is disposed between adjacent longitudinal edges of respective ones of the pair of generally parallel elongated heating elements.
3. The hair iron as set forth in claim 1, wherein the body is elongated, the body having the hair care portion disposed at one longitudinal end, and a grip portion disposed at an opposite longitudinal end for being gripped by a user during use of the hair iron.
4. The hair iron as set forth in claim 1, wherein the ionizer is disposed in the main body, and the main body further comprises a supply channel connecting the ionizer with at least one longitudinal end of the slotted nozzle.
5. The hair iron as set forth in any one of claims 1 to 4, wherein the ionizer generates anions.
6. The hair iron as set forth in any one of claims 1 to 4, wherein the hair contact surface is formed on an electrical conductor, and the hair iron comprises a charging circuit connected to the electrical conductor, the charging circuit charging the electrical conductor to attract the ionic curtain.
7. The hair iron as set forth in claim 6, wherein the hair contacting surface is formed on a metal plate.
8. The hair iron as set forth in claim 6, wherein the electrical conductor is electrically grounded.
9. The hair iron as set forth in any one of claims 1 to 4, wherein the slotted nozzle is integral with the hair care portion and includes an outlet opening extending therethrough such that the ion curtain extends from opposite sides of the hair care portion.
10. The hair iron as set forth in claim 9, wherein the outlet opening extending therethrough has a substantially constant cross-sectional area throughout its length.
11. The hair iron as set forth in claim 9, wherein the outlet opening extending therethrough has generally parallel opposing longitudinal sides.
12. The hair iron as set forth in any one of claims 1 to 4, wherein the body forms a boundary of the slotted nozzle.
13. The hair iron of claim 2, wherein the at least one elongated heating element further comprises a plurality of teeth having similar shapes that project from the planar face of the at least one elongated heating element and are disposed longitudinally spaced apart and in a linear array, wherein each tooth of the plurality of teeth is tapered to narrow toward its tip and opposite lateral edges and is elongated laterally to span a majority of the width of each heating element of the at least one elongated heating element.
14. The hair iron as set forth in claim 4, wherein the supply passage includes a discharge electrode connected to the ionizer, the discharge electrode being disposed at the at least one longitudinal end of the slotted nozzle.
15. The hair iron as set forth in claim 14, wherein the supply passage includes at least two discharge electrodes connected to the ionizer, the at least two discharge electrodes being disposed at both longitudinal ends of the slotted nozzle and being coaxial with the supply passage.
16. The hair iron as set forth in claim 4, wherein the supply channel is coaxial with the ionizer and the axis of the supply channel is inclined at an acute angle relative to the planar face of the at least one elongated heating element so that the stream of ions is delivered into the slotted nozzle with a small transverse velocity component and a large longitudinal component.
Applications Claiming Priority (3)
| Application Number | Priority Date | Filing Date | Title |
|---|---|---|---|
| HK18107340 | 2018-06-05 | ||
| HK18107340.2 | 2018-06-05 | ||
| PCT/CN2019/090134 WO2019233439A1 (en) | 2018-06-05 | 2019-06-05 | Hair appliance with ion generator |
Publications (1)
| Publication Number | Publication Date |
|---|---|
| CN215837519U true CN215837519U (en) | 2022-02-18 |
Family
ID=68769611
Family Applications (1)
| Application Number | Title | Priority Date | Filing Date |
|---|---|---|---|
| CN201990000761.3U Active CN215837519U (en) | 2018-06-05 | 2019-06-05 | Hair appliance with ion generator |
Country Status (5)
| Country | Link |
|---|---|
| US (1) | US20210267337A1 (en) |
| EP (1) | EP3801118A4 (en) |
| JP (1) | JP7738996B2 (en) |
| CN (1) | CN215837519U (en) |
| WO (1) | WO2019233439A1 (en) |
Families Citing this family (2)
| Publication number | Priority date | Publication date | Assignee | Title |
|---|---|---|---|---|
| USD938649S1 (en) * | 2020-11-06 | 2021-12-14 | Yiwu Lehman Electronic Technology Co., Ltd | Hair curler |
| EP4190203A1 (en) * | 2021-12-02 | 2023-06-07 | Koninklijke Philips N.V. | A hair treatment device |
Family Cites Families (16)
| Publication number | Priority date | Publication date | Assignee | Title |
|---|---|---|---|---|
| US1597855A (en) * | 1924-09-17 | 1926-08-31 | Zahorsky Yolanda | Vacuum-cleaner brush |
| JP3402327B1 (en) * | 2002-01-18 | 2003-05-06 | 松下電工株式会社 | Hair iron |
| US20050121050A1 (en) * | 2003-09-16 | 2005-06-09 | Cha Jun H. | Electric hair straightening iron equipped with a generator producing anion and ozone |
| JP3594959B2 (en) | 2004-04-15 | 2004-12-02 | 九州日立マクセル株式会社 | Hair treatment equipment |
| JP3568949B2 (en) * | 2004-04-19 | 2004-09-22 | 九州日立マクセル株式会社 | Hair treatment equipment |
| EP1652445B1 (en) * | 2004-11-01 | 2008-12-03 | K.I.C.A. Inc. | Hair iron |
| KR100858028B1 (en) * | 2008-04-17 | 2008-09-10 | 불루세라믹 주식회사 | Hair beauty instruments |
| CN201541947U (en) | 2009-11-06 | 2010-08-11 | 东莞市摩尔达电器科技有限公司 | Hair straightener |
| CN102743004B (en) * | 2012-07-02 | 2016-04-20 | 深圳市顺章电器有限公司 | The negative ion emitter of heater of hair straightener |
| JP2014168618A (en) * | 2013-03-05 | 2014-09-18 | Sharp Corp | Hair iron |
| FR3020930B1 (en) * | 2014-05-14 | 2016-06-24 | Seb Sa | STEAM HAIRSTAPPING APPARATUS WITH MEANS OF CONTAINING STEAM |
| CN204635369U (en) * | 2015-03-06 | 2015-09-16 | 深圳市乐美科技有限公司 | A kind of anion heating comb hair care device |
| US9913519B2 (en) * | 2015-06-09 | 2018-03-13 | Farouk Systems, Inc. | Hair iron and heat transfer material for hair iron |
| CN205728613U (en) * | 2016-05-20 | 2016-11-30 | 深圳市今日电器有限公司 | Heating comb for straightening hair with anion |
| CN206836516U (en) * | 2017-03-29 | 2018-01-05 | 深圳市德诚欣科技有限公司 | Antistatic anion direct hair comb |
| CN207411724U (en) * | 2017-08-22 | 2018-05-29 | 温州市拉博电器有限公司 | A kind of anion marcel waver |
-
2019
- 2019-06-05 CN CN201990000761.3U patent/CN215837519U/en active Active
- 2019-06-05 JP JP2020552871A patent/JP7738996B2/en active Active
- 2019-06-05 WO PCT/CN2019/090134 patent/WO2019233439A1/en not_active Ceased
- 2019-06-05 US US16/972,506 patent/US20210267337A1/en not_active Abandoned
- 2019-06-05 EP EP19816133.3A patent/EP3801118A4/en active Pending
Also Published As
| Publication number | Publication date |
|---|---|
| US20210267337A1 (en) | 2021-09-02 |
| EP3801118A1 (en) | 2021-04-14 |
| JP2021526037A (en) | 2021-09-30 |
| JP7738996B2 (en) | 2025-09-16 |
| WO2019233439A1 (en) | 2019-12-12 |
| EP3801118A4 (en) | 2022-03-16 |
Similar Documents
| Publication | Publication Date | Title |
|---|---|---|
| TWI238698B (en) | Hair iron | |
| CN101765385B (en) | Hair care appliance which can be employed in a flexible manner | |
| EP2076151B1 (en) | Hair styling iron with raised fins | |
| US10925371B2 (en) | Hair brush | |
| EP3289918A1 (en) | Heated hair paddle | |
| CN100355378C (en) | Hair curling device | |
| KR101771212B1 (en) | Hair curling iron | |
| CN215837519U (en) | Hair appliance with ion generator | |
| CN109953464B (en) | Device for treating hair by limiting steam | |
| CN103156374A (en) | hair styling device | |
| CN203860646U (en) | Haircut device with steam injection teeth | |
| JP2018504189A (en) | Refills for equipment for treating hair with binding relief | |
| JP5612932B2 (en) | Hairdressing equipment | |
| JP4652427B2 (en) | hair iron | |
| JP4205375B2 (en) | hairbrush | |
| CN113660884A (en) | Hair care device with ion generator | |
| JP3218799U (en) | Perm comb for straightening hair | |
| JP7616556B2 (en) | Hair Treatment Device | |
| KR200429529Y1 (en) | curling irons | |
| JP3941670B2 (en) | Hair iron | |
| RU2777592C2 (en) | Device for hair treatment with steam retention | |
| CN219537698U (en) | Hair care device | |
| JP4023241B2 (en) | Hair iron | |
| JP3220333U (en) | Brushed hair iron | |
| ITMI20040349U1 (en) | CLAMP-TYPE HAIR CURLER EQUIPPED WITH ION GENERATOR |
Legal Events
| Date | Code | Title | Description |
|---|---|---|---|
| GR01 | Patent grant | ||
| GR01 | Patent grant |
