CN211826425U - A fuel cell hydrogen concentration detector performance testing device - Google Patents
A fuel cell hydrogen concentration detector performance testing device Download PDFInfo
- Publication number
- CN211826425U CN211826425U CN201922244988.7U CN201922244988U CN211826425U CN 211826425 U CN211826425 U CN 211826425U CN 201922244988 U CN201922244988 U CN 201922244988U CN 211826425 U CN211826425 U CN 211826425U
- Authority
- CN
- China
- Prior art keywords
- explosion
- hydrogen concentration
- concentration detector
- fuel cell
- performance testing
- Prior art date
- Legal status (The legal status is an assumption and is not a legal conclusion. Google has not performed a legal analysis and makes no representation as to the accuracy of the status listed.)
- Expired - Fee Related
Links
Images
Landscapes
- Investigating Or Analyzing Materials By The Use Of Electric Means (AREA)
Abstract
本实用新型提供了一种燃料电池氢浓度探测器性能测试装置,包括防爆外壳;防爆外壳左右两端均设有连接插件,连接插件内包括信号线端子、电源线端子及接地线端子;两个连接插件相同端子在防爆外壳内对应导线连通;防爆外壳下表面设有树脂透视窗,防爆外壳上表面嵌入设置延时开关及按钮开关。本实用新型一种燃料电池氢浓度探测器性能测试装置,可以实现对氢浓度探测器进行快速的性能测试,并且具有定时自动复位功能,以防止由于短路时间过长,对测试的氢浓度探测器及相关连接设备带来不必要的损坏。
The utility model provides a performance testing device for a hydrogen concentration detector of a fuel cell, which comprises an explosion-proof casing; the left and right ends of the explosion-proof casing are provided with connection plug-ins, and the connection plug-ins include a signal wire terminal, a power wire terminal and a ground wire terminal; two The same terminals of the connection plug-in are connected to corresponding wires in the explosion-proof casing; the lower surface of the explosion-proof casing is provided with a resin perspective window, and the upper surface of the explosion-proof casing is embedded with a delay switch and a button switch. The utility model relates to a performance testing device for a hydrogen concentration detector of a fuel cell, which can realize rapid performance testing of the hydrogen concentration detector, and has the function of timing automatic reset, so as to prevent the hydrogen concentration detector being tested due to an excessively long short-circuit time. and related connected equipment will cause unnecessary damage.
Description
技术领域technical field
本实用新型属于氢气浓度探测器测试领域,尤其是涉及一种燃料电池氢浓度探测器性能测试装置。The utility model belongs to the field of hydrogen concentration detector testing, in particular to a performance testing device for a fuel cell hydrogen concentration detector.
背景技术Background technique
在现有技术条件下,依据GB/T 26990-2011《燃料电池电动汽车车载氢系统技术条件》中的测试要求,规定当氢泄露探测器发生短路、断路等故障时,应能对驾驶员发出故障报警信号。燃料电池电动汽车的氢安全问题一直是行业中高度重视的问题,一般针对氢安全采取的策略原则和手段是及时探测、有效处理、强化安防,其中及时探测是第一步也是最重要的一步,氢浓度传感器作为关键的组成部分,在整车安全排查的时候必须对传感器进行万无一失的检查,保证其在整车上的能够正常使用发挥作用。现有的氢气浓度传感器相关测试装置及方法,无法实现在不干扰整车其他运行状态的前提下,能够对氢浓度传感器进行依照标准的断路和短路故障测试。Under the existing technical conditions, according to the test requirements in GB/T 26990-2011 "Technical Conditions for Fuel Cell Electric Vehicle On-board Hydrogen System", it is stipulated that when the hydrogen leakage detector has a short circuit, open circuit and other faults, it should be able to send a message to the driver. Fault alarm signal. The hydrogen safety issue of fuel cell electric vehicles has always been a highly valued issue in the industry. Generally, the strategic principles and means adopted for hydrogen safety are timely detection, effective processing, and enhanced security. Among them, timely detection is the first and most important step. As a key component of the hydrogen concentration sensor, the sensor must be absolutely checked during the safety inspection of the vehicle to ensure that it can function normally on the vehicle. The existing testing devices and methods related to the hydrogen concentration sensor cannot perform the open circuit and short circuit fault tests according to the standard on the hydrogen concentration sensor without interfering with other operating states of the vehicle.
发明内容SUMMARY OF THE INVENTION
有鉴于此,本实用新型旨在提出一种燃料电池氢浓度探测器性能测试装置,可以实现对氢浓度探测器进行快速的性能测试,并且具有定时自动复位功能,以防止由于短路时间过长,对测试的氢浓度探测器及相关连接设备带来不必要的损坏。In view of this, the present utility model aims to propose a fuel cell hydrogen concentration detector performance test device, which can realize the rapid performance test of the hydrogen concentration detector, and has the function of timing automatic reset to prevent the short circuit time from being too long. Unnecessary damage to the tested hydrogen concentration detector and related connected equipment.
为达到上述目的,本实用新型的技术方案是这样实现的:In order to achieve the above object, the technical scheme of the present utility model is achieved in this way:
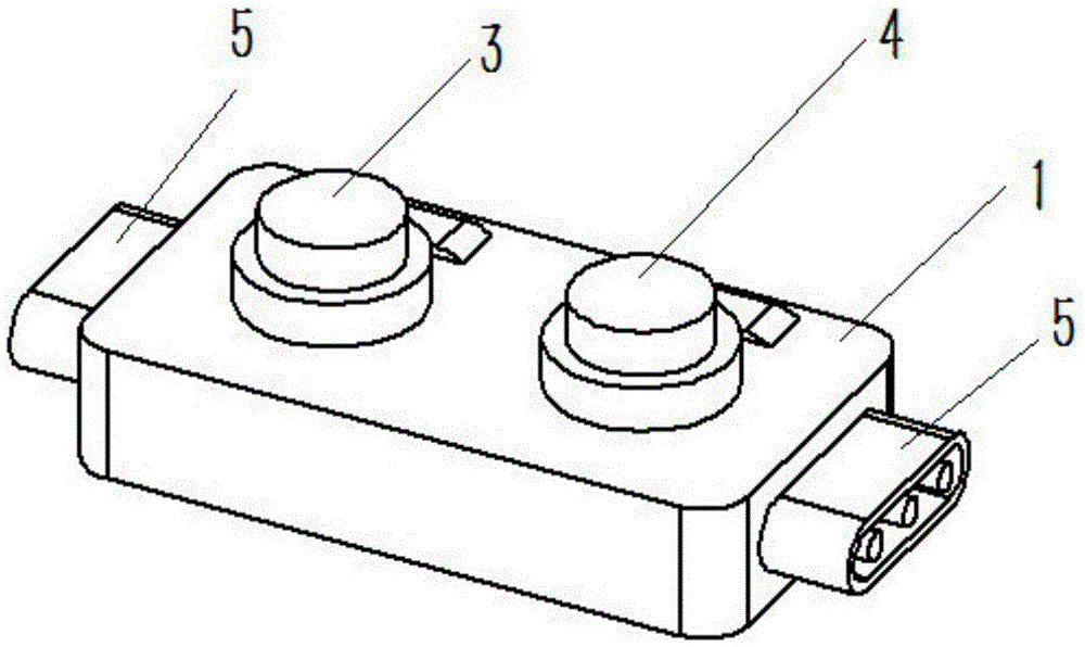
一种燃料电池氢浓度探测器性能测试装置,包括防爆外壳;防爆外壳左右两端均设有连接插件,连接插件内包括信号线端子、电源线端子及接地线端子;两个连接插件相同端子在防爆外壳内对应导线连通;防爆外壳下表面设有树脂透视窗,防爆外壳上表面嵌入设置延时开关及按钮开关,延时开关一端与两个电源线端子之间的连接导线连通,延时开关另一端与两个接地线端子之间的连接导线连通;按钮开关连接在两个接地线端子之间的连接导线上,用于控制两个接地线端子之间的通断。A performance testing device for a hydrogen concentration detector of a fuel cell, comprising an explosion-proof casing; connection plug-ins are provided at the left and right ends of the explosion-proof casing, and the connection plug-ins include signal wire terminals, power wire terminals and ground wire terminals; the same terminals of the two connection plug-ins are located in The corresponding wires in the explosion-proof casing are connected; the lower surface of the explosion-proof casing is provided with a resin perspective window, and the upper surface of the explosion-proof casing is embedded with a delay switch and a button switch. The other end is connected with the connecting wire between the two grounding wire terminals; the button switch is connected to the connecting wire between the two grounding wire terminals, and is used to control the on-off between the two grounding wire terminals.
进一步的,延时开关是5秒延时复位开关。Further, the delay switch is a 5-second delay reset switch.
进一步的,防爆外壳是矩形形状。Further, the explosion-proof enclosure is rectangular in shape.
进一步的,防爆外壳上表面设有用于标识开关类型的铭牌。Further, the upper surface of the explosion-proof casing is provided with a nameplate for identifying the type of switch.
进一步的,防爆外壳后表面是镂空槽口,树脂透视窗使用螺钉固定覆盖在镂空槽口上。Further, the rear surface of the explosion-proof casing is a hollow notch, and the resin perspective window is fixed and covered on the hollow notch by screws.
进一步的,防爆外壳四角设有圆角。Further, the four corners of the explosion-proof casing are provided with rounded corners.
相对于现有技术,本实用新型一种燃料电池氢浓度探测器性能测试装置,具有以下优势:Compared with the prior art, the utility model is a fuel cell hydrogen concentration detector performance testing device, which has the following advantages:
本实用新型一种燃料电池氢浓度探测器性能测试装置,可以实现对氢浓度探测器进行快速的性能测试,并且具有定时自动复位功能,以防止由于短路时间过长,对测试的氢浓度探测器及相关连接设备带来不必要的损坏。The utility model relates to a performance testing device for a hydrogen concentration detector of a fuel cell, which can realize rapid performance testing of the hydrogen concentration detector, and has the function of timing automatic reset, so as to prevent the hydrogen concentration detector being tested due to an excessively long short-circuit time. and related connected equipment will cause unnecessary damage.
附图说明Description of drawings
构成本实用新型的一部分的附图用来提供对本实用新型的进一步理解,本实用新型的示意性实施例及其说明用于解释本实用新型,并不构成对本实用新型的不当限定。The accompanying drawings that constitute a part of the present invention are used to provide further understanding of the present invention, and the schematic embodiments and descriptions of the present invention are used to explain the present invention and do not constitute an improper limitation of the present invention.
在附图中:In the attached image:
图1为本实用新型实施例一种燃料电池氢浓度探测器性能测试装置结构示意图;1 is a schematic structural diagram of a performance testing device for a fuel cell hydrogen concentration detector according to an embodiment of the present invention;
图2为本实用新型实施例一种燃料电池氢浓度探测器性能测试装置左视示意图;2 is a left side schematic diagram of a performance testing device for a fuel cell hydrogen concentration detector according to an embodiment of the present utility model;
图3为本实用新型实施例一种燃料电池氢浓度探测器性能测试装置仰视示意图;3 is a schematic bottom view of a performance testing device for a fuel cell hydrogen concentration detector according to an embodiment of the present utility model;
图4为本实用新型实施例一种燃料电池氢浓度探测器性能测试装置原理示意图。4 is a schematic diagram of the principle of a performance testing device for a fuel cell hydrogen concentration detector according to an embodiment of the present invention.
附图标记说明:Description of reference numbers:
1-防爆外壳;2-树脂透视窗;3-延时开关;4-按钮开关;5-连接插件。1-explosion-proof shell; 2-resin perspective window; 3-delay switch; 4-button switch; 5-connection plug-in.
具体实施方式Detailed ways
需要说明的是,在不冲突的情况下,本实用新型中的实施例及实施例中的特征可以相互组合。It should be noted that the embodiments of the present invention and the features of the embodiments may be combined with each other under the condition of no conflict.
在本实用新型的描述中,需要理解的是,术语“中心”、“纵向”、“横向”、“上”、“下”、“前”、“后”、“左”、“右”、“竖直”、“水平”、“顶”、“底”、“内”、“外”等指示的方位或位置关系为基于附图所示的方位或位置关系,仅是为了便于描述本实用新型和简化描述,而不是指示或暗示所指的装置或元件必须具有特定的方位、以特定的方位构造和操作,因此不能理解为对本实用新型的限制。此外,术语“第一”、“第二”等仅用于描述目的,而不能理解为指示或暗示相对重要性或者隐含指明所指示的技术特征的数量。由此,限定有“第一”、“第二”等的特征可以明示或者隐含地包括一个或者更多个该特征。在本实用新型的描述中,除非另有说明,“多个”的含义是两个或两个以上。In the description of the present invention, it should be understood that the terms "center", "longitudinal", "horizontal", "upper", "lower", "front", "rear", "left", "right", The orientations or positional relationships indicated by "vertical", "horizontal", "top", "bottom", "inside", "outside", etc. are based on the orientations or positional relationships shown in the accompanying drawings, and are only for the convenience of describing the present utility. The novel and simplified description does not indicate or imply that the device or element referred to must have a particular orientation, be constructed and operate in a particular orientation, and therefore should not be construed as limiting the invention. In addition, the terms "first", "second", etc. are used for descriptive purposes only, and should not be construed as indicating or implying relative importance or implying the number of indicated technical features. Thus, a feature defined as "first", "second", etc., may expressly or implicitly include one or more of that feature. In the description of the present invention, unless otherwise specified, "plurality" means two or more.
在本实用新型的描述中,需要说明的是,除非另有明确的规定和限定,术语“安装”、“相连”、“连接”应做广义理解,例如,可以是固定连接,也可以是可拆卸连接,或一体地连接;可以是机械连接,也可以是电连接;可以是直接相连,也可以通过中间媒介间接相连,可以是两个元件内部的连通。对于本领域的普通技术人员而言,可以通过具体情况理解上述术语在本实用新型中的具体含义。In the description of the present invention, it should be noted that, unless otherwise expressly specified and limited, the terms "installed", "connected" and "connected" should be understood in a broad sense, for example, it may be a fixed connection or a connectable connection. Detachable connection, or integral connection; may be mechanical connection or electrical connection; may be direct connection, or indirect connection through an intermediate medium, or internal communication between two components. For those of ordinary skill in the art, the specific meanings of the above terms in the present invention can be understood through specific situations.
下面将参考附图并结合实施例来详细说明本实用新型。The present utility model will be described in detail below with reference to the accompanying drawings and in conjunction with the embodiments.
如图1-4所示,一种燃料电池氢浓度探测器性能测试装置,包括防爆外壳1;防爆外壳1左右两端均设有连接插件5,连接插件5内包括信号线端子、电源线端子及接地线端子;两个连接插件5相同端子在防爆外壳1内对应导线连通;防爆外壳1下表面设有树脂透视窗2,防爆外壳1上表面嵌入设置延时开关3及按钮开关4,延时开关3一端与两个电源线端子之间的连接导线连通,延时开关3另一端与两个接地线端子之间的连接导线连通;按钮开关4连接在两个接地线端子之间的连接导线上,用于控制两个接地线端子之间的通断。As shown in Figures 1-4, a fuel cell hydrogen concentration detector performance testing device includes an explosion-proof casing 1; the left and right ends of the explosion-proof casing 1 are provided with connection plug-
如图4所示,在本实施例中,两个连接插件5一个与待测试的氢浓度探测器连接,另一个与车辆上的氢浓度探测器的连接线连接。当进行短路测试时,操作人员闭合延时开关3及按钮开关4,此时测试的氢浓度探测器处于短路状态,可以观察车辆上是否具有相应的氢浓度探测器短路故障提示;当进行断路测试时,操作人员不闭合延时开关3,闭合按钮开关4,此时测试的氢浓度探测器处于断路状态,可以观察车辆上是否具有相应的氢浓度探测器断路故障提示。As shown in FIG. 4 , in this embodiment, one of the two
如图1-4所示,延时开关3是5秒延时复位开关。As shown in Figure 1-4,
对待测试的氢浓度探测器进行短路测试时,长时间短路容易对氢浓度探测器以及相关连接的部件带来损坏,因此所使用的延时开关3是5秒延时复位开关,当闭合时间超过5秒后,延时开关3会自动复位断开,避免了由于疏忽长时间没有复位开关,带来的氢浓度探测器或相连接设备的损坏。When the hydrogen concentration detector to be tested is short-circuited, a long-term short circuit will easily damage the hydrogen concentration detector and related connected components. Therefore, the
如图1-4所示,防爆外壳1是矩形形状。As shown in Figures 1-4, the explosion-proof enclosure 1 is rectangular in shape.
如图1-4所示,防爆外壳1上表面设有用于标识开关类型的铭牌。As shown in Figure 1-4, the upper surface of the explosion-proof enclosure 1 is provided with a nameplate for identifying the type of switch.
如图1-4所示,防爆外壳1后表面是镂空槽口,树脂透视窗2使用螺钉固定覆盖在镂空槽口上。As shown in Figure 1-4, the rear surface of the explosion-proof housing 1 is a hollow notch, and the resin see-through
树脂透视窗2的使用,可以使操作人员,随时观察到防爆外壳1内的电路连接情况,如果出现因为多次短路或者断路测试,造成的开关管脚损坏,可以及时的进行元件更换和维修。The use of the resin see-through
如图1-4所示,防爆外壳1四角设有圆角。As shown in Figure 1-4, the four corners of the explosion-proof enclosure 1 are provided with rounded corners.
以上仅为本实用新型的较佳实施例而已,并不用以限制本实用新型,凡在本实用新型的精神和原则之内,所作的任何修改、等同替换、改进等,均应包含在本实用新型的保护范围之内。The above are only preferred embodiments of the present invention and are not intended to limit the present invention. Any modifications, equivalent replacements, improvements, etc. made within the spirit and principles of the present invention shall be included in the present invention. within the scope of the new protection.
Claims (6)
Priority Applications (1)
| Application Number | Priority Date | Filing Date | Title |
|---|---|---|---|
| CN201922244988.7U CN211826425U (en) | 2019-12-13 | 2019-12-13 | A fuel cell hydrogen concentration detector performance testing device |
Applications Claiming Priority (1)
| Application Number | Priority Date | Filing Date | Title |
|---|---|---|---|
| CN201922244988.7U CN211826425U (en) | 2019-12-13 | 2019-12-13 | A fuel cell hydrogen concentration detector performance testing device |
Publications (1)
| Publication Number | Publication Date |
|---|---|
| CN211826425U true CN211826425U (en) | 2020-10-30 |
Family
ID=73139844
Family Applications (1)
| Application Number | Title | Priority Date | Filing Date |
|---|---|---|---|
| CN201922244988.7U Expired - Fee Related CN211826425U (en) | 2019-12-13 | 2019-12-13 | A fuel cell hydrogen concentration detector performance testing device |
Country Status (1)
| Country | Link |
|---|---|
| CN (1) | CN211826425U (en) |
Cited By (1)
| Publication number | Priority date | Publication date | Assignee | Title |
|---|---|---|---|---|
| CN111077473A (en) * | 2019-12-13 | 2020-04-28 | 中汽研汽车检验中心(天津)有限公司 | A fuel cell hydrogen concentration detector performance testing device |
-
2019
- 2019-12-13 CN CN201922244988.7U patent/CN211826425U/en not_active Expired - Fee Related
Cited By (1)
| Publication number | Priority date | Publication date | Assignee | Title |
|---|---|---|---|---|
| CN111077473A (en) * | 2019-12-13 | 2020-04-28 | 中汽研汽车检验中心(天津)有限公司 | A fuel cell hydrogen concentration detector performance testing device |
Similar Documents
| Publication | Publication Date | Title |
|---|---|---|
| CN201225932Y (en) | Apparatus for testing temperature switch | |
| WO2024066550A1 (en) | Insulation test circuit and method for vehicle high-voltage line | |
| CN106569108B (en) | A switch withstand voltage detection system and detection method | |
| CN211826425U (en) | A fuel cell hydrogen concentration detector performance testing device | |
| CN108562814A (en) | A kind of resistance device for DC system grounding experiment | |
| CN210347712U (en) | A four-wire rapid test insulation resistance tester | |
| CN110346681B (en) | Comprehensive test system and method for USB interface and data line | |
| CN201429629Y (en) | Insulation resistance safety test box | |
| CN208334618U (en) | Quick connector for testing secondary circuit of current transformer | |
| CN114300893A (en) | A crimping terminal for the electrical port of explosion-proof distribution box | |
| CN205353338U (en) | Device is examined to photovoltaic tester point | |
| CN210011704U (en) | A high voltage distribution box | |
| US3704411A (en) | Portable device for testing electrical appliances | |
| CN201289915Y (en) | Secondary circuit pressure-drop measuring access kit of voltage transformator | |
| CN207703963U (en) | Vehicle complete vehicle wire overloading short-circuit test mechanism | |
| CN101191807B (en) | A relay detection device and method | |
| CN110045312A (en) | A kind of calibration equipment of insulating monitor | |
| CN111077473A (en) | A fuel cell hydrogen concentration detector performance testing device | |
| CN209388980U (en) | Breaker temperature acquisition device | |
| CN210894480U (en) | Switch board warning device | |
| CN204008859U (en) | Distribution system checkout equipment | |
| CN203324418U (en) | Line detector | |
| CN223180316U (en) | Inverter inspection testing device | |
| CN223320566U (en) | A wiring harness continuity detection device | |
| CN120254614A (en) | Battery pack detection method, device, electronic equipment and vehicle |
Legal Events
| Date | Code | Title | Description |
|---|---|---|---|
| GR01 | Patent grant | ||
| GR01 | Patent grant | ||
| CF01 | Termination of patent right due to non-payment of annual fee |
Granted publication date: 20201030 |
|
| CF01 | Termination of patent right due to non-payment of annual fee |
