CN211326656U - Domestic lymphedema detumescence instrument - Google Patents
Domestic lymphedema detumescence instrument Download PDFInfo
- Publication number
- CN211326656U CN211326656U CN201921900049.7U CN201921900049U CN211326656U CN 211326656 U CN211326656 U CN 211326656U CN 201921900049 U CN201921900049 U CN 201921900049U CN 211326656 U CN211326656 U CN 211326656U
- Authority
- CN
- China
- Prior art keywords
- detumescence
- head
- lymphedema
- negative pressure
- suction
- Prior art date
- Legal status (The legal status is an assumption and is not a legal conclusion. Google has not performed a legal analysis and makes no representation as to the accuracy of the status listed.)
- Expired - Fee Related
Links
- 206010025282 Lymphoedema Diseases 0.000 title claims abstract description 36
- 208000002502 lymphedema Diseases 0.000 title claims abstract description 36
- 230000007246 mechanism Effects 0.000 claims abstract description 25
- 230000008961 swelling Effects 0.000 claims abstract description 14
- 230000002579 anti-swelling effect Effects 0.000 claims abstract description 13
- 230000009467 reduction Effects 0.000 claims abstract description 12
- 229920000915 polyvinyl chloride Polymers 0.000 claims description 7
- 239000004800 polyvinyl chloride Substances 0.000 claims description 7
- 238000009423 ventilation Methods 0.000 claims description 6
- 239000004973 liquid crystal related substance Substances 0.000 claims description 4
- 238000000605 extraction Methods 0.000 claims description 3
- 239000000463 material Substances 0.000 claims description 3
- 230000001926 lymphatic effect Effects 0.000 abstract description 4
- 238000000034 method Methods 0.000 description 4
- 238000010586 diagram Methods 0.000 description 3
- 229940079593 drug Drugs 0.000 description 3
- 239000003814 drug Substances 0.000 description 3
- 230000000694 effects Effects 0.000 description 3
- 210000004880 lymph fluid Anatomy 0.000 description 3
- WHXSMMKQMYFTQS-UHFFFAOYSA-N Lithium Chemical compound [Li] WHXSMMKQMYFTQS-UHFFFAOYSA-N 0.000 description 2
- CSNNHWWHGAXBCP-UHFFFAOYSA-L Magnesium sulfate Chemical compound [Mg+2].[O-][S+2]([O-])([O-])[O-] CSNNHWWHGAXBCP-UHFFFAOYSA-L 0.000 description 2
- 244000309466 calf Species 0.000 description 2
- 210000003414 extremity Anatomy 0.000 description 2
- 229910052744 lithium Inorganic materials 0.000 description 2
- 230000000474 nursing effect Effects 0.000 description 2
- 210000000689 upper leg Anatomy 0.000 description 2
- 206010011409 Cross infection Diseases 0.000 description 1
- 241000406668 Loxodonta cyclotis Species 0.000 description 1
- 206010052315 Lymphatic obstruction Diseases 0.000 description 1
- 229930193140 Neomycin Natural products 0.000 description 1
- 206010029803 Nosocomial infection Diseases 0.000 description 1
- 208000034189 Sclerosis Diseases 0.000 description 1
- 238000009098 adjuvant therapy Methods 0.000 description 1
- 238000006243 chemical reaction Methods 0.000 description 1
- 210000002808 connective tissue Anatomy 0.000 description 1
- 201000010099 disease Diseases 0.000 description 1
- 208000037265 diseases, disorders, signs and symptoms Diseases 0.000 description 1
- 239000012530 fluid Substances 0.000 description 1
- 206010020718 hyperplasia Diseases 0.000 description 1
- 208000015181 infectious disease Diseases 0.000 description 1
- 238000009434 installation Methods 0.000 description 1
- 230000001788 irregular Effects 0.000 description 1
- 230000007774 longterm Effects 0.000 description 1
- 230000003692 lymphatic flow Effects 0.000 description 1
- 229910052943 magnesium sulfate Inorganic materials 0.000 description 1
- 235000019341 magnesium sulphate Nutrition 0.000 description 1
- 229960004927 neomycin Drugs 0.000 description 1
- 230000008569 process Effects 0.000 description 1
- 230000008929 regeneration Effects 0.000 description 1
- 238000011069 regeneration method Methods 0.000 description 1
- 230000000717 retained effect Effects 0.000 description 1
- 210000004872 soft tissue Anatomy 0.000 description 1
- 238000007920 subcutaneous administration Methods 0.000 description 1
- 238000001356 surgical procedure Methods 0.000 description 1
- 230000001225 therapeutic effect Effects 0.000 description 1
- 210000001519 tissue Anatomy 0.000 description 1
- 210000001835 viscera Anatomy 0.000 description 1
Images
Landscapes
- Massaging Devices (AREA)
Abstract
本实用新型提供了一种家用淋巴水肿消肿仪,包括手柄以及通过旋转球头机构安装在手柄上的消肿头机构。其中,手柄上安装有电源组件、消肿强度调节按钮、显示屏组件,内部设置有控制器;消肿头机构包括旋转头、安装在该旋转头上的可更换式消肿吸头以及设置在旋转头内的负压组件,该负压组件包括真空负压泵、连通真空负压泵以及可更换式消肿吸头的抽气管路、以及安装在真空负压泵上的排气管路。本实用新型中的消肿仪属于手持式,整体小巧,操作简单,患者自己在家即可操作。此外,每个消肿仪配有多种消肿吸头,可实现一个机器随意更换消肿吸头,适用于不同部位淋巴水肿的消肿,患者能够独自完成任何一个部位的淋巴引流。
The utility model provides a household lymphedema detumescence instrument, which comprises a handle and a detumescence head mechanism installed on the handle through a rotating ball head mechanism. Wherein, a power supply component, a swelling reduction intensity adjustment button, and a display screen component are installed on the handle, and a controller is arranged inside; the swelling reduction head mechanism includes a rotating head, a replaceable swelling reduction suction head installed on the rotating head, and a The negative pressure component in the rotating head includes a vacuum negative pressure pump, an air suction pipeline connected to the vacuum negative pressure pump and a replaceable detumescence suction head, and an exhaust pipeline installed on the vacuum negative pressure pump. The detumescence instrument in the utility model belongs to the hand-held type, the whole is compact, the operation is simple, and the patient can operate it at home. In addition, each anti-swelling device is equipped with a variety of anti-swelling suction tips, which can realize a machine to replace the anti-swelling suction tips at will, which is suitable for the swelling of different parts of lymphedema, and the patient can complete the lymphatic drainage of any part alone.
Description
技术领域technical field
本实用新型属于家庭辅助护理技术领域,具体涉及一种用于在家进行辅助消肿的家用淋巴水肿消肿仪。The utility model belongs to the technical field of home auxiliary nursing, in particular to a household lymphedema detumescence instrument used for assisting detumescence at home.
背景技术Background technique
淋巴水肿是指机体某些部位淋巴液回流受阻引起的软组织液在体表反复感染后皮下纤维结缔组织增生以及脂肪硬化的现象。若肢体上出现淋巴水肿则出现肢体增粗的现象,后期皮肤增厚、粗糙、坚韧如象皮,亦称“象皮肿”。Lymphedema refers to the phenomenon of subcutaneous fibrous connective tissue hyperplasia and fat sclerosis after repeated infection of soft tissue fluid on the body surface caused by the obstruction of lymphatic flow in some parts of the body. If lymphedema occurs on the limbs, the limbs will thicken, and the skin will be thickened, rough, and tough like elephant skin in the later stage, also known as "elephantosis".
淋巴水肿根据病程早晚,治疗原则不同。早期以排除郁积滞留淋巴液,防止淋巴积液再生为宗旨,晚期则以手术切除不能复原的病变组织或以分流术治疗局限性淋巴管阻塞为目的。在临床进行早期治疗时,常常采用人工按摩和根据医嘱给与硫酸镁,新霉素等药物外用等方法来解决上述情况。进行人工按摩时,每次治疗师为淋巴水肿患者进行手法引流操作,每次时间在30—45分钟,不仅操作费力而且需要患者每次去医院进行治疗,对于已经发生肿胀的患者而言多有不便;而药物服用不仅增加了交叉感染的可能,而且长期服药也会对患者的内脏造成负担。Lymphedema has different treatment principles depending on the course of the disease. In the early stage, the purpose is to exclude the stagnated and retained lymph fluid and prevent the regeneration of lymphatic effusion. In the late stage, the purpose is to surgically remove the diseased tissue that cannot be recovered or to treat the localized lymphatic obstruction by shunt surgery. In the early clinical treatment, methods such as manual massage and external application of magnesium sulfate, neomycin and other drugs are often used to solve the above problems. When performing manual massage, the therapist performs manual drainage for lymphedema patients each time, and each time is 30-45 minutes, which is not only laborious but also requires the patient to go to the hospital for treatment every time. Inconvenient; and drug use not only increases the possibility of cross-infection, but also long-term medication will cause a burden on the patient's internal organs.
实际上,对于早期淋巴肿胀患者而言,在家自行进行按摩也具有一定的消肿效果,但难度在于患者无法短期内学会按摩手法,且有些部位无法单独完成,所以设计消肿仪器实属必要。In fact, for patients with early lymphatic swelling, self-massage at home also has a certain effect of reducing swelling, but the difficulty is that patients cannot learn massage techniques in a short period of time, and some parts cannot be done alone, so it is necessary to design a swelling-reducing instrument.
现有技术中也出现了一些淋巴水肿消肿仪器,如专利号为CN204207914U、CN2936207U、CN109223485A以及CN106823155A均公开了一种淋巴水肿消肿仪器,但这些仪器均结构复杂,体积较大,只适合于在医院作为治疗仪器使用,不适合家庭自行护理。Some lymphedema detumescence instruments have also appeared in the prior art. For example, patent numbers CN204207914U, CN2936207U, CN109223485A and CN106823155A all disclose a lymphedema detumescence instrument, but these instruments are complex in structure and large in size, and are only suitable for It is used as a therapeutic device in the hospital and is not suitable for self-care at home.
实用新型内容Utility model content
本实用新型是为解决上述技术问题而进行的,提供了一种方便患者在家进行消肿辅助护理的家用淋巴水肿消肿仪。为了实现目的,本实用新型所采用的技术方案如下:The utility model is designed to solve the above-mentioned technical problems, and provides a household lymphedema detumescence instrument which is convenient for patients to perform detumescence auxiliary nursing at home. In order to achieve the purpose, the technical scheme adopted by the present utility model is as follows:
本实用新型提供的家用淋巴水肿消肿仪具有如下技术特征:包括手柄以及通过旋转球头机构安装在所述手柄上的消肿头机构。其中,手柄上安装有电源组件、消肿强度调节按钮、显示屏组件,内部设置有控制器;消肿头机构包括旋转头、安装在该旋转头上的可更换式消肿吸头以及设置在旋转头内的负压组件,该负压组件包括真空负压泵、连通真空负压泵以及可更换式消肿吸头的抽气管路、以及安装在真空负压泵上的排气管路。The household lymphedema detumescence instrument provided by the utility model has the following technical features: it comprises a handle and a detumescence head mechanism installed on the handle through a rotating ball head mechanism. Wherein, a power supply component, a swelling reduction intensity adjustment button, and a display screen component are installed on the handle, and a controller is arranged inside; the swelling reduction head mechanism includes a rotating head, a replaceable swelling reduction suction head installed on the rotating head, and a The negative pressure component in the rotating head includes a vacuum negative pressure pump, an air suction pipeline connected to the vacuum negative pressure pump and a replaceable detumescence suction head, and an exhaust pipeline installed on the vacuum negative pressure pump.
本实用新型中,抽气管路的负压泵连接端固定安装在真空负压泵上,但其消肿头连接端与消肿吸头之间采用可拆卸连接方式,如螺纹连接或插入式连接,方便不同尺寸的消肿头安装。In this utility model, the negative pressure pump connecting end of the air suction line is fixedly installed on the vacuum negative pressure pump, but the connection end of the detumescence head and the detumescence suction head are connected in a detachable manner, such as screw connection or plug-in connection , it is convenient to install the anti-swelling heads of different sizes.
优选的,在本实用新型提供的家用淋巴水肿消肿仪中,电源组件包括设置在手柄内的电源以及安装在手柄上的电源开关。电源可以选择普通电池,优选三节1.5V、5号电池,也可以选择充电式锂电池,配套电源充电器即可。Preferably, in the household lymphedema detumescence instrument provided by the present invention, the power supply assembly includes a power supply arranged in the handle and a power switch installed on the handle. The power supply can choose ordinary batteries, preferably three 1.5V, AA batteries, or rechargeable lithium batteries, which can be matched with a power charger.
优选的,在本实用新型提供的家用淋巴水肿消肿仪中,消肿强度调节按钮为负压吸力强度调节按钮;显示屏组件为液晶显示屏,其上显示有电源电量以及实时负压吸力值;控制器为微处理器或中央控制集成线路板。Preferably, in the household lymphedema detumescence instrument provided by the present utility model, the detumescence intensity adjustment button is a negative pressure suction intensity adjustment button; the display screen component is a liquid crystal display screen, which displays the power supply and the real-time negative pressure suction value. ; The controller is a microprocessor or a central control integrated circuit board.
负压吸力强度调节按钮包括强度增强按钮和强度减弱按钮,每种按钮的调节强度均为三级,实现消肿吸头内部压力的增强或减弱。The negative pressure suction intensity adjustment buttons include an intensity enhancement button and an intensity reduction button, each of which has a three-level adjustment intensity to enhance or weaken the internal pressure of the detumescence suction head.
优选的,在本实用新型提供的家用淋巴水肿消肿仪中,旋转球头机构为万向球机构,包括嵌入安装在旋转头中的旋转套以及端部固定安装在手柄上头部设置在旋转套中的球头。为了实现角度固定,还可以在旋转套上设置锁紧螺丝。当然,本实用新型中的旋转球头机构还可以参阅专利号为CN20485929U中所示的既能够调节角度又能够进行角度固定的旋转球头的结构。Preferably, in the household lymphedema detumescence instrument provided by the present invention, the rotating ball head mechanism is a universal ball mechanism, including a rotating sleeve embedded in the rotating head and an end fixedly installed on the handle. Ball head in set. In order to achieve angle fixation, a locking screw can also be provided on the rotating sleeve. Of course, the rotating ball head mechanism in the present invention can also refer to the structure of the rotating ball head which can adjust the angle and fix the angle shown in the patent number CN20485929U.
优选的,在本实用新型提供的家用淋巴水肿消肿仪中,旋转头顶端上设置有通风窗以及急停按钮,抽气管路上安装有受所述急停按钮操控的电磁阀。通风窗用于将旋转头内部的气体散发,电磁阀选用超微型电磁阀,如SRS微型电磁阀,其尺寸为10mm,完全能够安装在旋转头内。Preferably, in the household lymphedema detumescence instrument provided by the present invention, a ventilation window and an emergency stop button are arranged on the top of the rotating head, and a solenoid valve controlled by the emergency stop button is installed on the air extraction pipeline. The ventilation window is used to dissipate the gas inside the rotary head, and the solenoid valve is an ultra-miniature solenoid valve, such as the SRS miniature solenoid valve, which is 10mm in size and can be completely installed in the rotary head.
优选的,在本实用新型提供的家用淋巴水肿消肿仪中,可更换式消肿吸头与旋转头螺纹连接,采用透明医用聚氯乙烯制成,底端与患者皮肤接触部位的硬度最低。Preferably, in the household lymphedema detumescence instrument provided by the utility model, the replaceable detumescence suction head is threadedly connected with the rotating head, and is made of transparent medical polyvinyl chloride, and the bottom end has the lowest hardness at the contact part with the patient's skin.
本实用新型中,根据应用消肿部位的不同,可更换式消肿吸头包括手臂吸头、手指吸头、大腿吸头、小腿吸头以及躯干吸头,这些吸头的形状相同,均呈喇叭形,只是尺寸不同。In the present invention, according to the different parts of the application for detumescence, the replaceable detumescence suction heads include arm suction heads, finger suction heads, thigh suction heads, calf suction heads and trunk suction heads. Flared, just a different size.
优选的,在本实用新型提供的家用淋巴水肿消肿仪中,手柄表面采用PVC磨砂材料制作,增加手部与手柄之间的摩擦力,防止打滑。Preferably, in the household lymphedema detumescence instrument provided by the present utility model, the handle surface is made of PVC frosted material to increase the friction force between the hand and the handle and prevent slippage.
优选的,在本实用新型提供的家用淋巴水肿消肿仪中,真空负压泵的额定电压为4.5VDC、压力范围为400~650mmhg,空载电流为350mA。Preferably, in the household lymphedema detumescence instrument provided by the utility model, the rated voltage of the vacuum negative pressure pump is 4.5VDC, the pressure range is 400-650mmhg, and the no-load current is 350mA.
实用新型的作用与效果The function and effect of the utility model
相对于现有技术,本实用新型的家用淋巴水肿消肿仪具有如下技术效果:Compared with the prior art, the household lymphedema detumescence instrument of the present utility model has the following technical effects:
首先,本实用新型中的消肿仪属于手持式,整体小巧,操作简单,患者自己在家即可操作。此外,每个消肿仪配有多种消肿吸头,可实现一个机器随意更换消肿吸头,适用于不同部位淋巴水肿的消肿,患者能够独自完成任何一个部位的淋巴引流。First of all, the detumescence instrument in the present utility model is a handheld type, the whole is compact, and the operation is simple, and the patient can operate it at home. In addition, each anti-swelling device is equipped with a variety of anti-swelling suction tips, which can realize a machine to replace the anti-swelling suction tips at will, which is suitable for the swelling of different parts of lymphedema, and the patient can complete the lymphatic drainage of any part alone.
其次,由于手柄和消肿头机构通过旋转球头机构安装,使得消肿头机构可以360°旋转,满足了不同操作者的使用习惯和操作不同部位时所需要的推拿角度,方便操作者使用。Secondly, since the handle and the detumescence head mechanism are installed by the rotating ball head mechanism, the detumescence head mechanism can be rotated 360°, which satisfies the usage habits of different operators and the massage angle required when operating different parts, and is convenient for operators to use.
因此,本实用新型中的家用淋巴水肿消肿仪方便患者在家进行早期淋巴水肿消肿辅助治疗,避免了频繁跑医院的麻烦。Therefore, the household lymphedema detumescence instrument in the utility model is convenient for patients to perform early stage lymphedema detumescence adjuvant therapy at home, and avoids the trouble of frequent trips to the hospital.
附图说明Description of drawings
图1是本实用新型实施例中家用淋巴水肿消肿仪的正面结构示意图;Fig. 1 is the frontal structure schematic diagram of household lymphedema detumescence instrument in the embodiment of the present utility model;
图2是本实用新型实施例中家用淋巴水肿消肿仪的背面结构示意图;2 is a schematic diagram of the back structure of a household lymphedema detumescence instrument in an embodiment of the present utility model;
图3是本实用新型实施例中家用淋巴水肿消肿仪的俯视结构示意图。FIG. 3 is a schematic top-view structural diagram of a household lymphedema detumescence apparatus according to an embodiment of the present invention.
具体实施方式Detailed ways
下面结合实施例和附图对本实用新型进行详细描述。但下列实施例不应看作对本实用新型范围的限制。The present utility model will be described in detail below with reference to the embodiments and accompanying drawings. However, the following examples should not be construed as limiting the scope of the present invention.
在本实用新型的描述中,需要说明的是,术语“上”、“下”、“左”、“右”等指示的方位或位置关系为基于附图所示的方位或位置关系,仅是为了便于描述本实用新型和简化描述,而不是指示或暗示所指的装置或元件必须具有特定的方位、以特定的方位构造和操作,因此不能理解为对本实用新型的限制。In the description of the present utility model, it should be noted that the orientation or positional relationship indicated by the terms "upper", "lower", "left", "right", etc. is based on the orientation or positional relationship shown in the accompanying drawings, only In order to facilitate the description of the present invention and simplify the description, it is not indicated or implied that the indicated device or element must have a specific orientation, be constructed and operated in a specific orientation, and therefore should not be construed as a limitation of the present invention.
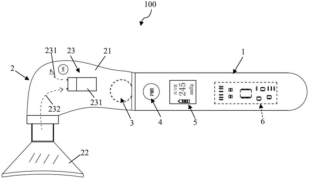
如图1~图3所示,本实施例中的淋巴水肿消肿仪100通过真空负压,模仿手动推拿,吸住人体内里的淋巴液,来推动淋巴液的移动的动,从而达到消肿目的。其包括手柄1和消肿头机构2两部分,该两部分通过旋转球头机构3连接,使得消肿头机构2可以360°旋转,实现不同角度调节。As shown in FIGS. 1 to 3 , the
手柄1的形状根据人体力学设计,表面采用PVC磨砂材料,其正面安装有电源按钮4、显示屏5、控制器6,背面安装有消肿强度调节按钮7和电源8。消肿头机构2包括旋转头21、可更换式消肿吸头22以及设置在旋转头内的负压组件23。The shape of the handle 1 is designed according to human mechanics, the surface is made of PVC frosted material, the power button 4, the display screen 5, and the controller 6 are installed on the front, and the swelling reduction intensity adjustment button 7 and the
旋转头21呈不规则弧形,中间部分膨大,两端较小,一端安装在旋转球头机构3上,另一端安装有可更换式消肿吸头22。旋转头顶端安装有通风窗9以及急停按钮10,通风窗用于将旋转头内部的气体散发,急停按钮10在紧急情况下用于快速释放消肿吸头。The rotating
可更换式消肿吸头22与旋转头21螺纹连接。该消肿吸头包括手臂吸头、手指吸头、大腿吸头、小腿吸头、躯干吸头等,可以根据患者不同部位的选择适用该部位的消肿吸头。这些吸头的形状相同,均呈喇叭形,唯一差别在于尺寸。The replaceable anti-swelling suction head 22 is threadedly connected with the rotating
此外,吸头采用透明医用聚氯乙烯制成,便于在使用中观察皮肤状态。与皮肤接触的部位采用柔性聚氯乙烯,一方面可以无缝与皮肤吻合,避免漏气,另一方面避免在移动推拿过程中损伤皮肤。In addition, the tip is made of transparent medical polyvinyl chloride, which is convenient to observe the skin condition during use. The parts in contact with the skin are made of flexible polyvinyl chloride. On the one hand, it can fit seamlessly with the skin to avoid air leakage, and on the other hand, it can avoid damage to the skin during mobile massage.
负压组件23包括真空负压泵231、抽气管路232以及排气管路233。真空负压泵231额定电压为4.5VDC、压力范围为400~650mmhg,空载电流为350mA;抽气管路232一端固定安装在真空负压泵231的抽气管接头上,另一端与消肿吸头22之间采用可拆卸连接方式,如螺纹连接或插入式连接,方便不同尺寸的消肿头安装;排气管路233一端固定安装在真空负压泵231的排气管接头上,另一端固定设置在通风窗附近,用于负压泵排气。The
抽气管路232上还设置一受急停按钮10操控的电磁阀。在紧急情况下,按下急停按钮,电磁阀打开,空气能够快速进入抽气管路中,使得消肿吸头22快速脱离皮肤。本实施例中,电磁阀选用超微型电磁阀,如SRS微型电磁阀,其尺寸为10mm,完全能够安装在旋转头内。A solenoid valve controlled by the emergency stop button 10 is also arranged on the air extraction pipeline 232 . In an emergency situation, pressing the emergency stop button, the solenoid valve is opened, and the air can quickly enter the air suction pipeline, so that the detumescence suction head 22 can be quickly separated from the skin. In this embodiment, the solenoid valve is an ultra-miniature solenoid valve, such as an SRS miniature solenoid valve, whose size is 10 mm and can be completely installed in the rotating head.
旋转球头机构3为万向球机构,包括嵌入安装在旋转头中的旋转套以及端部固定安装在手柄上头部设置在旋转套中的球头。当然为了实现角度固定,还可以在旋转套上设置锁紧螺丝。该万向球机构的结构现有技术中常见。当然,本实用新型中的旋转球头机构还可以参阅专利号为CN20485929U中所示的既能够调节角度又能够进行角度固定的旋转球头的结构,旋转头安装在其球头部上。The rotating ball head mechanism 3 is a universal ball mechanism, including a rotating sleeve embedded in the rotating head and a ball head whose end is fixedly installed on the handle and the head is set in the rotating sleeve. Of course, in order to achieve angle fixation, a locking screw can also be provided on the rotating sleeve. The structure of the universal ball mechanism is common in the prior art. Of course, the rotating ball head mechanism in the present invention can also refer to the structure of the rotating ball head which can adjust the angle and fix the angle shown in the patent number CN20485929U, and the rotating head is installed on the ball head.
电源按钮4用于同时操控消肿仪和真空负压泵。按下电源按钮三秒开启消肿仪,再按三秒则关闭消肿仪;按一下则停止真空负压泵,再按一下则启动真空负压泵。The power button 4 is used to control the detumescence instrument and the vacuum negative pressure pump at the same time. Press the power button for three seconds to turn on the anti-swelling instrument, and then press it for three seconds to turn off the anti-swelling instrument; press it once to stop the vacuum negative pressure pump, and press it again to start the vacuum negative pressure pump.
显示屏5为液晶显示屏,其上显示有电源电量以及实时负压吸力值,吸力值的大小根据患者患病的不同程度实时调整。The display screen 5 is a liquid crystal display screen, which displays the power supply and the real-time negative pressure suction value, and the suction value is adjusted in real time according to the different degrees of the patient's illness.
控制器6为微处理器或中央控制集成线路板,其上集成了各类转换模块,如:液晶显示屏数显模块、调节真空负压泵转速模块等。The controller 6 is a microprocessor or a central control integrated circuit board, on which various conversion modules are integrated, such as a liquid crystal display digital display module, a speed adjustment module of the vacuum negative pressure pump, and the like.
消肿强度调节按钮7为负压吸力强度调节按钮,包括强度增强按钮71和强度减弱按钮72,每种按钮的调节强度均为三级,实现消肿吸头内部压力的增强或减弱。The swelling reduction intensity adjustment button 7 is a negative pressure suction intensity adjustment button, including an intensity enhancement button 71 and an intensity reduction button 72, each of which has a three-level adjustment intensity to enhance or weaken the internal pressure of the swelling reduction suction head.
电源8可以选择普通电池,优选三节1.5V、5号电池,也可以选择充电式锂电池,配套电源充电器即可。The
本实施例中的淋巴水肿消肿仪的使用过程如下:首先根据消肿部位安装相应的消肿吸头22,然后调整旋转头角度将消肿吸头对准肿胀部位;按压电源按钮4三秒启动消肿仪,再按压一次启动负压真空泵并调整真空强度,待达到相应真空强度后,移动消肿仪进行推拿消肿。The use process of the lymphedema detumescence instrument in this embodiment is as follows: first, install the corresponding detumescence suction tip 22 according to the detumescence site, then adjust the angle of the rotating head to align the detumescence tip at the swollen part; press the power button 4 for three seconds Start the detumescence apparatus, press again to start the negative pressure vacuum pump and adjust the vacuum strength. After reaching the corresponding vacuum strength, move the detumescence apparatus to perform massage and detumescence.
以上显示和描述了本实用新型的基本原理、主要特征和本实用新型的优点。本行业的技术人员应该了解,本实用新型不受上述实施例的限制,上述实施例和说明书中描述的只是说明本实用新型的原理,在不脱离本实用新型精神和范围的前提下本实用新型还会有各种变化和改进,这些变化和改进都落入要求保护的本实用新型范围内。本实用新型要求保护范围由所附的权利要求书及其等同物界定。The basic principles, main features and advantages of the present invention have been shown and described above. It should be understood by those skilled in the art that the present invention is not limited by the above-mentioned embodiments. The above-mentioned embodiments and descriptions only illustrate the principles of the present invention, and the present invention is not departing from the spirit and scope of the present invention. There are also various changes and improvements that fall within the scope of the claimed invention. The claimed scope of the present invention is defined by the appended claims and their equivalents.
Claims (8)
Priority Applications (1)
| Application Number | Priority Date | Filing Date | Title |
|---|---|---|---|
| CN201921900049.7U CN211326656U (en) | 2019-11-06 | 2019-11-06 | Domestic lymphedema detumescence instrument |
Applications Claiming Priority (1)
| Application Number | Priority Date | Filing Date | Title |
|---|---|---|---|
| CN201921900049.7U CN211326656U (en) | 2019-11-06 | 2019-11-06 | Domestic lymphedema detumescence instrument |
Publications (1)
| Publication Number | Publication Date |
|---|---|
| CN211326656U true CN211326656U (en) | 2020-08-25 |
Family
ID=72130638
Family Applications (1)
| Application Number | Title | Priority Date | Filing Date |
|---|---|---|---|
| CN201921900049.7U Expired - Fee Related CN211326656U (en) | 2019-11-06 | 2019-11-06 | Domestic lymphedema detumescence instrument |
Country Status (1)
| Country | Link |
|---|---|
| CN (1) | CN211326656U (en) |
Cited By (7)
| Publication number | Priority date | Publication date | Assignee | Title |
|---|---|---|---|---|
| USD949374S1 (en) | 2013-02-22 | 2022-04-19 | Ashley Diana Black International Holdings, Llc | Fascia tissue treatment device with a matrix of nine treatment elements |
| USD994131S1 (en) | 2014-02-24 | 2023-08-01 | Ashley Diana Black International Holdings, Llc | Fascia tissue fitness device |
| USD1004114S1 (en) | 2014-02-24 | 2023-11-07 | Ashley Diana Black International Holdings, Llc | Fascia tissue treatment device with a matrix of nine treatment elements |
| USD1026228S1 (en) | 2021-04-08 | 2024-05-07 | Ashley Diana Black International Holdings, Llc | Universal handle and accessory head for fascia tissue treatments |
| USD1061900S1 (en) | 2021-12-08 | 2025-02-11 | Ashley Diana Black International Holdings, Llc | Base station for a tissue treatment system |
| US12408916B2 (en) | 2021-12-06 | 2025-09-09 | Ashley Diana Black International Holdings, Llc | System and method for performing tissue treatment using powered treatment devices |
| US12491128B2 (en) | 2021-12-06 | 2025-12-09 | Ashley Diana Black International Holdings, Llc | System and method for performing tissue treatment using powered treatment devices |
-
2019
- 2019-11-06 CN CN201921900049.7U patent/CN211326656U/en not_active Expired - Fee Related
Cited By (11)
| Publication number | Priority date | Publication date | Assignee | Title |
|---|---|---|---|---|
| USD949374S1 (en) | 2013-02-22 | 2022-04-19 | Ashley Diana Black International Holdings, Llc | Fascia tissue treatment device with a matrix of nine treatment elements |
| USD994131S1 (en) | 2014-02-24 | 2023-08-01 | Ashley Diana Black International Holdings, Llc | Fascia tissue fitness device |
| USD1004114S1 (en) | 2014-02-24 | 2023-11-07 | Ashley Diana Black International Holdings, Llc | Fascia tissue treatment device with a matrix of nine treatment elements |
| USD1047181S1 (en) | 2014-02-24 | 2024-10-15 | Ashley Diana Black International Holdings, Llc | Fascia tissue treatment device with a matrix of nine treatment elements |
| USD1061924S1 (en) | 2014-02-24 | 2025-02-11 | Ashley Diana Black International Holdings, Llc | Fascia tissue fitness device with integrated brush elements |
| USD1105467S1 (en) | 2014-02-24 | 2025-12-09 | Ashley Diana Black International Holdings, Llc | Fascia tissue treatment device with a matrix of nine treatment elements |
| USD1026228S1 (en) | 2021-04-08 | 2024-05-07 | Ashley Diana Black International Holdings, Llc | Universal handle and accessory head for fascia tissue treatments |
| USD1061915S1 (en) | 2021-04-08 | 2025-02-11 | Ashley Diana Black International Holdings, Llc | Universal handle and accessory head for fascia tissue treatments |
| US12408916B2 (en) | 2021-12-06 | 2025-09-09 | Ashley Diana Black International Holdings, Llc | System and method for performing tissue treatment using powered treatment devices |
| US12491128B2 (en) | 2021-12-06 | 2025-12-09 | Ashley Diana Black International Holdings, Llc | System and method for performing tissue treatment using powered treatment devices |
| USD1061900S1 (en) | 2021-12-08 | 2025-02-11 | Ashley Diana Black International Holdings, Llc | Base station for a tissue treatment system |
Similar Documents
| Publication | Publication Date | Title |
|---|---|---|
| CN211326656U (en) | Domestic lymphedema detumescence instrument | |
| CN108245393A (en) | A kind of Gastroenterology dept. flatulence therapeutic device | |
| CN111803331A (en) | A hand rehabilitation training device | |
| CN210812381U (en) | Traditional chinese medical science paediatrics massage device | |
| CN213346211U (en) | Ankle function passive corrector | |
| CN212547618U (en) | A lymphedema instrument | |
| CN209611686U (en) | lymphedema treatment chair | |
| CN219398110U (en) | Gastroenterology expands abdomen auxiliary treatment device | |
| CN116549272A (en) | Air bag acupoint massage device for knee osteoarthritis | |
| CN204501810U (en) | Cupping and Vacuum Massage Therapy Apparatus | |
| CN213311510U (en) | Table type human body pinching and cupping device | |
| CN103330638B (en) | Massage device for assisting tenosynovitis self-cure and use method thereof | |
| CN203315296U (en) | Massage device for assisting self-recovery of tenosynovitis | |
| CN212067172U (en) | Postoperative rehabilitation nursing device for thoracic surgery | |
| CN210355315U (en) | Multifunctional palm massage device | |
| CN210096323U (en) | A multifunctional nursing massage device | |
| CN211095704U (en) | A hand and foot support | |
| CN202113310U (en) | Simple vibration sputum elimination machine | |
| CN115105367A (en) | Auxiliary abdominal distension treatment device for digestive system department | |
| CN107019591A (en) | One kind is used for cataract therapy ultrasonic emulsification instrument | |
| CN221636661U (en) | Hypertension headache auxiliary treatment device | |
| CN104606728A (en) | Cupping and Vacuum Massage Therapy Apparatus | |
| CN217339343U (en) | Single-acupoint massage instrument | |
| CN221904729U (en) | A Chinese medicine acupoint stimulation device | |
| CN221655063U (en) | Kang Fuke resumes with arm massage device |
Legal Events
| Date | Code | Title | Description |
|---|---|---|---|
| GR01 | Patent grant | ||
| GR01 | Patent grant | ||
| CF01 | Termination of patent right due to non-payment of annual fee | ||
| CF01 | Termination of patent right due to non-payment of annual fee |
Granted publication date: 20200825 |
