CN201869778U - An electronic cigarette, an electronic cigarette cartridge and an atomizing device thereof - Google Patents
An electronic cigarette, an electronic cigarette cartridge and an atomizing device thereof Download PDFInfo
- Publication number
- CN201869778U CN201869778U CN2010206151943U CN201020615194U CN201869778U CN 201869778 U CN201869778 U CN 201869778U CN 2010206151943 U CN2010206151943 U CN 2010206151943U CN 201020615194 U CN201020615194 U CN 201020615194U CN 201869778 U CN201869778 U CN 201869778U
- Authority
- CN
- China
- Prior art keywords
- electronic cigarette
- cigarette
- heating element
- hollow tube
- output channel
- Prior art date
- Legal status (The legal status is an assumption and is not a legal conclusion. Google has not performed a legal analysis and makes no representation as to the accuracy of the status listed.)
- Expired - Fee Related
Links
- 239000003571 electronic cigarette Substances 0.000 title claims abstract description 25
- 238000010438 heat treatment Methods 0.000 claims abstract description 33
- 239000000779 smoke Substances 0.000 claims abstract 9
- 238000000889 atomisation Methods 0.000 claims description 2
- 239000007788 liquid Substances 0.000 claims description 2
- 239000002245 particle Substances 0.000 abstract description 2
- 235000019504 cigarettes Nutrition 0.000 description 48
- 239000000835 fiber Substances 0.000 description 12
- 241000208125 Nicotiana Species 0.000 description 8
- 235000002637 Nicotiana tabacum Nutrition 0.000 description 8
- 238000000926 separation method Methods 0.000 description 2
- 238000004088 simulation Methods 0.000 description 2
- 238000012387 aerosolization Methods 0.000 description 1
- 239000000919 ceramic Substances 0.000 description 1
- 230000000391 smoking effect Effects 0.000 description 1
- 239000011232 storage material Substances 0.000 description 1
Images
Classifications
-
- A—HUMAN NECESSITIES
- A24—TOBACCO; CIGARS; CIGARETTES; SIMULATED SMOKING DEVICES; SMOKERS' REQUISITES
- A24F—SMOKERS' REQUISITES; MATCH BOXES; SIMULATED SMOKING DEVICES
- A24F40/00—Electrically operated smoking devices; Component parts thereof; Manufacture thereof; Maintenance or testing thereof; Charging means specially adapted therefor
- A24F40/40—Constructional details, e.g. connection of cartridges and battery parts
- A24F40/46—Shape or structure of electric heating means
-
- A—HUMAN NECESSITIES
- A24—TOBACCO; CIGARS; CIGARETTES; SIMULATED SMOKING DEVICES; SMOKERS' REQUISITES
- A24F—SMOKERS' REQUISITES; MATCH BOXES; SIMULATED SMOKING DEVICES
- A24F40/00—Electrically operated smoking devices; Component parts thereof; Manufacture thereof; Maintenance or testing thereof; Charging means specially adapted therefor
- A24F40/10—Devices using liquid inhalable precursors
Landscapes
- Resistance Heating (AREA)
Abstract
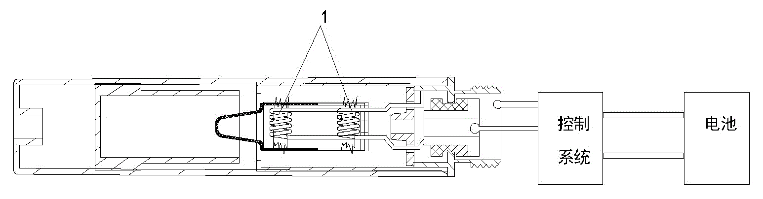
本实用新型涉及一种电子烟、电子烟烟弹及其雾化装置,采用一个以上的发热元件,进一步放置在相同或不同的烟雾输出通道上,进一步并联使用。这种一次性电子烟、电子烟烟弹及其雾化装置,成倍提高雾化能力和产品可靠性,同时还能使烟油雾化颗粒变得更细。
The utility model relates to an electronic cigarette, an electronic cigarette cartridge and an atomizing device thereof, which adopts more than one heating element, further placed on the same or different smoke output channels, and further used in parallel. The disposable electronic cigarette, electronic cigarette cartridge and the atomizing device thereof can multiply the atomizing capacity and product reliability, and can also make the smoke oil atomized particles finer.
Description
Claims (10)
Priority Applications (1)
| Application Number | Priority Date | Filing Date | Title |
|---|---|---|---|
| CN2010206151943U CN201869778U (en) | 2010-11-19 | 2010-11-19 | An electronic cigarette, an electronic cigarette cartridge and an atomizing device thereof |
Applications Claiming Priority (1)
| Application Number | Priority Date | Filing Date | Title |
|---|---|---|---|
| CN2010206151943U CN201869778U (en) | 2010-11-19 | 2010-11-19 | An electronic cigarette, an electronic cigarette cartridge and an atomizing device thereof |
Publications (1)
| Publication Number | Publication Date |
|---|---|
| CN201869778U true CN201869778U (en) | 2011-06-22 |
Family
ID=44157723
Family Applications (1)
| Application Number | Title | Priority Date | Filing Date |
|---|---|---|---|
| CN2010206151943U Expired - Fee Related CN201869778U (en) | 2010-11-19 | 2010-11-19 | An electronic cigarette, an electronic cigarette cartridge and an atomizing device thereof |
Country Status (1)
| Country | Link |
|---|---|
| CN (1) | CN201869778U (en) |
Cited By (47)
| Publication number | Priority date | Publication date | Assignee | Title |
|---|---|---|---|---|
| CN103271448A (en) * | 2013-05-29 | 2013-09-04 | 深圳市合元科技有限公司 | Atomizer for electronic cigarette and electronic cigarette |
| WO2014032276A1 (en) * | 2012-08-31 | 2014-03-06 | Liu Qiuming | Electronic cigarette with multiple tastes |
| WO2014032275A1 (en) * | 2012-08-31 | 2014-03-06 | Liu Qiuming | Electronic cigarette and electronic cigarette device |
| CN103653257A (en) * | 2013-11-27 | 2014-03-26 | 浙江中烟工业有限责任公司 | Sectional-heating type non-combustion smoking device |
| WO2014075209A1 (en) * | 2012-11-13 | 2014-05-22 | Liu Qiuming | Electronic cigarette and atomization device therefor |
| WO2014110750A1 (en) * | 2013-01-17 | 2014-07-24 | Huang Xianhui | Electronic cigarette |
| CN104000305A (en) * | 2013-06-07 | 2014-08-27 | 惠州市吉瑞科技有限公司 | Electronic cigarette |
| WO2014146284A1 (en) * | 2013-03-21 | 2014-09-25 | Liu Qiuming | Disassembly-proof atomizer and electronic cigarette |
| WO2014166028A1 (en) * | 2013-04-07 | 2014-10-16 | Liu Qiuming | Electronic cigarette seal ring and electronic cigarette atomizer |
| WO2015010345A1 (en) * | 2013-07-24 | 2015-01-29 | 吉瑞高新科技股份有限公司 | Electronic cigarette, atomizer, and atomization device thereof |
| WO2015035674A1 (en) * | 2013-09-13 | 2015-03-19 | 吉瑞高新科技股份有限公司 | Battery assembly of electronic cigarette, atomizing assembly, and electronic cigarette |
| CN104540406A (en) * | 2012-06-28 | 2015-04-22 | R.J.雷诺兹烟草公司 | Reservoir and heater system for controllable delivery of multiple aerosolizable materials in electronic smoking articles |
| CN104544567A (en) * | 2014-12-24 | 2015-04-29 | 深圳市麦克韦尔科技有限公司 | Electronic cigarette |
| WO2015089711A1 (en) * | 2013-12-16 | 2015-06-25 | 吉瑞高新科技股份有限公司 | Electronic cigarette control circuit, electronic cigarette, and control method for electronic cigarette |
| WO2015106381A1 (en) * | 2014-01-14 | 2015-07-23 | 吉瑞高新科技股份有限公司 | Electronic cigarette vaporizer and electronic cigarette |
| WO2015120623A1 (en) * | 2014-02-14 | 2015-08-20 | 吉瑞高新科技股份有限公司 | Electronic cigarette atomizer and electronic cigarette |
| WO2015123831A1 (en) * | 2014-02-19 | 2015-08-27 | 吉瑞高新科技股份有限公司 | Electronic cigarette and method for assembling same |
| WO2015143637A1 (en) * | 2014-03-26 | 2015-10-01 | 吉瑞高新科技股份有限公司 | Electronic water pipe |
| CN105054309A (en) * | 2015-08-24 | 2015-11-18 | 深圳市新宜康科技有限公司 | Double-resistance-wire secondary-atomization electronic-cigarette atomizing core |
| CN105146758A (en) * | 2014-05-30 | 2015-12-16 | 深圳宝嘉能源有限公司 | Electronic cigarette |
| WO2015196463A1 (en) * | 2014-06-27 | 2015-12-30 | 惠州市吉瑞科技有限公司 | Electronic cigarette |
| WO2016015246A1 (en) * | 2014-07-30 | 2016-02-04 | 惠州市吉瑞科技有限公司 | Electronic cigarette having a plurality of vaporization assemblies |
| WO2016138608A1 (en) * | 2015-03-02 | 2016-09-09 | 惠州市吉瑞科技有限公司 | Vaporizer and electronic cigarette |
| CN107259647A (en) * | 2011-09-06 | 2017-10-20 | 英美烟草(投资)有限公司 | Heating can light sucked material |
| CN107373779A (en) * | 2017-09-19 | 2017-11-24 | 深圳市劲嘉科技有限公司 | A kind of electronic cigarette and its method for preheating tobacco tar |
| US9848656B2 (en) | 2012-01-31 | 2017-12-26 | Altria Client Services Llc | Electronic cigarette |
| WO2018001108A1 (en) * | 2016-07-01 | 2018-01-04 | 林光榕 | Electronic cigarette atomizer provided with double parallel atomization units |
| US10729176B2 (en) | 2011-09-06 | 2020-08-04 | British American Tobacco (Investments) Limited | Heating smokeable material |
| US10881138B2 (en) | 2012-04-23 | 2021-01-05 | British American Tobacco (Investments) Limited | Heating smokeable material |
| US11039644B2 (en) | 2013-10-29 | 2021-06-22 | Nicoventures Trading Limited | Apparatus for heating smokeable material |
| US11141548B2 (en) | 2016-07-26 | 2021-10-12 | British American Tobacco (Investments) Limited | Method of generating aerosol |
| USD977704S1 (en) | 2020-10-30 | 2023-02-07 | Nicoventures Trading Limited | Aerosol generator |
| USD977706S1 (en) | 2020-10-30 | 2023-02-07 | Nicoventures Trading Limited | Aerosol generator |
| USD977705S1 (en) | 2020-10-30 | 2023-02-07 | Nicoventures Trading Limited | Aerosol generator |
| USD986483S1 (en) | 2020-10-30 | 2023-05-16 | Nicoventures Trading Limited | Aerosol generator |
| USD986482S1 (en) | 2020-10-30 | 2023-05-16 | Nicoventures Trading Limited | Aerosol generator |
| US11659863B2 (en) | 2015-08-31 | 2023-05-30 | Nicoventures Trading Limited | Article for use with apparatus for heating smokable material |
| USD989384S1 (en) | 2021-04-30 | 2023-06-13 | Nicoventures Trading Limited | Aerosol generator |
| US11672279B2 (en) | 2011-09-06 | 2023-06-13 | Nicoventures Trading Limited | Heating smokeable material |
| USD990765S1 (en) | 2020-10-30 | 2023-06-27 | Nicoventures Trading Limited | Aerosol generator |
| RU2806112C2 (en) * | 2019-02-22 | 2023-10-26 | Филип Моррис Продактс С.А. | Electronic dispersion device |
| US11896055B2 (en) | 2015-06-29 | 2024-02-13 | Nicoventures Trading Limited | Electronic aerosol provision systems |
| US11904086B2 (en) | 2019-02-22 | 2024-02-20 | Altria Client Services Llc | Electronic dispersion device |
| US11924930B2 (en) | 2015-08-31 | 2024-03-05 | Nicoventures Trading Limited | Article for use with apparatus for heating smokable material |
| US12016393B2 (en) | 2015-10-30 | 2024-06-25 | Nicoventures Trading Limited | Apparatus for heating smokable material |
| US12070070B2 (en) | 2015-06-29 | 2024-08-27 | Nicoventures Trading Limited | Electronic vapor provision system |
| US12274302B2 (en) | 2018-08-31 | 2025-04-15 | Nicoventures Trading Limited | Aerosol generating material characteristic determination |
-
2010
- 2010-11-19 CN CN2010206151943U patent/CN201869778U/en not_active Expired - Fee Related
Cited By (85)
| Publication number | Priority date | Publication date | Assignee | Title |
|---|---|---|---|---|
| US12041968B2 (en) | 2011-09-06 | 2024-07-23 | Nicoventures Trading Limited | Heating smokeable material |
| US10729176B2 (en) | 2011-09-06 | 2020-08-04 | British American Tobacco (Investments) Limited | Heating smokeable material |
| CN107259647B (en) * | 2011-09-06 | 2020-03-20 | 英美烟草(投资)有限公司 | Heating smokable material |
| US11051551B2 (en) | 2011-09-06 | 2021-07-06 | Nicoventures Trading Limited | Heating smokable material |
| CN107259647A (en) * | 2011-09-06 | 2017-10-20 | 英美烟草(投资)有限公司 | Heating can light sucked material |
| US11672279B2 (en) | 2011-09-06 | 2023-06-13 | Nicoventures Trading Limited | Heating smokeable material |
| US9848656B2 (en) | 2012-01-31 | 2017-12-26 | Altria Client Services Llc | Electronic cigarette |
| US10098386B2 (en) | 2012-01-31 | 2018-10-16 | Altria Client Services Llc | Electronic cigarette |
| US10881814B2 (en) | 2012-01-31 | 2021-01-05 | Altria Client Services Llc | Electronic vaping device |
| US10780236B2 (en) | 2012-01-31 | 2020-09-22 | Altria Client Services Llc | Electronic cigarette and method |
| US10716903B2 (en) | 2012-01-31 | 2020-07-21 | Altria Client Services Llc | Electronic cigarette |
| US10405583B2 (en) | 2012-01-31 | 2019-09-10 | Altria Client Services Llc | Electronic cigarette |
| US10123566B2 (en) | 2012-01-31 | 2018-11-13 | Altria Client Services Llc | Electronic cigarette |
| US10092037B2 (en) | 2012-01-31 | 2018-10-09 | Altria Client Services Llc | Electronic cigarette |
| US10980953B2 (en) | 2012-01-31 | 2021-04-20 | Altria Client Services Llc | Electronic cigarette |
| US12364826B2 (en) | 2012-01-31 | 2025-07-22 | Altria Client Services Llc | Electronic cigarette |
| US11478593B2 (en) | 2012-01-31 | 2022-10-25 | Altria Client Services Llc | Electronic vaping device |
| US11511058B2 (en) | 2012-01-31 | 2022-11-29 | Altria Client Services Llc | Electronic cigarette |
| US11730901B2 (en) | 2012-01-31 | 2023-08-22 | Altria Client Services Llc | Electronic cigarette |
| US11975143B2 (en) | 2012-01-31 | 2024-05-07 | Altria Client Services Llc | Electronic cigarette |
| US12263300B2 (en) | 2012-01-31 | 2025-04-01 | Altria Client Services Llc | Electronic cigarette |
| US12296091B2 (en) | 2012-01-31 | 2025-05-13 | Altria Client Services Llc | Electronic vaping device |
| US10881138B2 (en) | 2012-04-23 | 2021-01-05 | British American Tobacco (Investments) Limited | Heating smokeable material |
| CN104540406A (en) * | 2012-06-28 | 2015-04-22 | R.J.雷诺兹烟草公司 | Reservoir and heater system for controllable delivery of multiple aerosolizable materials in electronic smoking articles |
| CN104023570A (en) * | 2012-08-31 | 2014-09-03 | 刘秋明 | Electronic cigarettes and electronic cigarette devices |
| EP2732713A4 (en) * | 2012-08-31 | 2015-07-22 | Kimree Hi Tech Inc | Electronic cigarette with multiple tastes |
| CN104023569A (en) * | 2012-08-31 | 2014-09-03 | 刘秋明 | Electronic Cigarette With Multiple Tastes |
| WO2014032276A1 (en) * | 2012-08-31 | 2014-03-06 | Liu Qiuming | Electronic cigarette with multiple tastes |
| EP2740371A4 (en) * | 2012-08-31 | 2015-07-22 | Kimree Hi Tech Inc | Electronic cigarette and electronic cigarette device |
| WO2014032275A1 (en) * | 2012-08-31 | 2014-03-06 | Liu Qiuming | Electronic cigarette and electronic cigarette device |
| WO2014075209A1 (en) * | 2012-11-13 | 2014-05-22 | Liu Qiuming | Electronic cigarette and atomization device therefor |
| CN104010535A (en) * | 2012-11-13 | 2014-08-27 | 刘秋明 | Electronic cigarette and atomization device therefor |
| CN104010535B (en) * | 2012-11-13 | 2016-12-07 | 惠州市吉瑞科技有限公司 | Electronic cigarette and its atomization device |
| WO2014110750A1 (en) * | 2013-01-17 | 2014-07-24 | Huang Xianhui | Electronic cigarette |
| US9693586B2 (en) | 2013-03-21 | 2017-07-04 | Huizhou Kimree Technology Co., Ltd. Shenzhen Branch | Anti-tamper atomizer and electronic cigarette |
| WO2014146284A1 (en) * | 2013-03-21 | 2014-09-25 | Liu Qiuming | Disassembly-proof atomizer and electronic cigarette |
| US9554596B2 (en) | 2013-04-07 | 2017-01-31 | Huizhou Kimree Technology Co., Ltd. Shenzhen Branch | Sealing ring and atomizer in electronic cigarette |
| WO2014166028A1 (en) * | 2013-04-07 | 2014-10-16 | Liu Qiuming | Electronic cigarette seal ring and electronic cigarette atomizer |
| CN103271448A (en) * | 2013-05-29 | 2013-09-04 | 深圳市合元科技有限公司 | Atomizer for electronic cigarette and electronic cigarette |
| CN104000305B (en) * | 2013-06-07 | 2017-09-29 | 惠州市吉瑞科技有限公司 | Electronic cigarette |
| CN104000305A (en) * | 2013-06-07 | 2014-08-27 | 惠州市吉瑞科技有限公司 | Electronic cigarette |
| WO2015010345A1 (en) * | 2013-07-24 | 2015-01-29 | 吉瑞高新科技股份有限公司 | Electronic cigarette, atomizer, and atomization device thereof |
| US9854842B2 (en) | 2013-09-13 | 2018-01-02 | Huizhou Kimree Technology Co., Ltd. Shenzhen Branch | Battery assembly and atomizing assembly of electronic cigarette, and electronic cigarette |
| WO2015035674A1 (en) * | 2013-09-13 | 2015-03-19 | 吉瑞高新科技股份有限公司 | Battery assembly of electronic cigarette, atomizing assembly, and electronic cigarette |
| US11039644B2 (en) | 2013-10-29 | 2021-06-22 | Nicoventures Trading Limited | Apparatus for heating smokeable material |
| CN103653257A (en) * | 2013-11-27 | 2014-03-26 | 浙江中烟工业有限责任公司 | Sectional-heating type non-combustion smoking device |
| CN105899093B (en) * | 2013-12-16 | 2019-04-12 | 吉瑞高新科技股份有限公司 | The control method of electronic cigarette control circuit, electronic cigarette and electronic cigarette |
| WO2015089711A1 (en) * | 2013-12-16 | 2015-06-25 | 吉瑞高新科技股份有限公司 | Electronic cigarette control circuit, electronic cigarette, and control method for electronic cigarette |
| CN105899093A (en) * | 2013-12-16 | 2016-08-24 | 吉瑞高新科技股份有限公司 | Electronic cigarette control circuit, electronic cigarette, and control method for electronic cigarette |
| CN105916397B (en) * | 2014-01-14 | 2019-05-17 | 吉瑞高新科技股份有限公司 | Electronic cigarette vaporizers and electronic cigarettes |
| CN105916397A (en) * | 2014-01-14 | 2016-08-31 | 吉瑞高新科技股份有限公司 | Electronic cigarette vaporizer and electronic cigarette |
| WO2015106381A1 (en) * | 2014-01-14 | 2015-07-23 | 吉瑞高新科技股份有限公司 | Electronic cigarette vaporizer and electronic cigarette |
| CN105992526B (en) * | 2014-02-14 | 2019-02-01 | 吉瑞高新科技股份有限公司 | Electronic cigarette vaporizers and electronic cigarettes |
| CN105992526A (en) * | 2014-02-14 | 2016-10-05 | 吉瑞高新科技股份有限公司 | Electronic cigarette atomizer and electronic cigarette |
| WO2015120623A1 (en) * | 2014-02-14 | 2015-08-20 | 吉瑞高新科技股份有限公司 | Electronic cigarette atomizer and electronic cigarette |
| WO2015123831A1 (en) * | 2014-02-19 | 2015-08-27 | 吉瑞高新科技股份有限公司 | Electronic cigarette and method for assembling same |
| CN106028851A (en) * | 2014-02-19 | 2016-10-12 | 吉瑞高新科技股份有限公司 | Electronic cigarette and electronic cigarette assembly method |
| WO2015143637A1 (en) * | 2014-03-26 | 2015-10-01 | 吉瑞高新科技股份有限公司 | Electronic water pipe |
| CN105146758A (en) * | 2014-05-30 | 2015-12-16 | 深圳宝嘉能源有限公司 | Electronic cigarette |
| WO2015196463A1 (en) * | 2014-06-27 | 2015-12-30 | 惠州市吉瑞科技有限公司 | Electronic cigarette |
| WO2016015246A1 (en) * | 2014-07-30 | 2016-02-04 | 惠州市吉瑞科技有限公司 | Electronic cigarette having a plurality of vaporization assemblies |
| CN104544567B (en) * | 2014-12-24 | 2018-07-20 | 深圳麦克韦尔股份有限公司 | Electronic cigarette |
| CN104544567A (en) * | 2014-12-24 | 2015-04-29 | 深圳市麦克韦尔科技有限公司 | Electronic cigarette |
| WO2016138608A1 (en) * | 2015-03-02 | 2016-09-09 | 惠州市吉瑞科技有限公司 | Vaporizer and electronic cigarette |
| US12070070B2 (en) | 2015-06-29 | 2024-08-27 | Nicoventures Trading Limited | Electronic vapor provision system |
| US11896055B2 (en) | 2015-06-29 | 2024-02-13 | Nicoventures Trading Limited | Electronic aerosol provision systems |
| CN105054309A (en) * | 2015-08-24 | 2015-11-18 | 深圳市新宜康科技有限公司 | Double-resistance-wire secondary-atomization electronic-cigarette atomizing core |
| US11659863B2 (en) | 2015-08-31 | 2023-05-30 | Nicoventures Trading Limited | Article for use with apparatus for heating smokable material |
| US11924930B2 (en) | 2015-08-31 | 2024-03-05 | Nicoventures Trading Limited | Article for use with apparatus for heating smokable material |
| US12016393B2 (en) | 2015-10-30 | 2024-06-25 | Nicoventures Trading Limited | Apparatus for heating smokable material |
| WO2018001108A1 (en) * | 2016-07-01 | 2018-01-04 | 林光榕 | Electronic cigarette atomizer provided with double parallel atomization units |
| US12041960B2 (en) | 2016-07-26 | 2024-07-23 | Nicoventures Trading Limited | Method of generating aerosol |
| US11141548B2 (en) | 2016-07-26 | 2021-10-12 | British American Tobacco (Investments) Limited | Method of generating aerosol |
| CN107373779A (en) * | 2017-09-19 | 2017-11-24 | 深圳市劲嘉科技有限公司 | A kind of electronic cigarette and its method for preheating tobacco tar |
| US12274302B2 (en) | 2018-08-31 | 2025-04-15 | Nicoventures Trading Limited | Aerosol generating material characteristic determination |
| RU2806112C2 (en) * | 2019-02-22 | 2023-10-26 | Филип Моррис Продактс С.А. | Electronic dispersion device |
| US11904086B2 (en) | 2019-02-22 | 2024-02-20 | Altria Client Services Llc | Electronic dispersion device |
| US12303634B2 (en) | 2019-02-22 | 2025-05-20 | Altria Client Services Llc | Cover for an electronic dispersion device |
| USD977705S1 (en) | 2020-10-30 | 2023-02-07 | Nicoventures Trading Limited | Aerosol generator |
| USD977706S1 (en) | 2020-10-30 | 2023-02-07 | Nicoventures Trading Limited | Aerosol generator |
| USD977704S1 (en) | 2020-10-30 | 2023-02-07 | Nicoventures Trading Limited | Aerosol generator |
| USD986483S1 (en) | 2020-10-30 | 2023-05-16 | Nicoventures Trading Limited | Aerosol generator |
| USD986482S1 (en) | 2020-10-30 | 2023-05-16 | Nicoventures Trading Limited | Aerosol generator |
| USD990765S1 (en) | 2020-10-30 | 2023-06-27 | Nicoventures Trading Limited | Aerosol generator |
| USD989384S1 (en) | 2021-04-30 | 2023-06-13 | Nicoventures Trading Limited | Aerosol generator |
Similar Documents
| Publication | Publication Date | Title |
|---|---|---|
| CN201869778U (en) | An electronic cigarette, an electronic cigarette cartridge and an atomizing device thereof | |
| CN202354377U (en) | Electronic cigarette atomizer and electronic cigarette | |
| CN204317489U (en) | Electronic cigarette and electronic cigarette device | |
| CN104366695B (en) | Atomizer, atomizing component and inhalator | |
| CN202738816U (en) | Electronic cigarette | |
| US20120260927A1 (en) | Electronic cigarette, electronic cigarette smoke capsule and atomization device thereof | |
| CN201789924U (en) | Disposable atomizer | |
| CN202489175U (en) | Electronic cigarette | |
| CN202407080U (en) | Electronic cigarette atomizing device | |
| WO2010118644A1 (en) | Heating atomization electronic-cigarette adopting capacitor for power supply | |
| CN203789149U (en) | Baking type atomizer and electronic cigarette | |
| CN107581659A (en) | Atomizer heat-generating pipe and the electronic cigarette with atomizer heat-generating pipe | |
| CN203058295U (en) | Electronic cigarette with suction structure | |
| CN104366694B (en) | Atomizer, atomizing component and inhalator | |
| CN204466911U (en) | Replaceable electronic cigarette atomizing core | |
| CN203952446U (en) | Hot type electronic atomization device and electronic cigarette | |
| CN204091015U (en) | Atomizer and electronic cigarette | |
| CN203058297U (en) | Energy-saving environmental-friendly electronic cigarette | |
| CN107373767A (en) | A kind of metallic fiber atomization core, atomizer and electronic cigarette | |
| CN205671484U (en) | A kind of electronic smoke atomizer and electronic cigarette thereof | |
| CN204540841U (en) | Atomizer and electronic cigarette | |
| CN203505588U (en) | Heating component of atomizer | |
| CN203457804U (en) | Electronic cigarette atomizer and electronic cigarette | |
| CN203137030U (en) | Disposable conjoined electronic cigarette | |
| CN105982357A (en) | Removable electronic cigarette cartridge |
Legal Events
| Date | Code | Title | Description |
|---|---|---|---|
| C14 | Grant of patent or utility model | ||
| GR01 | Patent grant | ||
| ASS | Succession or assignment of patent right |
Owner name: KIMREE TECHNOLOGY CO., LTD. Free format text: FORMER OWNER: LIU QIUMING Effective date: 20140915 |
|
| C41 | Transfer of patent application or patent right or utility model | ||
| COR | Change of bibliographic data |
Free format text: CORRECT: ADDRESS; FROM: 523866 DONGGUAN, GUANGDONG PROVINCE TO: 516000 HUIZHOU, GUANGDONG PROVINCE |
|
| TR01 | Transfer of patent right |
Effective date of registration: 20140915 Address after: 516000 Guangdong province Huizhou City Zhongkai high tech Zone and three West Road No. 16, building three or four, A five, B five Patentee after: Kimree Technology Co., Ltd. Address before: 523866, Guangdong, Dongguan Changan mayor road, No. 1, third floor Patentee before: Liu Qiuming |
|
| CF01 | Termination of patent right due to non-payment of annual fee |
Granted publication date: 20110622 Termination date: 20171119 |
|
| CF01 | Termination of patent right due to non-payment of annual fee |
