CN201733825U - Nut shell soft breaker - Google Patents
Nut shell soft breaker Download PDFInfo
- Publication number
- CN201733825U CN201733825U CN2010205077929U CN201020507792U CN201733825U CN 201733825 U CN201733825 U CN 201733825U CN 2010205077929 U CN2010205077929 U CN 2010205077929U CN 201020507792 U CN201020507792 U CN 201020507792U CN 201733825 U CN201733825 U CN 201733825U
- Authority
- CN
- China
- Prior art keywords
- shaft
- shell
- grinding
- inner grinding
- sleeve
- Prior art date
- Legal status (The legal status is an assumption and is not a legal conclusion. Google has not performed a legal analysis and makes no representation as to the accuracy of the status listed.)
- Expired - Fee Related
Links
- 238000005336 cracking Methods 0.000 claims abstract description 16
- 230000005540 biological transmission Effects 0.000 claims description 24
- 230000008878 coupling Effects 0.000 claims description 16
- 238000010168 coupling process Methods 0.000 claims description 16
- 238000005859 coupling reaction Methods 0.000 claims description 16
- 230000006835 compression Effects 0.000 claims description 13
- 238000007906 compression Methods 0.000 claims description 13
- 238000009434 installation Methods 0.000 claims description 7
- 238000007599 discharging Methods 0.000 claims description 2
- 241000408782 Lepomis microlophus Species 0.000 claims 3
- 235000013399 edible fruits Nutrition 0.000 abstract description 3
- 235000013305 food Nutrition 0.000 abstract description 2
- 238000004519 manufacturing process Methods 0.000 abstract description 2
- 238000010586 diagram Methods 0.000 description 4
- 239000000463 material Substances 0.000 description 3
- 238000000034 method Methods 0.000 description 3
- 229910000831 Steel Inorganic materials 0.000 description 2
- 230000008859 change Effects 0.000 description 2
- 230000000694 effects Effects 0.000 description 2
- 230000007246 mechanism Effects 0.000 description 2
- 230000008569 process Effects 0.000 description 2
- 239000010959 steel Substances 0.000 description 2
- 239000010425 asbestos Substances 0.000 description 1
- 230000003247 decreasing effect Effects 0.000 description 1
- 230000006872 improvement Effects 0.000 description 1
- 230000009191 jumping Effects 0.000 description 1
- 238000004898 kneading Methods 0.000 description 1
- 238000005457 optimization Methods 0.000 description 1
- 229910052895 riebeckite Inorganic materials 0.000 description 1
- 238000005096 rolling process Methods 0.000 description 1
Images
Classifications
-
- Y—GENERAL TAGGING OF NEW TECHNOLOGICAL DEVELOPMENTS; GENERAL TAGGING OF CROSS-SECTIONAL TECHNOLOGIES SPANNING OVER SEVERAL SECTIONS OF THE IPC; TECHNICAL SUBJECTS COVERED BY FORMER USPC CROSS-REFERENCE ART COLLECTIONS [XRACs] AND DIGESTS
- Y02—TECHNOLOGIES OR APPLICATIONS FOR MITIGATION OR ADAPTATION AGAINST CLIMATE CHANGE
- Y02W—CLIMATE CHANGE MITIGATION TECHNOLOGIES RELATED TO WASTEWATER TREATMENT OR WASTE MANAGEMENT
- Y02W30/00—Technologies for solid waste management
- Y02W30/50—Reuse, recycling or recovery technologies
- Y02W30/62—Plastics recycling; Rubber recycling
Landscapes
- Crushing And Grinding (AREA)
Abstract
本实用新型涉及坚果类食品的破壳装置,是一种坚果果壳柔性破碎装置,其包括机架、破壳器壳体、顶板、动力装置、内磨转轴、破壳外磨和破壳内磨;破壳器壳体的内部固定安装有内腔呈上大下小锥台状的破壳外磨,破壳外磨的内腔中部有内磨转轴,内磨转轴中部固定安装有破壳内磨,破壳内磨的外侧面与破壳外磨的内壁之间形成呈上大下小锥筒状的研磨腔,与内磨转轴上端相连接的动力装置安装在机架上并能通过内磨转轴带动破壳内磨转动。本实用新型结构合理而紧凑,使用方便,其通过动力装置带动破壳内磨在破壳外磨内部转动,对坚果进行揉搓使果壳破碎,具有适用于加工多种坚果、生产效率高、果仁破碎率和未剥净率低、可靠性好、便于操作的特点。
The utility model relates to a cracking device for nut food, which is a flexible cracking device for nut shells, which includes a frame, a shell of a cracker, a top plate, a power device, an internal grinding shaft, an external grinder for cracking shells and an internal cracking machine for cracking shells. Grinding; the inside of the casing of the shell breaker is fixedly equipped with a shell-breaking outer mill whose inner cavity is in the shape of a large upper and a lower cone-shaped frustum. Internal grinding, the outer surface of the broken shell internal grinding and the inner wall of the broken shell outer grinding form a grinding chamber in the shape of a large upper cone and a lower small cone. The power device connected to the upper end of the inner grinding shaft is installed on the frame and can pass The inner grinding shaft drives the broken shell inner grinding to rotate. The utility model has a reasonable and compact structure and is easy to use. It drives the shell-breaking inner mill to rotate inside the shell-breaking outer mill through a power device, rubs the nuts to break the shells, and is suitable for processing various nuts, high production efficiency, and fruit. It has the characteristics of low kernel broken rate and unpeeled net rate, good reliability and easy operation.
Description
技术领域technical field
本实用新型涉及坚果类食品的破壳装置,是一种坚果果壳柔性破碎装置。 The utility model relates to a shell breaking device for nut food, which is a flexible breaking device for nut shells.
背景技术Background technique
目前国内研究与制造的林果业坚果果壳破碎装置,结构形式上均采用刚性机械轮式机构,通过不同转向的一组刚性滚子的转动、上面辅助一轮式压送轮,将位于滚子间隙上部的坚果进行刚性挤压,使得坚果果壳受到机械外力的作用而破碎,压送轮同时施加一向下的作用力,防止坚果向上跳起并且促使果壳残渣和果仁不断向装置的后部推移。缺点是:生产率低、故障率高、破碎机构调节比较困难、果仁破碎率高、果仁未剥净率高。 At present, the nut shell crushing devices for the forestry and fruit industry researched and manufactured in China all adopt rigid mechanical wheel mechanism in structural form. Through the rotation of a group of rigid rollers with different directions, the upper auxiliary wheel-type pressure-feeding wheel will be located in the gap between the rollers. The upper nut is extruded rigidly, so that the nut shell is broken by the mechanical external force, and the pressure feeding wheel exerts a downward force at the same time to prevent the nut from jumping up and promote the shell residue and nuts to the rear of the device. pass. The disadvantages are: low productivity, high failure rate, difficult adjustment of the crushing mechanism, high broken rate of nuts, and high rate of unpeeled nuts.
发明内容Contents of the invention
本实用新型提供了一种坚果果壳柔性破碎装置,其解决了现有坚果破壳装置的生产率低、果仁破碎率高、果仁未剥净率高的问题。 The utility model provides a nut shell flexible crushing device, which solves the problems of low productivity, high nut crushing rate and high unpeeled nut shell rate of the existing nut shell breaking device.
本实用新型的技术方案是通过以下措施来实现的:一种坚果果壳柔性破碎装置,包括机架、破壳器壳体、顶板、动力装置、内磨转轴、破壳外磨和破壳内磨;破壳器壳体固定在机架上,破壳器壳体的上端安装有带喂料口的顶板,破壳器壳体的下部有出料口,破壳器壳体的内部固定安装有内腔呈上大下小锥台状的破壳外磨,破壳外磨的内腔中部有竖立的内磨转轴,顶板的中部有转轴通孔,内磨转轴的上端通过转轴通孔伸至顶板上方,内磨转轴中部固定安装有破壳内磨,内磨转轴的下部通过转轴轴承安装在机架上;破壳内磨位于破壳外磨的内腔内并能自由转动,破壳内磨的外侧面与破壳外磨的内壁之间形成呈上大下小锥筒状的研磨腔,研磨腔的上端与喂料口的出口相连通,研磨腔的下端与出料口的进口相连通,与内磨转轴上端相连接的动力装置安装在机架上并能通过内磨转轴带动破壳内磨转动。 The technical scheme of the utility model is realized through the following measures: a flexible crushing device for nut shells, including a frame, a shell breaker shell, a top plate, a power unit, an internal grinding shaft, an external grinding machine for breaking shells, and an internal grinding machine for breaking shells. Grinding; the shell of the shell breaker is fixed on the frame, the upper end of the shell breaker shell is equipped with a top plate with a feeding port, the lower part of the shell breaker shell has a discharge port, and the inside of the shell breaker shell is fixed and installed There is a shell-breaking external mill with a large upper and a lower cone-shaped inner cavity. There is a vertical inner grinding shaft in the middle of the inner cavity of the broken shell outer mill. There is a shaft through hole in the middle of the top plate. The upper end of the inner grinding shaft extends through the shaft through hole To the top of the top plate, the middle part of the internal grinding shaft is fixed with a broken shell internal grinder, and the lower part of the internal grinder shaft is installed on the frame through the shaft bearing; the broken shell internal grinder is located in the inner cavity of the broken shell outer grinder and can rotate freely. Between the outer surface of the inner mill and the inner wall of the shell-breaking outer mill forms a grinding chamber in the shape of a large cone and a small cone. The upper end of the grinding chamber is connected with the outlet of the feeding port, and the lower end of the grinding chamber is connected with the inlet of the discharging port Connected to each other, the power unit connected with the upper end of the inner mill rotating shaft is installed on the frame and can drive the shell-breaking inner mill to rotate through the inner mill rotating shaft.
下面是对上述实用新型技术方案的进一步优化或/和改进: Below is the further optimization or/and improvement to above-mentioned utility model technical scheme:
上述动力装置可包括电动机、驱动带轮、传动带、从动带轮、内磨变速器和连轴套;电动机和内磨变速器分别固定安装在机架上,内磨变速器包括变速器壳、水平输入轴、竖直输出轴、变速蜗轮和变速蜗杆;水平输入轴通过两端的轴承安装在变速器壳内部,水平输入轴的中部固定安装有变速蜗轮,水平输入轴的前端伸出变速器壳外部并固定安装有从动带轮,电动机的动力输出轴上安装有驱动带轮,从动带轮通过传动带与驱动带轮连接在一起并能随之转动;竖直输出轴通过两端的轴承安装在变速器壳内部,竖直输出轴的中部固定安装有变速蜗杆并与变速蜗轮相啮合,竖直输出轴的下端伸出变速器壳外部并固定安装有连轴套,内磨转轴通过连轴套与竖直输出轴连接在一起并能随之转动。 Above-mentioned power unit can comprise electric motor, driving pulley, transmission belt, driven pulley, internal grinding speed changer and coupling sleeve; Motor and internal grinding speed changer are respectively fixedly installed on the frame, and internal grinding speed changer comprises speed changer housing, horizontal input shaft, The vertical output shaft, the variable speed worm gear and the variable speed worm; the horizontal input shaft is installed inside the transmission case through the bearings at both ends, the middle part of the horizontal input shaft is fixedly installed with the variable speed worm gear, and the front end of the horizontal input shaft protrudes from the outside of the transmission case and is fixedly installed with a The driving pulley, the driving pulley is installed on the power output shaft of the motor, the driven pulley is connected with the driving pulley through the transmission belt and can rotate accordingly; the vertical output shaft is installed inside the transmission case through the bearings at both ends, and the vertical The middle part of the straight output shaft is fixedly equipped with a variable speed worm and meshes with the variable speed worm gear. The lower end of the vertical output shaft extends out of the transmission case and is fixedly installed with a coupling sleeve. The inner grinding shaft is connected to the vertical output shaft through the coupling sleeve. together and can rotate with it.
上述破壳器壳体下部可有间隙调节装置,间隙调节装置包括间隙调节手轮、间隙调节杆、调节箱体、水平调节轴、万向连轴器、间隙调节蜗杆、滚珠丝杠螺母、间隙调节蜗轮和间隙调节丝杠;转轴轴承为滑动轴承,连轴套的内部有内花键,内磨转轴的上部有与内花键相配合的外花键,内磨转轴通过外花键套装在连轴套内部并能上下移动;机架上安装有间隙调节手轮,间隙调节手轮的轮轴内端与间隙调节杆的上端通过连轴器连接在一起并能带动间隙调节杆转动;调节箱体固定安装在破壳器壳体下部的机架上,水平调节轴通过轴承安装在调节箱体内,水平调节轴的前端伸出调节箱体前板外部并通过万向连轴器与间隙调节杆的下端相连接,水平调节轴的后部固定安装有间隙调节蜗杆,调节箱体内部安装有滚珠丝杠螺母,滚珠丝杠螺母的下部安装在调节箱体底板上并能够自由转动,滚珠丝杠螺母的上部外侧固定安装有与间隙调节蜗杆相啮合的间隙调节蜗轮,滚珠丝杠螺母的内部安装有竖直的间隙调节丝杠,间隙调节丝杠的上端与内磨转轴的下端固定安装在一起并能带动内磨转轴上下移动。 The lower part of the shell breaker shell may have a gap adjustment device, the gap adjustment device includes a gap adjustment handwheel, a gap adjustment rod, an adjustment box, a horizontal adjustment shaft, a universal shaft coupling, a gap adjustment worm, a ball screw nut, a gap adjustment Adjust the worm gear and the gap adjustment screw; the bearing of the rotating shaft is a sliding bearing, and there are internal splines inside the connecting sleeve, and the upper part of the internal grinding shaft has external splines matching the internal splines, and the internal grinding shaft is set on the The inside of the coupling shaft sleeve can move up and down; the gap adjustment handwheel is installed on the frame, and the inner end of the wheel shaft of the gap adjustment handwheel and the upper end of the gap adjustment rod are connected together through the coupling and can drive the gap adjustment rod to rotate; the adjustment box The body is fixedly installed on the frame at the lower part of the cracker shell, and the horizontal adjustment shaft is installed in the adjustment box through bearings. The lower end of the horizontal adjustment shaft is connected to the lower end of the horizontal adjustment shaft, and the gap adjustment worm is fixedly installed at the rear of the horizontal adjustment shaft. The ball screw nut is installed inside the adjustment box. The lower part of the ball screw nut is installed on the bottom plate of the adjustment box and can rotate freely. The outer side of the upper part of the nut is fixedly installed with a gap adjusting worm gear meshed with the gap adjusting worm, and a vertical gap adjusting screw is installed inside the ball screw nut, and the upper end of the gap adjusting screw is fixedly installed with the lower end of the inner grinding shaft And can drive the inner grinding shaft to move up and down.
上述破壳外磨可通过锁紧装置固定安装在破壳器壳体内,锁紧装置可包括铰座、U形手柄、手柄铰轴、挡块安装轴、弹簧挡块、锁钩、压缩弹簧和限位螺母;铰座固定在破壳器壳体的上部外侧, U形手柄的上端通过手柄铰轴铰接在铰座上,U形手柄上部的两个侧板之间安装有挡块安装轴,挡块安装轴上安装有能够转动的弹簧挡块,弹簧挡块的内部有锁钩孔;锁钩的上端为能够下压破壳外磨的卡钩,锁钩的中部套装在锁钩孔内并能上下移动,锁钩的中部和下部为直杆并套装有压缩弹簧,锁钩的下端有螺纹并固定安装有限位螺母;压缩弹簧的上端顶紧在弹簧挡块的下端面上,压缩弹簧的下端顶紧在限位螺母的上端面上。 The above-mentioned shell breaking external mill can be fixedly installed in the shell breaking device housing through a locking device. The locking device can include a hinge seat, a U-shaped handle, a handle hinge shaft, a stopper installation shaft, a spring stopper, a lock hook, a compression spring and Limit nut; the hinge seat is fixed on the outer side of the upper part of the shell breaker, the upper end of the U-shaped handle is hinged on the hinge seat through the handle hinge shaft, and a stopper installation shaft is installed between the two side plates on the upper part of the U-shaped handle. A rotatable spring stopper is installed on the stopper installation shaft, and there is a lock hook hole inside the spring stopper; the upper end of the lock hook is a hook that can be pressed down to break the outer grinding of the shell, and the middle part of the lock hook is set in the lock hook hole And it can move up and down. The middle and lower parts of the lock hook are straight rods and are equipped with compression springs. The lower end of the lock hook is threaded and fixedly installed with a limit nut; The lower end of it is tightly pressed against the upper end surface of the limit nut.
上述破壳内磨可包括内磨芯台、内磨套筒和柔性磨套,内磨芯台固定安装在内磨转轴上,内磨芯台外部套装有内磨套筒,内磨套筒的底部通过固定螺钉固定安装在内磨芯台的底部上,可收缩的柔性磨套套装在内磨套筒外侧并能够去掉。 The shell breaking internal mill mentioned above may include an inner grinding core table, an inner grinding sleeve and a flexible grinding sleeve. The bottom is fixedly installed on the bottom of the inner grinding core platform by fixing screws, and the retractable flexible grinding sleeve is set outside the inner grinding sleeve and can be removed.
上述内磨套筒和柔性磨套的外侧面以及破壳外磨的内壁上可有能够增加摩擦力的凸台或花纹状凸起。 The outer surface of the above-mentioned inner grinding sleeve and the flexible grinding sleeve and the inner wall of the shell breaking outer grinding can have bosses or pattern-like protrusions that can increase friction.
本实用新型结构合理而紧凑,使用方便,其通过动力装置带动破壳内磨在破壳外磨内部转动,对坚果进行揉搓使果壳破碎,具有适用于加工多种坚果、生产效率高、果仁破碎率和未剥净率低、可靠性好、便于操作的特点。 The utility model has a reasonable and compact structure and is easy to use. It drives the shell-breaking inner mill to rotate inside the shell-breaking outer mill through a power device, rubs the nuts to break the shells, and is suitable for processing various nuts, high production efficiency, and fruit. It has the characteristics of low kernel broken rate and unpeeled net rate, good reliability and easy operation.
附图说明Description of drawings
附图1为本实用新型最佳实施例的主视结构示意图。 Accompanying drawing 1 is the schematic diagram of the front view of the preferred embodiment of the utility model.
附图2为内磨套筒套装有柔性磨套时在附图1中A-A处的剖视结构示意图。
Accompanying
附图3为内磨套筒不带柔性磨套时在附图1中A-A处的剖视结构示意图。 Accompanying drawing 3 is a schematic cross-sectional structure diagram at A-A in accompanying drawing 1 when the inner grinding sleeve does not have a flexible grinding sleeve.
附图4为附图1中B处的局部放大结构示意图。
Accompanying
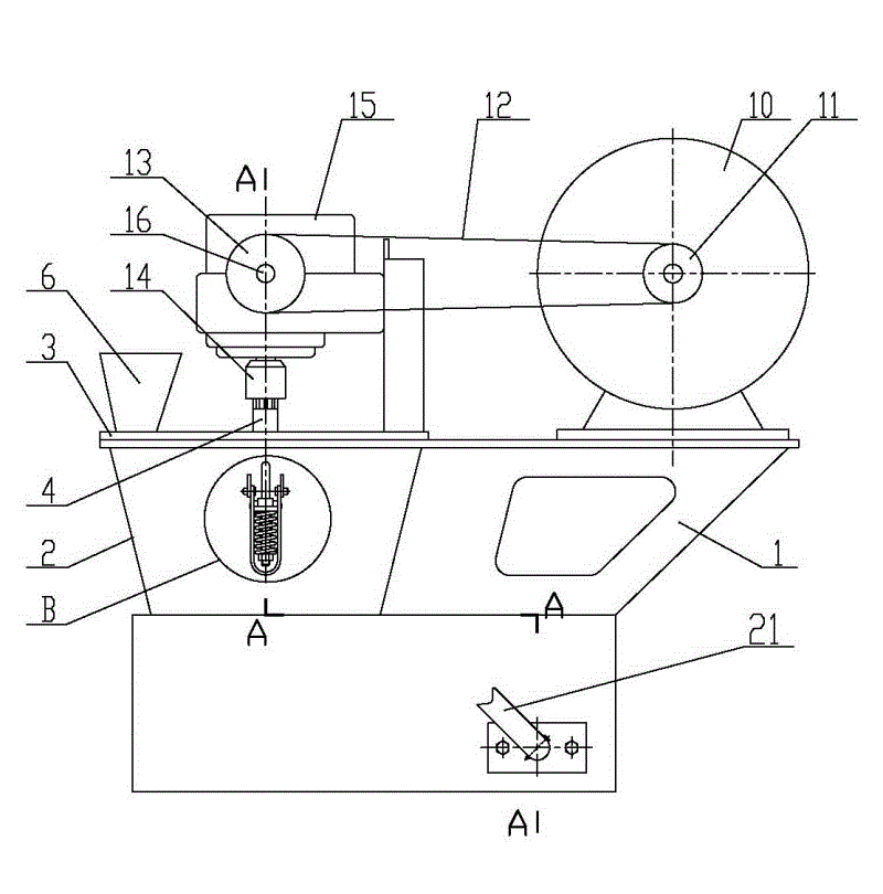
附图中的编码分别为:1为机架,2为破壳器壳体,3为顶板,4为内磨转轴,5为破壳外磨,6为喂料口,7为转轴通孔,8为转轴轴承,9为研磨腔,10为电动机,11为驱动带轮,12为传动带,13为从动带轮,14为连轴套,15为变速器壳,16为水平输入轴,17为竖直输出轴,18为变速蜗轮,19为变速蜗杆,20为外花键,21为间隙调节杆,22为调节箱体,23为水平调节轴,24为万向连轴器,25为间隙调节蜗杆,26为滚珠丝杠螺母,27为间隙调节蜗轮,28为间隙调节丝杠,29为铰座,30为U形手柄,31为手柄铰轴,32为挡块安装轴,33为弹簧挡块,34为锁钩,35为压缩弹簧,36为限位螺母,37为卡钩,38为内磨芯台,39为内磨套筒,40为柔性磨套。 The codes in the accompanying drawings are: 1 is the frame, 2 is the casing of the cracker, 3 is the top plate, 4 is the inner grinding shaft, 5 is the outer grinding for breaking the shell, 6 is the feeding port, 7 is the through hole of the rotating shaft, 8 is the rotating shaft bearing, 9 is the grinding chamber, 10 is the motor, 11 is the driving pulley, 12 is the transmission belt, 13 is the driven pulley, 14 is the coupling sleeve, 15 is the transmission case, 16 is the horizontal input shaft, 17 is Vertical output shaft, 18 is the variable speed worm gear, 19 is the variable speed worm, 20 is the external spline, 21 is the gap adjustment rod, 22 is the adjustment box, 23 is the horizontal adjustment shaft, 24 is the universal coupling, 25 is the gap Adjusting worm, 26 is ball screw nut, 27 is gap adjusting worm wheel, 28 is gap adjusting screw, 29 is hinge seat, 30 is U-shaped handle, 31 is handle hinge shaft, 32 is block installation shaft, 33 is spring Block, 34 is a lock hook, 35 is a compression spring, 36 is a limit nut, 37 is a grab hook, 38 is an inner grinding core platform, 39 is an inner grinding sleeve, and 40 is a flexible grinding sleeve.
具体实施方式Detailed ways
本实用新型不受下述实施例的限制,可根据本实用新型的技术方案与实际情况来确定具体的实施方式。 The utility model is not limited by the following examples, and the specific implementation manner can be determined according to the technical scheme of the utility model and actual conditions.
下面结合最佳实施例及附图对本实用新型作进一步描述: Below in conjunction with preferred embodiment and accompanying drawing, the utility model is further described:
如附图1、2、3所示,该坚果果壳柔性破碎装置包括机架1、破壳器壳体2、顶板3、动力装置、内磨转轴4、破壳外磨5和破壳内磨;破壳器壳体2固定在机架1上,破壳器壳体2的上端安装有带喂料口6的顶板3,破壳器壳体2的下部有出料口,破壳器壳体2的内部固定安装有内腔呈上大下小锥台状的破壳外磨5,破壳外磨5的内腔中部有竖立的内磨转轴4,顶板3的中部有转轴通孔7,内磨转轴4的上端通过转轴通孔7伸至顶板3上方,内磨转轴4中部固定安装有破壳内磨,内磨转轴4的下部通过转轴轴承8安装在机架1上;破壳内磨位于破壳外磨5的内腔内并能自由转动,破壳内磨的外侧面与破壳外磨5的内壁之间形成呈上大下小锥筒状的研磨腔9,研磨腔9的上端与喂料口6的出口相连通,研磨腔9的下端与出料口的进口相连通,与内磨转轴4上端相连接的动力装置安装在机架1上并能通过内磨转轴4带动破壳内磨转动。动力装置带动破壳内磨绕内磨转轴4转动,破壳内磨的外侧面与固定不动的破壳外磨5内壁产生相对运动而对研磨腔9内的坚果进行揉搓,同时破壳内磨因自重而对研磨腔9内的坚果产生向下的压力,由于是通过比较柔和的揉搓和碾压作用来使坚果果壳破碎实现脱壳的,具有生产率高、果仁破碎率低、剥净率高的特点。
As shown in accompanying
可根据实际需要,对上述坚果果壳柔性破碎装置作进一步优化或/和改进: According to actual needs, the above nut shell flexible crushing device can be further optimized or/and improved:
如附图1、2、3所示,动力装置包括电动机10、驱动带轮11、传动带12、从动带轮13、内磨变速器和连轴套14;电动机10和内磨变速器分别固定安装在机架1上,内磨变速器包括变速器壳15、水平输入轴16、竖直输出轴17、变速蜗轮18和变速蜗杆19;水平输入轴16通过两端的轴承安装在变速器壳15内部,水平输入轴16的中部固定安装有变速蜗轮18,水平输入轴16的前端伸出变速器壳15外部并固定安装有从动带轮13,电动机10的动力输出轴上安装有驱动带轮11,从动带轮13通过传动带12与驱动带轮11连接在一起并能随之转动;竖直输出轴17通过两端的轴承安装在变速器壳15内部,竖直输出轴17的中部固定安装有变速蜗杆19并与变速蜗轮18相啮合,竖直输出轴17的下端伸出变速器壳15外部并固定安装有连轴套14,内磨转轴4通过连轴套14与竖直输出轴17连接在一起并能随之转动。
As shown in accompanying
如附图2、3所示,破壳器壳体2下部有间隙调节装置,间隙调节装置包括间隙调节手轮、间隙调节杆21、调节箱体22、水平调节轴23、万向连轴器24、间隙调节蜗杆25、滚珠丝杠螺母26、间隙调节蜗轮27和间隙调节丝杠28;转轴轴承8为滑动轴承,连轴套14的内部有内花键,内磨转轴4的上部有与内花键相配合的外花键20,内磨转轴4通过外花键20套装在连轴套14内部并能上下移动;机架1上安装有间隙调节手轮,间隙调节手轮的轮轴内端与间隙调节杆21的上端通过连轴器连接在一起并能带动间隙调节杆21转动;调节箱体21固定安装在破壳器壳体2下部的机架1上,水平调节轴22通过轴承安装在调节箱体21内,水平调节轴22的前端伸出调节箱体21前板外部并通过万向连轴器24与间隙调节杆21的下端相连接,水平调节轴23的后部固定安装有间隙调节蜗杆25,调节箱体22内部安装有滚珠丝杠螺母26,滚珠丝杠螺母26的下部安装在调节箱体22底板上并能够自由转动,滚珠丝杠螺母26的上部外侧固定安装有与间隙调节蜗杆25相啮合的间隙调节蜗轮27,滚珠丝杠螺母26的内部安装有竖直的间隙调节丝杠28,间隙调节丝杠28的上端与内磨转轴4的下端固定安装在一起并能带动内磨转轴4上下移动。对于同一种类但大小不同的坚果,或者根据坚果的大小以及果仁破碎率、未剥净率的高低,可以通过旋转间隙调节手轮带动间隙调节杆21转动,依次通过水平调节轴23、间隙调节蜗杆25、间隙调节蜗轮27带动滚珠丝杠螺母26转动,使间隙调节丝杠28连同内磨转轴4一起上升或下降,最终带动破壳内磨上升或下降,来调节研磨腔9的大小,使坚果破壳后碎仁过多、破壳效果不理想等问题得到显著改善。
As shown in Figures 2 and 3, there is a clearance adjustment device at the bottom of the
如附图4所示,破壳外磨5通过锁紧装置固定安装在破壳器壳体2内,锁紧装置包括铰座29、U形手柄30、手柄铰轴31、挡块安装轴32、弹簧挡块33、锁钩34、压缩弹簧35和限位螺母36;铰座29固定在破壳器壳体2的上部外侧, U形手柄30的上端通过手柄铰轴31铰接在铰座29上,U形手柄30上部的两个侧板之间安装有挡块安装轴32,挡块安装轴32上安装有能够转动的弹簧挡块33,弹簧挡块33的内部有锁钩孔;锁钩34的上端为能够下压破壳外磨5的卡钩37,锁钩34的中部套装在锁钩孔内并能上下移动,锁钩34的中部和下部为直杆并套装有压缩弹簧35,锁钩34的下端有螺纹并固定安装有限位螺母36;压缩弹簧35的上端顶紧在弹簧挡块33的下端面上,压缩弹簧35的下端顶紧在限位螺母36的上端面上。松开锁紧装置后,通过更换不同尺寸大小和不同材质的破壳内磨和破壳外磨5,可以加工不同种类和不同尺寸的坚果。
As shown in the accompanying drawing 4, the shell breaking
如附图2所示,破壳内磨包括内磨芯台38、内磨套筒39和柔性磨套40,内磨芯台38固定安装在内磨转轴4上,内磨芯台38外部套装有内磨套筒39,内磨套筒39的底部通过固定螺钉固定安装在内磨芯台38的底部上,可收缩的柔性磨套40套装在内磨套筒39外侧并能够去掉。内磨套筒39可由普通花纹钢板围形而成,花纹面朝向研磨腔9。柔性磨套40可由石棉等伸缩性较强的材料制成,通过张紧力与内磨套筒39固定连接在一起。当需要加工小坚果时,在内磨套筒39的外部套上柔性磨套40;当需要加工大坚果时,可以去掉柔性磨套40。此外,通过选用不同材质的柔性磨套40套在内磨套筒39外部,能够加工不同种类的坚果,从而实现一机多用。
As shown in accompanying drawing 2, the internal grinding mill for shell breaking includes an inner grinding core table 38, an inner grinding
如附图2、3所示,内磨套筒39和柔性磨套40的外侧面以及破壳外磨5的内壁上有能够增加摩擦力的凸台或花纹状凸起。破壳外磨5可由普通花纹钢板围形而成,花纹面朝向研磨腔9。凸台或花纹状凸起能够提高对坚果果壳的揉搓力。
As shown in accompanying
以上技术特征构成了本实用新型的最佳实施例,其具有较强的适应性和最佳实施效果,可根据实际需要增减非必要的技术特征,来满足不同情况的需求。 The above technical features constitute the best embodiment of the utility model, which has strong adaptability and best implementation effect, and non-essential technical features can be increased or decreased according to actual needs to meet the needs of different situations.
Claims (10)
Priority Applications (1)
| Application Number | Priority Date | Filing Date | Title |
|---|---|---|---|
| CN2010205077929U CN201733825U (en) | 2010-08-27 | 2010-08-27 | Nut shell soft breaker |
Applications Claiming Priority (1)
| Application Number | Priority Date | Filing Date | Title |
|---|---|---|---|
| CN2010205077929U CN201733825U (en) | 2010-08-27 | 2010-08-27 | Nut shell soft breaker |
Publications (1)
| Publication Number | Publication Date |
|---|---|
| CN201733825U true CN201733825U (en) | 2011-02-09 |
Family
ID=43549099
Family Applications (1)
| Application Number | Title | Priority Date | Filing Date |
|---|---|---|---|
| CN2010205077929U Expired - Fee Related CN201733825U (en) | 2010-08-27 | 2010-08-27 | Nut shell soft breaker |
Country Status (1)
| Country | Link |
|---|---|
| CN (1) | CN201733825U (en) |
Cited By (9)
| Publication number | Priority date | Publication date | Assignee | Title |
|---|---|---|---|---|
| CN104545553A (en) * | 2015-01-29 | 2015-04-29 | 山东黄金集团昌邑矿业有限公司 | Nut hull-breaking/hulling machine |
| CN107343405A (en) * | 2017-09-11 | 2017-11-14 | 江西师范大学 | A kind of intelligent Chinese yew seed device for peeling |
| CN107752821A (en) * | 2017-12-08 | 2018-03-06 | 张萌 | A kind of rotating disc type nut cracker |
| CN107928479A (en) * | 2017-12-08 | 2018-04-20 | 于江柳 | A kind of new walnut shell-breaking device |
| CN108175108A (en) * | 2018-01-10 | 2018-06-19 | 昆山瑞恒峰技术咨询有限公司 | A kind of burr remover for Chinese chestnut processing |
| CN108903002A (en) * | 2018-08-30 | 2018-11-30 | 湖南省林业科学院 | A kind of camellia fruit shelling system |
| CN109123692A (en) * | 2018-09-21 | 2019-01-04 | 湖州师范学院 | A kind of novel nut decorticator |
| CN110250532A (en) * | 2019-07-26 | 2019-09-20 | 张建勇 | It is a kind of to rush shell machine Chong Ke mechanism and its rush shell side method |
| CN111227272A (en) * | 2018-07-23 | 2020-06-05 | 潘换成 | A kind of household coconut opening device and using method |
-
2010
- 2010-08-27 CN CN2010205077929U patent/CN201733825U/en not_active Expired - Fee Related
Cited By (12)
| Publication number | Priority date | Publication date | Assignee | Title |
|---|---|---|---|---|
| CN104545553A (en) * | 2015-01-29 | 2015-04-29 | 山东黄金集团昌邑矿业有限公司 | Nut hull-breaking/hulling machine |
| CN104545553B (en) * | 2015-01-29 | 2017-04-26 | 山东黄金集团昌邑矿业有限公司 | Nut hull-breaking/hulling machine |
| CN107343405A (en) * | 2017-09-11 | 2017-11-14 | 江西师范大学 | A kind of intelligent Chinese yew seed device for peeling |
| CN107752821A (en) * | 2017-12-08 | 2018-03-06 | 张萌 | A kind of rotating disc type nut cracker |
| CN107928479A (en) * | 2017-12-08 | 2018-04-20 | 于江柳 | A kind of new walnut shell-breaking device |
| CN107752821B (en) * | 2017-12-08 | 2019-05-07 | 闽清县振兴农业专业合作社 | A rotary nut shell breaker |
| CN107928479B (en) * | 2017-12-08 | 2019-09-06 | 徐海霞 | A kind of novel walnut shell-breaking device |
| CN108175108A (en) * | 2018-01-10 | 2018-06-19 | 昆山瑞恒峰技术咨询有限公司 | A kind of burr remover for Chinese chestnut processing |
| CN111227272A (en) * | 2018-07-23 | 2020-06-05 | 潘换成 | A kind of household coconut opening device and using method |
| CN108903002A (en) * | 2018-08-30 | 2018-11-30 | 湖南省林业科学院 | A kind of camellia fruit shelling system |
| CN109123692A (en) * | 2018-09-21 | 2019-01-04 | 湖州师范学院 | A kind of novel nut decorticator |
| CN110250532A (en) * | 2019-07-26 | 2019-09-20 | 张建勇 | It is a kind of to rush shell machine Chong Ke mechanism and its rush shell side method |
Similar Documents
| Publication | Publication Date | Title |
|---|---|---|
| CN201733825U (en) | Nut shell soft breaker | |
| CN102771877A (en) | Walnut shelling and kernel taking device | |
| CN205587058U (en) | Electronic edge -runner mill | |
| CN209205401U (en) | A kind of nonmetallic ore deep processing breaking means | |
| CN208554447U (en) | A kind of grinding device of automated material | |
| CN109926124B (en) | Multi-functional processing equipment of rice | |
| CN201252817Y (en) | Flat-rubbing type peanut sheller | |
| CN108906279B (en) | Processing rice grinding device for rice noodle | |
| CN109730334B (en) | Striking formula walnut shell breaking machine | |
| CN106174612B (en) | A kind of roller type peanut shelling machine | |
| CN205056187U (en) | Be used for carrying out kibbling device to solid -state chemistry article | |
| CN209646571U (en) | A kind of hulling machine | |
| CN119680267A (en) | A kind of agricultural product pesticide residue detection mechanism and detection method | |
| CN215087370U (en) | Corn peeling and milling all-in-one machine | |
| CN213286953U (en) | Plastic crushing device for plastic processing | |
| CN205948945U (en) | Rice sheller | |
| CN117920397B (en) | Millet pulverizes processingequipment | |
| CN213790070U (en) | Mulberry polyphenol draws equipment | |
| CN211358926U (en) | Rice mill with fan | |
| CN203648620U (en) | Pedal-driven small impact crusher | |
| CN205253215U (en) | Domestic small -size manual rubbing crusher | |
| CN209628592U (en) | Nut crushing mechanism for food processing device and food processing device | |
| CN209934838U (en) | A kind of processing equipment of whole grain flour | |
| CN209451898U (en) | A kind of rice milling unit for saving paddy endosperm from damage | |
| CN208436926U (en) | A corn crushing device |
Legal Events
| Date | Code | Title | Description |
|---|---|---|---|
| C14 | Grant of patent or utility model | ||
| GR01 | Patent grant | ||
| TR01 | Transfer of patent right |
Effective date of registration: 20170329 Address after: 830000 Urumqi economic and Technological Development Zone, South Road, No. 661, the preparation of the workshop, building 1, layer 1, 6, Patentee after: Xinjiang New Technology Co., Ltd. Address before: 830013 Beijing North Road, Urumqi, No. 239, No. Patentee before: Xinjiang Machinery Research Institute Co., Ltd. |
|
| TR01 | Transfer of patent right | ||
| CF01 | Termination of patent right due to non-payment of annual fee |
Granted publication date: 20110209 Termination date: 20170827 |
|
| CF01 | Termination of patent right due to non-payment of annual fee |
