CN201553699U - A heat insulation device for repairing the bottom of coke oven - Google Patents
A heat insulation device for repairing the bottom of coke oven Download PDFInfo
- Publication number
- CN201553699U CN201553699U CN2009202172670U CN200920217267U CN201553699U CN 201553699 U CN201553699 U CN 201553699U CN 2009202172670 U CN2009202172670 U CN 2009202172670U CN 200920217267 U CN200920217267 U CN 200920217267U CN 201553699 U CN201553699 U CN 201553699U
- Authority
- CN
- China
- Prior art keywords
- coke oven
- heat insulation
- insulation device
- support frame
- maintenance
- Prior art date
- Legal status (The legal status is an assumption and is not a legal conclusion. Google has not performed a legal analysis and makes no representation as to the accuracy of the status listed.)
- Expired - Lifetime
Links
- 239000000571 coke Substances 0.000 title claims abstract description 27
- 238000009413 insulation Methods 0.000 title claims abstract description 27
- 238000012423 maintenance Methods 0.000 abstract description 9
- 238000004939 coking Methods 0.000 abstract description 7
- 238000000034 method Methods 0.000 abstract description 4
- 230000009286 beneficial effect Effects 0.000 abstract description 3
- 238000010438 heat treatment Methods 0.000 abstract description 2
- 238000003763 carbonization Methods 0.000 description 5
- 238000004519 manufacturing process Methods 0.000 description 4
- VYPSYNLAJGMNEJ-UHFFFAOYSA-N Silicium dioxide Chemical compound O=[Si]=O VYPSYNLAJGMNEJ-UHFFFAOYSA-N 0.000 description 2
- 239000011449 brick Substances 0.000 description 2
- 239000003245 coal Substances 0.000 description 2
- 238000010276 construction Methods 0.000 description 2
- XUIMIQQOPSSXEZ-UHFFFAOYSA-N Silicon Chemical compound [Si] XUIMIQQOPSSXEZ-UHFFFAOYSA-N 0.000 description 1
- 229910052799 carbon Inorganic materials 0.000 description 1
- 238000011084 recovery Methods 0.000 description 1
- 229910052710 silicon Inorganic materials 0.000 description 1
- 239000010703 silicon Substances 0.000 description 1
- 239000000377 silicon dioxide Substances 0.000 description 1
Images
Classifications
-
- Y—GENERAL TAGGING OF NEW TECHNOLOGICAL DEVELOPMENTS; GENERAL TAGGING OF CROSS-SECTIONAL TECHNOLOGIES SPANNING OVER SEVERAL SECTIONS OF THE IPC; TECHNICAL SUBJECTS COVERED BY FORMER USPC CROSS-REFERENCE ART COLLECTIONS [XRACs] AND DIGESTS
- Y02—TECHNOLOGIES OR APPLICATIONS FOR MITIGATION OR ADAPTATION AGAINST CLIMATE CHANGE
- Y02P—CLIMATE CHANGE MITIGATION TECHNOLOGIES IN THE PRODUCTION OR PROCESSING OF GOODS
- Y02P20/00—Technologies relating to chemical industry
- Y02P20/10—Process efficiency
- Y02P20/129—Energy recovery, e.g. by cogeneration, H2recovery or pressure recovery turbines
Landscapes
- Furnace Housings, Linings, Walls, And Ceilings (AREA)
Abstract
本实用新型涉及一种维修焦炉炉底的隔热装置,包括支撑架和隔热层,以及装在支撑架的内侧的操作平台,其隔热层装在支撑架的外侧;本实用新型结构简单,操作方便,在维修焦炉的过程中操作方便,安全性好;不需要停炉就可维修已损坏炉底炼焦室的炉底,维修完成之后,能很快恢复焦炉的运行温度,有利于焦炉的其它炼焦室的正常加热和调节,同时也延长了焦炉的使用寿命,并且便于推广应用。
The utility model relates to a heat insulation device for maintaining the bottom of a coke oven, which includes a support frame, a heat insulation layer, and an operating platform installed on the inside of the support frame, and the heat insulation layer is installed on the outside of the support frame; the structure of the utility model Simple, easy to operate, easy to operate and good safety in the process of coke oven maintenance; the bottom of the damaged bottom coking chamber can be repaired without stopping the furnace, and the operating temperature of the coke oven can be restored quickly after the maintenance is completed. It is beneficial to the normal heating and adjustment of other coking chambers of the coke oven, prolongs the service life of the coke oven, and is convenient for popularization and application.
Description
技术领域technical field
本实用新型属于隔热装置,尤其涉及一种用于维修焦炉炉底的隔热装置。The utility model belongs to a heat insulation device, in particular to a heat insulation device for maintaining the bottom of a coke oven.
背景技术Background technique
清洁型热回收焦炉的炉底为硅砖炉底或者为高碳硅浇注料炉底,在高温条件下它们的耐温度急变性能较差,炉底容易出现凹凸不平现象。这样,在装煤过程中由于炉底的凹凸不平会造成煤饼塌落,增加化焦率,并且,在焦炉炼焦运行过程中经常出现挂炉门困难和焦炭塌落的现象,这给焦炉正常生产操作带来很大的负面影响。因此,就需要维修受损的焦炉炉底。目前,一般维修焦炉炉底是需要全部停产之后待温度降至炉外常温,施工人员才能进去维修,施工期长,而且在维修好之后,使焦炉重新恢复到炼焦运行温度需要很长时间,从而影响生产造成了很大的经济损失。The bottom of the clean heat recovery coke oven is made of silica brick or high-carbon silicon castable bottom. Under high temperature conditions, their resistance to sudden temperature changes is poor, and the bottom of the furnace is prone to unevenness. In this way, during the coal charging process, due to the unevenness of the bottom of the furnace, the coal cake will collapse, which will increase the coking rate. Moreover, during the coking operation of the coke oven, it is often difficult to hang the furnace door and the phenomenon of coke collapse. The normal production operation of the furnace has a great negative impact. Therefore, there is a need to repair damaged coke oven floors. At present, the general maintenance of the bottom of the coke oven needs to stop production after the temperature drops to normal temperature outside the furnace, and then the construction personnel can go in for maintenance. The construction period is long, and after the maintenance is completed, it takes a long time to restore the coke oven to the coking operating temperature , thereby affecting production and causing great economic losses.
发明内容Contents of the invention
本实用新型的目的旨在克服上述现有技术的缺点,提供一种能够缩短维修焦炉炉底时间,节省能源,提高生产效率的隔热装置。The purpose of the utility model is to overcome the disadvantages of the above-mentioned prior art, and provide a thermal insulation device that can shorten the maintenance time of the bottom of the coke oven, save energy, and improve production efficiency.
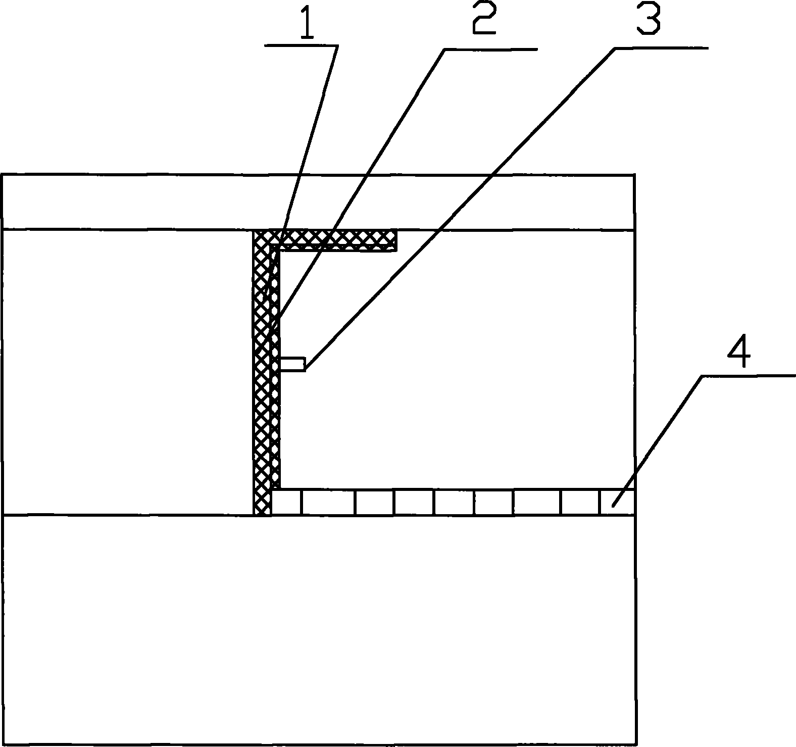
一种维修焦炉炉底的隔热装置,其特征是所述的隔热装置包括隔热层1、支撑架2,所述的隔热层装在支撑架的外侧。A heat insulation device for repairing the bottom of a coke oven, characterized in that the heat insulation device includes a
所述的隔热装置还包括一个操作平台3,所述的操作平台装在支撑架的内侧。The heat insulation device also includes an
所述的隔热装置比焦炉碳化室正面容积小30~50mm。The heat insulation device is 30-50mm smaller than the frontal volume of the carbonization chamber of the coke oven.
本实用新型与现有技术相比,具有以下有益效果:在维修焦炉的过程中操作方便,安全性好;不需要停炉就可维修已损坏炉底炼焦室的炉底,维修完成之后,能很快恢复焦炉的运行温度,有利于焦炉的其它炼焦室的正常加热和调节,同时也延长了焦炉的使用寿命。Compared with the prior art, the utility model has the following beneficial effects: it is convenient to operate and has good safety in the process of maintaining the coke oven; it can repair the damaged furnace bottom of the furnace bottom coking chamber without stopping the furnace, and after the maintenance is completed, The operation temperature of the coke oven can be restored quickly, which is beneficial to the normal heating and adjustment of other coking chambers of the coke oven, and also prolongs the service life of the coke oven.
附图说明Description of drawings
图1为本实用新型的主视图。Fig. 1 is the front view of the utility model.
图2为图1的侧视图。FIG. 2 is a side view of FIG. 1 .
具体实施方式Detailed ways
如图1、图2所示,一种维修焦炉炉底的隔热装置,该隔热装置包括隔热层1、支撑架2,所述的隔热层装在支撑架的外侧。该隔热装置还包括一个装在支撑架上的操作平台3,所述的操作平台装在支撑架的内侧。通常该隔热装置正截面的面容积小比焦炉碳化室5正截面的面容积小30~50mm。As shown in Fig. 1 and Fig. 2, a heat insulation device for maintaining the bottom of a coke oven, the heat insulation device includes a
本实用新型的工作原理:Working principle of the utility model:
本实用新型在操作时,首先,将该隔热装置放置在需要维修的焦炉碳化室1口,隔热层1朝向焦炉碳化室1的里面;然后,推动装在支撑架2内侧的操作平台3,隔热装置在碳化室5里推到需要维修的长度后,就可以维修焦炉炉底砖4了。When the utility model is in operation, firstly, the heat insulation device is placed at the mouth of the
Claims (2)
Priority Applications (1)
| Application Number | Priority Date | Filing Date | Title |
|---|---|---|---|
| CN2009202172670U CN201553699U (en) | 2009-09-21 | 2009-09-21 | A heat insulation device for repairing the bottom of coke oven |
Applications Claiming Priority (1)
| Application Number | Priority Date | Filing Date | Title |
|---|---|---|---|
| CN2009202172670U CN201553699U (en) | 2009-09-21 | 2009-09-21 | A heat insulation device for repairing the bottom of coke oven |
Publications (1)
| Publication Number | Publication Date |
|---|---|
| CN201553699U true CN201553699U (en) | 2010-08-18 |
Family
ID=42613373
Family Applications (1)
| Application Number | Title | Priority Date | Filing Date |
|---|---|---|---|
| CN2009202172670U Expired - Lifetime CN201553699U (en) | 2009-09-21 | 2009-09-21 | A heat insulation device for repairing the bottom of coke oven |
Country Status (1)
| Country | Link |
|---|---|
| CN (1) | CN201553699U (en) |
Cited By (2)
| Publication number | Priority date | Publication date | Assignee | Title |
|---|---|---|---|---|
| CN104073269A (en) * | 2013-03-29 | 2014-10-01 | 上海梅山钢铁股份有限公司 | Deep maintenance method on coke-oven charcoal bottom bricks |
| CN110982540A (en) * | 2019-11-28 | 2020-04-10 | 攀钢集团攀枝花钢钒有限公司 | Method for maintaining tamping coke oven with coke heat |
-
2009
- 2009-09-21 CN CN2009202172670U patent/CN201553699U/en not_active Expired - Lifetime
Cited By (2)
| Publication number | Priority date | Publication date | Assignee | Title |
|---|---|---|---|---|
| CN104073269A (en) * | 2013-03-29 | 2014-10-01 | 上海梅山钢铁股份有限公司 | Deep maintenance method on coke-oven charcoal bottom bricks |
| CN110982540A (en) * | 2019-11-28 | 2020-04-10 | 攀钢集团攀枝花钢钒有限公司 | Method for maintaining tamping coke oven with coke heat |
Similar Documents
| Publication | Publication Date | Title |
|---|---|---|
| CN104498059B (en) | Coke furnace carbonization chamber repairing protection device, its manufacture method and carbonization chamber method for repairing and mending | |
| CN104567356A (en) | Gas-electric hybrid roller kiln furnace | |
| CN201553699U (en) | A heat insulation device for repairing the bottom of coke oven | |
| CN115725308B (en) | Method for repairing oven wall of coke oven carbonization chamber | |
| CN202369615U (en) | Furnace body structure of stainless steel bright heat treatment heating furnace | |
| CN202599178U (en) | Raw coke oven gas waste heat utilization equipment | |
| CN106350081B (en) | Coke furnace carbonization chamber hot repair heat-insulating method | |
| CN201762236U (en) | Heating furnace for glass tempering | |
| CN201678589U (en) | U-shaped pipe heat absorption type heat recovery device for compressed air convection glass tempering furnace | |
| CN204779667U (en) | Energy -conserving double -deck aluminum alloy spare dissolves ageing heat treatment stove admittedly | |
| CN204329042U (en) | A kind of novel regenerator | |
| CN202246545U (en) | Coke scraping device of coke oven secondary coke | |
| CN204211686U (en) | With the charring furnace of energy recovery | |
| CN202349980U (en) | Novel afterheat boiler for pyrite-based acid preparation | |
| CN202297690U (en) | Novel rapid fuel gas aluminum bar heating furnace | |
| CN203336967U (en) | Kiln car brick | |
| CN202046996U (en) | Compressed air heating and jet flow mechanism | |
| CN100572571C (en) | A kind of internally heating apparatus and preparation method thereof | |
| CN202543276U (en) | Heat storage type burner of steel billet heating furnace | |
| CN204085158U (en) | The drying integrated system of roasting | |
| CN115449377B (en) | An electrically heated coke oven | |
| CN204042145U (en) | A kind of recuperative heater three-way diverter valve improving sealing configuration | |
| CN205774073U (en) | A kind of thermal balance tubular construction for glass tempering furnace | |
| CN201560174U (en) | A New Structure of Dry Quenching Furnace | |
| CN201237357Y (en) | Organic heat carrier boiler with bulk structure |
Legal Events
| Date | Code | Title | Description |
|---|---|---|---|
| C14 | Grant of patent or utility model | ||
| GR01 | Patent grant | ||
| CX01 | Expiry of patent term | ||
| CX01 | Expiry of patent term |
Granted publication date: 20100818 |
