[go: up one dir, main page]

CN201542776U - Adjustable soft palate support - Google Patents

Adjustable soft palate support Download PDF

Info

Publication number
CN201542776U
CN201542776U CN2009201955211U CN200920195521U CN201542776U CN 201542776 U CN201542776 U CN 201542776U CN 2009201955211 U CN2009201955211 U CN 2009201955211U CN 200920195521 U CN200920195521 U CN 200920195521U CN 201542776 U CN201542776 U CN 201542776U
Authority
CN
China
Prior art keywords
soft palate
palate
supporter
link
hard
Prior art date
Legal status (The legal status is an assumption and is not a legal conclusion. Google has not performed a legal analysis and makes no representation as to the accuracy of the status listed.)
Expired - Lifetime
Application number
CN2009201955211U
Other languages
Chinese (zh)
Inventor
张湘民
周星
罗丽飞
周泰立
张建刚
黄永亮
郭爱军
Original Assignee
张湘民
周星
Priority date (The priority date is an assumption and is not a legal conclusion. Google has not performed a legal analysis and makes no representation as to the accuracy of the date listed.)
Filing date
Publication date
Application filed by 张湘民, 周星 filed Critical 张湘民
Priority to CN2009201955211U priority Critical patent/CN201542776U/en
Application granted granted Critical
Publication of CN201542776U publication Critical patent/CN201542776U/en
Anticipated expiration legal-status Critical
Expired - Lifetime legal-status Critical Current

Links

Images

Landscapes

  • Orthopedics, Nursing, And Contraception (AREA)

Abstract

An adjustable soft palate support is a flat implant made of a material capable of being implanted into human bodies for a long time and consists of a hard palate connecting end and a support. The support is a flat implant capable of being inserted into the soft palate and connected to the hard palate connecting end, the hard palate connecting end is provided with a connection structure and a regulating mechanism which are connected with the hard palate, the connection structure arranged on the hard palate connecting end is used for fixing the support onto the hard palate, and the regulating mechanism arranged on the hard palate connecting end controls movement states or bending curvature of the support or lifting degree of the soft palate. Because the hard palate connecting end is fixed on the hard palate, the support is implanted into a muscular layer of the soft palate and utilizes the hard palate as a supporting point to support the relax and sunken soft palate and portions of a tongue rear root. As swallow action is frequent in a non-sleeping state, after the regulating mechanism is turned on, the support implanted into the soft palate can act along with natural swing of the soft palate so as to reduce interference to swallow actions. Before entering a sleep state, the regulating mechanism is in an off state after a control key of the regulating mechanism on the hard palate is adjusted by a finger or the tongue tip, the support implanted in the soft palate can support the soft palate, and then the central axis of the soft palate during natural swinging is charged by supporting the soft palate to the tongue root direction, thereby expanding pharyngeal airway during respiration and curing snoring and OSAHS.

Description

Adjustable soft palate support
Technical field
This utility model relates to a kind of adjustable soft palate support, especially for treatment adult's obstructive sleep apnea low syndrome (Obstructive sleep apnea/hypopnea syndrome, OSAHS) and the adjustable soft palate support and the method for implantation of snoring.
Background technology
Adult's obstructive sleep apnea low syndrome (Obstructive sleep apnea/hypopnea syndrome, hereinafter to be referred as: be OSAHS) owing to go up air flue during sleep and occur subsiding and stop up cause a kind of to snore and asphyxia is the sleep disordered breathing disease of Clinical symptoms.Even according to minimum diagnostic criteria, the prevalence of OSAHS is about 4% among the male the adult, and the women is about 2%, and patient's life and health in serious threat.
For the pathogeny of OSAHS, it is generally acknowledged that main cause is the soft tissue obstruction that subsides to occur because the expansion pharynx muscle relaxation of airway open the time is kept in sleep, obstruction plane multidigit is in soft palate, tonsil and the root of the tongue.The method of treatment OSAHS has a lot, is divided into non-operative treatment and operative treatment two classes.Non-surgical treatment mainly contains:
1, continuous positive pressure venti lation (CPAP).Promptly the respirator that continue to produce malleation by a kind of energy closely is connected with patient's nasal surface portion by nose cup, is used for removing when sleeping the air flue soft tissue obstruction that subsides.Though this method effect is better, there is 2/3 patient to be difficult to adapt to approximately, can't have on the respirator sleep.
2, oral appliance.By in mouth, laying a kind of device, draw before making lower jaw reach or tongue, enlarge pharyngeal cavity, airway obstruction when removing sleep.This method has polytype, and certain effect is arranged, but most of patients is difficult to adapt to.Oral appliance has certain zest and foreign body sensation, and the people can't fall asleep in addition, and life-time service also can cause the temporomandibular joint damage.
As, a kind of method and apparatus that is used to slow down upper respiratory tract obstruction is disclosed in International Application PCT/US2005/001392005.1.3, this device is the mouth tool that is suitable for forming in the population annular seal space, when sleep, sting this device of tool, in population, form annular seal space, negative pressure generator connects this device, with the soft tissue pull-up of patient's tongue and/or upper respiratory tract or be pulled away from posterior pharyngeal wall to open respiratory tract greatly, reduces OSAHS and takes place.
In Chinese utility model patent ZL200620110299.7, disclose a kind of tongue reach device, be used for the treatment of OSAHS and snoring.This tongue reach device comprises one and a half months type base, and the top of base has the semilune upper tooth bracket that is made of the front and back chimb; Have the camber backboard in the bottom of base, the positive center of base has the anchor tongue hole of a perforation front and rear edge; Have the camber front apron in the bottom of base, under between front and rear baffle, constituting before the carriage of denture.This tongue reach device for the patient up and down before denture the interlock mould of an active is provided, make that muscle up and down is subconscious when sleep to be in a kind of relative tense situation all the time, go up lower jaw and the tongue stable fulcrum of device formation that moves forward like this; Anchor tongue hole provides a comfortable anchor station for the tip of the tongue, and the tongue standard between anchor tongue hole and hyoid bone, has been kept the unobstructed of pars oralis pharyngis air flue, thereby reaches the purpose of treatment OSAHS and snoring.
The patent that is similar to disclosed tongue reach device among disclosed device among International Application PCT/US2005/001392005.1.3 or the Chinese utility model patent ZL200620110299.7 is many in addition, these patents all are to utilize tooth to be the strong point in the oral cavity, design various utensils and changed when sleep tongue or the tensity or the position of soft palate, thereby reached the purpose of treatment OSAHS and snoring.These utensils will be put into oral cavity and interlock and fix before sleep, but the people constantly alters one's posture and the shape of the mouth as one speaks, and these utensils can not be brought into play effective function often, and are in addition, also uncomfortable, inconvenient when the patient uses.
The operative treatment Therapeutic Method mainly contains:
1, radio-frequency ablation procedure also claims the low-temperature plasma radio-frequency (RF) ablation, is a kind of Minimally Invasive Surgery method.Mainly be that electrode is thrust in the soft tissue that causes airway obstruction, as positions such as soft palate, tonsil and the roots of the tongue, the energising heating makes tissue coagulation, necrosis, fibrosis, contraction.Certain therapeutical effect is arranged, and effective to lighter case, late result is not good enough, and patient is invalid to severe.
2, the palate pharynx is shaped.Fujita was improved to Uvulopalatopharyngoplasty (uvulopalatopharyngoplasty to the PPP of Japanese scholar Ikematus in 1981, UPPP) and after introducing the U.S., document has been reported the multiple improvement art formula based on UPPP in succession, comprise Simmons method, Fairbanks method, Dickson method, Woodson method, Z type uranoplasty, uvula palate lobe art, keep staphyleus PPP (H-UPPP) etc., it has made huge contribution after reaching more to the symptom of improving OSAHS patient.Though the surgical intervention means make countless patient's incomes, long-term effect sees, because of excessively excision mucosa, soft palate organizational structure, damages functional muscle, causes when swallowing anti-complication such as stream, open rhinolalia, the narrow locking of cavum nasopharyngeum of nasal cavity.It is littler how to start a kind of wound, the perhaps method of the operative treatment that carries out in the mode of Wicresoft and corresponding operating theater instruments, the forward position and the emphasis that also just become the research of current OSAHS treatment technology, develop.
3, soft palate implantation.A kind of soft palate implant for the treatment of the braiding of snoring is disclosed in International Application PCT/US2002/0079662002.3.14, this invention is implanted the center of gravity when utilizing fabric to change soft palate swing with air-flow and the aerodynamic characteristics of change soft palate at soft palate, improving soft palate and pharyngeal critical air flow velocity, thereby prevent the generation of snoring.But this method can't prevent the generation of OSAHS, because OSAHS stop up to go up air flue and causes that this method and used implantation instrument can not be used for the treatment of OSAHS owing to soft palate subsides.For serious symptom snoring patient,, increased the risk that OSAHS takes place on the contrary because the quality at soft palate swing position increases.
In sum, art methods treatment OSAHS and snoring, though certain effect is arranged, but still many defectives are arranged, long-term effect is not good enough.Need start new method and treat OSAHS and snoring with the new apparatus of design, this new method wound is as far as possible little, and new apparatus is wanted safety, effective, simple, reliable.
Summary of the invention
Research report and clinical experience show: lax the subsiding of soft palate part is the main cause that causes snoring and OSAHS.
Cause the pathogenesis of snoring and OSAHS at this lax subsiding because of the soft palate part, the thinking that our this utility model is treated this disease is: design a kind of implant, one end is fixed on the hard palate, one end is implanted in the soft palate, with the hard palate strong point, root behind lax soft palate that subsides and the part tongue is held up.By holding up soft palate, changed the axis when soft palate swing naturally, thereby the air flue when having enlarged pharyngeal breathing reaches the purpose for the treatment of snoring and OSAHS to root of the tongue direction.Because swallowing act is more frequent under the daytime non-sleep state, when particularly taking food, and subside the snoring that causes and OSAHS when occurring in sleep because of soft palate part lax, swallowing act is less during sleep, still designed adjustable soft palate support, specific as follows:
Adjustable soft palate support is with comprising in the flat implant of the medium-term and long-term material manufacture of implanting of human body:
Supporter (2) is the flat implant that can insert in the soft palate; And
Hard palate link (1) is connected to hard palate with described supporter (2);
Described hard palate link (1) comprising:
Syndeton (11) is configured such that described hard palate link (1) is fixed in hard palate;
Governor motion (12) is set to control the kinestate or the crooked radian of described supporter (2), or controls the picking-up degree of soft palate.
Further, described supporter (2) has with the human body soft palate radian that the natural torsion degree when lax is complementary.
Syndeton (11) on the described hard palate link (1) comprises the structure of following type at least: pass structure, U type clamping structure, button-type structure, rivet type structure, and self-expanding latching structure.
Governor motion (12) on the described hard palate link (1) is to comprise the switching mechanism (121) that opens or closes two states; Under the state that governor motion (12) is leaving, the supporter of implanting in the soft palate (2) can move with the swing naturally of soft palate; When governor motion (12) under the state that closes, the supporter of implanting in the soft palate (2) can hold up soft palate, by holding up soft palate to root of the tongue direction, has changed the axis when soft palate is swung naturally, thus the air flue when having enlarged pharyngeal breathing.
Further, the construction of switch (121) of described governor motion (12) comprises following structure at least: singly-bound construction of switch, double-button switch structure.
Governor motion (12) on the described hard palate link (1) is the mechanism that can stepping regulates the picking-up degree of the kinestate of supporter (2) or crooked radian or soft palate.
Further, the governor motion (12) on the described hard palate link (1) comprises one grade, the stepping governor motion (122) that second gear or second gear are above.
Governor motion (12) on the described hard palate link (1) is the mechanism that can regulate the picking-up degree of the kinestate of supporter (2) or crooked radian or soft palate continuously.
Governor motion (12) on the described hard palate link (1) comprises by rotatablely moving or rectilinear motion is regulated the continuous regulation mechanism (123) that supporter (2) holds up the soft palate degree continuously.
Further, described hard palate link (1) also comprises: housing (124), described governor motion (12) is installed in the housing (124).
Governor motion (12) on the described hard palate link (1) comprising: regulate control key (125), be installed on the housing (124), described adjusting control key (125) is gone up the flexible high molecular material film (126) that covering can be implanted in human body.
The flexible high molecular material film (126) that can implant in human body is housed on the described housing (124), covers in the described flexible high molecular material film (126) on the described adjusting control key (125).
Described supporter (2) is a flat thing with holes or not with holes.
Further, adjustable soft palate support according to claim 1, it is characterized in that: described supporter (2) is to be selected from following at least structure: cross section is the flat thing of arc, and cross section is the flat thing of Concha Arcae shape, and the flat thing of band reinforcement.
Described supporter (2) is provided with at least one elastic module (20).
Further, described elastic module (20) be can be out of shape under external force and behind the external force removal, can recover again to be out of shape before the mechanism or the object of shape.
Described elastic module (20) comprises following structure at least: elasticity macromolecular material thin plate or band or film, spring structure, the spring structure that is coated by flexible high molecular material.
Described supporter (2) is provided with at least one rigid matrix (40).
Further, described rigid matrix (40) is that certain support force is arranged, but the mechanism or the object of shape before can not recovering to be out of shape after under excessive external force effect, plastic deformation, external force removal taking place.
Capable of being combined or the mounting or dismounting ground of described supporter (2) is connected with hard palate link (1).
The length that described supporter (2) inserts soft palate (102) the soft palate total length 1/5 to 4/5 between, its best length of inserting is between 2/3 to 3/4.
Described method for implantation is that hard palate link (1) is fixed on the hard palate (101), and supporter (2) inserts in the soft palate (102).
Adjustable soft palate support, holds up lax soft palate (102) that subsides and part tongue back root part with hard palate (101) strong point because hard palate link (1) is fixed on the hard palate (101), and supporter (2) is implanted in the flesh layer of soft palate.By holding up soft palate, changed the axis when soft palate swing naturally, thereby the air flue when having enlarged pharyngeal breathing reaches the purpose for the treatment of snoring and OSAHS to root of the tongue direction.Because of swallowing act under the daytime non-sleep state more frequent, when particularly taking food, the state that governor motion (12) is in out, the supporter of implanting in the soft palate (2) can move with swing naturally of soft palate, minimizing is to the interference of swallowing act; And when entering sleep state, governor motion (12) being in the state of pass, the supporter of implanting in the soft palate (2) can hold up soft palate.By holding up soft palate to root of the tongue direction, changed the axis when soft palate is swung naturally, thus the air flue when having enlarged pharyngeal breathing.Thereby avoided the generation of snoring and OSAHS.
Further, this utility model has also designed adjustable soft palate support that stepping is regulated and can be regulated continuously, regulate the control key (125) that is implanted on the hard palate by finger or the tip of the tongue or remote controller like this, just the supporter of implanting in the soft palate can be adjusted to the appropriate location, what both kept that non-sleep state following time swallows is normal, can guarantee effectively to hold up soft palate again under sleep state, upper respiratory tract is unobstructed when keeping sleep, has avoided the generation of snoring and OSAHS.
Adjustable soft palate support of this utility model, deft design both can be performed the operation under local anesthesia, also can be in the liquor-saturated operation down of general anesthesia.During operation, according to the snoring and the OSAHS order of severity, select adjustable soft palate support body of this utility model of different sizes, only need at little otch of 2mm~20mm of oral cavity hard palate place incision, the hard palate link (1) of adjustable soft palate support of this utility model is fixed on the hard palate (101), and supporter (2) inserts in the soft palate (102), sews up the incision and can finish operation.Realized the purpose of Minimally Invasive Surgery treatment snoring and OSAHS.Clinical practice proves, adopts the apparatus of method of the present utility model and implantation, and it is little to have wound, recovers fast, instant effect, the reliable advantage of curative effect.Particularly operation back patient can to reach optimum therapeuticing effect and level of comfort, be subjected to patient's welcome deeply according to the degree of feeling to regulate easily soft palate support picking-up soft palate of self.
Description of drawings
Fig. 1 is a human body head side sectional view when nasal respiration.
Fig. 2 is a human body head side sectional view when swallowing.
Mechanism figure when Fig. 3 is OSAHS patient's morbidity.
Fig. 4 is the fundamental diagram of adjustable soft palate support of the method schematic diagram of the treatment OSAHS that provides of this utility model and this utility model.
Fig. 5 be with single screw fixedly adjustable soft palate support of this utility model be implanted in structural representation in hard palate and the soft palate.
Fig. 6 be with two screws fixedly adjustable soft palate support of this utility model be implanted in structural representation in hard palate and the soft palate.
Fig. 7 be with three screws fixedly adjustable soft palate support of this utility model be implanted in structural representation in hard palate and the soft palate.
Fig. 8 is the structural representation of the adjustable soft palate support of the push-down of this utility model when being in "open" state.Governor motion in the present embodiment (12) adopts spring push-rod formula construction of switch, push push rod (50) to the front tooth direction, governor motion (12) on the hard palate link (1) is in "open" state, supporter (2) moving axis (51) that can rotate freely rotates, thereby supporter (2) can the unconfined swing with the swing of soft palate.
Fig. 9 is the structural representation of the adjustable soft palate support of the push-down of this utility model when being in "off" state.Governor motion in the present embodiment (12) adopts spring push-rod formula construction of switch, push push rod (50) to root of the tongue direction, governor motion (12) on the hard palate link (1) is in "off" state, supporter (2) suffers restraints, the moving axis (51) that can not rotate freely rotates, thereby by supporter (2) soft palate is held up to root of the tongue direction, changed the axis of soft palate swing.The soft tissue of soft palate still can be swung within the specific limits, is the both sides of supporting surface but swing is constrained on supporter (2), thereby by holding up soft palate and part root of the tongue portion, has enlarged pharyngeal respiratory tract, reaches the purpose of treatment snoring and OSAHS.
Figure 10 is the structural representation of the adjustable soft palate support of double-button formula of this utility model when being in "open" state.Governor motion in the present embodiment (12) adopts double-button formula construction of switch, when pressing the button (53) of close front tooth direction, governor motion (12) on the hard palate link (1) is in "open" state, supporter (2) moving axis (51) that can rotate freely rotates, thereby supporter (2) can the unconfined swing with the swing of soft palate.
Figure 11 is the structural representation of the adjustable soft palate support of double-button formula of this utility model when being in "off" state.Governor motion in the present embodiment (12) adopts double-button formula construction of switch, when pressing the button (54) of close root of the tongue direction, governor motion (12) on the hard palate link (1) is in "off" state, supporter (2) suffers restraints, the moving axis (51) that can not rotate freely rotates, thereby by supporter (2) soft palate is held up to root of the tongue direction, changed the axis of soft palate swing.The soft tissue of soft palate still can be swung within the specific limits, is the both sides of supporting surface but swing is constrained on supporter (2), thereby by holding up soft palate and part root of the tongue portion, has enlarged pharyngeal respiratory tract, reaches the purpose of treatment snoring and OSAHS.
Figure 12 is the structural representation of the adjustable soft palate support of rotation stepping formula of this utility model when being in "open" state.Governor motion in the present embodiment (12) adopts rotary switch stepping formula structure.Rotation turn switch, supporter (2) can be moved in a big way, be that governor motion (12) on the hard palate link (1) is in "open" state, supporter (2) moving axis (51) that can rotate freely rotates, thereby supporter (2) can the unconfined swing with the swing of soft palate.
Figure 13 is the structural representation of the adjustable soft palate support of rotation stepping formula of this utility model when being in "off" state.Governor motion in the present embodiment (12) adopts rotation stepping formula location structure.Rotation turn switch makes the motion of supporter (2) be limited in small range, and promptly the governor motion (12) on the hard palate link (1) is in "off" state, and corresponding to different gears, supporter (2) is to the picking-up degree difference of soft palate.Because supporter (2) suffers restraints, the moving axis (51) that can not rotate freely rotates in a big way, thereby by supporter (2) soft palate is held up to root of the tongue direction, has changed the axis of soft palate swing.The soft tissue of soft palate still can be swung within the specific limits, is the both sides of supporting surface but swing is constrained on supporter (2), thereby by holding up soft palate and part root of the tongue portion, has enlarged pharyngeal respiratory tract, reaches the purpose of treatment snoring and OSAHS.
Figure 14 is the structural representation of the adjustable soft palate support of double-button double-shift type of this utility model when being in "open" state.Governor motion in the present embodiment (12) adopts double-button formula double-shift type structure, when pressing the button (53) of close front tooth direction, governor motion (12) on the hard palate link (1) is in "open" state, supporter (2) moving axis (51) that can rotate freely rotates, thereby supporter (2) can the unconfined swing with the swing of soft palate.
Figure 15 is the structural representation of the adjustable soft palate support of double-button double-shift type of this utility model when being in "off" state.Governor motion in the present embodiment (12) adopts double-button double-shift type construction of switch, when pressing the button (54) of close root of the tongue direction, governor motion (12) on the hard palate link (1) is in " pass " state of different gears successively, corresponding to different gears, supporter (2) is to the picking-up degree difference of soft palate.Because supporter (2) suffers restraints, the moving axis (51) that can not rotate freely rotates, thereby by supporter (2) soft palate is held up to root of the tongue direction, has changed the axis of soft palate swing.The soft tissue of soft palate still can be swung within the specific limits, is the both sides of supporting surface but swing is constrained on supporter (2), thereby by holding up soft palate and part root of the tongue portion, has enlarged pharyngeal respiratory tract, reaches the purpose of treatment snoring and OSAHS.
Figure 16 is soft palate support that the rectilinear translation formula of this utility model is regulated the continuously structural representation when being in "open" state.Governor motion in the present embodiment (12) adopts the continuous detent mechanism of slide block type.Push slide block (59) open to front tooth direction straight line, supporter (2) can be moved in a big way, be that governor motion (12) on the hard palate link (1) is in "open" state, supporter (2) moving axis (51) that can rotate freely rotates, thereby supporter (2) can the unconfined swing with the swing of soft palate.
Figure 17 is soft palate support that the rectilinear translation formula of this utility model is regulated the continuously structural representation when being in "off" state.Governor motion in the present embodiment (12) adopts the continuous detent mechanism of slide block type.Push slide block (59) open to root of the tongue direction straight line, make the motion of supporter (2) be limited in small range, be that governor motion (12) on the hard palate link (1) is in "off" state, corresponding to different gears, supporter (2) is to the picking-up degree difference of soft palate.Because supporter (2) suffers restraints, the moving axis (51) that can not rotate freely rotates in a big way, thereby by supporter (2) soft palate is held up to root of the tongue direction, has changed the axis of soft palate swing.The soft tissue of soft palate still can be swung within the specific limits, is the both sides of supporting surface but swing is constrained on supporter (2), thereby by holding up soft palate and part root of the tongue portion, has enlarged pharyngeal respiratory tract, reaches the purpose of treatment snoring and OSAHS.
Figure 18 is soft palate support that the screw thread of this utility model is regulated the continuously structural representation when being in "open" state.Governor motion in the present embodiment (12) adopts the screw thread detent mechanism.To external rotation adjusting screw(rod) (61), supporter (2) can be moved in a big way, be that governor motion (12) on the hard palate link (1) is in "open" state, supporter (2) moving axis (51) that can rotate freely rotates, thereby supporter (2) can the unconfined swing with the swing of soft palate.
Figure 19 is soft palate support that the screw thread of this utility model is regulated the continuously structural representation when being in "off" state.Governor motion in the present embodiment (12) adopts the screw thread detent mechanism.To internal rotation adjusting screw(rod) (61), make the motion of supporter (2) be limited in small range, promptly the governor motion (12) on the hard palate link (1) is in "off" state, and corresponding to different gears, supporter (2) is to the picking-up degree difference of soft palate.Because supporter (2) suffers restraints, the moving axis (51) that can not rotate freely rotates in a big way, thereby by supporter (2) soft palate is held up to root of the tongue direction, has changed the axis of soft palate swing.The soft tissue of soft palate still can be swung within the specific limits, is the both sides of supporting surface but swing is constrained on supporter (2), thereby by holding up soft palate and part root of the tongue portion, has enlarged pharyngeal respiratory tract, reaches the purpose of treatment snoring and OSAHS.
Figure 20 is the structural representation of the soft palate support of the motorized adjustment of this utility model when being in "open" state.Governor motion in the present embodiment (12) adopts electronic detent mechanism.Press motorized adjustment gauge tap (64), under the driving of built-in power (65), electric device (63) can move supporter (2) by drive mechanism (66) in a big way, be that governor motion (12) on the hard palate link (1) is in "open" state, supporter (2) moving axis (51) that can rotate freely rotates, thereby supporter (2) can the unconfined swing with the swing of soft palate.
Figure 21 is soft palate support that the screw thread of this utility model is regulated the continuously structural representation when being in "off" state.Governor motion in the present embodiment (12) adopts electronic detent mechanism.Press motorized adjustment gauge tap (64), under the driving of built-in power (65), electric device (63) can move supporter (2) by drive mechanism (66) in more among a small circle, be that governor motion (12) on the hard palate link (1) is in "off" state, supporter (2) holds up soft palate.Because supporter (2) suffers restraints, the moving axis (51) that can not rotate freely rotates in a big way, thereby by supporter (2) soft palate is held up to root of the tongue direction, has changed the axis of soft palate swing.The soft tissue of soft palate still can be swung within the specific limits, is the both sides of supporting surface but swing is constrained on supporter (2), thereby by holding up soft palate and part root of the tongue portion, has enlarged pharyngeal respiratory tract, reaches the purpose of treatment snoring and OSAHS.
Figure 22 is the structural representation of the soft palate support of the motorized adjustment of this utility model when being in "open" state.Substantially the same manner as Example 20 in the present embodiment, difference is to adopt remote controller (67) to substitute built-in motorized adjustment gauge tap (64).
Figure 23 is soft palate support that the screw thread of this utility model is regulated the continuously structural representation when being in "off" state.Substantially the same manner as Example 20 in the present embodiment, difference is to adopt remote controller (67) to substitute built-in motorized adjustment gauge tap (64).
Figure 24 is the structural representation of adjustable soft palate support of this utility model.Syndeton in the present embodiment (11) is the combination of securing member with through hole (69) and edge (70).During installation, on hard palate (101), open a slotted eye that matches with hard palate link (1), the housing (124) of governor motion (12) can be placed in one.Edge (70) is stuck in hard palate (101) by nasal cavity one side, and available trip bolt (116) is fixed on hard palate link (1) on the hard palate (101) with through hole (69) by securing member.
Figure 25 is the structural representation of adjustable soft palate support of this utility model.Syndeton in the present embodiment (11) adopts through-hole structure, be used on hard palate fixedly 3 securing members of hard palate link (1) with through holes (69) in the distribution triangular in shape of the bottom of hard palate link (1), constitute syndeton (11).Available trip bolt (116) is fixed on hard palate link (1) on the hard palate (101) with through hole (69) by securing member.
Figure 26 is the structural representation of the adjustable soft palate support of convex-concave card fitting-type combination type of this utility model when unassembled.
Figure 27 is the structural representation after the adjustable soft palate support assembling of the convex-concave card fitting-type combination type of this utility model.
Figure 28 is the structural representation of the adjustable soft palate support of screw-type combination type of this utility model when unassembled.
Figure 29 is the structural representation after the adjustable soft palate support assembling of the screw-type combination type of this utility model.
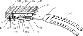
Among the above-mentioned figure: 1 is the hard palate link, 2 is supporter, 11 for the supporter with this utility model that is provided with on the hard palate link is fixed on syndeton on the hard palate, 12 governor motions for the picking-up degree of the kinestate of control supporter or crooked radian or control soft palate for being provided with on the hard palate link.121 is construction of switch, and 122 is the stepping governor motion, and 123 is continuous regulation mechanism, and 124 is the housing of governor motion, and 125 for regulating control key, and 126 is the medical flexible material membrane.
20 is elastic module, and 21 is through hole, and 22 is asperity or matsurface, 40 is rigid matrix, and 50 is push rod, and 51 is turning cylinder, 52 is back-moving spring, and 53 is the button near the front tooth direction, and 54 is the button near root of the tongue direction, 55 is the stepping locating piece, and 56 are the rotation by-pass cock, and 57 are stepping adjusting locating slot, 58 is locating piece, 59 positioning sliding blocks, and 60 is adjusting rod, 61 is adjusting screw(rod), 62 is guide post, and 63 is electric device, and 64 is the motorized adjustment gauge tap, 65 is power supply, 66 is drive mechanism, and 67 is remote controller, and 68 is circuit, 69 are the trip bolt through hole, and 70 is edge.
101 is hard palate, and 102 is soft palate, and 103 is nasopharynx part, 104 is the rear end of soft palate, and 105 is epiglottis, and 106 is esophagus, 107 is trachea, and 108 is the front end of soft palate, and 109 are a support bone, 110 is nasal cavity, and 111 is the oral cavity, and 112 is tongue, 113 is hard palate-soft palate demarcation line, 114 is the root of the tongue, and 115 is adjustable soft palate support of this utility model, and 116 is securing member.
The specific embodiment
Understand this utility model for convenience, now in conjunction with the pathogeny that OSAHS is described referring to figs. 1 to Fig. 3.
Fig. 1 is a human body head side sectional view when nasal respiration.The people is when breathing, and soft palate (102) is sagging naturally, and epiglottis (105) is opened, and through the oral cavity (111), enters trachea (107) when air can or open mouth breathing by nasal cavity (110).
Fig. 2 is a human body head side sectional view when swallowing.The people is when swallowing, and soft palate (102) pastes backward, sealing nasopharynx part (103); The trachea (107) of epiglottis (105) sealing simultaneously, food is through the pharyngeal esophagus (106) that enters.
Mechanism figure when Fig. 3 is OSAHS patient's morbidity.When OSAHS patient slept morbidity, the upper respiratory tract soft tissue subsided, and blocked upper respiratory tract, caused hypoventilation, even suffocated.Particularly, when OSAHS takes place, patient's soft palate (102) subsides backward and causes passage between soft palate (102) and the nasopharynx part (103) narrow or sealed this passage, simultaneously root of the tongue soft tissue subsides and has caused passage between the root of the tongue (114) and the soft palate (102) narrow or sealed this passage, thereby hypoventilation when causing breathing perhaps suffocates.Also there is part of O SAHS patient directly to cause passage between soft palate (102) and the nasopharynx part (103) narrow or sealed this passage because of soft palate (102) subsides, also, soft palate (102) directly caused passage between the root of the tongue (114) and the soft palate (102) narrow or sealed this passage simultaneously because of subsiding, thereby hypoventilation when causing breathing perhaps suffocates.
Cause the pathogenesis of snoring and OSAHS at this lax subsiding because of the soft palate part, the thinking that this utility model is treated this disease is: design a kind of implant, one end is fixed on the hard palate, one end is implanted in the soft palate, with the hard palate strong point, root soft tissue behind lax soft palate that subsides and the part tongue is held up.By holding up soft palate, changed the axis when soft palate swing naturally, thereby the air flue when having enlarged pharyngeal breathing reaches the purpose for the treatment of snoring and OSAHS to root of the tongue direction.Because swallowing act is more frequent under the non-sleep state, when particularly taking food; And when sleep swallowing act less, so we disclose a kind of adjustable soft palate support in this utility model.
Adjustable soft palate support of this utility model is with being made up of hard palate link (1) and supporter (2) in the flat implant of the medium-term and long-term material manufacture of implanting of human body.Described supporter (2) is the flat implant that can insert in the soft palate; Described hard palate link (1) is provided with the supporter (115) that is used for this utility model and is fixed on the syndeton (11) on the hard palate and the governor motion (12) of the picking-up degree of the kinestate of control supporter (2) or crooked radian or soft palate; Supporter (2) is connected on the hard palate link (1), and hard palate link (1) is gone up the kinestate of governor motion (12) the control supporter (2) that is provided with or the picking-up degree of crooked radian or soft palate.
Adjustable soft palate support of this utility model is fixed on the hard palate (101) owing to hard palate link (1), supporter (2) is implanted in the flesh layer of soft palate, with hard palate (101) strong point, with the part soft tissue picking-up of lax soft palate (102) that subsides and tongue back root part.By holding up soft palate, changed the axis when soft palate swing naturally, thereby the air flue when having enlarged pharyngeal breathing reaches the purpose for the treatment of snoring and OSAHS to root of the tongue direction.Swallowing act is more frequent under the non-sleep state, when particularly taking food, can make the governor motion (12) of adjustable soft palate support be in "open" state, the supporter of implanting in the soft palate (2) can move with the swing naturally of soft palate (102), reduces the interference to swallowing act; And before the sleep state, the governor motion (12) of adjustable soft palate support is in the state of pass, and the supporter of implanting in the soft palate (2) can hold up soft palate, by holding up soft palate to root of the tongue direction, changed the axis when soft palate is swung naturally, thus the air flue when having enlarged pharyngeal breathe.Thereby avoided the generation of snoring and OSAHS.
Further, this utility model has also designed adjustable soft palate support that stepping is regulated and can be regulated continuously, regulate the control key (125) that is implanted on the hard palate by finger or the tip of the tongue or remote switch like this, just the supporter of implanting in the soft palate (2) can be adjusted in the appropriate location, what both kept that non-sleep state following time swallows is normal, can guarantee effectively to hold up soft palate again under sleep state, upper respiratory tract is unobstructed when keeping sleep, has avoided the generation of snoring and OSAHS.
Adjustable soft palate support deft design of this utility model both can be performed the operation under local anesthesia, also can be in the liquor-saturated operation down of general anesthesia.During operation, according to the snoring and the OSAHS order of severity, select adjustable soft palate support body of this utility model of different sizes, only need at little otch of 2mm~20mm of oral cavity hard palate place incision, the hard palate link (1) of adjustable soft palate support of this utility model is fixed on the hard palate (101), and supporter (2) inserts in the flesh layer of soft palate (102), sews up the incision and can finish operation.Realized the purpose of Minimally Invasive Surgery treatment snoring and OSAHS.Clinical practice proves, adopts the apparatus of method of the present utility model and implantation, and it is little to have wound, recovers fast, instant effect, the reliable advantage of curative effect.Particularly operation back patient can to reach optimum therapeuticing effect and level of comfort, be subjected to patient's welcome deeply according to the degree of feeling to regulate easily soft palate support picking-up soft palate of self.
Embodiment 1: the adjustable soft palate support of the push-down of this utility model
According to the technical scheme of this utility model, selection can according to the general processing technique of titanium goods, be made the product of this utility model at medium-term and long-term medical grade titanium and the medical titanium alloy of implanting of human body.
To Fig. 9, the basic structure of the adjustable soft palate support of push-down of this utility model is as follows with reference to figure 8:
Supporter (2), adopting thickness is the titanium mesh of 0.6mm~1mm, with the titanium mesh bending, make it to have with the human body soft palate radian that the natural torsion degree when lax is complementary, and at titanium mesh processing micro-through-hole (21), micro-through-hole (21) diameter makes things convenient for the tissue growth infiltration between 0.5mm~2mm.
Hard palate link (1): adopt titanium to make hard palate link (1).
Syndeton (11): in the present embodiment, going up processing at hard palate link (1) can be the through hole of the screw of 4mm by diameter, as syndeton (11).Adjustable soft palate support (115) of this utility model can be fixed on the hard palate (101) with titanium system trip bolt (116) by access node structure (11).
Governor motion (12): in the present embodiment, governor motion in the present embodiment (12) adopts spring push-rod formula construction of switch.Constituted governor motion (12) by push rod (50), turning cylinder (51), back-moving spring (52), adjusting rod (60), locating piece (58), housing (124), medical flexible material membrane (126) etc.Wherein, push rod (50) had both been formed construction of switch (121) with back-moving spring (52), adjusting rod (60) etc., was again to regulate control key (125).
During non-sleep state, push push rod (50) to the front tooth direction, the governor motion (12) on the hard palate link (1) is in "open" state, and supporter (2) moving axis (51) that can rotate freely rotates, thereby supporter (2) can the unconfined swing with the swing of soft palate, with reference to figure 8.
Before the sleep, with the finger or the tip of the tongue, push push rod (50) to root of the tongue direction, governor motion (12) on the hard palate link (1) is in "off" state, supporter (2) suffers restraints, the moving axis (51) that can not rotate freely rotates, thereby by supporter (2) soft palate is held up to root of the tongue direction, has changed the axis of soft palate swing.The soft tissue of soft palate still can be swung within the specific limits, but it is the both sides of supporting surface that swing is constrained on supporter (2), thereby by holding up soft palate and part root of the tongue portion, has enlarged pharyngeal respiratory tract, reach the purpose of treatment snoring and OSAHS, with reference to figure 9.
In addition, the material that can be used to make supporter (2) includes but not limited to: titanium, titanium alloy, Nitinol alloy, medical stainless steel, other medical metal materials and medical macromolecular materials etc. can be at the medium-term and long-term materials of implanting of human body.
The material that can be used to make hard palate link (1) includes but not limited to: titanium, titanium alloy, Nitinol alloy, medical stainless steel, other medical metal materials and medical macromolecular materials etc. can be at the medium-term and long-term materials of implanting of human body.
The flexible high molecular material that can be used to make medical flexible material membrane (126) includes but not limited to: medical silica-gel, medical polyurethane etc. can be at the medium-term and long-term elasticity macromolecular materials of implanting of human body.
The material that can be used to make securing member (116) includes but not limited to: titanium, titanium alloy, Nitinol alloy, medical stainless steel, other medical metal materials and medical macromolecular materials etc. can be at the medium-term and long-term materials of implanting of human body.
Embodiment 2: the adjustable soft palate support of double-button formula of this utility model
According to the technical scheme of this utility model, selection can according to the general processing technique of medical metal goods, be made the product of this utility model at the medium-term and long-term medical metal material of implanting of human body.
With reference to figures 10 to Figure 11, the basic structure of the adjustable soft palate support of double-button formula of this utility model is as follows:
Supporter (2), adopting thickness is the Ti-Ni marmem plate of 0.6mm~1mm, by the typing heat treatment, make the Ti-Ni marmem plate have with the human body soft palate radian that the natural torsion degree when lax is complementary, and, make things convenient for tissue growth to adhere at its surface manufacturing asperity or matsurface (22).
Hard palate link (1): adopt titanium to make hard palate link (1).
Syndeton (11): in the present embodiment, going up processing at hard palate link (1) can be the through hole of the screw of 4mm by diameter, as syndeton (11).Adjustable soft palate support (115) of this utility model can be fixed on the hard palate (101) with titanium system trip bolt (116) by syndeton (11).
Governor motion (12): in the present embodiment, governor motion in the present embodiment (12) adopts double-button formula construction of switch.By button (53) near the front tooth direction, near the button (54) of root of the tongue direction, stepping locating piece (55), turning cylinder (51), back-moving spring (52), adjusting rod (60), locating piece (58), housing (124), medical flexible material membrane (126) etc. have constituted governor motion (12).Wherein, near the button (53) of front tooth direction, near the button (54) of root of the tongue direction, both having formed construction of switch (121) with back-moving spring (52), adjusting rod (60), stepping locating piece (55) etc., is again to regulate control key (125).
During non-sleep state, when pressing the button (53) near the front tooth direction, the governor motion (12) on the hard palate link (1) is in "open" state, and supporter (2) moving axis (51) that can rotate freely rotates, thereby supporter (2) can the unconfined swing with the swing of soft palate, with reference to Figure 10.
Before the sleep, when pressing the button (54) of close root of the tongue direction, governor motion (12) on the hard palate link (1) is in "off" state, supporter (2) suffers restraints, the moving axis (51) that can not rotate freely rotates, thereby by supporter (2) soft palate is held up to root of the tongue direction, changed the axis of soft palate swing.The soft tissue of soft palate still can be swung within the specific limits, but it is the both sides of supporting surface that swing is constrained on supporter (2), thereby by holding up soft palate and part root of the tongue portion, has enlarged pharyngeal respiratory tract, reach the purpose of treatment snoring and OSAHS, with reference to Figure 11.
Embodiment 3: the adjustable soft palate support of rotation stepping formula of this utility model
According to the technical scheme of this utility model, selection can according to the general processing technique of medical metal goods, be made the product of this utility model at the medium-term and long-term medical metal material of implanting of human body.
With reference to figures 10 to Figure 11, the basic structure of the adjustable soft palate support of double-button formula of this utility model is as follows:
Supporter (2), adopting thickness is the Ti-Ni marmem plate of 0.6mm~1mm, and at metallic plate processing micro-through-hole (21), micro-through-hole (21) diameter is between 0.5mm~2mm, to make things convenient for the tissue growth infiltration.By the typing heat treatment, make the Ti-Ni marmem plate have with the human body soft palate radian that the natural torsion degree when lax is complementary.
Hard palate link (1): adopt titanium to make hard palate link (1).
Syndeton (11): in the present embodiment, going up processing at hard palate link (1) can be the through hole of the screw of 4mm by diameter, as syndeton (11).Adjustable soft palate support (115) of this utility model can be fixed on the hard palate (101) with titanium system trip bolt (116) by access node structure (11).
Governor motion (12): in the present embodiment, governor motion in the present embodiment (12) adopts rotary switch stepping formula structure.Constituted governor motion (12) by rotating rotation by-pass cock (56), stepping locating piece (55), turning cylinder (51), back-moving spring (52), adjusting rod (60), locating piece (58), housing (124), medical flexible material membrane (126) etc.Wherein, rotating rotation by-pass cock (56), both formed construction of switch (121) with stepping locating piece (55), back-moving spring (52), adjusting rod (60) etc., is again to regulate control key (125).
During non-sleep state, rotate rotation by-pass cock (56), supporter (2) can be moved in a big way, be that governor motion (12) on the hard palate link (1) is in "open" state, supporter (2) moving axis (51) that can rotate freely rotates, thereby supporter (2) can the unconfined swing with the swing of soft palate, with reference to Figure 12.
Before the sleep, rotate rotation by-pass cock (56), make the motion of supporter (2) be limited in small range, promptly the governor motion (12) on the hard palate link (1) is in "off" state, corresponding to different gears, supporter (2) is to the picking-up degree difference of soft palate.Because supporter (2) suffers restraints, the moving axis (51) that can not rotate freely rotates in a big way, thereby by supporter (2) soft palate is held up to root of the tongue direction, has changed the axis of soft palate swing.The soft tissue of soft palate still can be swung within the specific limits, but it is the both sides of supporting surface that swing is constrained on supporter (2), thereby by holding up soft palate and part root of the tongue portion, has enlarged pharyngeal respiratory tract, reach the purpose of treatment snoring and OSAHS, with reference to Figure 13.
Embodiment 4: the adjustable soft palate support of double-button double-shift type of this utility model
Governor motion in the present embodiment (12) adopts double-button double-shift type structure, and its structure is basic identical with embodiment 2, and its difference is:
The first, the afterbody of supporter (2) adopts elastic module (20) and the alternative mode of rigid matrix (40) to improve the compliance of the afterbody of supporter (2).
The second, governor motion (12) adopts double-button formula double-shift type structure, and stepping is regulated locating slot (57) and stepping locating piece (55) is manufactured on the parts, has three gears to regulate.Corresponding to different gears, the degree varies sample of the range of movement of supporter (2) and picking-up soft palate.
During non-sleep state, when pressing the button (53) near the front tooth direction, the governor motion (12) on the hard palate link (1) is in "open" state, and supporter (2) moving axis (51) that can rotate freely rotates, thereby supporter (2) can the unconfined swing with the swing of soft palate, with reference to Figure 14.
Before the sleep, when pressing the button (54) of close root of the tongue direction, the governor motion (12) on the hard palate link (1) is in " pass " state of different gears successively, and corresponding to different gears, supporter (2) is to the picking-up degree difference of soft palate.Because supporter (2) suffers restraints, the moving axis (51) that can not rotate freely rotates, thereby by supporter (2) soft palate is held up to root of the tongue direction, has changed the axis of soft palate swing.The soft tissue of soft palate still can be swung within the specific limits, is the both sides of supporting surface but swing is constrained on supporter (2), thereby by holding up soft palate and part root of the tongue portion, has enlarged pharyngeal respiratory tract, reaches the purpose of treatment snoring and OSAHS.
Embodiment 5: the soft palate support that the rectilinear translation formula of this utility model is regulated continuously
The characteristics of present embodiment are: governor motion (12) adopts slide block type continuous regulation mechanism (123), regulates the degree that supporter (2) holds up soft palate continuously by parallel the moving of slide block (59).
In addition, the elastic module (20) of the afterbody of supporter (2) has adopted the solid matter helical spring structure.
During non-sleep state, push slide block (59) open to front tooth direction straight line, supporter (2) can be moved in a big way, be that governor motion (12) on the hard palate link (1) is in "open" state, supporter (2) moving axis (51) that can rotate freely rotates, thereby supporter (2) can the unconfined swing with the swing of soft palate, with reference to Figure 16.
During sleep state, push slide block (59) open to root of the tongue direction straight line, make the motion of supporter (2) be limited in small range, promptly the governor motion (12) on the hard palate link (1) is in "off" state, corresponding to different gears, supporter (2) is to the picking-up degree difference of soft palate.Because supporter (2) suffers restraints, the moving axis (51) that can not rotate freely rotates in a big way, thereby by supporter (2) soft palate is held up to root of the tongue direction, has changed the axis of soft palate swing.The soft tissue of soft palate still can be swung within the specific limits, but it is the both sides of supporting surface that swing is constrained on supporter (2), thereby by holding up soft palate and part root of the tongue portion, has enlarged pharyngeal respiratory tract, reach the purpose of treatment snoring and OSAHS, with reference to Figure 17.
Embodiment 6: the soft palate support that the screw thread of this utility model is regulated continuously
Difference in the present embodiment is: governor motion (12) adopts the screw thread detent mechanism, by rotating adjusting screw(rod) (61), can control the kinestate or the crooked radian of described supporter (2) easily, or the picking-up degree of control soft palate.
In addition, the elastic module (20) of the afterbody of supporter (2) has adopted the medical flexible macromolecular material to coat the solid matter helical spring structure.
The governor motion of present embodiment (12) has constituted governor motion (12) by rotating adjusting screw(rod) (61), guide post (62), positioning sliding block (59), locating piece (58), turning cylinder (51), adjusting rod (60), housing (124), medical flexible material membrane (126) etc.Wherein, adjusting screw(rod) (61) had both been formed continuous regulation mechanism (123) with guide post (62), positioning sliding block (59), locating piece (58) adjusting rod (60) etc., was again to regulate control key (125), with reference to Figure 18.
During non-sleep state, to external rotation adjusting screw(rod) (61), supporter (2) can be moved in a big way, be that governor motion (12) on the hard palate link (1) is in "open" state, supporter (2) moving axis (51) that can rotate freely rotates, thereby supporter (2) can the unconfined swing with the swing of soft palate, with reference to Figure 18.
Before the sleep, to internal rotation adjusting screw(rod) (61), make the motion of supporter (2) be limited in small range, promptly the governor motion (12) on the hard palate link (1) is in "off" state, corresponding to different gears, supporter (2) is to the picking-up degree difference of soft palate.Because supporter (2) suffers restraints, the moving axis (51) that can not rotate freely rotates in a big way, thereby by supporter (2) soft palate is held up to root of the tongue direction, has changed the axis of soft palate swing.The soft tissue of soft palate still can be swung within the specific limits, is the both sides of supporting surface but swing is constrained on supporter (2), thereby by holding up soft palate and part root of the tongue portion, has enlarged pharyngeal respiratory tract, reaches the purpose of treatment snoring and OSAHS.With reference to Figure 19.
Embodiment 7: the soft palate support of the motorized adjustment of this utility model
Governor motion in the present embodiment (12) adopts electronic detent mechanism, be made up of power supply (65), circuit (68), electric device (63), drive mechanism (66), motorized adjustment gauge tap (64), power supply (65), circuit (68), electric device (63) and drive mechanism (66) are built in the housing (124) of governor motion.Motorized adjustment gauge tap (64) is arranged on the housing (124), is coated by medical flexible material membrane (126).
During non-sleep state, press motorized adjustment gauge tap (64), under the driving of built-in power (65) and circuit (68), electric device (63) can move supporter (2) by drive mechanism (66) in a big way, be that governor motion (12) on the hard palate link (1) is in "open" state, supporter (2) moving axis (51) that can rotate freely rotates, thereby supporter (2) can the unconfined swing with the swing of soft palate.With reference to Figure 20.
Before the sleep, press motorized adjustment gauge tap (64), under the control and driving of built-in power (65) and circuit (68), electric device (63) can move supporter (2) by drive mechanism (66) in more among a small circle, be that governor motion (12) on the hard palate link (1) is in "off" state, supporter (2) holds up soft palate.Because supporter (2) suffers restraints, the moving axis (51) that can not rotate freely rotates in a big way, thereby by supporter (2) soft palate is held up to root of the tongue direction, has changed the axis of soft palate swing.The soft tissue of soft palate still can be swung within the specific limits, but it is the both sides of supporting surface that swing is constrained on supporter (2), thereby by holding up soft palate and part root of the tongue portion, has enlarged pharyngeal respiratory tract, reach the purpose of treatment snoring and OSAHS, with reference to Figure 21.
In addition, present embodiment can be modified to and is remote controller control, and circuit (68) and motorized adjustment gauge tap (64) are transformed according to the wireless remote control mode, promptly can control by remote controller (67), with reference to Figure 22 to Figure 23.
Embodiment 8: the adjustable soft palate support of the combination type of this utility model
The difference of present embodiment is that hard palate link (1) and supporter (2) can implant clinically by stages.
At first, hard palate link (1) is fixed on the hard palate (101) by securing member (116).After hard palate link (1) is implanted 3 months to 6 months, fixing firm between hard palate link (1) and the hard palate (101), once perform the operation again, supporter (2) is inserted in the soft palate (102), simultaneously the near-end of supporter (2) is cooperated by the convex-concave card with the governor motion (12) of hard palate link (1) or link together by securing member.Such benefit is being connected firmly between hard palate link (1) and the hard palate (101), and bad part is to carry out two operations, increases patient's medical expense, with reference to Figure 26 to Figure 29, and Fig. 5 to Fig. 7.
The design of the supporter of the combination type this utility model of Zhi Ruing has convex-concave card fitting-type (with reference to Figure 26 to Figure 27) or securing member connecting-type (with reference to Figure 28, Figure 29) by stages.
The adjustable soft palate support of the combination type of this utility model is provided with on the governor motion (12) of hard palate link (1) with the near-end of supporter (2) can form the syndeton that card cooperates, supporter (2) can be fixed on the hard palate link (1), with reference to Figure 26 to Figure 27 easily.
In addition, the adjustable soft palate support of the combination type of this utility model is provided with the mechanism that the near-end with supporter (2) links together by securing member on the governor motion (12) of hard palate link (1).The securing member that adopts mostly is titanium screw or rivet or locating piece.With reference to Figure 28, Figure 29.
In addition, in order to improve the rigidity of supporter (2), the cross section of the supporter of flat (2) can be an arc, or Concha Arcae shape, or uses the conventional method of the rigidity of increase flat objects such as reinforcement.
Should be noted that herein openly can replace with the identical structure of other effect that the embodiment that while this utility model is introduced realizes unique structure of the present utility model with the structure of explanation.Though preferential embodiment of the present utility model is introduced in this article and is illustrated; but those skilled in the art know and know that these embodiment illustrate; those skilled in the art can make countless variations, improvement and replacement; and can not break away from this utility model; therefore, should be according to the next qualification protection domain of the present utility model of the spirit and scope of this utility model appending claims.

Claims (21)

1. adjustable soft palate support is with comprising in the flat implant of the medium-term and long-term material manufacture of implanting of human body:
Supporter (2) is the flat implant that can insert in the soft palate; And
Hard palate link (1) is connected to hard palate with described supporter (2);
Described hard palate link (1) comprising:
Syndeton (11) is configured such that described hard palate link (1) is fixed in hard palate;
Governor motion (12) is set to control the kinestate or the crooked radian of described supporter (2), or controls the picking-up degree of soft palate.
2. adjustable soft palate support according to claim 1 is characterized in that: described supporter (2) has with the human body soft palate radian that the natural torsion degree when lax is complementary.
3. adjustable soft palate support according to claim 1, it is characterized in that: the syndeton (11) on the described hard palate link (1) comprises the structure of following type at least: pass structure, U type clamping structure, button-type structure, rivet type structure, and self-expanding latching structure.
4. adjustable soft palate support according to claim 1 is characterized in that: the governor motion (12) on the described hard palate link (1) is to comprise the switching mechanism (121) that opens or closes two states.
5. adjustable soft palate support according to claim 4 is characterized in that: the construction of switch (121) of described governor motion (12) comprises following structure at least: singly-bound construction of switch or double-button switch structure.
6. adjustable soft palate support according to claim 1 is characterized in that: the governor motion (12) on the described hard palate link (1) is the mechanism that can stepping regulates the picking-up degree of the kinestate of supporter (2) or crooked radian or soft palate.
7. adjustable soft palate support according to claim 6 is characterized in that the governor motion (12) on the described hard palate link (1) comprises one grade, the stepping governor motion (122) that second gear or second gear are above.
8. adjustable soft palate support according to claim 1 is characterized in that: the governor motion (12) on the described hard palate link (1) is the mechanism that can regulate the picking-up degree of the kinestate of supporter (2) or crooked radian or soft palate continuously.
9. adjustable soft palate support according to claim 8 is characterized in that: the governor motion (12) on the described hard palate link (1) comprises by rotatablely moving or rectilinear motion is regulated the continuous regulation mechanism (123) that supporter (2) holds up the soft palate degree continuously.
10. adjustable soft palate support according to claim 1 is characterized in that, described hard palate link (1) also comprises: housing (124), described governor motion (12) is installed in the housing (124).
11. adjustable soft palate support according to claim 1, it is characterized in that, governor motion (12) on the described hard palate link (1) comprising: regulate control key (125), be installed on the housing (124), described adjusting control key (125) is gone up the flexible high molecular material film (126) that covering can be implanted in human body.
12. adjustable soft palate support according to claim 11, it is characterized in that: the flexible high molecular material film (126) that can implant in human body is housed on the described housing (124), covers in the described flexible high molecular material film (126) on the described adjusting control key (125).
13. adjustable soft palate support according to claim 1 is characterized in that: described supporter (2) is a flat thing with holes or not with holes.
14. adjustable soft palate support according to claim 1, it is characterized in that: described supporter (2) is to be selected from following at least structure: cross section is the flat thing of arc, cross section is the flat thing of Concha Arcae shape, and the flat thing of band reinforcement.
15. adjustable soft palate support according to claim 1 is characterized in that: described supporter (2) is provided with at least one elastic module (20).
16. adjustable soft palate support according to claim 15 is characterized in that: described elastic module (20) be can be out of shape under external force and behind the external force removal, can recover again to be out of shape before the mechanism or the object of shape.
17. adjustable soft palate support according to claim 15 is characterized in that: described elastic module (20) comprises following structure at least: elasticity macromolecular material thin plate or band or film, spring structure, the spring structure that is coated by flexible high molecular material.
18. adjustable soft palate support according to claim 1 is characterized in that: described supporter (2) is provided with at least one rigid matrix (40).
19. adjustable soft palate support according to claim 18, it is characterized in that: described rigid matrix (40) is that certain support force is arranged, but the mechanism or the object of shape before can not recovering to be out of shape after under excessive external force effect, plastic deformation, external force removal taking place.
20. adjustable soft palate support according to claim 1 is characterized in that: the capable of being combined or mounting or dismounting ground of described supporter (2) is connected with hard palate link (1).
21. adjustable soft palate support according to claim 1 is characterized in that: the length that described supporter (2) inserts soft palate (102) the soft palate total length 1/5 to 4/5 between, its best length of inserting is between 2/3 to 3/4.
CN2009201955211U 2009-09-27 2009-09-27 Adjustable soft palate support Expired - Lifetime CN201542776U (en)

Priority Applications (1)

Application Number Priority Date Filing Date Title
CN2009201955211U CN201542776U (en) 2009-09-27 2009-09-27 Adjustable soft palate support

Applications Claiming Priority (1)

Application Number Priority Date Filing Date Title
CN2009201955211U CN201542776U (en) 2009-09-27 2009-09-27 Adjustable soft palate support

Publications (1)

Publication Number Publication Date
CN201542776U true CN201542776U (en) 2010-08-11

Family

ID=42597934

Family Applications (1)

Application Number Title Priority Date Filing Date
CN2009201955211U Expired - Lifetime CN201542776U (en) 2009-09-27 2009-09-27 Adjustable soft palate support

Country Status (1)

Country Link
CN (1) CN201542776U (en)

Cited By (6)

* Cited by examiner, † Cited by third party
Publication number Priority date Publication date Assignee Title
CN102048606A (en) * 2011-01-24 2011-05-11 山东大学 Mouth breathing corrector and preparation method thereof
CN102028559B (en) * 2009-09-27 2013-07-17 张湘民 Adjustable soft palate supporting body
CN103920217A (en) * 2014-05-09 2014-07-16 丁正年 Tongue root draw hook
CN104434379A (en) * 2013-09-16 2015-03-25 张湘民 Tunnel type tongue back connecting mechanism applied to tongue-back elastic traction device
WO2018082449A1 (en) * 2016-11-07 2018-05-11 周星 Navigation and positioning device for tongue body ablation surgery and surgical instrument matching therewith
CN116269829A (en) * 2023-02-13 2023-06-23 中国人民解放军中部战区总医院 Soft palate support protection device

Cited By (6)

* Cited by examiner, † Cited by third party
Publication number Priority date Publication date Assignee Title
CN102028559B (en) * 2009-09-27 2013-07-17 张湘民 Adjustable soft palate supporting body
CN102048606A (en) * 2011-01-24 2011-05-11 山东大学 Mouth breathing corrector and preparation method thereof
CN104434379A (en) * 2013-09-16 2015-03-25 张湘民 Tunnel type tongue back connecting mechanism applied to tongue-back elastic traction device
CN103920217A (en) * 2014-05-09 2014-07-16 丁正年 Tongue root draw hook
WO2018082449A1 (en) * 2016-11-07 2018-05-11 周星 Navigation and positioning device for tongue body ablation surgery and surgical instrument matching therewith
CN116269829A (en) * 2023-02-13 2023-06-23 中国人民解放军中部战区总医院 Soft palate support protection device

Similar Documents

Publication Publication Date Title
US11980568B2 (en) Devices, systems and methods for the treatment of sleep apnea
JP5481487B2 (en) Adjustable soft palate support and implantation method
CN201542776U (en) Adjustable soft palate support
CN101385668B (en) Embedded soft palate supporter and embedding method thereof
CN102028559B (en) Adjustable soft palate supporting body
CN102836017B (en) The soft palate support and method for implantation of layer structure
CN101732108B (en) High-flexibility soft palate support
CN201320227Y (en) Implanted soft palate support body and implanting method thereof
CN201492543U (en) High flexibility soft palate supporting element
HK1160757A (en) Adjustable support for soft palate and implanting method thereof
KR20090062087A (en) Cleft Palate and Graft for Treatment of Snoring and Sleep Apnea

Legal Events

Date Code Title Description
C14 Grant of patent or utility model
GR01 Patent grant
AV01 Patent right actively abandoned

Granted publication date: 20100811

Effective date of abandoning: 20090927

RGAV Abandon patent right to avoid regrant