CN201427119Y - An online descaling device for the surface of a glass electrode - Google Patents
An online descaling device for the surface of a glass electrode Download PDFInfo
- Publication number
- CN201427119Y CN201427119Y CN2009201237714U CN200920123771U CN201427119Y CN 201427119 Y CN201427119 Y CN 201427119Y CN 2009201237714 U CN2009201237714 U CN 2009201237714U CN 200920123771 U CN200920123771 U CN 200920123771U CN 201427119 Y CN201427119 Y CN 201427119Y
- Authority
- CN
- China
- Prior art keywords
- mixing tube
- fine sand
- communicates
- glass electrode
- return
- Prior art date
- Legal status (The legal status is an assumption and is not a legal conclusion. Google has not performed a legal analysis and makes no representation as to the accuracy of the status listed.)
- Expired - Fee Related
Links
Images
Landscapes
- Cleaning By Liquid Or Steam (AREA)
Abstract
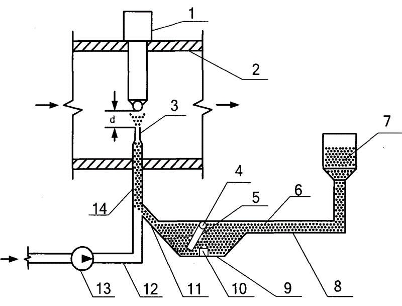
本实用新型涉及一种玻璃电极表面在线除垢装置。现有装置无法实现连续化的生产检测。本实用新型中混合管垂直穿透检测管道设置,混合管的底部与清洗液流通管连通,清洗液流通管上设置有水泵。混合管头部连接的喷嘴与玻璃电极位置对应。射流管的一端与混合管连通,另一端与止逆腔上部的一端连通,止逆腔上部的另一端与细砂流通管的一端连通,止逆腔内设置有止逆装置,细砂流通管的另一端与漏斗形的储砂罐的底部连通。本实用新型装置结构简单、不易损坏,既能够有效清除严重粘结的污垢,又不会引起电极的损坏,同时在线连续工作。
The utility model relates to an online descaling device for the surface of a glass electrode. Existing devices cannot realize continuous production testing. In the utility model, the vertical penetration detection pipeline of the mixing tube is arranged, the bottom of the mixing tube communicates with the cleaning liquid flow pipe, and the water pump is arranged on the cleaning liquid flow pipe. The nozzle connected to the head of the mixing tube corresponds to the position of the glass electrode. One end of the jet tube communicates with the mixing tube, the other end communicates with one end of the upper part of the non-reverse chamber, and the other end of the upper part of the non-reverse chamber communicates with one end of the fine sand circulation pipe. The other end communicates with the bottom of the funnel-shaped sand storage tank. The device of the utility model has a simple structure and is not easy to be damaged, and can effectively remove seriously bonded dirt without causing damage to electrodes, and works continuously on-line at the same time.
Description
技术领域 technical field
本实用新型属于检测技术领域,具体涉及一种玻璃电极表面污垢的自动喷砂在线除垢装置。The utility model belongs to the technical field of detection, in particular to an automatic sandblasting on-line descaling device for dirt on the surface of a glass electrode.
背景技术 Background technique
在冶金、化工、生物医学、环保等领域,大量使用玻璃电极来检测其生物化学参数,如酸碱度、钠离子浓度、生物酶等等。玻璃电极的检测原理,是通过被检测液体中的离子对电极端部玻璃的渗透所形成的电势来进行检测的。In metallurgy, chemical industry, biomedicine, environmental protection and other fields, a large number of glass electrodes are used to detect their biochemical parameters, such as pH, sodium ion concentration, biological enzymes and so on. The detection principle of the glass electrode is to detect through the potential formed by the penetration of the ions in the liquid to be detected to the glass at the end of the electrode.
在对生产过程的连续检测中,被检测液体会在玻璃电极表面逐渐积累而形成一层污垢。这层污垢会阻碍离子对玻璃电极的渗透,从而导致电极无法再进行正常的检测。传统的解决方法,是靠人工将电极拆卸下来、并用毛刷将污垢去除。但这种方法不仅麻烦,而且无法实现连续化的生产检测。因此,开发一种不需要将电极从检测装置上拆下来,能够在电极工作的同时对电极表面污垢进行有效清除装置,就成为连续化生产过程检测的重要任务。In the continuous detection of the production process, the detected liquid will gradually accumulate on the surface of the glass electrode to form a layer of dirt. This layer of dirt blocks the penetration of ions into the glass electrode, so that the electrode can no longer detect properly. The traditional solution is to manually disassemble the electrodes and remove the dirt with a brush. But this method is not only cumbersome, but also unable to achieve continuous production testing. Therefore, it has become an important task for continuous production process detection to develop a device that can effectively remove dirt on the electrode surface while the electrode is working without removing the electrode from the detection device.
发明内容 Contents of the invention
本实用新型的目的就是针对现有技术的不足,提供一种自动、在线式、除垢效果好、结构简单、使用方便的玻璃电极在线除垢装置。The purpose of the utility model is to provide an automatic, on-line glass electrode on-line descaling device with good descaling effect, simple structure and convenient use for the deficiencies of the prior art.
本实用新型包括水泵、喷嘴、混合管、清洗液流通管、射流管、止逆腔、细砂流通管、储砂罐。混合管垂直穿透检测管道的侧壁,并与检测管道密封连接,混合管的底部与清洗液流通管连通,清洗液流通管上设置有水泵;混合管头部收缩成圆台形,圆筒形的喷嘴固定设置在圆台形头部上;喷嘴设置在检测管道的内腔,并与玻璃电极位置对应;所述的止逆腔为圆筒形,两个端面为斜面,止逆腔的纵截面为倒置的梯形;射流管的一端与混合管连通,另一端与止逆腔上部的一端连通,止逆腔上部的另一端与细砂流通管的一端连通,止逆腔内设置有止逆装置;所述的细砂流通管为L形,细砂流通管的另一端与漏斗形的储砂罐的底部连通,储砂罐内盛有细沙;The utility model comprises a water pump, a nozzle, a mixing pipe, a cleaning liquid circulation pipe, a jet pipe, a non-reverse chamber, a fine sand circulation pipe and a sand storage tank. The mixing tube vertically penetrates the side wall of the detection pipeline and is sealed and connected with the detection pipeline. The bottom of the mixing tube communicates with the cleaning liquid flow pipe, and a water pump is arranged on the cleaning liquid flow pipe; the head of the mixing pipe shrinks into a frustum-shaped, cylindrical The nozzle is fixedly arranged on the frustum-shaped head; the nozzle is arranged in the inner cavity of the detection pipeline, and corresponds to the position of the glass electrode; It is an inverted trapezoid; one end of the jet tube communicates with the mixing tube, the other end communicates with one end of the upper part of the non-reverse chamber, the other end of the upper part of the non-reverse chamber communicates with one end of the fine sand flow pipe, and a non-reverse device is installed in the non-reverse chamber ; The fine sand flow pipe is L-shaped, the other end of the fine sand flow pipe communicates with the bottom of the funnel-shaped sand storage tank, and fine sand is filled in the sand storage tank;
所述的止逆装置包括挡板和挡块,挡板通过设置在止逆腔内壁顶部的销轴与止逆腔内壁连接,挡块为圆形,直径与止逆腔内壁直径匹配;挡块固定设置在止逆腔内壁底部,位置与销轴对应;挡板沿着细砂流动方向绕销轴转动,通过挡块限位,阻止细砂逆流。The non-return device includes a baffle and a stopper, the baffle is connected to the inner wall of the non-return chamber through a pin arranged on the top of the inner wall of the non-return chamber, the stopper is circular, and its diameter matches the diameter of the inner wall of the non-return chamber; the stopper It is fixedly installed at the bottom of the inner wall of the non-reverse cavity, and its position corresponds to the pin shaft; the baffle plate rotates around the pin shaft along the flow direction of the fine sand, and is limited by the stopper to prevent the fine sand from flowing backward.
本实用新型的优点是:1)本装置采用细砂喷射玻璃电极表面,既能够有效清除严重粘结的污垢,又不会引起电极的损坏。2)本装置采用射流技术,借助水流经过射流管时形成的真空,将细砂从射流管吸出,随清洗液一起喷到电极表面,结构简单,不易损坏。3)止逆腔的挡板,能有效挡住砂子的回流,既简单又实用。4)可实现玻璃电极一边工作、一边除垢的连续工作方式。The utility model has the advantages that: 1) the device uses fine sand to spray the surface of the glass electrode, which can effectively remove seriously bonded dirt without causing damage to the electrode. 2) The device adopts jet technology, and the fine sand is sucked out from the jet tube by the vacuum formed when the water flow passes through the jet tube, and sprayed onto the surface of the electrode together with the cleaning liquid. The structure is simple and not easy to damage. 3) The baffle plate of the non-reverse chamber can effectively block the backflow of sand, which is simple and practical. 4) It can realize the continuous working mode of descaling while the glass electrode is working.
附图说明 Description of drawings
图1为本实用新型结构示意图。Fig. 1 is the structural representation of the utility model.
具体实施方式 Detailed ways
如图1所示,玻璃电极表面在线除垢装置包括水泵13、喷嘴3、混合管14、清洗液流通管12、射流管11、止逆腔9、细砂流通管8、储砂罐7。混合管垂直穿透检测管道2的侧壁,并与检测管道2密封连接,混合管14的底部与清洗液流通管12连通,清洗液流通管12上设置有水泵13;混合管14头部收缩成圆台形,圆筒形的喷嘴3固定设置在圆台形头部上,喷嘴3的内径为5mm、高度为20mm;喷嘴3设置在检测管道2的内腔,并与玻璃电极1位置对应,喷嘴3与玻璃电极1底部的垂直距离为18mm;所述的止逆腔9为圆筒形,两个端面为斜面,止逆腔9的纵截面为倒置的梯形;射流管11的一端与混合管14连通,另一端与止逆腔9上部的一端连通,止逆腔9上部的另一端与细砂流通管8的一端连通,止逆腔9内设置有止逆装置;所述的细砂流通管8为L形,细砂流通管8的另一端与漏斗形的储砂罐7的底部连通,储砂罐7内盛有细沙6。As shown in Figure 1, the online descaling device on the glass electrode surface includes a
所述的止逆装置包括挡板5和挡块10,挡板5通过设置在止逆腔9内壁顶部的销轴4与止逆腔9内壁连接,挡块10为圆形,直径与止逆腔9内壁直径匹配;挡块10固定设置在止逆腔9内壁底部,位置与销轴4对应;挡板5沿着细砂流动方向绕销轴转动,通过挡块限位,阻止细砂逆流。The non-return device includes a
在需要对玻璃电极进行除垢的时候,当水泵开启,清洗液在水泵的压力下通过喷嘴射向玻璃电极表面,水流经过射流管时形成的真空,将细砂从射流管吸出,一起喷到电极表面,起到除垢作用。当水泵关闭,挡板在水的压力下会逆时针转动,挡在挡块上形成密闭,避免水和砂子倒流。When the glass electrode needs to be descaled, when the water pump is turned on, the cleaning liquid is sprayed on the surface of the glass electrode through the nozzle under the pressure of the water pump, and the vacuum formed when the water flows through the jet tube sucks the fine sand from the jet tube and sprays it together The surface of the electrode plays a descaling role. When the water pump is turned off, the baffle will rotate counterclockwise under the pressure of the water, and block on the block to form a seal, preventing water and sand from flowing backward.
喷射的细砂采用洁净石英砂、颗粒直径控制在0.1mm~0.5mm之间。水泵采用一般离心泵,流量2L/min以上、扬程5米以上。例如可选用14CQ-5型离心泵,其口径10mm、扬程5米、流量2L/min、功率0.12KW、转速2800r/min、电压380V。The sprayed fine sand is clean quartz sand, and the particle diameter is controlled between 0.1mm and 0.5mm. The water pump adopts a general centrifugal pump, with a flow rate of more than 2L/min and a lift of more than 5 meters. For example, a 14CQ-5 centrifugal pump can be used, with a diameter of 10mm, a head of 5 meters, a flow rate of 2L/min, a power of 0.12KW, a speed of 2800r/min, and a voltage of 380V.
Claims (1)
Priority Applications (1)
| Application Number | Priority Date | Filing Date | Title |
|---|---|---|---|
| CN2009201237714U CN201427119Y (en) | 2009-07-06 | 2009-07-06 | An online descaling device for the surface of a glass electrode |
Applications Claiming Priority (1)
| Application Number | Priority Date | Filing Date | Title |
|---|---|---|---|
| CN2009201237714U CN201427119Y (en) | 2009-07-06 | 2009-07-06 | An online descaling device for the surface of a glass electrode |
Publications (1)
| Publication Number | Publication Date |
|---|---|
| CN201427119Y true CN201427119Y (en) | 2010-03-24 |
Family
ID=42030845
Family Applications (1)
| Application Number | Title | Priority Date | Filing Date |
|---|---|---|---|
| CN2009201237714U Expired - Fee Related CN201427119Y (en) | 2009-07-06 | 2009-07-06 | An online descaling device for the surface of a glass electrode |
Country Status (1)
| Country | Link |
|---|---|
| CN (1) | CN201427119Y (en) |
Cited By (3)
| Publication number | Priority date | Publication date | Assignee | Title |
|---|---|---|---|---|
| CN101587090B (en) * | 2009-07-06 | 2012-12-05 | 杭州电子科技大学 | Online desludging apparatus for glass electrode surfaces |
| CN104422723A (en) * | 2013-09-02 | 2015-03-18 | 株式会社堀场制作所 | Glass-electrode-responsive-glass cleaning liquid and method for cleaning glass-electrode responsive-glass |
| CN113926786A (en) * | 2021-08-27 | 2022-01-14 | 华能南京金陵发电有限公司 | Electrode cleaning treatment equipment for ion concentration measurement |
-
2009
- 2009-07-06 CN CN2009201237714U patent/CN201427119Y/en not_active Expired - Fee Related
Cited By (4)
| Publication number | Priority date | Publication date | Assignee | Title |
|---|---|---|---|---|
| CN101587090B (en) * | 2009-07-06 | 2012-12-05 | 杭州电子科技大学 | Online desludging apparatus for glass electrode surfaces |
| CN104422723A (en) * | 2013-09-02 | 2015-03-18 | 株式会社堀场制作所 | Glass-electrode-responsive-glass cleaning liquid and method for cleaning glass-electrode responsive-glass |
| CN113926786A (en) * | 2021-08-27 | 2022-01-14 | 华能南京金陵发电有限公司 | Electrode cleaning treatment equipment for ion concentration measurement |
| CN113926786B (en) * | 2021-08-27 | 2024-04-30 | 华能南京金陵发电有限公司 | Electrode cleaning treatment equipment for ion concentration measurement |
Similar Documents
| Publication | Publication Date | Title |
|---|---|---|
| CN201427119Y (en) | An online descaling device for the surface of a glass electrode | |
| CN201940404U (en) | Automatic cleaning and sterilizing device for saccharifying tank | |
| CN102735502A (en) | Aquaculture water quality sampling device with sensor cleaning function | |
| CN101587090B (en) | Online desludging apparatus for glass electrode surfaces | |
| CN205074310U (en) | Laboratory cell culture changes bottle and washs device | |
| CN204778922U (en) | Dissolve air supporting system entirely | |
| CN202700160U (en) | Rake thickener | |
| CN203621044U (en) | Waterpower self-rotating type tank washing device | |
| CN206997203U (en) | Foundry goods belt cleaning device | |
| CN205239463U (en) | A intelligent dust device for building site engineering vehicle | |
| CN203990180U (en) | A kind of water pot dust arrester | |
| CN204588724U (en) | A siphon pulse water distributor | |
| CN204093762U (en) | A kind of cleaning shower for automatic rinser | |
| CN206464533U (en) | A kind of investment cast cleaning equipment | |
| CN206910886U (en) | A kind of second pond with accurate addition medicament function inhales mud scraper | |
| CN204699459U (en) | A kind of central transmission concentrator | |
| CN204281587U (en) | Ito glass etching soaking compartment | |
| CN203343896U (en) | Polishing and flushing device for glass | |
| CN202201836U (en) | Glaze spraying device | |
| CN103055638A (en) | High-effect cross flow washing pool | |
| CN209577066U (en) | A kind of Novel centrifuge rotary spraying device | |
| CN204984277U (en) | Device is maintained to ocean oil gas platform drill bit | |
| CN206857405U (en) | One kind is easy to cleaning type preparing tank | |
| CN206157880U (en) | Prefabricated pump station base with anti float, self -cleaning function | |
| CN204385296U (en) | A kind of device improving titanium band push pull pickling line pickling efficiency |
Legal Events
| Date | Code | Title | Description |
|---|---|---|---|
| C14 | Grant of patent or utility model | ||
| GR01 | Patent grant | ||
| C17 | Cessation of patent right | ||
| CF01 | Termination of patent right due to non-payment of annual fee |
Granted publication date: 20100324 Termination date: 20120706 |
