CN201226403Y - Whole-catching longitudinal push-pull type rf coaxial connector - Google Patents
Whole-catching longitudinal push-pull type rf coaxial connector Download PDFInfo
- Publication number
- CN201226403Y CN201226403Y CNU2008200708335U CN200820070833U CN201226403Y CN 201226403 Y CN201226403 Y CN 201226403Y CN U2008200708335 U CNU2008200708335 U CN U2008200708335U CN 200820070833 U CN200820070833 U CN 200820070833U CN 201226403 Y CN201226403 Y CN 201226403Y
- Authority
- CN
- China
- Prior art keywords
- socket
- plug
- shell
- outer conductor
- conductor
- Prior art date
- Legal status (The legal status is an assumption and is not a legal conclusion. Google has not performed a legal analysis and makes no representation as to the accuracy of the status listed.)
- Expired - Fee Related
Links
Images
Landscapes
- Coupling Device And Connection With Printed Circuit (AREA)
Abstract
本实用新型公开了一种全擒纵推拉式射频同轴连接器,由插头和插座组成,插头外导体的外圈上活动套装有可插入插座外壳的连接外壳,连接外壳前部设有爪形涨缩结构并在其前端设有外翻凸部,插座外壳的内壁上设有供连接外壳前端的外翻沿卡入配合的内凹结构;插头外导体的前端设有可被连接外壳的前端轴向顶止的外翻沿结构。本实用新型的插头与插座插合后无轴向窜动间隙,提高了产品的射频性能,而且插接和操作更加快捷,省时。
The utility model discloses a full escapement push-pull type radio frequency coaxial connector, which is composed of a plug and a socket. The outer ring of the outer conductor of the plug is movably fitted with a connecting shell that can be inserted into the socket shell. The front part of the connecting shell is provided with a claw-shaped Expansion-shrinking structure and a convex part at the front end, the inner wall of the socket shell is provided with an indented structure for snap-fitting of the valgus edge of the front end of the connection shell; the front end of the outer conductor of the plug is provided with a front end that can be connected to the shell The valgus edge structure with axial top stop. After the plug and socket of the utility model are mated, there is no axial movement gap, the radio frequency performance of the product is improved, and the plugging and operation are quicker and time-saving.
Description
技术领域 technical field
本实用新型涉及通讯连接器技术领域,尤其是一种全擒纵推拉式射频同轴连接器。The utility model relates to the technical field of communication connectors, in particular to a full escapement push-pull radio frequency coaxial connector.
背景技术 Background technique
现有射频连接器包括插头和插座,插头具有可插入插座内导体的插头内导体,插头还具有可插入插座外壳中的插头外导体,在某些情况下,需要保证插头与插座插合后不能松脱,现有的射频连接器的防松脱结构一般是靠螺纹连接实现的,操作比较麻烦。The existing radio frequency connector includes a plug and a socket. The plug has an inner conductor of the plug that can be inserted into the inner conductor of the socket, and the plug also has an outer conductor of the plug that can be inserted into the socket shell. In some cases, it is necessary to ensure that the plug cannot Loosening, the anti-loosening structure of the existing RF connectors is generally realized by threaded connection, and the operation is cumbersome.
实用新型内容Utility model content
本实用新型的目的在于提供一种插头与插座插合后轴向锁定、且解锁方便的全擒纵推拉式射频同轴连接器。The purpose of the utility model is to provide a full-escapement push-pull radio frequency coaxial connector which is axially locked after the plug and the socket are mated, and which is easy to unlock.
本实用新型的技术方案是:一种全擒纵推拉式射频同轴连接器,由插头和插座组成,插头具有同轴套装的插头内导体、插头绝缘体和插座外导体,插座内部设有与插头内导体插接配合的插座内导体,插座外部为可容插头外导体插入的插座外壳,插座外壳与插座内导体之间设有插座绝缘体和与插头外导体插接配合的接触头,所述插头外导体的外圈上活动套装有可插入插座外壳的连接外壳,连接外壳前部设有爪形涨缩结构并在其前端设有外翻凸部,插座外壳的内壁上设有供连接外壳前端的外翻沿卡入配合的内凹结构;插头外导体的前端设有可被连接外壳前端轴向顶止的外翻沿结构。The technical scheme of the utility model is: a full escapement push-pull radio frequency coaxial connector, which is composed of a plug and a socket. The inner conductor of the socket is mated with the inner conductor, and the outer part of the socket is a socket housing that can accommodate the insertion of the outer conductor of the plug. There is a socket insulator and a contact head that is mated with the outer conductor of the plug between the socket housing and the inner conductor of the socket. On the outer ring of the outer conductor, there is a connecting shell that can be inserted into the socket shell. The front part of the connecting shell is provided with a claw-shaped expansion and contraction structure and an outward protrusion at the front end. The valgus edge snaps into the matching concave structure; the front end of the outer conductor of the plug is provided with an valgus edge structure that can be axially stopped by the front end of the connecting shell.
所述连接外壳前端设置的外翻凸部为多个沿圆周分布的凸台,插座外壳内壁上内凹结构为与凸台配合的环形槽。The valgus protrusions provided at the front end of the connection housing are a plurality of bosses distributed along the circumference, and the concave structure on the inner wall of the socket housing is an annular groove matching with the bosses.
所述连接外壳前部的爪形涨缩结构为沿圆周分布的多条轴向通缝。The claw-shaped expansion-contraction structure connecting the front part of the housing is a plurality of axial through-slits distributed along the circumference.
所述插座的与插头外导体插接配合的接触头端部的插接配合面上设有凸部。A protruding portion is provided on the mating surface of the contact head end of the socket that is mated with the outer conductor of the plug.
本实用新型的插头与插座插合后无轴向窜动间隙,提高了产品的射频性能,而且插接和操作更加快捷,省时;插头与插座插合后,插头的连接外壳与插座外壳锁紧配合,当电缆受到外力作用时,插头外导体前端的外翻沿被连接外壳前端轴向顶止,插头不会从插座中脱落,当需要插头和插座分离时,需要拉动插头上的解锁机构——连接外壳,才能实现分离功能,操作起来简单、方便。这样可防止插头意外从插座上脱落,提高了连接的可靠性和安全性。The utility model has no axial movement gap after the plug and the socket are mated, which improves the radio frequency performance of the product, and the plugging and operation are faster and time-saving; after the plug and the socket are mated, the connecting shell of the plug and the socket shell are locked Tight fit, when the cable is subjected to external force, the valgus of the front end of the outer conductor of the plug will stop along the axial direction of the front end of the connected shell, and the plug will not fall off from the socket. When the plug and socket need to be separated, the unlocking mechanism on the plug needs to be pulled ——The separation function can only be realized by connecting the shell, which is simple and convenient to operate. This prevents the plug from accidentally falling out of the socket, increasing the reliability and safety of the connection.
附图说明 Description of drawings
图1是本实用新型的插头与插座连接的结构示意图;Fig. 1 is the structural representation that the plug of the present utility model is connected with socket;
图2是本实用新型的插头的结构示意图;Fig. 2 is the structural representation of the plug of the present utility model;
图3是本实用新型的插座的结构示意图。Fig. 3 is a structural schematic diagram of the socket of the present invention.
具体实施方式 Detailed ways
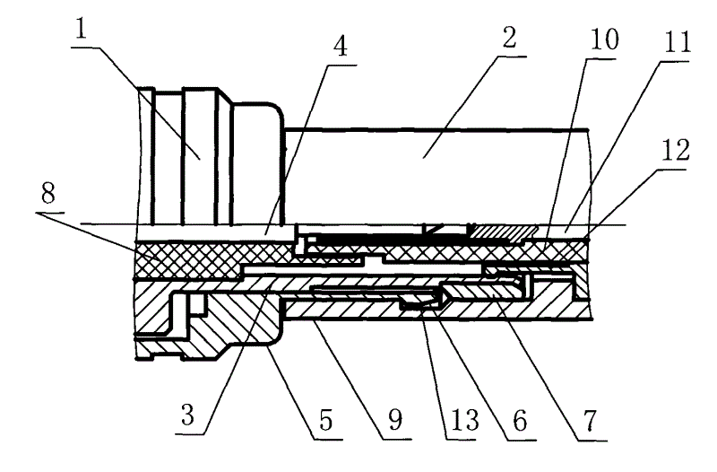
如图1~图3所示,本实用新型的由插头1和插座2组成,插头1具有同轴套装的插头内导体4、插头绝缘体8和插座外导体3,插头外导体3的外圈活动套装有连接外壳5,连接外壳5的前端设有外翻的凸台6,连接外壳5的套壁前部设有多条轴向通缝13使凸台6可弹性变形,插座外导体3的前端于凸台6的前方套装有外径大于凸台6外径的挡环7。从而使插头1与插座2插接后,插座外导体3的挡环7可被凸台6从后面顶止,实现轴向止动。插座2内部设有可容插头内导体4插入的插座内导体11,插座内导体11的端部设有内翻沿以保证与插头内导体3的可靠接触,插座内导体11固定在插座绝缘体10中,插座2外部为可容的插头1的连接外壳5插入插座外壳9,插座外壳9的内壁上设有供连接外壳5前端的凸台6卡入配合的环形槽13,插座2内于插座外壳9和插座绝缘体10之间还设有可插入插头外导体3中的接触头12,接触头12的端头上的插接配合面上设有外翻的凸部以保证与插头外导体3的可靠接触。As shown in Figures 1 to 3, the utility model is composed of a
Claims (5)
Priority Applications (1)
| Application Number | Priority Date | Filing Date | Title |
|---|---|---|---|
| CNU2008200708335U CN201226403Y (en) | 2008-06-02 | 2008-06-02 | Whole-catching longitudinal push-pull type rf coaxial connector |
Applications Claiming Priority (1)
| Application Number | Priority Date | Filing Date | Title |
|---|---|---|---|
| CNU2008200708335U CN201226403Y (en) | 2008-06-02 | 2008-06-02 | Whole-catching longitudinal push-pull type rf coaxial connector |
Publications (1)
| Publication Number | Publication Date |
|---|---|
| CN201226403Y true CN201226403Y (en) | 2009-04-22 |
Family
ID=40599304
Family Applications (1)
| Application Number | Title | Priority Date | Filing Date |
|---|---|---|---|
| CNU2008200708335U Expired - Fee Related CN201226403Y (en) | 2008-06-02 | 2008-06-02 | Whole-catching longitudinal push-pull type rf coaxial connector |
Country Status (1)
| Country | Link |
|---|---|
| CN (1) | CN201226403Y (en) |
Cited By (2)
| Publication number | Priority date | Publication date | Assignee | Title |
|---|---|---|---|---|
| CN107394543A (en) * | 2017-08-30 | 2017-11-24 | 陕西益华电气股份有限公司 | A kind of Quick blind-mate radio frequency (RF) coaxial connector retaining mechanism |
| CN111370899A (en) * | 2020-04-03 | 2020-07-03 | 昆山电科速联电子科技有限公司 | Novel buckle type electronic connector |
-
2008
- 2008-06-02 CN CNU2008200708335U patent/CN201226403Y/en not_active Expired - Fee Related
Cited By (2)
| Publication number | Priority date | Publication date | Assignee | Title |
|---|---|---|---|---|
| CN107394543A (en) * | 2017-08-30 | 2017-11-24 | 陕西益华电气股份有限公司 | A kind of Quick blind-mate radio frequency (RF) coaxial connector retaining mechanism |
| CN111370899A (en) * | 2020-04-03 | 2020-07-03 | 昆山电科速联电子科技有限公司 | Novel buckle type electronic connector |
Similar Documents
| Publication | Publication Date | Title |
|---|---|---|
| CA2631375C (en) | Co-axial push-pull plug-in connector | |
| CA2557157C (en) | Bulkhead socket for a co-axial plug and socket connector | |
| CN101662115B (en) | Floating signal contact element and electric connector using the same | |
| CN101719613B (en) | Coaxial contact element and electric coupler using same | |
| US20110053395A1 (en) | Break-away adapter | |
| CN101901988B (en) | Locking and sealing electric connector | |
| CN101859971B (en) | Push-pull connectors and their plugs | |
| CN201601317U (en) | Bead type quick plugging connector | |
| CN102299435A (en) | Radio frequency connector assembly and socket thereof | |
| CN102820587A (en) | Connector | |
| CN202352921U (en) | Electric connector assembly and plug and socket thereof | |
| CN102509953B (en) | Electric connector component, plug thereof and socket thereof | |
| CN101859970A (en) | A push-pull connector and its plug with feel in place | |
| CN201226403Y (en) | Whole-catching longitudinal push-pull type rf coaxial connector | |
| CN202178424U (en) | Radio frequency connector assembly and socket thereof | |
| CN201117962Y (en) | Misplug-proof quick plug-pull type electric connector | |
| CN202308618U (en) | Push-and-pull locking connector subassembly and plug thereof | |
| CN105470723A (en) | Electric connector assembly | |
| CN206163833U (en) | Public plug connector and female plug connector and high voltage connector | |
| CN202601971U (en) | Push-and-pull locking electric connector and assembly thereof | |
| CN102637980B (en) | Push-and-pull locking electric connector and components thereof | |
| CN110197970A (en) | Connector assembly and its connector, connector shell | |
| CN104332761A (en) | Long-distance-unlocking communication-used Ethernet port plug and Ethernet connector | |
| CN106848751B (en) | Self-locking type connecting mechanism | |
| CN103606782B (en) | Connector and use the connector assembly of this connector |
Legal Events
| Date | Code | Title | Description |
|---|---|---|---|
| C14 | Grant of patent or utility model | ||
| GR01 | Patent grant | ||
| C17 | Cessation of patent right | ||
| CF01 | Termination of patent right due to non-payment of annual fee |
Granted publication date: 20090422 Termination date: 20130602 |
