CN201105202Y - A device for synergistically removing fine particles in wet flue gas desulfurization - Google Patents
A device for synergistically removing fine particles in wet flue gas desulfurization Download PDFInfo
- Publication number
- CN201105202Y CN201105202Y CNU2007200461465U CN200720046146U CN201105202Y CN 201105202 Y CN201105202 Y CN 201105202Y CN U2007200461465 U CNU2007200461465 U CN U2007200461465U CN 200720046146 U CN200720046146 U CN 200720046146U CN 201105202 Y CN201105202 Y CN 201105202Y
- Authority
- CN
- China
- Prior art keywords
- flue gas
- desulfurization
- phase change
- smoke
- chamber
- Prior art date
- Legal status (The legal status is an assumption and is not a legal conclusion. Google has not performed a legal analysis and makes no representation as to the accuracy of the status listed.)
- Expired - Fee Related
Links
Images
Landscapes
- Treating Waste Gases (AREA)
Abstract
一种烟气湿法脱硫中协同脱除细颗粒的装置,包括脱硫塔、除尘器、烟气再热器、引风机,还包括烟气湿度调节室、相变凝结室,烟气湿度调节室设置于除尘器出口与脱硫塔烟气进口之间,相变凝结室设于脱硫塔烟气出口和烟气再热器进口间,也可适当增加脱硫塔高度,以脱硫塔顶部空间作相变凝结室,引风机设于烟气再热器出口处。本实用新型工艺简单,只要在现有烟气湿法脱硫装置中增设烟气湿度调节室和相变凝结室,并辅以添加适量雾化热水或蒸汽,即可使湿法脱硫装置具有同时促进PM2.5粒度增大并脱除的功效,可广泛应用于现有电厂烟气湿法脱硫装置。
A device for synergistically removing fine particles in flue gas wet desulfurization, including a desulfurization tower, a dust collector, a flue gas reheater, an induced draft fan, and a flue gas humidity adjustment chamber, a phase change condensation chamber, and a flue gas humidity adjustment chamber It is installed between the outlet of the dust collector and the flue gas inlet of the desulfurization tower, and the phase change condensation chamber is installed between the flue gas outlet of the desulfurization tower and the inlet of the flue gas reheater. The condensation chamber and the induced draft fan are located at the outlet of the flue gas reheater. The utility model has a simple process, as long as a flue gas humidity adjustment chamber and a phase change condensation chamber are added to the existing flue gas wet desulfurization device, and an appropriate amount of atomized hot water or steam is added, the wet desulfurization device can have simultaneous The effect of promoting the increase and removal of PM 2.5 particle size can be widely used in existing power plant flue gas wet desulfurization devices.
Description
一、技术领域1. Technical field
本实用新型属于烟道气中PM2.5微粒脱除技术,特别涉及一种烟气湿法脱硫中应用蒸汽相变原理协同脱除PM2.5的装置。The utility model belongs to the technology for removing PM 2.5 particles in flue gas, in particular to a device for synergistically removing PM 2.5 by applying the principle of steam phase transition in flue gas wet desulfurization.
二、背景技术2. Background technology
可吸入颗粒物是目前我国城市大气环境的首要污染物,尤其是其中空气动力学直径小于2.5μm的PM2.5污染问题十分严重,主要原因在于PM2.5微粒比表面积大,易富集各种重金属及化学致癌物质,而常规除尘技术对其难以有效捕集,如湿法脱硫塔(包括除雾器、洗涤塔)对PM2.5的捕集效率很低,但对于3~5μm以上的微粒脱除效率可达70~90%以上;清华大学王珲等测试某300MW燃煤电厂湿法脱硫系统WFGD对烟气中细颗粒的脱除作用发现,WFGD对PM10有74.5%的质量脱除效率,但对PM2.5的脱除效率并不高,且随粒径减小脱除效率显著下降(《中国电机工程学报》2007年第27卷)。燃煤是引起我国大气环境中PM2.5含量增加的主要原因。因此,控制燃煤PM2.5排放是迫切需要解决的关键问题,技术发展的主要途径是在除尘设备前设置预处理措施,使其通过物理或化学作用长大成较大颗粒后加以清除;其中,将蒸汽相变预处理技术与现有燃煤锅炉烟气湿法脱硫技术结合是最有可能实现工程应用的重要途径之一。蒸汽相变促使微粒增大的机理是:在过饱和水汽环境中,水汽以PM2.5微粒为凝结核发生相变,使微粒粒度增大、质量增加,并同时产生扩散泳和热泳的作用,促使微粒迁移运动,相互碰撞接触,进一步促使PM2.5微粒凝并长大。目前,烟气湿法脱硫技术已越来越成熟与普及,在脱硫塔内高温烟气与中低温脱硫液相接触,发生强烈的传热传质过程,高温烟气使部分脱硫吸收液汽化,烟气相对湿度增大,烟温降低并可接近饱和状态,但在现有烟气湿法脱硫技术中,达不到实现蒸汽相变所需的过饱和水汽环境。因此,现有烟气湿法脱硫技术虽可有效脱除SO2和粗粉尘,但对PM2.5的捕集效率很低,造成大量PM2.5排入大气环境。Inhalable particulate matter is currently the primary pollutant in the urban air environment in China, especially PM 2.5 , which has an aerodynamic diameter of less than 2.5 μm. Carcinogens, which are difficult to be effectively captured by conventional dedusting technologies, such as wet desulfurization towers (including mist eliminators, scrubbers) have very low capture efficiency for PM 2.5 , but the removal efficiency for particles above 3-5 μm is high. up to 70-90% or more; Wang Hui of Tsinghua University and others tested the removal effect of WFGD on fine particles in flue gas by wet desulfurization system of a 300MW coal-fired power plant, and found that WFGD has a mass removal efficiency of 74.5% for PM 10 , but for The removal efficiency of PM 2.5 is not high, and the removal efficiency decreases significantly with the decrease of particle size (Proceedings of the Chinese Society for Electrical Engineering, Vol. 27, 2007). Coal burning is the main reason for the increase of PM 2.5 content in China's atmospheric environment. Therefore, the control of coal-fired PM 2.5 emissions is a key issue that needs to be solved urgently. The main way of technological development is to install pretreatment measures in front of the dust removal equipment, so that they can grow into larger particles through physical or chemical action and then be removed; among them, the The combination of steam phase change pretreatment technology and existing coal-fired boiler flue gas wet desulfurization technology is one of the most important ways to realize engineering application. The mechanism of steam phase change to increase the size of particles is: in the supersaturated water vapor environment, the water vapor takes PM 2.5 particles as condensation nuclei to undergo phase change, which increases the particle size and mass, and produces the effects of diffusion swimming and thermophoresis at the same time. Promote particle migration, collision and contact with each other, and further promote PM 2.5 particles to condense and grow. At present, the flue gas wet desulfurization technology has become more and more mature and popular. In the desulfurization tower, the high-temperature flue gas is in contact with the medium-low temperature desulfurization liquid, and a strong heat and mass transfer process occurs. The high-temperature flue gas vaporizes part of the desulfurization absorption liquid. As the relative humidity of the flue gas increases, the temperature of the flue gas decreases and can approach a saturated state. However, in the existing flue gas wet desulfurization technology, the supersaturated water vapor environment required to realize the steam phase change cannot be achieved. Therefore, although the existing flue gas wet desulfurization technology can effectively remove SO 2 and coarse dust, the capture efficiency of PM 2.5 is very low, causing a large amount of PM 2.5 to be discharged into the atmosphere.
三、实用新型内容3. Contents of utility model
本实用新型针对上述技术问题,提供一种充分利用现有湿法脱硫技术中烟气含湿量较高的特点,应用蒸汽相变原理实现WFGD有效脱除SO2的同时,促使PM2.5凝结长大并高效脱除的装置。Aiming at the above technical problems, the utility model provides a method that fully utilizes the characteristics of high moisture content in flue gas in the existing wet desulfurization technology, and uses the principle of steam phase transition to realize effective removal of SO 2 by WFGD, and at the same time promote the condensation of PM 2.5 for a long time. Large and efficient removal device.
本实用新型的技术解决方案为:一种实现烟气湿法脱硫中协同脱除PM2.5方法的装置,包括脱硫塔、除尘器、烟气再热器、引风机,还包括烟气湿度调节室、相变凝结室,烟气湿度调节室设置于除尘器出口与脱硫塔烟气进口之间,相变凝结室设于脱硫塔顶部出口处,也可适当增加脱硫塔高度,以脱硫塔顶部空间作相变凝结室,相变凝结室出口与烟气再热器相连,引风机设于烟气再热器出口处;脱硫塔和相变凝结室内分别设有脱硫塔除雾器和相变凝结室除雾器。相变凝结室除雾器为丝网除雾器、挡板除雾器或旋流板除雾器,优选丝网除雾器。脱硫塔为喷淋塔、填料塔或板式塔。The technical solution of the utility model is: a device for realizing the method of synergistically removing PM 2.5 in wet flue gas desulfurization, including a desulfurization tower, a dust collector, a flue gas reheater, an induced draft fan, and a flue gas humidity adjustment chamber , The phase change condensation chamber, the flue gas humidity adjustment chamber is set between the outlet of the dust collector and the flue gas inlet of the desulfurization tower, and the phase change condensation chamber is set at the top outlet of the desulfurization tower. As a phase change condensing chamber, the outlet of the phase change condensing chamber is connected to the flue gas reheater, and the induced draft fan is installed at the outlet of the flue gas reheater; the desulfurization tower and the phase change condensing chamber are respectively equipped with a desulfurization tower demister and a phase change condensing chamber. Chamber demister. The phase change condensation chamber demister is a wire mesh demister, a baffle plate demister or a swirl plate demister, preferably a wire mesh demister. The desulfurization tower is a spray tower, packed tower or plate tower.
本实用新型的技术方案是通过对现有燃煤烟气湿法脱硫装置进行改进,增设烟气湿度调节室和相变凝结室,使其同时具有脱除SO2和促进PM2.5凝结长大并高效脱除的功效;其特征在于烟气湿度调节室设置于除尘器出口与脱硫塔烟气进口之间,相变凝结室设于脱硫塔烟气出口和烟气再热器间,也可适当增加脱硫塔高度,以脱硫塔顶部空间作相变凝结室;在相变凝结室烟气出口处设置高效除雾器,相变凝结室内衬具有增进相变效果和防腐双重功效的低表面能材料。The technical solution of the utility model is to improve the existing coal-fired flue gas wet desulfurization device, add a flue gas humidity adjustment chamber and a phase change condensation chamber, so that it can simultaneously remove SO 2 and promote PM 2.5 condensation growth and Efficient removal effect; it is characterized in that the flue gas humidity adjustment chamber is set between the outlet of the dust collector and the flue gas inlet of the desulfurization tower, and the phase change condensation chamber is set between the flue gas outlet of the desulfurization tower and the flue gas reheater. Increase the height of the desulfurization tower, use the top space of the desulfurization tower as a phase change condensation chamber; install a high-efficiency demister at the flue gas outlet of the phase change condensation chamber, and the lining of the phase change condensation chamber has low surface energy that enhances the phase change effect and anti-corrosion dual effects Material.
根据本实用新型,烟气湿法脱硫中应用蒸汽相变原理协同脱除PM2.5的方法为:来自燃煤锅炉的含尘烟气经除尘器(如静电除尘器)脱除粗颗粒后进入烟气湿度调节室,喷入粒径为20~30μm微细热水雾,利用烟气热量使水雾汽化或直接注入适量水蒸汽使烟气湿度由5~12%增至20~50%,然后从脱硫塔底部进入脱硫塔,在脱硫塔内高温湿烟气与中低温吸收液逆流接触,烟气被增湿冷却,在脱硫塔中上部达到过饱和状态,过饱和水汽以PM2.5微粒为凝结核发生相变,使PM2.5微粒粒度增大、质量增加,然后由脱硫液及脱硫塔除雾器捕集凝结长大的含尘液滴。烟气经脱硫及部分PM2.5后进入相变凝结室,在相变凝结室内注入适量水蒸汽或设置冷却装置调节烟气过饱和度,使未脱除的PM2.5发生相变凝结长大,由相变凝结室除雾器脱除凝结长大的含尘液滴;净化烟气经烟气再热器加热升温至70-80℃,由烟囱排放。According to the utility model, the method of synergistically removing PM 2.5 by applying the principle of steam phase change in wet desulfurization of flue gas is as follows: the dusty flue gas from the coal-fired boiler is removed by a dust collector (such as an electrostatic precipitator) to remove coarse particles and then enters the flue gas. In the air humidity control room, spray fine hot water mist with a particle size of 20-30 μm, use the heat of the flue gas to vaporize the water mist or directly inject an appropriate amount of water vapor to increase the humidity of the flue gas from 5-12% to 20-50%, and then from The bottom of the desulfurization tower enters the desulfurization tower. In the desulfurization tower, the high-temperature and wet flue gas contacts with the medium and low temperature absorption liquid countercurrently. The flue gas is humidified and cooled, and reaches a supersaturated state in the middle and upper part of the desulfurization tower. The supersaturated water vapor takes PM 2.5 particles as condensation nuclei A phase change occurs to increase the particle size and quality of PM 2.5 particles, and then the condensed and grown dusty droplets are captured by the desulfurization liquid and the demister demister of the desulfurization tower. After the flue gas is desulfurized and partially PM 2.5 , it enters the phase change condensation chamber. In the phase change condensation chamber, an appropriate amount of water vapor is injected or a cooling device is installed to adjust the supersaturation of the flue gas, so that the unremoved PM 2.5 undergoes phase change condensation and grows up. The demister in the phase change condensation chamber removes the condensed and grown dusty droplets; the purified flue gas is heated by the flue gas reheater to 70-80°C and discharged from the chimney.
脱硫塔进口烟气温度为70~120℃,脱硫塔进口吸收液温度为20~50℃,比进口烟气温度低30~80℃。The flue gas temperature at the inlet of the desulfurization tower is 70-120°C, and the temperature of the absorbing liquid at the inlet of the desulfurization tower is 20-50°C, which is 30-80°C lower than that of the inlet flue gas.
相变凝结室除雾器可以是丝网除雾器、折流板除雾器、旋流板除雾器,优选丝网除雾器;脱硫塔是喷淋塔、填料塔、板式塔;烟气湿法脱硫技术可以是石灰石-石膏法、双碱法、氨法等。Phase change condensation chamber demisters can be wire mesh eliminators, baffle plate demisters, swirl plate demisters, preferably wire mesh demisters; desulfurization towers are spray towers, packed towers, plate towers; smoke Gas wet desulfurization technology can be limestone-gypsum method, double alkali method, ammonia method, etc.
为了提高PM2.5的脱除效果,可在雾化热水、水汽或脱硫吸收液中添加微量能显著降低水汽核化临界过饱和度及水溶液的表面张力,使微粒易被水润湿的润湿剂;润湿剂一般而言属于表面活性剂,如十二烷基硫酸钠、脂肪醇聚氧乙烯醚,也可直接采用市售润湿剂;润湿剂中可含有多种增效剂或助剂,如氯化镁、硫酸钠等,润湿剂添加量一般为溶液或水汽重量的0.001~0.01%。In order to improve the removal effect of PM 2.5 , a small amount can be added to the atomized hot water, water vapor or desulfurization absorption liquid, which can significantly reduce the critical supersaturation of water vapor nucleation and the surface tension of the aqueous solution, so that the particles are easily wetted by water Wetting agents generally belong to surfactants, such as sodium lauryl sulfate, fatty alcohol polyoxyethylene ether, or directly use commercially available wetting agents; wetting agents may contain various synergists or Auxiliaries, such as magnesium chloride, sodium sulfate, etc., the addition amount of wetting agent is generally 0.001-0.01% of the weight of the solution or water vapor.
本实用新型产生的有益效果为:以蒸汽相变作为脱除PM2.5的预处理技术,首先应建立过饱和水汽环境,但单纯依靠添加蒸汽或冷却手段使烟气达到过饱和能耗过高,本实用新型充分利用现有烟气湿法脱硫装置中烟气含湿量较高的特点(如脱硫净化气相对湿度可达90~95%以上,温度为40~60℃),在脱硫塔前设置烟气湿度调节室,通过喷雾化热水或直接注入适量蒸汽提高烟气含湿量,促使部分PM2.5在脱硫塔内发生相变凝结长大并被脱硫液、脱硫塔除雾器捕集。在脱硫塔出口与烟气再热器间或脱硫塔顶部空间设置相变凝结室,注入少量蒸汽或将烟气冷却5~10℃使未脱除的PM2.5微粒在相变凝结室发生凝结长大,并由除雾器脱除凝结长大的含尘液滴。以耐蚀的低表面能材料作相变凝结室内壁面或壁面衬里、涂料,一方面可促进水汽在PM2.5微粒表面凝结而抑制其在相变凝结室壁面凝结,进而增进相变效果,同时还可解决因酸性污染物结露而导致的腐蚀问题。添加微量润湿剂以降低PM2.5凝结长大所需的水汽过饱和度,最终实现PM2.5的高效脱除。本实用新型工艺简单,只要在现有烟气湿法脱硫装置中增设烟气湿度调节室和相变凝结室,并辅以添加适量雾化热水或蒸汽,即可使湿法脱硫装置具有同时促进PM2.5粒度增大并脱除的功效,可广泛应用于现有电厂烟气湿法脱硫装置。The beneficial effects produced by the utility model are as follows: using steam phase change as a pretreatment technology for removing PM 2.5 , a supersaturated water vapor environment should be established first, but simply relying on adding steam or cooling means to make the flue gas supersaturated and energy consumption is too high, The utility model makes full use of the characteristics of high moisture content of the flue gas in the existing flue gas wet desulfurization device (for example, the relative humidity of the desulfurized purified gas can reach more than 90-95%, and the temperature is 40-60°C). Set up a flue gas humidity control room, increase the moisture content of the flue gas by spraying hot water or directly injecting an appropriate amount of steam, and promote part of the PM 2.5 to undergo a phase change and condense in the desulfurization tower to grow and be captured by the desulfurization liquid and the demister demister of the desulfurization tower . Install a phase change condensation chamber between the outlet of the desulfurization tower and the flue gas reheater or the top space of the desulfurization tower, inject a small amount of steam or cool the flue gas by 5-10°C to make the unremoved PM 2.5 particles condense and grow in the phase change condensation chamber , and the condensed and grown dusty droplets are removed by the demister. Using corrosion-resistant low surface energy materials as the wall or wall lining of the phase change condensation chamber, on the one hand, can promote the condensation of water vapor on the surface of PM 2.5 particles and inhibit its condensation on the wall of the phase change condensation chamber, thereby enhancing the phase change effect, and at the same time Solve corrosion problems caused by condensation of acidic pollutants. Add a small amount of wetting agent to reduce the water vapor supersaturation required for PM 2.5 condensation growth, and finally achieve efficient removal of PM 2.5 . The utility model has a simple process, as long as a flue gas humidity adjustment chamber and a phase change condensation chamber are added to the existing flue gas wet desulfurization device, and an appropriate amount of atomized hot water or steam is added, the wet desulfurization device can have simultaneous The effect of promoting the increase and removal of PM 2.5 particle size can be widely used in existing power plant flue gas wet desulfurization devices.
四、附图说明4. Description of drawings
图1是本实用新型实施例1的装置结构示意图;Fig. 1 is the device structural representation of the
图2是本实用新型实施例2的装置结构示意图。Fig. 2 is a schematic diagram of the device structure of
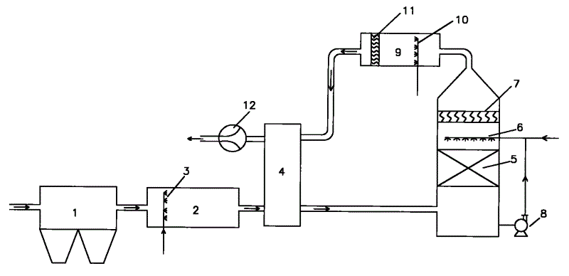
图中:1-除尘器;2-烟气湿度调节室;3-雾化水喷嘴;4-烟气再热器;5-脱硫塔;6-脱硫液喷嘴;7-脱硫塔除雾器;8-脱硫液循环泵;9-相变凝结室;10-蒸汽喷嘴;11-相变凝结室除雾器;12-引风机。In the figure: 1-dust collector; 2-flue gas humidity adjustment chamber; 3-atomized water nozzle; 4-flue gas reheater; 5-desulfurization tower; 6-desulfurization liquid nozzle; 8-Desulfurization liquid circulating pump; 9-Phase change condensation chamber; 10-Steam nozzle; 11-Phase change condensation chamber demister; 12-Induced fan.
五、具体实施方式5. Specific implementation
实施例1:Example 1:
本实用新型的烟气湿法脱硫中协同脱除PM2.5的方法如图1所示:燃煤锅炉产生的含尘烟气经除尘器(如静电除尘器)1脱除粒径≥2.5μm的粗颗粒后,进入烟气湿度调节室2,经雾化水喷嘴3喷入粒径为20~30μm的雾化水滴,利用烟气热量使雾化水滴在湿度调节室2内完全蒸发,雾化水添加量以烟气经调节后相对湿度由5~12%增至20~50%确定。经湿度调节的烟气从脱硫塔下部进入脱硫塔5,在脱硫塔5内高温湿烟气(温度:70~120℃)与中低温脱硫吸收液(温度:20~50℃)逆流接触,高温烟气使部分吸收液汽化,烟气相对湿度增大,烟温降低,并在脱硫塔5中上部达到过饱和状态,在完成脱硫的同时,过饱和水汽以PM2.5微粒为凝结核发生相变,使PM2.5微粒粒度增大、质量增加,并由脱硫液、脱硫塔除雾器7捕集凝结长大的含尘液滴,除去约40~60%的PM2.5微粒;这一过程的特点是脱硫和PM2.5的凝结长大及脱除同时进行,但水汽在PM2.5微粒表面凝结的同时,也会凝结于脱硫液滴表面而损耗。烟气经脱硫及部分PM2.5后,由脱硫塔5进入相变凝结室9,经蒸汽喷嘴10注入适量蒸汽促使未脱除的PM2.5微粒发生相变凝结长大,并由除雾器11脱除凝结长大的含尘液滴,除去约40~60%的PM2.5。在雾化热水及水汽中添加0.001~0.01%的润湿剂,以促进水汽在微粒表面凝结,降低发生相变的水汽临界过饱和度。净化烟气经烟气再热器4加热升温至70~80℃,然后通过引风机12引入烟囱排放到大气中。The method for synergistic removal of PM 2.5 in the wet flue gas desulfurization of the present invention is shown in Figure 1: the dusty flue gas produced by the coal-fired boiler is removed by a dust collector (such as an electrostatic precipitator) 1 to remove particles with a particle size ≥ 2.5 μm After the coarse particles enter the flue gas
如图1所示,本实用新型的烟气湿法脱硫中协同脱除PM2.5方法的装置,主要由烟气湿度调节室2、脱硫塔5、相变凝结室9组成;烟气湿度调节室2设置于除尘器1出口与烟气再热器4之间,内设雾化水喷嘴3,烟气湿度调节室2尺寸以烟气在调节室中的停留时间大于雾化水滴完全蒸发所需时间确定;相变凝结室9置于脱硫塔5出口与烟气再热器4之间,内设蒸汽喷嘴10,相变凝结室9出口设置高效除雾器11,内层衬以耐蚀的低表面能材料,相变凝结室9尺寸以烟气在凝结室中的停留时间大于水汽在PM2.5微粒表面核化凝结长大所需时间(约50~200ms)确定。As shown in Figure 1, the device of the utility model for synergistically removing PM 2.5 in wet flue gas desulfurization mainly consists of a flue gas
实施例2:Example 2:
如图2所示,与实施例1不同的是,不专门设置相变凝结室,而是适当增加脱硫塔高度,以脱硫塔5顶部空间(即脱硫塔除雾器7以上部位)作相变凝结室9,并注入适量蒸汽,塔顶部设置高效除雾器11,塔出口净化烟气经烟气再热器4加热升温后由烟囱排放。As shown in Figure 2, the difference from Example 1 is that no phase change condensation chamber is specially provided, but the height of the desulfurization tower is appropriately increased, and the phase change is performed in the top space of the desulfurization tower 5 (that is, the part above the
实施例3:Example 3:
烟气湿度调节室2内设置蒸汽喷嘴,直接注入适量蒸汽调节烟气含湿量,其余同实施例1或2。A steam nozzle is installed in the flue gas
实施例4:Example 4:
烟气湿度调节室2置于烟气再热器4之后,即烟气再热器4出口与脱硫塔5烟气进口之间,其余同实施例3。The flue gas
实施例5:Example 5:
相变凝结室9内设置烟气冷却装置,将脱硫净化烟气冷却5~10℃,使其达到过饱和状态,其余同实施例1。A flue gas cooling device is installed in the phase change condensation chamber 9 to cool the desulfurized and purified flue gas by 5°C to 10°C to make it reach a supersaturated state, and the rest are the same as in
实施例6:Embodiment 6:
烟气由全自动燃煤锅炉产生,烟气量为100Nm3/h,脱硫塔采用直径150mm、高1500mm的喷淋塔,湿法脱硫技术为石灰石-石膏法,相变凝结室置于脱硫塔出口,脱硫塔、相变凝结室内分别安装旋流板除雾器、丝网除雾器。燃煤锅炉产生的含尘烟气经旋风除尘器脱除粗颗粒后,进入湿度调节室,由雾化喷嘴喷入温度70℃、粒径约为20~30μm的微细水雾,喷入量为0.025kg/Nm3烟气,经调节后,脱硫塔进口烟气温度为80℃,相对湿度为35%;石灰石脱硫悬浮液温度为20℃,液气比2.5L/Nm3,脱硫塔内烟气与石灰石悬浮液逆流接触;经电称低压冲击器ELPI在线测试,一次PM2.5质量脱除效率为42%;烟气经脱硫及部分PM2.5后进入相变凝结室,每Nm3烟气注入0.015kg蒸汽,二次脱除PM2.5,PM2.5总质量脱除效率达到86%。The flue gas is produced by a fully automatic coal-fired boiler with a flue gas volume of 100Nm 3 /h. The desulfurization tower adopts a spray tower with a diameter of 150mm and a height of 1500mm. The wet desulfurization technology is limestone-gypsum method, and the phase change condensation chamber is placed in the desulfurization tower Swirl plate demisters and wire mesh demisters are installed at the outlet, desulfurization tower and phase change condensation chamber respectively. The dust-laden flue gas produced by the coal-fired boiler enters the humidity control chamber after the coarse particles are removed by the cyclone dust collector, and the fine water mist with a temperature of 70 ° C and a particle size of about 20-30 μm is sprayed from the atomizing nozzle, and the injection volume is 0.025kg/Nm 3 flue gas, after adjustment, the flue gas temperature at the inlet of the desulfurization tower is 80°C, and the relative humidity is 35%; the temperature of the limestone desulfurization suspension is 20°C, the liquid-gas ratio is 2.5L/Nm 3 The gas is in countercurrent contact with the limestone suspension; through the online test of the electric low-pressure impactor ELPI, the mass removal efficiency of PM 2.5 is 42%; the flue gas enters the phase change condensation chamber after desulfurization and part of the PM 2.5 , and every Nm 3 flue gas is injected 0.015kg steam, PM 2.5 is removed twice, and the total mass removal efficiency of PM 2.5 reaches 86%.
实施例7:Embodiment 7:
脱硫塔为直径150mm,高2000mm的旋流板塔,相变凝结室置于脱硫塔顶部空间,烟气湿法脱硫技术为双碱法,其余同实施例6;经电称低压冲击器ELPI在线测试,PM2.5总质量脱除效率达到82%。The desulfurization tower is a swirl plate tower with a diameter of 150mm and a height of 2000mm. The phase change condensation chamber is placed in the top space of the desulfurization tower. The flue gas wet desulfurization technology is a double alkali method, and the rest are the same as in Example 6; According to the test, the total mass removal efficiency of PM 2.5 reaches 82%.
对比例1:Comparative example 1:
采用实施例6试验系统及石灰石-石膏法脱硫技术,但烟气湿度调节室中不添加水汽及雾化水,相变凝结室不注入蒸汽,经电称低压冲击器ELPI在线测试对PM2.5的质量脱除效率为12%。The test system of Example 6 and the limestone-gypsum desulfurization technology are adopted, but no water vapor and atomized water are added to the flue gas humidity adjustment chamber, and no steam is injected into the phase change condensation chamber . The mass removal efficiency was 12%.
对比例2:Comparative example 2:
采用实施例7试验系统及双碱法脱硫技术,但烟气湿度调节室中不添加水汽及雾化水,相变凝结室不注入蒸汽,经电称低压冲击器ELPI在线测试对PM2.5的质量脱除效率为17%。The test system of Example 7 and the double-alkali desulfurization technology are adopted, but no water vapor and atomized water are added to the flue gas humidity adjustment chamber, no steam is injected into the phase change condensation chamber, and the quality of PM 2.5 is tested by an electric low-pressure impactor ELPI online test The removal efficiency was 17%.
Claims (5)
Priority Applications (1)
| Application Number | Priority Date | Filing Date | Title |
|---|---|---|---|
| CNU2007200461465U CN201105202Y (en) | 2007-09-14 | 2007-09-14 | A device for synergistically removing fine particles in wet flue gas desulfurization |
Applications Claiming Priority (1)
| Application Number | Priority Date | Filing Date | Title |
|---|---|---|---|
| CNU2007200461465U CN201105202Y (en) | 2007-09-14 | 2007-09-14 | A device for synergistically removing fine particles in wet flue gas desulfurization |
Publications (1)
| Publication Number | Publication Date |
|---|---|
| CN201105202Y true CN201105202Y (en) | 2008-08-27 |
Family
ID=39956990
Family Applications (1)
| Application Number | Title | Priority Date | Filing Date |
|---|---|---|---|
| CNU2007200461465U Expired - Fee Related CN201105202Y (en) | 2007-09-14 | 2007-09-14 | A device for synergistically removing fine particles in wet flue gas desulfurization |
Country Status (1)
| Country | Link |
|---|---|
| CN (1) | CN201105202Y (en) |
Cited By (8)
| Publication number | Priority date | Publication date | Assignee | Title |
|---|---|---|---|---|
| CN102059029A (en) * | 2010-11-25 | 2011-05-18 | 东南大学 | Method and device for removing fine particles in high-humidity gas fume |
| CN103697487A (en) * | 2013-12-30 | 2014-04-02 | 上海克莱德贝尔格曼机械有限公司 | Flue gas treatment device |
| CN103697488A (en) * | 2013-12-27 | 2014-04-02 | 四川川润动力设备有限公司 | System for removing PM2.5 (particulate matter 2.5) and sulfur together, and CFB system and method |
| CN103721554A (en) * | 2013-12-10 | 2014-04-16 | 中国华电工程(集团)有限公司 | Electric demisting method and device for capturing and collecting fine particulate matters in flue gas generated after wet desulphurization |
| CN104906913A (en) * | 2015-04-17 | 2015-09-16 | 东南大学 | Method for reducing suspension particles in air by using humidification water condensation, and apparatus thereof |
| CN106268178A (en) * | 2016-08-16 | 2017-01-04 | 辽宁工程技术大学 | A kind of dust removal mist integrated apparatus for wet desulfurization system and method |
| CN108686478A (en) * | 2017-04-06 | 2018-10-23 | 中国石油化工股份有限公司 | The processing method and device of a kind of flue gas desulfurization and desulfurization wastewater |
| CN109990611A (en) * | 2019-04-09 | 2019-07-09 | 安徽工业大学 | A system and method for efficient dust removal and waste heat recovery of electric furnace flue gas |
-
2007
- 2007-09-14 CN CNU2007200461465U patent/CN201105202Y/en not_active Expired - Fee Related
Cited By (14)
| Publication number | Priority date | Publication date | Assignee | Title |
|---|---|---|---|---|
| CN102059029B (en) * | 2010-11-25 | 2013-12-25 | 东南大学 | Method and device for removing fine particles in high-humidity gas fume |
| CN102059029A (en) * | 2010-11-25 | 2011-05-18 | 东南大学 | Method and device for removing fine particles in high-humidity gas fume |
| CN103721554A (en) * | 2013-12-10 | 2014-04-16 | 中国华电工程(集团)有限公司 | Electric demisting method and device for capturing and collecting fine particulate matters in flue gas generated after wet desulphurization |
| CN103721554B (en) * | 2013-12-10 | 2016-01-06 | 中国华电工程(集团)有限公司 | The electric defogging method of the fine particle in trapping wet-method desulfurized fume and device |
| CN103697488A (en) * | 2013-12-27 | 2014-04-02 | 四川川润动力设备有限公司 | System for removing PM2.5 (particulate matter 2.5) and sulfur together, and CFB system and method |
| CN103697488B (en) * | 2013-12-27 | 2016-03-16 | 四川川润动力设备有限公司 | Cooperation-removal PM 2.5and the system of desulfurization and CFB system and method |
| CN103697487A (en) * | 2013-12-30 | 2014-04-02 | 上海克莱德贝尔格曼机械有限公司 | Flue gas treatment device |
| CN103697487B (en) * | 2013-12-30 | 2016-05-11 | 上海克莱德贝尔格曼机械有限公司 | A kind of flue gas processing device |
| US9782782B2 (en) | 2013-12-30 | 2017-10-10 | Shanghai Clyde Bergemann Machinery Co., Ltd. | Flue gas treatment device |
| CN104906913A (en) * | 2015-04-17 | 2015-09-16 | 东南大学 | Method for reducing suspension particles in air by using humidification water condensation, and apparatus thereof |
| CN106268178A (en) * | 2016-08-16 | 2017-01-04 | 辽宁工程技术大学 | A kind of dust removal mist integrated apparatus for wet desulfurization system and method |
| CN106268178B (en) * | 2016-08-16 | 2018-12-07 | 辽宁工程技术大学 | A kind of dedusting for wet desulfurization system-mist integrated apparatus and method |
| CN108686478A (en) * | 2017-04-06 | 2018-10-23 | 中国石油化工股份有限公司 | The processing method and device of a kind of flue gas desulfurization and desulfurization wastewater |
| CN109990611A (en) * | 2019-04-09 | 2019-07-09 | 安徽工业大学 | A system and method for efficient dust removal and waste heat recovery of electric furnace flue gas |
Similar Documents
| Publication | Publication Date | Title |
|---|---|---|
| CN101219333A (en) | Method and device for cooperation-removal of PM2,5 in flue gas wet desulphurization | |
| CN101732977B (en) | Device and method for improving fine particle removal in coal-fired flue gas desulfurization process | |
| CN201105202Y (en) | A device for synergistically removing fine particles in wet flue gas desulfurization | |
| CN100594051C (en) | Method and device for synergistic removal of PM2.5 and gaseous pollutants using steam phase change | |
| CN103868087B (en) | A kind of collaborative enhancing PM2.5The method of elimination and fume afterheat deep exploitation and device | |
| CN102000490B (en) | Control method for aerosol in flue gas desulfurization by utilizing ammonia method and master desulfurizing tower | |
| CN102059029B (en) | Method and device for removing fine particles in high-humidity gas fume | |
| CN106669326A (en) | A method and device for wet desulfurization and collaborative removal of fine particles and SO3 acid mist | |
| CN208553608U (en) | A deep cooling condensation white smoke elimination device | |
| CN205392083U (en) | Ultrafine particle's device in desorption coal fired boiler flue gas | |
| CN108014578B (en) | Method and device for purifying fine particles and condensable particles in coal-fired flue gas by using low Wen Penlin | |
| CN105107365B (en) | Flue gas composite phase-change dust-removing and desulfurization process and device | |
| CN109794133B (en) | Integrated treatment method and device for wet phase-change ultra-clean dust removal, mist removal and whitening of flue gas | |
| CN107261699A (en) | A kind of apparatus and method of the ultra-clean dedusting eliminating white smoke of desulfurization fume | |
| CN205019942U (en) | Compound phase transition dust removal and desulfurization device of flue gas | |
| CN101732970B (en) | Device and method for promoting fine particle matters to be removed in coal-burning wet flue gas desulfuration process | |
| CN108421399A (en) | Collaboration promotes fine particle and the devices and methods therefor of sulfur trioxide acid mist removing in a kind of process of wet desulphurization of single column two-region | |
| CN106669345A (en) | A method for synergistically realizing high-efficiency removal of PM2.5/SO3 from high-moisture flue gas and zero water consumption in wet desulfurization | |
| CN205700120U (en) | A kind of wet method sulphur removing and dust removing integrated apparatus | |
| CN205084558U (en) | Flue gas two -stage condensation dust collector after desulfurization | |
| CN205965468U (en) | System for phase transition of wet flue gas desulfurization device is reunited in coordination with desorption fine particles | |
| CN209138324U (en) | A kind of high effective flue gas fair current dust-removal and desulfurizing disappears white device | |
| CN107158913A (en) | A kind of apparatus and method of the ultra-clean dedusting of desulfurization fume | |
| CN108916900B (en) | A system and method for removing fine particles by water vapor phase change coupling low and low temperature electrostatic precipitator | |
| CN102430307B (en) | Method and device for promoting removal of PM2.5 in plate tower wet flue gas desulfurization |
Legal Events
| Date | Code | Title | Description |
|---|---|---|---|
| C14 | Grant of patent or utility model | ||
| GR01 | Patent grant | ||
| CF01 | Termination of patent right due to non-payment of annual fee |
Granted publication date: 20080827 Termination date: 20150914 |
|
| EXPY | Termination of patent right or utility model |
