CN1956689A - Wound contact device - Google Patents
Wound contact device Download PDFInfo
- Publication number
- CN1956689A CN1956689A CNA2005800113121A CN200580011312A CN1956689A CN 1956689 A CN1956689 A CN 1956689A CN A2005800113121 A CNA2005800113121 A CN A2005800113121A CN 200580011312 A CN200580011312 A CN 200580011312A CN 1956689 A CN1956689 A CN 1956689A
- Authority
- CN
- China
- Prior art keywords
- wound
- articles
- structural member
- use according
- permeable structure
- Prior art date
- Legal status (The legal status is an assumption and is not a legal conclusion. Google has not performed a legal analysis and makes no representation as to the accuracy of the status listed.)
- Pending
Links
Images
Classifications
-
- A—HUMAN NECESSITIES
- A61—MEDICAL OR VETERINARY SCIENCE; HYGIENE
- A61M—DEVICES FOR INTRODUCING MEDIA INTO, OR ONTO, THE BODY; DEVICES FOR TRANSDUCING BODY MEDIA OR FOR TAKING MEDIA FROM THE BODY; DEVICES FOR PRODUCING OR ENDING SLEEP OR STUPOR
- A61M27/00—Drainage appliance for wounds or the like, i.e. wound drains, implanted drains
Landscapes
- Materials For Medical Uses (AREA)
Abstract
本发明提供一种用于促进哺乳动物体上伤口愈合的治疗用品。示例性用品包括一个具有多个形成在其表面上的凹处的渗透性结构件。在使用中,将具有凹处的表面邻接伤口表面安置。一种处理伤口的方法,包括以下步骤:提供一个渗透性结构件,该结构件包括多条随机布置的纤维并且具有i)多个设置在结构件端部之间的伤口表面接触元件以及ii)多个由所述接触元件界定的空隙;将渗透性结构件敷贴到伤口的至少一个表面上。
This invention provides a therapeutic article for promoting wound healing in mammals. An exemplary article includes a permeable structural member having a plurality of recesses formed on its surface. In use, the surface with the recesses is placed adjacent to a wound surface. A method of treating a wound includes the steps of: providing a permeable structural member comprising a plurality of randomly arranged fibers and having i) a plurality of wound surface contact elements disposed between ends of the structural member and ii) a plurality of gaps defined by said contact elements; and applying the permeable structural member to at least one surface of the wound.
Description
相关申请related application
本申请要求申请日为2004年4月13日的美国临时专利申请第60/561,745号的优先权,该专利申请的内容通过引用而结合在本申请中。This application claims priority to US Provisional Patent Application Serial No. 60/561,745, filed April 13, 2004, the contents of which are incorporated herein by reference.
技术领域technical field
本发明涉及一种处理伤口的用品和方法。更加具体地,本发明涉及一种治疗伤口的接触用品。The present invention relates to an article and method for treating wounds. More specifically, the present invention relates to a contact article for treating wounds.
背景技术Background technique
伤口愈合是一种基本的人体复原过程。用适宜的材料对伤口进行敷贴有助于身体自然的再生过程这一点早已公知。历史上,这些材料由棉花纤维制成;如纱布。这些敷片对愈合过程有益处,原因为,所述敷片使损伤组织与外部污染物隔离、以及所述敷片移除掉潜在性有害的伤口渗出物。Wound healing is a fundamental human restoration process. Dressing wounds with suitable materials has long been known to aid the body's natural regeneration process. Historically, these materials were made of cotton fibers; such as gauze. These dressings are beneficial to the healing process because they isolate damaged tissue from external contaminants and remove potentially harmful wound exudate.
许多研究得出伤口愈合取决于涉及细胞增生、迁移、粘附连同血管生成的复杂机理的相互作用。传统型纱布或其他基本上平齐的材料的敷贴对于这些机理来说实质上不是最为理想。生物体外的伤口愈合研究在确保细胞功能的细胞培养介质中进行。因此,在伤口愈合的研究中,理想做法为提供细胞培养的等同物或者生物反应器系统,以使细胞的增生、迁移和粘附功能的相互作用最佳化。另外,还必须加入其他身体功能,其中所述功能促进纤维粘连蛋白、血浆蛋白质、氧、血小板、生长因子、免疫化学物质等等物质的供应。Numerous studies have concluded that wound healing depends on the interplay of complex mechanisms involving cell proliferation, migration, adhesion as well as angiogenesis. Application of traditional gauze or other substantially flush materials is substantially suboptimal for these mechanisms. In vitro wound healing studies are performed in cell culture media that ensure cell function. Therefore, in the study of wound healing, it is ideal to provide cell culture equivalents or bioreactor systems to optimize the interplay of cell proliferation, migration and adhesion functions. In addition, other bodily functions must be added which facilitate the supply of fibronectin, plasma proteins, oxygen, platelets, growth factors, immune chemicals, and the like.
随着科学和医学的发展进步,结合到伤口愈合用品中的技术已经大大地得到改进。能够吸收是其自身重量许多倍的液体的高吸收性伤口敷片得到使用。已经获得了暂时密封住伤口以及利用吸力以排掉渗出物的系统。结合有抗菌剂和生物愈合剂的敷片也已通用。令已发现提供湿润的伤口环境、以促进愈合的用品的用处。As science and medicine have advanced, the techniques incorporated into wound healing articles have improved greatly. Highly absorbent wound dressings capable of absorbing many times their own weight in liquid are used. Systems are available that temporarily seal wounds and use suction to drain exudates. Dressings incorporating antimicrobial and biohealing agents are also in use. have found use in an article that provides a moist wound environment to promote healing.
尽管在伤口愈合用品及敷片方面获得了某些技术成就,但是不少人仍在忍受着慢性伤口带来的痛苦。这些慢性伤口令人身体虚弱、并可持续数年,从而大大地降低了人的生命质量。这些伤口经常会导致截肢。个别人甚至还会死于比如感染等的并发症。Despite some technological advances in wound healing supplies and dressings, many people still suffer from chronic wounds. These chronic wounds are debilitating and can persist for years, greatly reducing a person's quality of life. These wounds often lead to amputation. Individuals may even die from complications such as infection.
因此,极度需要有更加有效的伤口愈合用品和方法。Therefore, there is a great need for more effective wound healing articles and methods.
发明内容Contents of the invention
为了促进伤口的愈合,本发明提供一种伤口接触材料、一种用于制造该伤口接触材料的方法以及一种利用该伤口接触材料的处理方法。In order to promote wound healing, the present invention provides a wound contact material, a method for manufacturing the wound contact material and a treatment method using the wound contact material.
依据本发明的一个示例性实施方式,提供一种用于在哺乳动物体上促进伤口愈合的治疗用品。该用品包括一个具有形成在其表面上的多个凹处的渗透性基体或结构件,其中,具有所述凹处的所述表面被安置成与伤口处于表面接触状态。According to an exemplary embodiment of the present invention, a therapeutic article for promoting wound healing in a mammalian body is provided. The article includes a permeable matrix or structure having a plurality of recesses formed in a surface thereof, wherein said surface having said recesses is positioned in surface contact with a wound.
依据本发明的另一个示例性实施方式,提供一种用于在哺乳动物体上促进伤口愈合的治疗用品。该用品包括一个渗透性结构件,该结构件具有多个设置在结构件的端部之间的伤口表面接触元件、以及具有多个由所述接触元件所界定的空隙。According to another exemplary embodiment of the present invention, a therapeutic article for promoting wound healing in a mammalian body is provided. The article includes a permeable structure having a plurality of wound surface contacting elements disposed between ends of the structure and a plurality of voids defined by the contacting elements.
依据本发明的又一个示例性实施方式,提供一种用于促进哺乳动物体上伤口愈合的治疗用品,该用品包括一个渗透性结构件,该结构件包括多条彼此联结纤维,其中所述结构件具有多个设置在结构件端部之间的伤口表面接触元件以及多个由所述接触元件界定的空隙。According to yet another exemplary embodiment of the present invention, there is provided a therapeutic article for promoting wound healing on a mammalian body, the article comprising a permeable structure comprising a plurality of interconnected fibers, wherein the structure The member has a plurality of wound surface contacting elements disposed between ends of the structural member and a plurality of voids defined by the contacting elements.
依据本发明的再一个示例性实施方式,提供一种用于促进哺乳动物体上伤口愈合的治疗用品,该用品包括一聚合物毡片,该毡片具有多个设置在结构件端部之间的伤口表面接触元件以及多个由所述接触元件界定的空隙。According to yet another exemplary embodiment of the present invention, there is provided a therapeutic article for promoting wound healing on a mammalian body, the article comprising a polymeric mat having a plurality of A wound surface contacting element and a plurality of voids bounded by the contacting element.
依据本发明的又一个示例性实施方式,提供一种制造用于促进哺乳动物体上伤口愈合的治疗用品的方法,包括步骤:提供一熔融的基体材料;提供一界定并形成多个凹处和多个接触元件的模子;以及将熔融的基体材料涂(applying)到模子上。In accordance with yet another exemplary embodiment of the present invention, there is provided a method of making a therapeutic article for promoting wound healing on a mammalian body, comprising the steps of: providing a molten matrix material; providing a matrix material defining and forming a plurality of recesses and a mold for a plurality of contact elements; and applying molten matrix material to the mold.
依据本发明一个更进一步的示例性实施方式,提供一种制造用于促进哺乳动物体上伤口愈合的治疗用品的方法,包括步骤:提供一渗透性结构件;以及在所述渗透性结构件的表面中形成多个凹处。According to a further exemplary embodiment of the present invention, there is provided a method of manufacturing a therapeutic article for promoting wound healing on a mammalian body, comprising the steps of: providing a permeable structure; A plurality of recesses are formed in the surface.
依据本发明的另一个示例性实施方式,提供一种处理伤口的方法,包括步骤:提供一渗透性结构件,其中所述结构件包括多个设置在结构件端部之间的伤口表面接触元件以及多个由所述接触元件界定的空隙;将渗透性结构件敷贴到伤口的至少一个表面上;以及将力施加到结构件上,以保持结构件与伤口表面紧密接触。According to another exemplary embodiment of the present invention, there is provided a method of treating a wound comprising the steps of: providing a permeable structure, wherein the structure includes a plurality of wound surface contacting elements disposed between ends of the structure and a plurality of voids defined by the contact elements; applying the permeable structure to at least one surface of the wound; and applying a force to the structure to maintain the structure in intimate contact with the wound surface.
通过以下的描述部分,以上所述的、以及其他的方面和目的将变得显而易见。The above and other aspects and objects will become apparent from the following description.
附图说明Description of drawings
当以参照附图的方式通读以下的详细描述部分时,可最有效地理解本发明。要强调的是,按照通常的做法,附图中的各个特征部件并不是按比例绘制。相反,出于清楚目的而随意扩大或缩小各个特征的尺寸。其中所述附图包括:The present invention is best understood from the following detailed description when read with reference to the accompanying drawings. It is emphasized that, according to common practice, the various features in the drawings are not drawn to scale. On the contrary, the dimensions of the various features are arbitrarily expanded or reduced for clarity. Wherein said drawings include:
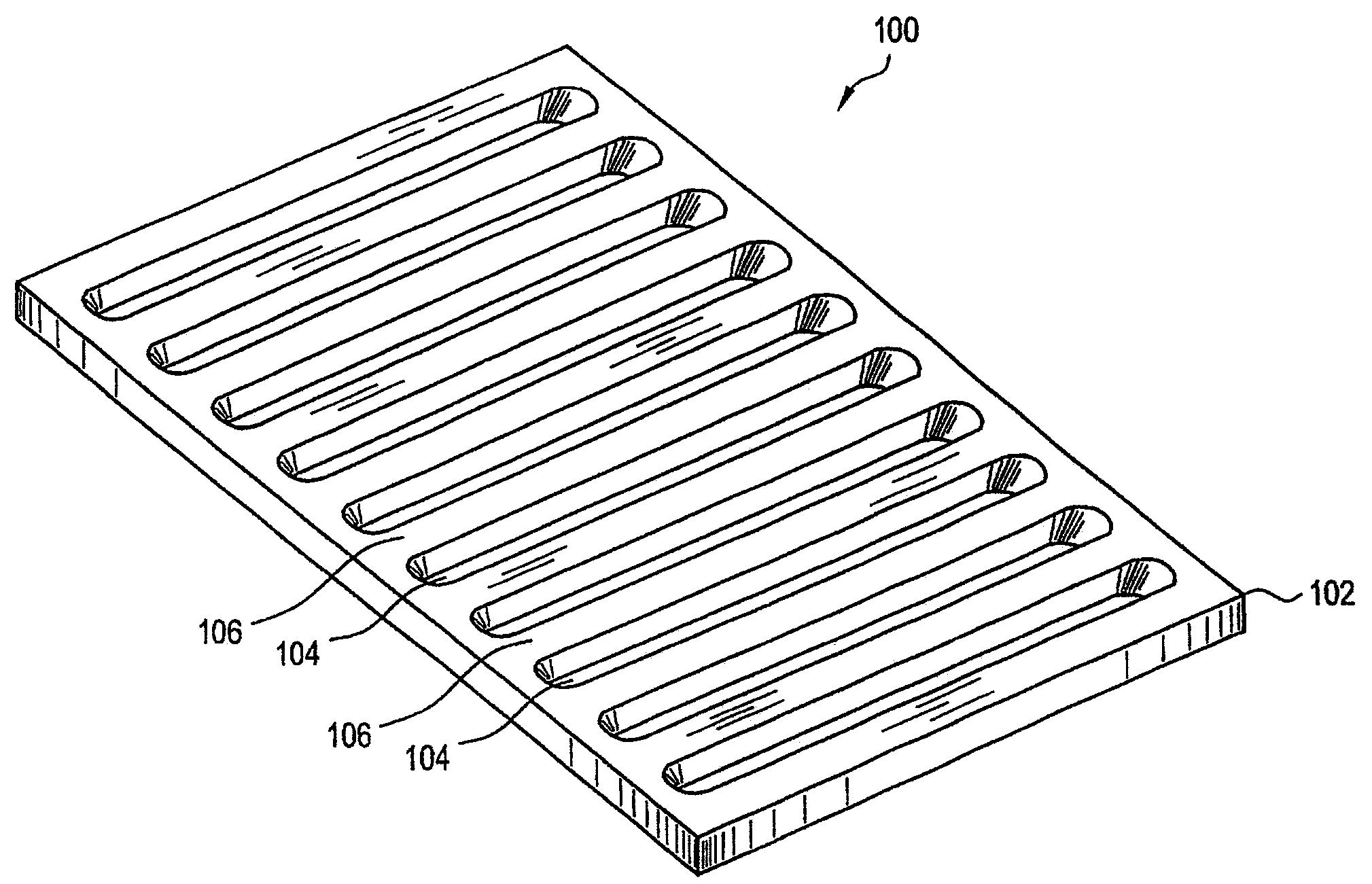
图1为依据本发明第一示例性实施方式的设有槽道的伤口接触敷片的立体图;1 is a perspective view of a wound contact patch provided with channels according to a first exemplary embodiment of the present invention;
图2A为依据本发明第二示例性实施方式的设有槽道的伤口接触组件的立体图;Figure 2A is a perspective view of a wound contact assembly provided with a channel according to a second exemplary embodiment of the present invention;
图2B为依据图2A所示的第二示例性实施方式的设有槽道的伤口接触组件的剖面图;Fig. 2B is a cross-sectional view of a wound contacting assembly provided with channels according to the second exemplary embodiment shown in Fig. 2A;
图3A为依据本发明第三示例性实施方式的设有凹孔的伤口敷片的立体图;Fig. 3A is a perspective view of a wound dressing with recessed holes according to a third exemplary embodiment of the present invention;
图3B为如图3A所示的设有凹孔的伤口敷片的俯视图;Fig. 3B is a top view of the wound dressing provided with concave holes as shown in Fig. 3A;
图3C为如图3A所示的设有凹孔的伤口敷片的仰视图;Fig. 3C is a bottom view of the wound dressing provided with concave holes as shown in Fig. 3A;
图3D为如图3A所示的设有凹孔的伤口敷片的剖面图;Fig. 3D is a cross-sectional view of the wound dressing with concave holes as shown in Fig. 3A;
图4A、4B、4C示出了如图3A所示的设有凹孔的伤口敷片的使用情形;Fig. 4A, 4B, 4C have shown the usage situation of the wound dressing that is provided with concave hole as shown in Fig. 3A;
图5A为依据本发明第四示例性实施方式的不规则伤口接触敷片的立体图;5A is a perspective view of an irregular wound contact patch according to a fourth exemplary embodiment of the present invention;
图5B为如图5A所示的不规则伤口接触敷片的剖面图。Fig. 5B is a cross-sectional view of the irregular wound contact patch as shown in Fig. 5A.
具体实施方式Detailed ways
一种具有断续接触层的伤口敷片,具有如下优点,即在伤口表面接触元件的作用下而促进组织的生长,并且通过在断续处设置供后续的组织生长所需的空隙体积(void volume)而使得组织能够生长。理想地,接触材料的结构在实体上要足够皱褶,以在将力施加到材料上时能够抵抗而不会被展平,所述力为将材料压到伤口表面所需。A wound dressing with an intermittent contact layer has the advantages that tissue growth is promoted under the action of wound surface contact elements, and the void volume (void) required for subsequent tissue growth is set at the discontinuity. volume) to enable tissue growth. Ideally, the structure of the contacting material is physically sufficiently corrugated to resist and not flatten when forces are applied to the material that are required to press the material to the wound surface.
材料理想为当被暴露到水流体或其他体液上时能够保持其结构。许多传统型敷片材料在受潮时变软,使得其几何形状发生变化。接触层为可渗透性,使得下面的伤口能够透气,并且使得能够对伤口进行引流。接触层的吸收性不应当过大,因为过大会导致结构损坏。所述层由这样的基底材料构成,即所述基底材料在湿气和水性液体的存在下可抵抗变化的发生。The material is ideally capable of retaining its structure when exposed to aqueous fluids or other bodily fluids. Many conventional sheet materials soften when exposed to moisture, causing changes in their geometry. The contact layer is permeable, allowing the underlying wound to breathe and allowing drainage of the wound. The absorbency of the contact layer should not be too great, as this would lead to structural damage. The layer consists of a base material that is resistant to changes in the presence of moisture and aqueous liquids.
在当前实施方式中,当将结构件(structure)压到伤口表面上时,保留在伤口表面上的空隙的大小优选为至少0.1mm。由邻近空隙的接触元件所界定的空隙的宽度优选为大于0.1mm。更加优选的宽度为在大约0.5到10mm之间,而更加优选的高度则为在大约0.2到5mm之间。In the current embodiment, when the structure is pressed onto the wound surface, the size of the void remaining on the wound surface is preferably at least 0.1 mm. The width of the interspace bounded by contact elements adjacent to the interspace is preferably greater than 0.1 mm. A more preferred width is between about 0.5 and 10 mm, and a more preferred height is between about 0.2 and 5 mm.
伤口愈合被视为是复杂的过程。当将如所描述的伤口接触材料压到伤口表面上时,认为会发生一些生物学过程。机械应力施加到下面的组织上。接触表面中的断续处将导致悬链形状(catenary shape)的力加压在组织上。这些机械应力促进细胞成活以及血管生成,而断续处则开始被填以颗粒状的组织(granular tissue)。过量的流体从伤口转移出来,而组织则以这样的方式及模式生长,即使得在拆除接触表面后、对新生长的组织所造成的破损达到最小。Wound healing is considered to be a complex process. When a wound contacting material as described is pressed onto a wound surface, several biological processes are believed to occur. Mechanical stress is applied to the underlying tissue. A discontinuity in the contact surface will cause a catenary shape of force to press on the tissue. These mechanical stresses promote cell survival and angiogenesis, and the discontinuity begins to fill with granular tissue. Excess fluid is diverted from the wound, and tissue grows in such a manner and pattern that after removal of the contact surface, damage to the newly grown tissue is minimized.
纤维基体或结构件具有纺造工艺技术所带来的各种灵活适应性。可通过一些在所属领域公知的方法,将纤维织物制成用于本发明的结构件。在这些方法中,有针织法、纺织法、刺绣法、编织法、毡织法、纺粘法、熔喷法、熔纺法。可进一步使这些方法中的每一种方法适于生产出其结构与本发明的材料结构相匹配的材料。对于熔喷法,可通过例如将熔融材料直接喷涂到模子上而在结构件的生产过程中得到理想的结构。可供选择地,可通过在生产之后对已成形的结构件进行加工而制成所述结构,例如通过热冲压或真空成形法。此外,可使纤维混合上粘合剂,并将其喷洒到刻纹表面上。Fiber matrix or structural parts have various flexible adaptability brought by spinning technology. Fibrous fabrics can be made into structural members for use in the present invention by a number of methods known in the art. Among these methods, there are knitting, weaving, embroidery, weaving, felting, spunbonding, meltblowing, and melt spinning. Each of these methods can be further adapted to produce materials whose structure matches that of the materials of the invention. With the meltblown method, the desired structure can be obtained during the production of the structural part, for example by spraying the molten material directly onto the mold. Alternatively, the structure may be produced by machining the formed structural member after production, for example by hot stamping or vacuum forming. Additionally, fibers can be mixed with a binder and sprayed onto the engraved surface.
纤维织物的多功能性还延及其在组合应用方面的容易适应性。可改变单纤维材料以优化物理参数,比如刚性或柔韧性。还可针对单纤维材料有助于伤口愈合的公知性能而对其进行选择。这些纤维材料的例子为藻酸钙和胶原。可供选择地,可用公知的伤口愈合剂对纤维进行处理,比如透明质酸或抗菌银(antimicrobial silver)。可改变纤维材料的比率,以适合伤口的需要。依据本发明的一个令人满意的方面,可根据需要,添加上具有各种各样伤口愈合特性的不同纤维。The versatility of the fiber fabric also extends to its easy adaptability in combined applications. The monofilament material can be varied to optimize physical parameters such as stiffness or flexibility. Monofilament materials can also be selected for their known properties to aid in wound healing. Examples of such fibrous materials are calcium alginate and collagen. Alternatively, the fibers may be treated with known wound healing agents, such as hyaluronic acid or antimicrobial silver. The ratio of fibrous materials can be varied to suit the needs of the wound. According to a desirable aspect of the present invention, different fibers having various wound healing properties can be added as desired.
其他预计作为有益添加物的纤维结构件包括:Other fiber structures expected to be beneficial additions include:
1、吸收流体的纤维1. Fibers that absorb fluid
2、非吸收剂类纤维2. Non-absorbent fibers
3、生物可吸收纤维3. Bioabsorbable fiber
4、对伤口表面进行引流的芯吸式纤维4. Wicking fibers that drain the wound surface
5、具有公知的愈合作用的纤维,比如藻酸钙5. Fibers known to have healing properties, such as calcium alginate
6、用于按受控的方式释放出固化剂的生物可侵蚀纤维6. Bioerodible fibers for releasing curing agent in a controlled manner
7、用于传输电荷或电流的传导性纤维7. Conductive fibers for the transmission of charge or current
8、用于选择性地将不良组织、物质或微生物去除的粘附性纤维8. Adhesive fibers for selectively removing undesirable tissues, substances or microorganisms
9、用于保护脆弱组织的非粘附性纤维9. Non-adhesive fibers for protecting delicate tissues
图1示出了本发明的一个示例性实施方式。如图1所示,设有槽道的伤口敷片100由一大体具有贴合性的聚合物毡片材料102构成。可供选择的其他织物也可适用于多数的应用,比如针织、纺织或编织织物。也可考虑使用具有类似物理特性的聚烯烃以及聚氨酯,所述聚烯烃比如聚乙烯或聚丙烯,而所述聚氨酯比如尼龙。尤其需要的是聚合物所具有的蠕变阻力。空隙槽道104切入到毡片材料102中,以提供促进新组织向上生长的断续处。在使用中,将设有槽道的伤口敷片100压到伤口上,使其与受伤的组织紧密接触。理想地,将0.1psi或更大的力施加到接触层上,以将接触元件压到伤口表面上。伤口接触元件106因而与受伤的组织处于紧密接触状态。Figure 1 shows an exemplary embodiment of the present invention. As shown in FIG. 1 , a channeled wound dressing 100 is constructed of a generally conformable
图2A和2B示出了伤口敷片组件200,由设有槽道的敷片100和一水汽可渗透的粘合性背片202构成。一般地,粘合性水汽可渗透的背片在所属领域为公知技术,并且认为所述背片通过保持相对于某些特定伤口的最佳潮湿度而有助于伤口的愈合。在使用中,将敷片组件200放置在伤口表面上,使其设有槽道的敷片部分100与伤口接触。粘合性片202覆盖住设有槽道的敷片100,并且粘合到邻近伤口的皮肤上。组件200提供了设有槽道的敷片100所具有的优点。附加地,在使潮湿水汽能够传送的同时,粘合性片202对组件200进行紧固、并且保护伤口使其免受细菌感染等等。Figures 2A and 2B illustrate a wound dressing assembly 200 comprising a channeled dressing 100 and a moisture vapor permeable adhesive backing sheet 202 . In general, adhesive vapor permeable backsheets are well known in the art and are believed to aid in wound healing by maintaining optimum moisture levels relative to certain specific wounds. In use, the patch assembly 200 is placed on a wound surface with the channeled
图3A、3B、3C和3D示出了本发明另一令人满意的实施方式。用于设有凹孔的伤口敷片300的基体或结构件可由类似于在设有槽道的敷片100中所利用的材料以及按与其类似的生产方法构造而成。图3A绘出了设有凹孔的敷片300的立体图,图中其接触表面320位于上面。图3D所示为设有凹孔的敷片300的剖面图,图中最佳地示出了数个接触元件332与凹孔空隙330。优选地,总的凹孔空隙面积占据总敷片面积的至少25%。更加优选地,总的凹孔空隙面积占据总敷片面积的至少50%。凹孔空隙330由侧壁332局部界定。侧壁332则起到部分地提供刚性的作用,其中所述刚性为抵抗凹孔式敷片300被压实所需。优选地,接触元件被构造成具有弓形接触表面。在一优选的实施方式中,接触半径(radius ofcontact)在大约0.1mm到1mm之间。Figures 3A, 3B, 3C and 3D illustrate another satisfactory embodiment of the invention. The base body or structural parts for the recessed wound dressing 300 can be constructed from materials similar to those used in the channeled dressing 100 and produced in a similar manner thereto. FIG. 3A depicts a perspective view of a
可将凹孔空隙330制成多种规则或不规则的形状。优选地,将凹孔空隙构造成使其不是“底切(undercut)”,从而使得每一孔口的周边小于相应的内空隙的周边。“底切”或网状空隙结构在拆除敷片300时可造成组织破损,原因在于当将材料从伤口上除去时,会撕裂掉已经长进空隙中的任何组织。附加地,底切或网状的空隙结构更有可能导致敷片材料脱落到新生长的伤口组织中。The
在一优选的实施方式中,用于敷片300的基底材料为Masterflo RTM,由美国麻省Wakefield的BBA集团制造。在该示例性实施方式中,基底材料的厚度大约为1.0mm。使凹孔空隙330热冲压到基底材料中,其深度大约为0.75mm、其直径则大约为2mm。In a preferred embodiment, the substrate material used for the
由于一般接触层每过几天就被更换,因此重要之处在于考虑到使新形成的组织与新接触层的空隙对准的可能性。因而,依据本发明的示例性实施方式:1)可对凹孔空隙330进行随机布置,使得每次更换敷片后凹孔间隙330不与新的组织生长物排齐;2)可提供具有不同直径的凹孔的不同接触层;或者3)每一次对材料进行更换时可使用不同间隔的凹孔。Since the contact layer is typically replaced every few days, it is important to allow for the possibility of aligning newly formed tissue with the void of the new contact layer. Therefore, according to the exemplary embodiment of the present invention: 1) the
图3B和3C分别示出了设有凹孔的敷片300的相应的俯视图和仰视图。另可想象得到该实施方式的一个变化形式,即具有同时设置在设有凹孔的敷片300的顶部和底部上的凹孔空隙330和/或接触元件322。还可想象得到有关设有凹孔的伤口敷片300的第二变化形式,其中,凹孔空隙330的一些或全部为穿过结构件整个厚度的孔眼所替代,使得该变化形式的俯视图和仰视图将会看似如图3B所示的视图。Figures 3B and 3C show corresponding top and bottom views, respectively, of a
在一个示例性实施方式中,凹孔空隙330可部分地被填充上治疗物质。例如,可将杀菌物质放置在空隙330中,以对受感染的伤口进行处理。此外,可将生物愈合剂传输到空隙中,以提高新组织的形成速率。在又一示例性实施方式中,敷片300的层体可在每一侧部上具有不同的功能。例如,敷片300的一侧可针对新组织的生长进行优化,而另一侧则可针对抗菌剂的传输进行优化。In an exemplary embodiment, the well void 330 may be partially filled with a therapeutic substance. For example, an antiseptic substance may be placed in
设有凹孔的敷片的使用由图4A、4B和4C所示出。图4A所示为伤口表面400。注意,伤口表面400可以代表深的组织伤口的小的内部部分、或浅的表面伤口中的大多数。图4B所示为将设有凹孔的敷片300应用到伤口表面400上,以及位于凹孔空隙330中的相应的组织生长物410。最后在图4C中,示出了将设有凹孔的敷片300拆除掉而只留有组织生长物410。如将在以下详细论及,理想为提供一用于使敷片300保持压到伤口表面上的外力。The use of a patch provided with wells is illustrated in Figures 4A, 4B and 4C. A wound surface 400 is shown in FIG. 4A . Note that wound surface 400 may represent a small interior portion of a deep tissue wound, or the majority of a shallow superficial wound. FIG. 4B shows the application of the
图5A和5B示出了本发明的另一实施方式,即粗糙的不规则敷片500。参看立体图,图5A绘出了不规则敷片500具有不规则空隙510以及不规则接触表面520的情形,其中所述接触表面520起到“钩形”元件的作用、其在将基体放置在伤口中时能够接触并且粘接到坏死组织上。当将基体从伤口上拆除时,由于坏死组织粘接到钩形突起部520上,从而可将其从伤口上移除。基体的拆除对伤口进行了清除。坏死组织的移除是使伤口愈合的重要部分。敷片500的基体可由聚合物毡片或絮状物(batting)制成。在一个示例性实施方式中,用热空气使所述毡片烧焦,从而一定百分比的纤维熔融而形成具有一些钩状元件520的刻纹表面。另一个合适的构形可以是例如与钩状或环状织物一同使用的钩状材料(hook material)。Figures 5A and 5B illustrate another embodiment of the present invention, a rough
尽管所使用的方法和基体有利于新组织的生长,但在适当移除掉坏死组织后,伤口仍会受到感染并可以用例如包括抗菌银的物质对其进行处理,其中所述物质在杀死细菌方面起到作用。Although the methods and substrates used are conducive to the growth of new tissue, after proper removal of necrotic tissue, the wound can still become infected and can be treated with, for example, substances including antibacterial silver which kill the Bacteria play a role.
一般地,新组织形成的伤口愈合阶段指的是增生阶段。一旦在增生阶段伤口充分愈合,并且细菌量充分下降,则可使用不含抗菌银的、以及任选地含有生长促进材料的基体,以利于新细胞组织的连续增生。Generally, the phase of wound healing where new tissue is formed is referred to as the proliferative phase. Once the wound has healed sufficiently and the bacterial load has sufficiently decreased during the proliferative phase, a substrate free of antimicrobial silver and optionally containing a growth promoting material may be used to facilitate continued proliferation of new tissue.
图5B所示为不规则敷片500的随机横剖面。可通过使合适的基体经过处于基体组成材料的熔点或熔点附近的对流热的下面,而制成不规则敷片500的粗糙化表面。例如,聚合物材料通常在从大约250摄氏度到大约290摄氏度的范围中熔融。在该范围下操作的短暂经过对流热源下面的聚合物毡片材料将历经表面熔融以及随后的位于其表面上的聚合物丝线的熔合过程。可通过温度和暴露时间而控制表面熔融的程度,以生成具有展示出不规则空隙510和不规则接触元件的理想粗糙度的表面。尽管所示出的不规则敷片500仅具有一个粗糙化表面,但是本发明并未受此限限,原因为可同样地对上表面和下表面均进行粗糙化。这样的敷片在对受损的伤口进行治疗时将相当有用。FIG. 5B shows a random cross-section of an
如上所述,使用本伤口绷带发明进行的处理包括压下创造性绷带,使其与伤口表面处于紧密接触状态。一般地,所述力应当至少0.1psi。可想象得到用于保持所述紧密接触状态的各种方法和系统。这些方法和系统可包括:将粘合膜贴在创造性绷带上、以及贴在邻近伤口表面之处;使绷带缠在敷片上并使其缠绕着受伤区域;以及将气袋或其他可膨胀囊状物紧固到结构件上,使囊状物充上气体或液体。在一示例性实施方式中,间歇地将压力施加到囊状物上。可将贴合性密封件放置在伤口上,并使其接触结构件,接着再将刚性密封件紧固在伤口的上面,与结构件接触,从而使力传递到接触结构件上。接着在刚性密封件和柔韧性密封件之间施加压力,使接触结构件压到伤口表面上。可通过使用贴合性护罩密封住伤口区域同时施加吸力而提高紧密接触。当使用吸力时,设有凹孔的伤口敷片300尤其良好地适用于所述应用。一般地,吸力的大小范围在0.25PSI和5psi之间。通过将伤口包扎材料包扎到敷片的背面上,可进一步改进吸力的使用。一种此类合适的伤口包扎材料描述在美国临时专利申请第60/554,158号中,其申请日为2004年3月18日。As noted above, treatment using the present wound dressing invention involves depressing the inventive bandage into intimate contact with the wound surface. Generally, the force should be at least 0.1 psi. Various methods and systems for maintaining said intimate contact state are conceivable. These methods and systems may include: applying the adhesive film to the inventive bandage and adjacent to the wound surface; wrapping the bandage over the dressing and wrapping it around the injured area; The object is fastened to the structural member, and the bladder is filled with gas or liquid. In an exemplary embodiment, pressure is applied to the bladder intermittently. The conformable seal can be placed over the wound and brought into contact with the structure, and the rigid seal can then be fastened over the wound in contact with the structure, thereby transferring force to the contacting structure. Pressure is then applied between the rigid seal and the flexible seal, pressing the contact structure against the wound surface. Intimate contact can be improved by using a conformable shield to seal the wound area while applying suction. A wound dressing 300 provided with dimples is particularly well suited for the application when suction is used. Generally, the magnitude of the suction ranges between 0.25PSI and 5psi. The use of suction can be further improved by wrapping wound dressing material onto the back of the patch. One such suitable wound dressing material is described in US Provisional Patent Application Serial No. 60/554,158, filed March 18,2004.
范例分析1Example analysis 1
患者A,70岁,男性,右臀部二级褥疮,明显溃烂。将本发明的接触结构件敷贴到伤口上,将粘合膜放置在伤口上面,并且与结构件接触。在粘合膜的下面施加1.1psi的吸力,以将力传递到接触结构件上。大体上持续保持吸力。每隔两到四天更换接触材料。在使用该用品30天后,伤口的溃烂部分基本愈合,伤口的开口区域从66平方厘米缩小到45平方厘米。对伤口进行多层皮肤移植。Patient A, a 70-year-old male, had a second-degree decubitus ulcer on his right buttock with obvious ulceration. A contact structure of the invention is applied to a wound, an adhesive film is placed over the wound, and brought into contact with the structure. A suction force of 1.1 psi was applied underneath the adhesive film to transfer the force to the contact structure. Suction is generally maintained continuously. Change contact materials every two to four days. After using this product for 30 days, the festering part of the wound was healed substantially, and the opening area of the wound was reduced from 66 square centimeters to 45 square centimeters. Multiple layers of skin grafts are applied to the wound.
范例分析2Example analysis 2
患者B,50岁,男性,右踝部骨折(facture),露出骨头。使用板以进行骨折复位,并且进行游离腹直肌皮瓣处理,覆盖住露出的骨头及硬体(hardware)。皮瓣仅部分存活,导致形成带有露出的骨头及硬物的、具有开口的伤口。将本发明的接触结构件敷贴到伤口上,以及将粘合膜放置在伤口的上面并使其接触结构件。通过使极好的绷带缠绕着踝部,或通过吸力的应用而将力施加到接触结构件上。一般地,施加吸力大约半天,并且在当天的剩余时间中保持住绷带包套的力,若干天后,仅使用绷带包套以提供力。当通过吸力提供力时,使用1到2psi之间的吸力。不到两星期,新组织已经在露出的硬物上长出。在7个星期的时间段中,伤口区域从50平方厘米缩小到28平方厘米。Patient B, a 50-year-old male, suffered a fracture of the right ankle and exposed bones. A plate is used for fracture reduction and a free rectus abdominis flap is performed to cover exposed bone and hardware. The flap survives only partially, resulting in an open wound with exposed bone and hard objects. A contact structure of the invention is applied to a wound, and an adhesive film is placed over the wound and contacts the structure. The force is applied to the contacting structure by wrapping a superb bandage around the ankle, or by application of suction. Typically, the suction is applied for about half a day, and the force of the bandage wrap is maintained for the remainder of the day, and after a few days, only the bandage wrap is used to provide force. When providing force by suction, use between 1 and 2 psi of suction. In less than two weeks, new tissue had grown on the exposed hard objects. The wound area shrunk from 50 cm2 to 28 cm2 over the 7 week period.
尽管已经在本申请文件中显示及描述了本发明的优选实施方式,但是应可理解,提供这些实施方式仅出于示例作用。所属领域的技术人员可想象得到许多不偏离本发明的精神的变化、修改和替换方案。因此,权利要求书将涵盖所有落入本发明的范围和精神之内的所述变化方案。While preferred embodiments of the invention have been shown and described in this specification, it should be understood that these embodiments are provided by way of example only. Many variations, modifications and substitutions can be imagined by those skilled in the art without departing from the spirit of the invention. Accordingly, the appended claims are to cover all such modifications as fall within the scope and spirit of the invention.
Claims (42)
Applications Claiming Priority (3)
| Application Number | Priority Date | Filing Date | Title |
|---|---|---|---|
| US56174504P | 2004-04-13 | 2004-04-13 | |
| US60/561,745 | 2004-04-13 | ||
| US10/982,346 | 2004-11-05 |
Publications (1)
| Publication Number | Publication Date |
|---|---|
| CN1956689A true CN1956689A (en) | 2007-05-02 |
Family
ID=38063656
Family Applications (1)
| Application Number | Title | Priority Date | Filing Date |
|---|---|---|---|
| CNA2005800113121A Pending CN1956689A (en) | 2004-04-13 | 2005-03-10 | Wound contact device |
Country Status (1)
| Country | Link |
|---|---|
| CN (1) | CN1956689A (en) |
Cited By (6)
| Publication number | Priority date | Publication date | Assignee | Title |
|---|---|---|---|---|
| WO2008141228A1 (en) | 2007-05-10 | 2008-11-20 | Kci Licensing Inc. | Reduced pressure wound dressing having a wound contact surface with columnar protrusions |
| CN103480048A (en) * | 2008-05-30 | 2014-01-01 | 凯希特许有限公司 | Reduced-pressure, compression systems and apparatuses for use on joints |
| CN105193553A (en) * | 2015-08-12 | 2015-12-30 | 万龙 | Water-absorbent non-woven fabric and preparation method thereof as well as medical non-woven fabric |
| CN109069712A (en) * | 2016-05-13 | 2018-12-21 | 史密夫及内修公开有限公司 | Enable the wound monitoring and therapy devices of sensor |
| CN110448407A (en) * | 2012-07-16 | 2019-11-15 | 史密夫和内修有限公司 | Negative pressure wound closure device |
| CN111685936A (en) * | 2012-02-02 | 2020-09-22 | 凯希特许有限公司 | Foam structure wound insert for directional granulation |
-
2005
- 2005-03-10 CN CNA2005800113121A patent/CN1956689A/en active Pending
Cited By (8)
| Publication number | Priority date | Publication date | Assignee | Title |
|---|---|---|---|---|
| WO2008141228A1 (en) | 2007-05-10 | 2008-11-20 | Kci Licensing Inc. | Reduced pressure wound dressing having a wound contact surface with columnar protrusions |
| EP2144643A4 (en) * | 2007-05-10 | 2018-01-03 | KCI Licensing, Inc. | Reduced pressure wound dressing having a wound contact surface with columnar protrusions |
| CN103480048A (en) * | 2008-05-30 | 2014-01-01 | 凯希特许有限公司 | Reduced-pressure, compression systems and apparatuses for use on joints |
| CN103480048B (en) * | 2008-05-30 | 2016-07-06 | 凯希特许有限公司 | For the reduced-pressure, compression systems used on joint and device |
| CN111685936A (en) * | 2012-02-02 | 2020-09-22 | 凯希特许有限公司 | Foam structure wound insert for directional granulation |
| CN110448407A (en) * | 2012-07-16 | 2019-11-15 | 史密夫和内修有限公司 | Negative pressure wound closure device |
| CN105193553A (en) * | 2015-08-12 | 2015-12-30 | 万龙 | Water-absorbent non-woven fabric and preparation method thereof as well as medical non-woven fabric |
| CN109069712A (en) * | 2016-05-13 | 2018-12-21 | 史密夫及内修公开有限公司 | Enable the wound monitoring and therapy devices of sensor |
Similar Documents
| Publication | Publication Date | Title |
|---|---|---|
| US8237010B2 (en) | Method of manufacturing a dressing | |
| AU2007269627B2 (en) | Growth stimulating wound dressing with improved contact surfaces | |
| US7951124B2 (en) | Growth stimulating wound dressing with improved contact surfaces | |
| JP5469201B2 (en) | Depressurized wound dressing comprising a wound contact surface having columnar protrusions | |
| EP1763378B1 (en) | Wound packing material for use with suction | |
| CN103841935B (en) | tissue healing | |
| US20110125110A1 (en) | Material for use as a wound packing element, particularly in negative pressure wound therapy | |
| US20130165878A1 (en) | Wound Filler Material with Improved Nonadherency Properties | |
| US20100262106A1 (en) | Wound packing members | |
| CN1956689A (en) | Wound contact device | |
| JP7090075B2 (en) | Negative pressure wound healing product with multiple shapes | |
| HK1100020A (en) | Wound contact device | |
| WO2025215378A1 (en) | Nonwoven textile composition | |
| HK1137372A (en) | Reduced pressure wound dressing having a wound contact surface with columnar protrusions |
Legal Events
| Date | Code | Title | Description |
|---|---|---|---|
| C06 | Publication | ||
| PB01 | Publication | ||
| C10 | Entry into substantive examination | ||
| SE01 | Entry into force of request for substantive examination | ||
| REG | Reference to a national code |
Ref country code: HK Ref legal event code: DE Ref document number: 1100020 Country of ref document: HK |
|
| ASS | Succession or assignment of patent right |
Owner name: BERINGER TECHNOLOGY COMPANY Free format text: FORMER OWNER: BERINGER LABORATORY CO., LTD. Effective date: 20081024 |
|
| C41 | Transfer of patent application or patent right or utility model | ||
| TA01 | Transfer of patent application right |
Effective date of registration: 20081024 Address after: Pennsylvania Applicant after: Berlin grid technology company Address before: American Pennsylvania Applicant before: Boehringer Lab Inc. |
|
| C02 | Deemed withdrawal of patent application after publication (patent law 2001) | ||
| WD01 | Invention patent application deemed withdrawn after publication |
Open date: 20070502 |
|
| REG | Reference to a national code |
Ref country code: HK Ref legal event code: WD Ref document number: 1100020 Country of ref document: HK |
