CN115844110A - Vamp with upper of a shoe face self-adaptation structure - Google Patents
Vamp with upper of a shoe face self-adaptation structure Download PDFInfo
- Publication number
- CN115844110A CN115844110A CN202211556393.5A CN202211556393A CN115844110A CN 115844110 A CN115844110 A CN 115844110A CN 202211556393 A CN202211556393 A CN 202211556393A CN 115844110 A CN115844110 A CN 115844110A
- Authority
- CN
- China
- Prior art keywords
- self
- support
- adaptive
- support bar
- adaptive material
- Prior art date
- Legal status (The legal status is an assumption and is not a legal conclusion. Google has not performed a legal analysis and makes no representation as to the accuracy of the status listed.)
- Granted
Links
- 239000000463 material Substances 0.000 claims abstract description 71
- 230000003044 adaptive effect Effects 0.000 claims abstract description 34
- 210000002683 foot Anatomy 0.000 claims description 24
- 239000012528 membrane Substances 0.000 claims description 17
- 238000004806 packaging method and process Methods 0.000 claims description 8
- 210000004744 fore-foot Anatomy 0.000 claims description 6
- 239000007788 liquid Substances 0.000 claims description 4
- 239000004927 clay Substances 0.000 claims description 3
- 239000010410 layer Substances 0.000 claims 2
- 239000002344 surface layer Substances 0.000 claims 2
- 230000006378 damage Effects 0.000 abstract description 7
- 210000000544 articulatio talocruralis Anatomy 0.000 description 5
- 239000012530 fluid Substances 0.000 description 5
- 208000027418 Wounds and injury Diseases 0.000 description 4
- 238000010586 diagram Methods 0.000 description 4
- 208000014674 injury Diseases 0.000 description 4
- 210000003041 ligament Anatomy 0.000 description 3
- 208000025978 Athletic injury Diseases 0.000 description 2
- 206010024453 Ligament sprain Diseases 0.000 description 2
- 238000005538 encapsulation Methods 0.000 description 2
- 238000009434 installation Methods 0.000 description 2
- 230000035699 permeability Effects 0.000 description 2
- 208000010392 Bone Fractures Diseases 0.000 description 1
- 208000017899 Foot injury Diseases 0.000 description 1
- 206010017076 Fracture Diseases 0.000 description 1
- 206010061225 Limb injury Diseases 0.000 description 1
- 208000010040 Sprains and Strains Diseases 0.000 description 1
- 241000469816 Varus Species 0.000 description 1
- 210000004439 collateral ligament Anatomy 0.000 description 1
- 230000000694 effects Effects 0.000 description 1
- 238000011835 investigation Methods 0.000 description 1
- 210000000629 knee joint Anatomy 0.000 description 1
- 239000011344 liquid material Substances 0.000 description 1
- 210000003141 lower extremity Anatomy 0.000 description 1
- 238000000034 method Methods 0.000 description 1
- 238000012986 modification Methods 0.000 description 1
- 230000004048 modification Effects 0.000 description 1
- 238000011160 research Methods 0.000 description 1
- 238000009958 sewing Methods 0.000 description 1
- 239000007787 solid Substances 0.000 description 1
- 238000003756 stirring Methods 0.000 description 1
- 230000003319 supportive effect Effects 0.000 description 1
- 230000009885 systemic effect Effects 0.000 description 1
- 238000012549 training Methods 0.000 description 1
Images
Landscapes
- Footwear And Its Accessory, Manufacturing Method And Apparatuses (AREA)
Abstract
本发明涉及具有鞋帮面自适应结构的鞋面,包括鞋面本体,鞋面本体中设有受力柔和能够柔和形变且受力剧烈能够迅速变硬的自适应材料支撑片,以自适应材料支撑片靠近足部的一侧为里面,相对的另一侧为表面,所述自适应材料支撑片上设有通孔,通孔从所述自适应材料支撑片的里面贯穿表面。本发明自适应材料支撑片能够对鞋面本体起到加强支撑的作用,自适应材料支撑片材料在受力较为柔软时能够柔和形变,使得鞋面本体能够随着足部的运动贴合足部,提升穿着的舒适性,自适应材料在受力较为剧烈时,能够迅速变硬,从而起到很好的支撑作用,避免因为足部过度移动而造成足部损伤,本发明通孔的设置,同时保证鞋面的透气性能,降低鞋面的重量。
The invention relates to a vamp with an adaptive structure for the upper surface, including a vamp body, which is provided with an adaptive material support sheet that is soft and deformable under force and hardens rapidly under severe force, and is supported by the adaptive material The side of the sheet close to the foot is the inside, and the opposite side is the surface. The self-adaptive material support sheet is provided with a through hole, and the through hole penetrates the surface from the inside of the self-adaptive material support sheet. The self-adaptive material support sheet of the present invention can strengthen the support for the vamp body, and the material of the self-adaptive material support sheet can be softly deformed when the force is relatively soft, so that the vamp body can fit the foot with the movement of the foot , to improve wearing comfort, the self-adaptive material can quickly harden when the force is severe, so as to play a good supporting role and avoid foot damage caused by excessive movement of the foot. The setting of the through hole in the present invention, At the same time, it ensures the breathability of the upper and reduces the weight of the upper.
Description
技术领域technical field
本发明涉及一种具有鞋帮面自适应结构的鞋面。The invention relates to a shoe upper with a shoe upper self-adaptive structure.
背景技术Background technique
鞋面,例如运动鞋的鞋面,在设计时会考虑到舒适性和支撑性,鞋面较为柔软时,能够贴合足部并使得足部能够在一定空间内活动,提升穿着的舒适性。而鞋面较硬时,能够提升相应部位的支撑性能,降低足部过度相对鞋底移动而造成损伤。以篮球运动为例,篮球下肢运动损伤以膝关节和踝关节为主,而其中踝关节扭伤最为常见。大量研究认为,最普遍的篮球运动损伤为踝关节的扭伤,约占全部损伤的80%。研究人员通过对篮球队俱乐部进行了一个赛季的追踪调查,结果发现:在每一千小时的训练量中有3次的全身性损伤,其中踝关节运动损伤就占一次。侧切急停动作时,足部会因为惯性而向运动方向产生滑移,一定的帮面支撑强度能够限制足部在鞋内易产生滑移的程度,从而减小踝关节内翻过度造成外侧副韧带(腓前韧带、跟腓韧带和距腓后韧带)拉伤,以及骨折伤病的发生的风险。在其它类型的运动中,特别是剧烈运动时,如果鞋帮面的支撑性不够,也会产生足部损伤的风险。The upper, such as the upper of sports shoes, is designed with comfort and support in mind. When the upper is soft, it can fit the foot and allow the foot to move in a certain space, improving the comfort of wearing. When the vamp is hard, it can improve the supporting performance of the corresponding parts and reduce the damage caused by excessive movement of the foot relative to the sole. Taking basketball as an example, basketball lower extremity sports injuries are mainly knee joints and ankle joints, and ankle joint sprains are the most common. According to a large number of studies, the most common basketball injury is the sprain of the ankle joint, accounting for about 80% of all injuries. The researchers conducted a season-long follow-up investigation on basketball clubs, and found that there were 3 systemic injuries in every thousand hours of training, of which ankle joint sports injuries accounted for one. During the side cut emergency stop action, the foot will slip in the direction of movement due to inertia. A certain upper surface support strength can limit the degree to which the foot is prone to slip in the shoe, thereby reducing the excessive varus of the ankle joint and causing the lateral collateral ligament (anterior peroneal ligament, calcaneofibular ligament and posterior talofibular ligament) strains, and the risk of fracture injuries. In other types of sports, especially strenuous activities, there is also a risk of foot injury if the upper surface is not sufficiently supportive.
为了提升帮面支撑,可以在帮面增加额外较为硬质的支撑结构,例如在鞋面的局部位置贴设硬度较大的TPU。例如在CN215532009U,名称为“一种用于篮球鞋的鞋底”的中国实用新型专利中,公开了这类鞋底。然而支撑片的应用会导致鞋面重量增加和鞋面透气性降低,也使得鞋面变硬而不能更好地贴合足部。现有的支撑结构在设计时,主要考虑支撑性能,采用不开设孔洞的支撑结构,并且将支撑结构设计成较为稳定的形状,例如三角形或类似三角形。例如在CN211657504U,名称为“一种鞋子”的中国新型专利中,公开了一种鞋子,所述鞋子的鞋面包括防侧翻结构,所述防侧翻结构设置于所述鞋面的内侧面或外侧面,防侧翻结构具体为三角形的防侧翻结构。In order to improve the support of the upper, an additional hard support structure can be added to the upper, for example, TPU with higher hardness can be pasted on some parts of the upper. For example, in CN215532009U, title is called " a kind of sole for basketball shoes " in the Chinese utility model patent, discloses this type of sole. However, the application of support sheets will increase the weight of the upper and reduce the air permeability of the upper, and also make the upper stiff and unable to fit the foot better. When designing the existing supporting structures, the supporting performance is mainly considered, and a supporting structure without openings is adopted, and the supporting structure is designed into a relatively stable shape, such as a triangle or a similar triangle. For example, in CN211657504U, a Chinese new patent titled "a shoe", a shoe is disclosed. The upper of the shoe includes an anti-rollover structure, and the anti-rollover structure is arranged on the inner side of the upper. Or the outer side, the anti-rollover structure is specifically a triangular anti-rollover structure.
鉴于此,本案发明人对上述问题进行深入研究,遂有本案产生。In view of this, the inventor of this case conducted in-depth research on the above-mentioned problem, and then this case was produced.
发明内容Contents of the invention
本发明的目的在于提供一种能够提升透气性、舒适性且能够保证支撑性的鞋面。The purpose of the present invention is to provide a vamp that can improve air permeability, comfort and ensure support.
为了达到上述目的,本发明采用这样的技术方案:In order to achieve the above object, the present invention adopts such technical scheme:
具有鞋帮面自适应结构的鞋面,包括鞋面本体,鞋面本体中设有受力柔和能够柔和形变且受力剧烈能够迅速变硬的自适应材料支撑片,以自适应材料支撑片靠近足部的一侧为里面,相对的另一侧为表面,所述自适应材料支撑片上设有通孔,通孔从所述自适应材料支撑片的里面贯穿表面。The vamp with the self-adaptive structure of the upper surface, including the vamp body, the vamp body is provided with an adaptive material support piece that is soft and deformable under force, and can be hardened rapidly under severe force, and the self-adaptive material support piece is close to the foot One side of the portion is the inner side, and the opposite side is the surface, and the self-adaptive material supporting sheet is provided with a through hole, and the through hole penetrates the surface from the inner side of the self-adapting material supporting sheet.
作为发明的优选方式,所述自适应材料支撑片包括柔性膜片和封装在柔性膜片内的自适应材料。As a preferred mode of the invention, the adaptive material support sheet includes a flexible membrane and an adaptive material encapsulated in the flexible membrane.
作为发明的优选方式,所述自适应材料为液态。As a preferred mode of the invention, the self-adaptive material is in a liquid state.
作为发明的优选方式,所述自适应材料为超轻彩泥。As a preferred mode of the invention, the self-adaptive material is ultra-light colored clay.
作为发明的优选方式,所述柔性膜片包括复合在一起的第一膜片和第二膜片,第一膜片与第二膜片之间形成多个封装通道,所述自适应材料封装在封装通道中,所述通孔贯穿所述柔性膜片。As a preferred mode of the invention, the flexible diaphragm includes a first diaphragm and a second diaphragm that are composited together, a plurality of packaging channels are formed between the first diaphragm and the second diaphragm, and the adaptive material is encapsulated in In the packaging channel, the through hole runs through the flexible membrane.
作为发明的优选方式,所述通孔为多个。As a preferred mode of the invention, there are multiple through holes.
作为发明的优选方式,多个所述通孔均匀布设,所述通孔的截面呈六边形。As a preferred mode of the invention, a plurality of through holes are evenly arranged, and the cross section of the through holes is hexagonal.
作为发明的优选方式,所述自适应材料支撑片由多个支撑单元构成,每个支撑单元包括首尾相接的第一支撑条、第二支撑条、第三支撑条以及第四支撑条,第一支撑条具有向支撑单元的中心凹陷的弧形部,第三支撑条具有向支撑单元的中心凹陷的弧形部,第二支撑条具有远离支撑单元的中心凹陷的弧形部,第四支撑条具有远离支撑单元的中心凹陷的弧形部,一个支撑单元的周围设置四个支撑单元,处于中心的支撑单元的第一支撑条为另一支撑单元的第四支撑条,处于中心的支撑单元的第二支撑条为另一支撑单元的第一支撑条,处于中心的支撑单元的第三支撑条为另一支撑单元的第二支撑条,处于中心的支撑单元的第四支撑条为另一支撑单元的第三支撑条。As a preferred mode of the invention, the self-adaptive material support sheet is composed of a plurality of support units, and each support unit includes a first support bar, a second support bar, a third support bar and a fourth support bar connected end to end. A support bar has an arc-shaped portion sunken toward the center of the support unit, a third support bar has an arc-shaped portion sunken toward the center of the support unit, the second support bar has an arc-shaped portion sunken away from the center of the support unit, and the fourth support bar The bar has a concave arc-shaped part away from the center of the support unit, four support units are arranged around one support unit, the first support bar of the support unit in the center is the fourth support bar of the other support unit, and the support unit in the center The second support bar is the first support bar of another support unit, the third support bar of the central support unit is the second support bar of another support unit, and the fourth support bar of the central support unit is another The third support bar of the support unit.
作为发明的优选方式,以所述鞋面本体对应人体脚掌前部的位置为前掌部,对应脚后跟的位置为后跟部,对应足弓的位置为足弓部,以所述鞋面本体对应脚背内侧的一侧为内侧,对应脚背外侧的一侧为外侧,所述自适应材料支撑片设置在前掌部、足弓部、后跟部三者中的一者或多者。As a preferred mode of the invention, the position of the vamp body corresponding to the front of the human foot is the forefoot part, the position corresponding to the heel is the heel part, the position corresponding to the arch of the foot is the arch part, and the vamp body corresponds to the instep The inner side is the inner side, and the side corresponding to the outer side of the instep is the outer side, and the self-adaptive material support sheet is arranged on one or more of the forefoot, the arch of the foot, and the heel.
作为发明的优选方式,所述自适应材料支撑片固定在所述鞋面本体的表面,或者所述鞋面本体包括里层和表层,所述自适应材料支撑片设置在里层与表层之间。As a preferred mode of the invention, the adaptive material supporting sheet is fixed on the surface of the upper body, or the upper body includes an inner layer and an outer layer, and the adaptive material supporting sheet is arranged between the inner layer and the outer layer .
采用本发明的技术方案,自适应材料支撑片能够对鞋面本体起到加强支撑的作用,自适应材料支撑片材料在受力较为柔软时能够柔和形变,使得鞋面本体能够随着足部的运动贴合足部,提升穿着的舒适性,自适应材料在受力较为剧烈时,能够迅速变硬,从而起到很好的支撑作用,避免因为足部过度移动而造成足部损伤,本发明通孔的设置,使得自适应材料支撑片受力较柔和时,能够更好地随着鞋面形变,同时保证鞋面的透气性能,降低鞋面的重量。By adopting the technical solution of the present invention, the self-adaptive material support piece can strengthen the support for the vamp body, and the material of the self-adaptive material support piece can be softly deformed when the force is relatively soft, so that the vamp body can follow the movement of the foot. The movement fits the foot and improves the comfort of wearing. The self-adaptive material can quickly harden when the force is severe, so as to play a good supporting role and avoid foot damage caused by excessive movement of the foot. The present invention The setting of the through hole makes the self-adaptive material supporting sheet deform better with the vamp when the force is softer, while ensuring the breathability of the vamp and reducing the weight of the vamp.
附图说明Description of drawings
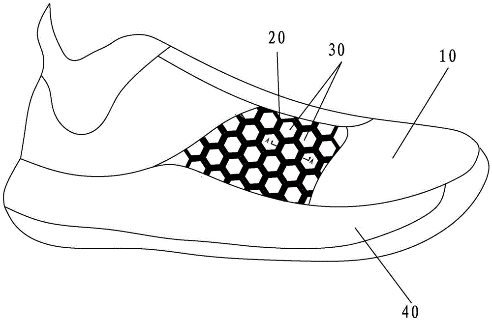
图1为本发明第一种实施方式的结构示意图。Fig. 1 is a structural schematic diagram of the first embodiment of the present invention.
图2为本发明第二种实施方式的结构示意图。Fig. 2 is a schematic structural diagram of a second embodiment of the present invention.
图3为本发明第三种实施方式的结构示意图。Fig. 3 is a schematic structural diagram of a third embodiment of the present invention.
图4为图1中A-A位置中自适应材料支撑片的结构示意图。Fig. 4 is a schematic structural diagram of an adaptive material support sheet at position A-A in Fig. 1 .
图中:In the picture:
鞋面10自适应材料支撑片20Upper 10 Adaptive
第一支撑条21第二支撑条22
第三支撑条23第四支撑条24The third support bar 23 the
第一膜片25第二膜片26
自适应材料27封装通道28
通孔30Through
鞋底40
具体实施方式Detailed ways
为了进一步解释本发明的技术方案,下面结合实施例进行详细阐述。In order to further explain the technical solution of the present invention, the following will be described in detail in conjunction with the examples.
参照图1至图4,具有鞋帮面自适应结构的鞋面10,包括鞋面本体,鞋面本体中设有受力柔和能够柔和形变且受力剧烈能够迅速变硬的自适应材料支撑片20,以自适应材料支撑片20靠近足部的一侧为里面,相对的另一侧为表面,所述自适应材料支撑片20上设有通孔30,通孔30从所述自适应材料支撑片20的里面贯穿表面。Referring to Fig. 1 to Fig. 4, the
作为发明的优选方式,所述自适应材料支撑片20包括柔性膜片和封装在柔性膜片内的自适应材料27。其中自适应材料27选用公知的材料,例如选用非牛顿流体材料,这流体材料的特性在于,搅动越快流体间的粘性越大,越表现得像固体一样,一旦相对速度降下来,流体间的粘性就会迅速下降。As a preferred mode of the invention, the adaptive
作为发明的优选方式,所述自适应材料27为液态。自适应材料采用液态材料,具体可以为较为粘稠的液体形状,能够更好发挥自适应材料的特点,特别在受力较为柔和时,鞋面10能够更加容易形变。As a preferred mode of the invention, the self-
作为发明的优选方式,所述自适应材料27为超轻彩泥。As a preferred mode of the invention, the self-
作为发明的优选方式,所述柔性膜片包括复合在一起的第一膜片25和第二膜片26,第一膜片25与第二膜片26之间形成多个封装通道,所述自适应材料27封装在封装通道28中,所述通孔30贯穿所述柔性膜片。参照图4,例如将封装通道28设置在第一膜片25上,将自适应材料27注入或放置在封装通道中,将第二膜片26盖在第一膜片25上,将第一膜片25周沿和第二膜片26的周沿热压或粘合在一起,从而将封装通道28封闭,避免自适应材料27流出。As a preferred mode of the invention, the flexible diaphragm includes a
作为发明的优选方式,所述通孔30为多个。作为发明的优选方式,多个所述通孔30均匀布设,所述通孔30的截面呈六边形。在实施例中,第一膜片25和第二膜片26均为具有六边形孔洞的片材结构,当第一膜片25和第二膜片26复合在一起后,相应的六边形孔洞形成通孔40。As a preferred mode of the invention, there are multiple through
作为发明的优选方式,所述自适应材料支撑片20由多个支撑单元构成,每个支撑单元包括首尾相接的第一支撑条21、第二支撑条22、第三支撑条23以及第四支撑条24,第一支撑条21具有向支撑单元的中心凹陷的弧形部,第三支撑条23具有向支撑单元的中心凹陷的弧形部,第二支撑条22具有远离支撑单元的中心凹陷的弧形部,第四支撑条24具有远离支撑单元的中心凹陷的弧形部,一个支撑单元的周围设置四个支撑单元,处于中心的支撑单元的第一支撑条21为另一支撑单元的第四支撑条24,处于中心的支撑单元的第二支撑条22为另一支撑单元的第一支撑条21,处于中心的支撑单元的第三支撑条23为另一支撑单元的第二支撑条22,处于中心的支撑单元的第四支撑条24为另一支撑单元的第三支撑条23。采用这种结构,当鞋面本体受力较柔和(受力较小)时,第一支撑条21和第三支撑条23向支撑单元的中心形变,第二支撑条22和第四支撑条24向远离支撑单元的中心方向扩张,从而赋予了自适应材料支撑片20很大的形变空间,使得自适应材料支撑片20能够贴合足部并随着鞋面10形变,提升鞋子穿着的舒适性。而鞋面10受力较为剧烈或受力较大时,则第一支撑条21、第二支撑条22、第三支撑条23以及第四支撑条24迅速变硬,各支撑单元相互牵制,从而将通孔30锁死,这个自适应材料支撑片20具有很好的支撑性。为了提升支撑性能,本领域的技术人员通常不会对支撑片进行开孔,特别是大面积的开孔,本发明巧妙地在自适应材料上设置大面积的孔洞,利用自适应材料的特性和支撑单元的相互牵制实现自锁,保证了支撑性能。As a preferred mode of the invention, the adaptive
作为发明的优选方式,以所述鞋面本体对应人体脚掌前部的位置为前掌部,对应脚后跟的位置为后跟部,对应足弓的位置为足弓部,以所述鞋面本体对应脚背内侧的一侧为内侧,对应脚背外侧的一侧为外侧,所述自适应材料支撑片20设置在前掌部、足弓部、后跟部三者中的一者或多者。本发明,可以根据鞋面10的使用场合来设置自适应材料支撑片20的设置位置。As a preferred mode of the invention, the position of the vamp body corresponding to the front of the human foot is the forefoot part, the position corresponding to the heel is the heel part, the position corresponding to the arch of the foot is the arch part, and the vamp body corresponds to the instep The inner side is the inner side, and the side corresponding to the outer side of the instep is the outer side, and the adaptive
作为发明的优选方式,所述自适应材料支撑片20固定在所述鞋面本体的表面,例如可以采用粘贴或者缝合的方式设置。优先地,所述鞋面本体包括里层和表层,表层和里层例如可以均为网布层,所述自适应材料支撑片20设置在里层与表层之间,表层与里层之间形成安装空间,将自适应材料支撑片20容纳在该安装空间中,从而将自适应材料支撑片20隐藏。As a preferred mode of the invention, the self-adaptive
本发明的产品形式并非限于本案实施例,任何人对其进行类似思路的适当变化或修饰,皆应视为不脱离本发明的专利范畴。The product form of the present invention is not limited to the embodiment of this case, and anyone who makes appropriate changes or modifications of similar ideas to it shall be deemed as not departing from the scope of the patent of the present invention.
Claims (10)
Priority Applications (1)
| Application Number | Priority Date | Filing Date | Title |
|---|---|---|---|
| CN202211556393.5A CN115844110B (en) | 2022-12-06 | 2022-12-06 | Vamp with vamp face self-adaptation structure |
Applications Claiming Priority (1)
| Application Number | Priority Date | Filing Date | Title |
|---|---|---|---|
| CN202211556393.5A CN115844110B (en) | 2022-12-06 | 2022-12-06 | Vamp with vamp face self-adaptation structure |
Publications (2)
| Publication Number | Publication Date |
|---|---|
| CN115844110A true CN115844110A (en) | 2023-03-28 |
| CN115844110B CN115844110B (en) | 2025-01-14 |
Family
ID=85670306
Family Applications (1)
| Application Number | Title | Priority Date | Filing Date |
|---|---|---|---|
| CN202211556393.5A Active CN115844110B (en) | 2022-12-06 | 2022-12-06 | Vamp with vamp face self-adaptation structure |
Country Status (1)
| Country | Link |
|---|---|
| CN (1) | CN115844110B (en) |
Citations (8)
| Publication number | Priority date | Publication date | Assignee | Title |
|---|---|---|---|---|
| CN101518372A (en) * | 2009-04-10 | 2009-09-02 | 中国科学技术大学 | Comfortable anti-piercing safety shoes |
| US9538813B1 (en) * | 2014-08-20 | 2017-01-10 | Akervall Technologies, Inc. | Energy absorbing elements for footwear and method of use |
| CN209436377U (en) * | 2018-10-24 | 2019-09-27 | 特步(中国)有限公司 | A kind of elastic vamp with elastic support structure reinforcement |
| US20200221816A1 (en) * | 2019-01-10 | 2020-07-16 | Tate Technology, Llc | Tactical impact mitigation footwear cover |
| US20200229542A1 (en) * | 2019-01-21 | 2020-07-23 | Kwan Chieh Co., Ltd. | Upper structure |
| CN213370278U (en) * | 2020-11-09 | 2021-06-08 | 高密市康卓新材料科技有限公司 | Novel walking shoes |
| CN216961675U (en) * | 2022-03-12 | 2022-07-15 | 伊诺维(无锡)新材料科技有限公司 | Impact self-adaptive hardened safety toe cap |
| CN217487800U (en) * | 2022-02-07 | 2022-09-27 | 泉州振科技术服务有限公司 | Soft and elastic non-pressure-sensitive tongue part, tongue and shoe |
-
2022
- 2022-12-06 CN CN202211556393.5A patent/CN115844110B/en active Active
Patent Citations (8)
| Publication number | Priority date | Publication date | Assignee | Title |
|---|---|---|---|---|
| CN101518372A (en) * | 2009-04-10 | 2009-09-02 | 中国科学技术大学 | Comfortable anti-piercing safety shoes |
| US9538813B1 (en) * | 2014-08-20 | 2017-01-10 | Akervall Technologies, Inc. | Energy absorbing elements for footwear and method of use |
| CN209436377U (en) * | 2018-10-24 | 2019-09-27 | 特步(中国)有限公司 | A kind of elastic vamp with elastic support structure reinforcement |
| US20200221816A1 (en) * | 2019-01-10 | 2020-07-16 | Tate Technology, Llc | Tactical impact mitigation footwear cover |
| US20200229542A1 (en) * | 2019-01-21 | 2020-07-23 | Kwan Chieh Co., Ltd. | Upper structure |
| CN213370278U (en) * | 2020-11-09 | 2021-06-08 | 高密市康卓新材料科技有限公司 | Novel walking shoes |
| CN217487800U (en) * | 2022-02-07 | 2022-09-27 | 泉州振科技术服务有限公司 | Soft and elastic non-pressure-sensitive tongue part, tongue and shoe |
| CN216961675U (en) * | 2022-03-12 | 2022-07-15 | 伊诺维(无锡)新材料科技有限公司 | Impact self-adaptive hardened safety toe cap |
Also Published As
| Publication number | Publication date |
|---|---|
| CN115844110B (en) | 2025-01-14 |
Similar Documents
| Publication | Publication Date | Title |
|---|---|---|
| US4402146A (en) | Running shoe sole with heel tabs | |
| ES2585567T3 (en) | Three-way footwear support system | |
| JP2016182332A (en) | Sole and shoes | |
| BR0201518A (en) | Midsole structure of an athletic footwear | |
| JPH07509640A (en) | sole structure | |
| IT201600073012A1 (en) | INTERSULE STRUCTURE FOR FOOTWEAR | |
| CN104366896B (en) | A kind of children's footwear sole based on biomechanics | |
| WO2022074845A1 (en) | Shoe sole and shoe comprising same | |
| CN115844110A (en) | Vamp with upper of a shoe face self-adaptation structure | |
| CN102379487B (en) | multifunctional insole | |
| CN210094826U (en) | Multifunctional comfortable running shoe sole structure with insole and shoe sole integrated structure | |
| CN207744761U (en) | A kind of health shoe-pad for diabetes patient | |
| CN201315886Y (en) | Diabetes shoe | |
| JPS6024162Y2 (en) | athletic shoe soles | |
| CN216019431U (en) | All-round comfortable type high-heeled shoes | |
| CN220545909U (en) | Adjustable air bag type stabilizing system integrally wrapped by surface and bottom and rollover prevention sports shoes | |
| CN221980170U (en) | A flexible torsion-resistant shoe | |
| CN204908178U (en) | Insole | |
| CN223614251U (en) | A double-wing anti-rollover structure and shoes | |
| CN218682392U (en) | Breathing shock-absorbing leather shoes | |
| CN223695063U (en) | Composite structure soles and shoes | |
| CN206620938U (en) | A kind of professional basketball footwear Insole structure | |
| CN221830110U (en) | Sports shoes with antibacterial and deodorizing functions | |
| CN105795589A (en) | Breathable and breathable waterproof sole and shoes for stepping on | |
| CN217407946U (en) | Sports shoes with air bag material structure |
Legal Events
| Date | Code | Title | Description |
|---|---|---|---|
| PB01 | Publication | ||
| PB01 | Publication | ||
| SE01 | Entry into force of request for substantive examination | ||
| SE01 | Entry into force of request for substantive examination | ||
| GR01 | Patent grant | ||
| GR01 | Patent grant |
