[go: up one dir, main page]

CN115104868A - Adjustable switch for drawer booster - Google Patents

Adjustable switch for drawer booster Download PDF

Info

Publication number
CN115104868A
CN115104868A CN202210050974.5A CN202210050974A CN115104868A CN 115104868 A CN115104868 A CN 115104868A CN 202210050974 A CN202210050974 A CN 202210050974A CN 115104868 A CN115104868 A CN 115104868A
Authority
CN
China
Prior art keywords
switch
movable
drawer
switch box
movable gear
Prior art date
Legal status (The legal status is an assumption and is not a legal conclusion. Google has not performed a legal analysis and makes no representation as to the accuracy of the status listed.)
Granted
Application number
CN202210050974.5A
Other languages
Chinese (zh)
Other versions
CN115104868B (en
Inventor
叶柏廉
Current Assignee (The listed assignees may be inaccurate. Google has not performed a legal analysis and makes no representation or warranty as to the accuracy of the list.)
Dongguan Dynamic Sources Technology Co ltd
Original Assignee
Dongguan Dynamic Sources Technology Co ltd
Priority date (The priority date is an assumption and is not a legal conclusion. Google has not performed a legal analysis and makes no representation as to the accuracy of the date listed.)
Filing date
Publication date
Application filed by Dongguan Dynamic Sources Technology Co ltd filed Critical Dongguan Dynamic Sources Technology Co ltd
Priority to CN202210050974.5A priority Critical patent/CN115104868B/en
Publication of CN115104868A publication Critical patent/CN115104868A/en
Application granted granted Critical
Publication of CN115104868B publication Critical patent/CN115104868B/en
Active legal-status Critical Current
Anticipated expiration legal-status Critical

Links

Images

Classifications

    • AHUMAN NECESSITIES
    • A47FURNITURE; DOMESTIC ARTICLES OR APPLIANCES; COFFEE MILLS; SPICE MILLS; SUCTION CLEANERS IN GENERAL
    • A47BTABLES; DESKS; OFFICE FURNITURE; CABINETS; DRAWERS; GENERAL DETAILS OF FURNITURE
    • A47B88/00Drawers for tables, cabinets or like furniture; Guides for drawers
    • A47B88/40Sliding drawers; Slides or guides therefor
    • A47B88/453Actuated drawers
    • A47B88/46Actuated drawers operated by mechanically-stored energy, e.g. by springs
    • A47B88/463Actuated drawers operated by mechanically-stored energy, e.g. by springs self-opening
    • AHUMAN NECESSITIES
    • A47FURNITURE; DOMESTIC ARTICLES OR APPLIANCES; COFFEE MILLS; SPICE MILLS; SUCTION CLEANERS IN GENERAL
    • A47BTABLES; DESKS; OFFICE FURNITURE; CABINETS; DRAWERS; GENERAL DETAILS OF FURNITURE
    • A47B88/00Drawers for tables, cabinets or like furniture; Guides for drawers
    • A47B88/40Sliding drawers; Slides or guides therefor
    • A47B88/473Braking devices, e.g. linear or rotational dampers or friction brakes; Buffers; End stops
    • A47B88/477Buffers; End stops
    • AHUMAN NECESSITIES
    • A47FURNITURE; DOMESTIC ARTICLES OR APPLIANCES; COFFEE MILLS; SPICE MILLS; SUCTION CLEANERS IN GENERAL
    • A47BTABLES; DESKS; OFFICE FURNITURE; CABINETS; DRAWERS; GENERAL DETAILS OF FURNITURE
    • A47B88/00Drawers for tables, cabinets or like furniture; Guides for drawers
    • A47B88/90Constructional details of drawers
    • AHUMAN NECESSITIES
    • A47FURNITURE; DOMESTIC ARTICLES OR APPLIANCES; COFFEE MILLS; SPICE MILLS; SUCTION CLEANERS IN GENERAL
    • A47BTABLES; DESKS; OFFICE FURNITURE; CABINETS; DRAWERS; GENERAL DETAILS OF FURNITURE
    • A47B88/00Drawers for tables, cabinets or like furniture; Guides for drawers
    • A47B88/90Constructional details of drawers
    • A47B88/919Accessories or additional elements for drawers, e.g. drawer lighting

Landscapes

  • Engineering & Computer Science (AREA)
  • Mechanical Engineering (AREA)
  • Push-Button Switches (AREA)

Abstract

本发明涉及开关领域,尤指一种用于抽屉助推器的可调式开关,包括盖体、开关模块、活动锁定装置,其中盖体的侧面开设有安装缺口,且开关模块的底部设置有一齿条,所述盖体内部设置与齿条啮合的第一活动齿轮;其中开关模块沿齿条的轴线方向穿出安装缺口并带动第一活动齿轮旋转;且活动锁定装置的一端延伸至盖体内部,且通过旋转活动锁定装置使得活动锁定装置的末端卡设或脱离第一活动齿轮。通过手动拉动开关模块以实现调整开关模块的位置,当确定好位置后,可以通过旋转活动锁定装置,即使得其末端锁死第一活动齿轮,导致齿条不可动,故可以固定开关模块的位置;即可以调整开关模块和抽屉后面板距离,避免安装时候要重复调试。

Figure 202210050974

The invention relates to the field of switches, in particular to an adjustable switch for a drawer booster, comprising a cover body, a switch module and an active locking device, wherein a side of the cover body is provided with a mounting notch, and the bottom of the switch module is provided with a tooth The inside of the cover body is provided with a first movable gear that meshes with the rack; the switch module penetrates the installation gap along the axis direction of the rack and drives the first movable gear to rotate; and one end of the movable locking device extends into the inside of the cover body , and by rotating the movable locking device, the end of the movable locking device is clamped or disengaged from the first movable gear. The position of the switch module can be adjusted by manually pulling the switch module. After the position is determined, the movable locking device can be rotated to lock the first movable gear at its end, so that the rack cannot move, so the position of the switch module can be fixed. ; That is, the distance between the switch module and the rear panel of the drawer can be adjusted to avoid repeated debugging during installation.

Figure 202210050974

Description

Adjustable switch for drawer booster
Technical Field
The invention relates to the field of switches, in particular to an adjustable switch for a drawer booster.
Background
In the prior art, a drawer booster needs to be arranged inside a drawer cabinet body, and then a drawer is pushed to enable a rear panel of the drawer to press a switch on the drawer booster, so that the drawer booster pushes out the drawer; however, in the prior art, the switch on the drawer booster is fixed and unadjustable, and the switch on the drawer booster and the drawer rear panel of the drawer inside the drawer cabinet with different styles are not fixed, so that the position of the drawer needs to be adjusted, the difficulty of assembly and debugging is huge, and the installation is inconvenient.
Disclosure of Invention
To solve the above problems, the present invention provides: an adjustable switch for a drawer booster can realize the position adjustment of a switch module by manually pulling the switch module, and after the position is determined, a movable locking device can be rotated to lock the tail end of the movable locking device to a first movable gear, so that a rack is immovable, and the position of the switch module can be fixed; can be with adjustment switch module and drawer rear panel distance, the repeated debugging of wanting when avoiding the installation.
In order to achieve the purpose, the invention adopts the technical scheme that: an adjustable switch for a drawer booster comprises a cover body, a switch module and a movable locking device, wherein an installation notch is formed in the side face of the cover body, a rack is arranged at the bottom of the switch module, and a first movable gear meshed with the rack is arranged inside the cover body; the switch module penetrates through the mounting notch along the axis direction of the rack and drives the first movable gear to rotate; and one end of the movable locking device extends into the cover body, and the tail end of the movable locking device is clamped or separated from the first movable gear by rotating the movable locking device.
Further, the movable locking device comprises an adjusting knob positioned outside the cover body and a locking rod of a J-shaped structure positioned inside the cover body; wherein one end of the adjusting knob extends into the cover body and is connected with one end of the locking rod, the other end of the locking rod is provided with a latch used for limiting the rotation of the first movable gear, and the adjusting knob is rotated to enable the latch to be clamped or separated from the first movable gear.
Furthermore, the one end that adjust knob extends to in the lid is first connecting portion, and the cross section of this first connecting portion is "ten" style of calligraphy structure, just the one end of locking lever is the second connecting portion, has seted up in this second connecting portion with the spread groove of connecting portion adaptation, connecting portion are pegged graft and are realized the dress in the spread groove.
Further, be provided with the fixed baffle that two symmetries set up in the lid, and two fixed baffles enclose into a locking groove, and wherein the locking lever is placed in the locking inslot, and second connecting portion are located between locking groove and the lid inside wall, and the external diameter of second connecting portion is greater than the width in locking groove.
Furthermore, a first alignment mark is arranged on the outer side wall of the cover body, and a second alignment mark is arranged on the adjusting knob.
Further, the switch module comprises a switch box and a control switch, wherein the switch box comprises a switch box body, a switch box body and a return spring arranged in the switch box body, and the rack is connected with the bottom of the switch box body; the one end box body of reset spring is connected, and the other end is connected with the switch box body, the switch box body moves and triggers the control switch who is located switch box body inside toward the switch box body, just reset spring is in compression state.
Furthermore, a plurality of movable pins are arranged at the bottom of the switch box body, a plurality of clamping holes are formed in the bottom of the switch box body, the switch box body penetrates through the clamping holes through the movable pins, and clamping hooks are arranged at the tail ends of the movable pins; the bottom of switch box body still is provided with the guide post, the guiding hole has been seted up to the bottom of switch box body, and wherein reset spring overlaps and establishes at the guide post, and the guide post activity is furnished with in the guide hole.
Furthermore, the lateral wall of switch box bottom still is provided with the stopper, and this stopper supports the inner wall of ending at the installation breach and realizes spacingly.
Furthermore, a first shaft cylinder and a second shaft cylinder are convexly arranged inside the cover body, wherein the first movable gear is movably sleeved on the first shaft cylinder, a second movable gear is movably sleeved on the second shaft cylinder, and one side of the rack, which is far away from the first movable gear, is meshed with the second movable gear.
The locking device further comprises a positioning cover plate, wherein a first positioning pin and a second positioning pin are arranged at the bottom of the positioning cover plate, the first positioning pin is inserted into the first shaft cylinder, the second positioning pin is inserted into the second shaft cylinder, and the locking rod, the rack, the first movable gear and the second movable gear are covered by the positioning cover plate.
The invention has the beneficial effects that: when a booster product is installed, the drawer rear panel is ensured to be fully contacted with a product switch in the application, the realization of functions can be ensured, the styles of drawers are different, the space behind the drawers is different, the position of the product installed in the drawer rear panel is determined, the adjustable switch of the application is added, the position of the switch module can be adjusted by manually pulling the switch module, and after the position is determined, the movable locking device can be rotated, namely, the tail end of the movable locking device is locked with the first movable gear, so that the rack is immovable, and the position of the switch module can be fixed; can be with adjustment switch module and drawer rear panel distance, the repeated debugging of wanting when avoiding the installation.
Drawings
Fig. 1 is a schematic structural view of the present invention.
Fig. 2 is a schematic structural view of the cover body in the present invention.
Fig. 3 is a schematic view of the construction of the movable locking device.
Fig. 4 is a schematic view of the structure of the adjusting screw.
Fig. 5 is a schematic view of the rack and the switch module.
Fig. 6 is a schematic structural view of the switch case.
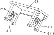
The reference numbers illustrate: the locking device comprises a cover body 1, an installation notch 11, a first fixed partition plate 12, a second fixed partition plate 13, a locking groove 14, a first shaft tube 15, a second shaft tube 16, a switch box body 21, a movable pin 211, a clamping hook 2111, a guide post 212, a return spring 213, a switch box body 22, a limiting block 221, a rack 3, a movable locking device 4, an adjusting knob 41, a second alignment mark 411, a first connecting part 412, a locking rod 42, a clamping tooth 421, a positioning cover plate 5, a first movable gear 6 and a second movable gear 7.
Detailed Description
Referring to fig. 1-6, the present invention relates to an adjustable switch for a drawer booster, which includes a cover 1, a switch module, and a movable locking device 4, wherein a side surface of the cover 1 is provided with an installation notch 11, a rack 3 is disposed at the bottom of the switch module, and a first movable gear 6 engaged with the rack 3 is disposed inside the cover 1; the switch module penetrates through the installation notch 11 along the axis direction of the rack 3 and drives the first movable gear 6 to rotate; and one end of the movable locking device 4 extends to the inside of the cover body 1, and the end of the movable locking device 4 is clamped or separated from the first movable gear 6 by rotating the movable locking device 4.
The product in the embodiment is actually used by matching with a drawer booster (No. CN208850917U), the device protected in the embodiment is used by combining with the drawer booster, namely, the switch module in the embodiment is electrically connected with the PLC controller, and when the drawer rear panel presses the switch module, the PLC controller can control the driving motor inside the drawer booster to act, so as to realize the effect of pushing the drawer. (since drawer boosters are prior art, the principle of operation has not been discussed redundantly with respect to their specific structure.)
When the drawer booster product is installed, the realization of functions can be ensured only by ensuring that the rear panel of the drawer is fully contacted with the product switch in the application, the styles of the drawer are different, the space behind the drawer is different, and then the position of the product installed inside the drawer booster product is required to be confirmed; the adjustable switch is added, the position of the switch module can be adjusted by manually pulling the switch module, and after the position is determined, the movable locking device 4 can be rotated, namely, the tail end of the movable locking device is locked with the first movable gear 6, so that the rack 3 is immovable, and the position of the switch module can be fixed; can be with adjustment switch module and drawer rear panel distance, the repeated debugging of wanting when avoiding the installation.
Further, the movable locking device 4 comprises an adjusting knob 41 positioned outside the cover body 1, a locking rod 42 of a "J" type structure positioned inside the cover body 1; one end of the adjusting knob 41 extends into the cover body 1 and is connected with one end of the locking lever 42, the other end of the locking lever 42 is provided with a latch 421 for limiting the rotation of the first movable gear 6, and the adjusting knob 41 is rotated to enable the latch 421 to be latched or disengaged with the first movable gear 6. In the present application, the latch 421 at the end of the locking lever 42 of the "J" type structure locks the first movable gear 6, and locks the position of the switch module, and the structure is simple and the operation is easy.
Further, one end of the adjusting knob 41 extending into the lid body 1 is a first connecting portion 412, the cross section of the first connecting portion 412 is a cross-shaped structure, one end of the locking lever 42 is a second connecting portion, a connecting groove adapted to the connecting portion is formed in the second connecting portion, and the connecting portion is inserted into the connecting groove to be assembled. In order to realize the detachable connection between the adjusting knob 41 and the locking rod 42 through the first connecting portion 412 and the second connecting portion, the maintenance is convenient, and meanwhile, the cross section of the first connecting portion 412 is in a cross-shaped structure, so that the slipping phenomenon between the first connecting portion 412 and the second connecting portion is avoided.
Further, be provided with the fixed baffle that two symmetries set up in the lid 1: first fixed baffle 12 and the fixed baffle 13 of second, and first fixed baffle 12 and the fixed baffle 13 of second enclose into a locking groove 14, and wherein locking lever 42 is placed in locking groove 14, and the second connecting portion are located between locking groove 14 and the lid 1 inside wall, and the external diameter of second connecting portion is greater than the width that locks groove 14. In this embodiment, the locking rod 42 is placed in the locking groove 14 to stabilize the position thereof and prevent the left and right deviation, and the outer diameter of the second connecting portion is larger than the width of the locking groove 14, and the second connecting portion is located between the locking groove 14 and the inner side wall of the cover body 1, so as to prevent the locking rod 42 from shifting in the up-down direction.
Further, a first alignment mark is provided on the outer side wall of the cover body 1, and a second alignment mark 411 is provided on the adjusting knob 41. The first alignment mark and the second alignment mark 411 function to remind the user of the locked state or the unlocked state.
Further, the switch module comprises a switch box and a control switch, wherein the switch box comprises a switch box body 22, a switch box body 21 and a return spring 213 arranged in the switch box body 21, and the rack 3 is connected with the bottom of the switch box body 22; the one end box body of reset spring 213 is connected, and the other end is connected with switch box body 21, switch box body 21 moves and triggers the control switch who is located switch box body 22 inside toward switch box body 22, just reset spring 213 is in compression state. Wherein be used for through promoting the drawer rear panel, then make the drawer rear panel move toward switch box body 21, and then promote switch box body 21 and move toward switch box body 22 direction, trigger the control switch who is located switch box body 22 inside simultaneously, then make the inside driving motor action of PLC controller control drawer boost motor, and then realize the effect that promotes the drawer, after the drawer rear panel is released, under reset spring 213 spring effort, with switch box body 21 toward outside promotion realization reset again, wait for next trigger control switch.
Further, a plurality of movable pins 211 are arranged at the bottom of the switch box body 21, a plurality of clamping holes are formed at the bottom of the switch box body 22, the switch box body 21 penetrates through the clamping holes through the movable pins 211, and a clamping hook 2111 is arranged at the tail end of each movable pin 211; the bottom of the switch box body 21 is further provided with a guide post 212, the bottom of the switch box body 22 is provided with a guide hole, wherein the reset spring 213 is sleeved on the guide post 212, and the guide post 212 is movably assembled in the guide hole.
In this embodiment, in order to avoid the excessive acting force of the return spring 213 from completely separating the switch box body 21 from the switch box body 22, the hook 2111 at the end of the movable leg 211 will be stopped at the locking hole, so as to avoid the above situation; the guide post 212 is provided to ensure that the switch box 21 moves along a designated direction without deviation.
Further, the outer side wall of the bottom of the switch box 22 is further provided with a limiting block 221, and the limiting block 221 abuts against the inner wall of the installation notch 11 to realize limiting. In this embodiment, the switch box 22 can be prevented from falling out of the installation notch 11 by providing the stopper 221.
Further, a first shaft barrel 15 and a second shaft barrel 16 are convexly arranged inside the cover body 1, wherein the first movable gear 6 is movably sleeved on the first shaft barrel 15, and a second movable gear 7 is movably sleeved on the second shaft barrel 16, wherein one side of the rack 3, which is far away from the first movable gear 6, is meshed with the second movable gear 7. In this embodiment, the first movable gear 6 and the second movable gear 7 are provided for guiding the moving direction of the rack 3.
Further, the locking device further comprises a positioning cover plate 5, wherein a first positioning pin and a second positioning pin are arranged at the bottom of the positioning cover plate 5, the first positioning pin is inserted into the first shaft cylinder 15, the second positioning pin is inserted into the second shaft cylinder 16, and the locking rod 42, the rack 3, the first movable gear 6 and the second movable gear 7 are covered by the positioning cover plate 5. In this embodiment, the positioning cover covers the locking rod 42, the rack 3, the first movable gear 6, and the second movable gear 7, so as to prevent the locking rod 42, the rack 3, the first movable gear 6, and the second movable gear 7 from moving in the vertical direction.
The above embodiments are only for describing the preferred embodiments of the present invention, and are not intended to limit the scope of the present invention, and various modifications and improvements made to the technical solution of the present invention by those skilled in the art without departing from the spirit of the design of the present invention should fall within the protection scope defined by the claims of the present invention.

Claims (10)

1.一种用于抽屉助推器的可调式开关,其特征在于:包括盖体、开关模块、活动锁定装置,其中盖体的侧面开设有安装缺口,且开关模块的底部设置有一齿条,所述盖体内部设置与齿条啮合的第一活动齿轮;其中开关模块沿齿条的轴线方向穿出安装缺口并带动第一活动齿轮旋转;且活动锁定装置的一端延伸至盖体内部,且通过旋转活动锁定装置使得活动锁定装置的末端卡设或脱离第一活动齿轮。1. An adjustable switch for a drawer booster, characterized in that it comprises a cover body, a switch module, and an active locking device, wherein the side of the cover body is provided with a mounting notch, and the bottom of the switch module is provided with a rack, A first movable gear meshing with the rack is arranged inside the cover body; wherein the switch module penetrates the installation gap along the axis direction of the rack and drives the first movable gear to rotate; and one end of the movable locking device extends into the inside of the cover body, and By rotating the movable locking device, the end of the movable locking device is clamped or released from the first movable gear. 2.根据权利要求1所述的一种用于抽屉助推器的可调式开关,其特征在于:所述活动锁定装置包括位于盖体外的调节旋钮、位于盖体内部的“J”型结构的锁定杆;其中调节旋钮的一端延伸至盖体内与锁定杆的一端连接,锁定杆的另一端设置有用于限制第一活动齿轮旋转的卡齿,旋转调节旋钮并使得卡齿卡设或脱离第一活动齿轮。2 . An adjustable switch for a drawer booster according to claim 1 , wherein the movable locking device comprises an adjustment knob located outside the cover and a “J”-shaped structure located inside the cover. 3 . A locking lever; one end of the adjusting knob extends into the cover body and is connected with one end of the locking lever, and the other end of the locking lever is provided with a locking tooth for restricting the rotation of the first movable gear, and the adjusting knob is rotated to make the locking tooth clamp or disengage from the first movable gear. Active gear. 3.根据权利要求2所述的一种用于抽屉助推器的可调式开关,其特征在于:所述调节旋钮延伸至盖体内的一端为第一连接部,该第一连接部的横截面为“十”字型结构,且所述锁定杆的一端为第二连接部,该第二连接部内开设有与连接部适配的连接槽,连接部插接在连接槽内实现配装。3 . The adjustable switch for a drawer booster according to claim 2 , wherein the end of the adjusting knob extending into the cover is a first connecting portion, and the cross section of the first connecting portion is 3 . It is a "cross"-shaped structure, and one end of the locking rod is a second connecting part, the second connecting part is provided with a connecting groove adapted to the connecting part, and the connecting part is inserted into the connecting groove to realize fitting. 4.根据权利要求3所述的一种用于抽屉助推器的可调式开关,其特征在于:所述盖体内设置有两个对称设置的固定隔板,且两个固定隔板围成一锁定槽,其中锁定杆放置在锁定槽内,第二连接部位于锁定槽与盖体内侧壁之间,且第二连接部的外径大于锁定槽的宽度。4. An adjustable switch for a drawer booster according to claim 3, characterized in that: the cover body is provided with two symmetrically arranged fixed partitions, and the two fixed partitions form a The locking groove, wherein the locking rod is placed in the locking groove, the second connecting part is located between the locking groove and the inner side wall of the cover, and the outer diameter of the second connecting part is larger than the width of the locking groove. 5.根据权利要求3所述的一种用于抽屉助推器的可调式开关,其特征在于:所述盖体的外侧壁上设置有第一对齐标记,所述调节旋钮设置有第二对齐标记。5 . The adjustable switch for a drawer booster according to claim 3 , wherein a first alignment mark is provided on the outer side wall of the cover body, and a second alignment mark is provided on the adjustment knob. 6 . mark. 6.根据权利要求5所述的一种用于抽屉助推器的可调式开关,其特征在于:所述开关模块包括开关盒子以及控制开关,其中开关盒子包括开关箱体、开关盒体、设置在开关盒体内部的复位弹簧,所述齿条与开关箱体的底部连接;所述复位弹簧的一端盒体连接,另一端与开关盒体连接,所述开关盒体往开关箱体移动并触发位于开关箱体内部的控制开关,且所述复位弹簧处于压缩状态。6. An adjustable switch for a drawer booster according to claim 5, wherein the switch module comprises a switch box and a control switch, wherein the switch box comprises a switch box, a switch box, a set of A return spring inside the switch box body, the rack is connected to the bottom of the switch box body; one end of the return spring is connected to the box body, and the other end is connected to the switch box body, and the switch box body moves toward the switch box body and The control switch located inside the switch box is triggered, and the return spring is in a compressed state. 7.根据权利要求6所述的一种用于抽屉助推器的可调式开关,其特征在于:所述开关盒体的底部设置有若干活动脚,所述开关箱体的底部开设有若干卡孔,开关盒体通过活动脚穿过在卡孔,且所述活动脚的末端设置有卡勾;所述开关盒体的底部还设置有导向柱,所述开关箱体的底部开设有导向孔,其中复位弹簧套设在导向柱,且导向柱活动配装在导向孔内。7 . The adjustable switch for a drawer booster according to claim 6 , wherein a number of movable feet are arranged at the bottom of the switch box, and a number of cards are opened at the bottom of the switch box. 8 . The switch box body passes through the clip hole through the movable foot, and the end of the movable foot is provided with a hook; the bottom of the switch box body is also provided with a guide post, and the bottom of the switch box body is provided with a guide hole , wherein the return spring is sleeved on the guide column, and the guide column is movably fitted in the guide hole. 8.根据权利要求7所述的一种用于抽屉助推器的可调式开关,其特征在于:所述开关箱体底部的外侧壁还设置有限位块,且该限位块抵止在安装缺口的内壁并实现限位。8 . The adjustable switch for a drawer booster according to claim 7 , wherein the outer side wall of the bottom of the switch box is further provided with a limit block, and the limit block stops the installation. 9 . The inner wall of the notch and realize the limit. 9.根据权利要求7所述的一种用于抽屉助推器的可调式开关,其特征在于:其中盖体内部凸设有第一轴筒以及第二轴筒,其中第一活动齿轮活动套设在第一轴筒上,且第二轴筒上活动套设有第二活动齿轮,其中所述齿条的远离第一活动齿轮的一侧与第二活动齿轮啮合。9 . An adjustable switch for a drawer booster according to claim 7 , wherein a first shaft tube and a second shaft tube are protruded from the inside of the cover body, wherein the first movable gear is movable sleeve. 10 . A second movable gear is arranged on the first shaft barrel, and a second movable gear is movably sleeved on the second shaft barrel, wherein the side of the rack away from the first movable gear meshes with the second movable gear. 10.根据权利要求9所述的一种用于抽屉助推器的可调式开关,其特征在于:还包括定位盖板,所述定位盖板的底部设置有第一定位脚、第二定位脚,其中第一定位脚插接在第一轴筒上,第二定位脚插接在第二轴筒上,且定位盖板将锁定杆、齿条、第一活动齿轮、第二活动齿轮盖合。10 . The adjustable switch for a drawer booster according to claim 9 , further comprising a positioning cover, the bottom of the positioning cover is provided with a first positioning foot and a second positioning foot. 11 . , wherein the first positioning foot is inserted on the first shaft barrel, the second positioning foot is inserted on the second shaft barrel, and the positioning cover plate covers the locking rod, the rack, the first movable gear, and the second movable gear. .
CN202210050974.5A 2022-01-17 2022-01-17 An adjustable switch for a drawer booster Active CN115104868B (en)

Priority Applications (1)

Application Number Priority Date Filing Date Title
CN202210050974.5A CN115104868B (en) 2022-01-17 2022-01-17 An adjustable switch for a drawer booster

Applications Claiming Priority (1)

Application Number Priority Date Filing Date Title
CN202210050974.5A CN115104868B (en) 2022-01-17 2022-01-17 An adjustable switch for a drawer booster

Publications (2)

Publication Number Publication Date
CN115104868A true CN115104868A (en) 2022-09-27
CN115104868B CN115104868B (en) 2026-01-02

Family

ID=83324618

Family Applications (1)

Application Number Title Priority Date Filing Date
CN202210050974.5A Active CN115104868B (en) 2022-01-17 2022-01-17 An adjustable switch for a drawer booster

Country Status (1)

Country Link
CN (1) CN115104868B (en)

Cited By (1)

* Cited by examiner, † Cited by third party
Publication number Priority date Publication date Assignee Title
WO2023088496A1 (en) * 2023-01-10 2023-05-25 东莞动源机电科技有限公司 Drawer push assistor

Citations (6)

* Cited by examiner, † Cited by third party
Publication number Priority date Publication date Assignee Title
US4609233A (en) * 1983-11-03 1986-09-02 Timberline Supply, Ltd. Furniture locking system
EP0658673A1 (en) * 1993-07-27 1995-06-21 Pieter Martin Henderson Locking elements and assemblies thereof for drawer units and drawer units embodying same
US20070283733A1 (en) * 2006-06-12 2007-12-13 Ratkus Jeffery R Electronic locking system
EP3050463A1 (en) * 2015-01-27 2016-08-03 Anton Schneider GmbH & Co KG Parallel drawer slide
AU2020103231A4 (en) * 2018-04-09 2021-01-14 Daqo Group Co., Ltd. Contact propulsion mechanism in drawer type switch cabinet
CN217013252U (en) * 2022-01-17 2022-07-22 东莞动源机电科技有限公司 Adjustable switch for drawer booster

Patent Citations (6)

* Cited by examiner, † Cited by third party
Publication number Priority date Publication date Assignee Title
US4609233A (en) * 1983-11-03 1986-09-02 Timberline Supply, Ltd. Furniture locking system
EP0658673A1 (en) * 1993-07-27 1995-06-21 Pieter Martin Henderson Locking elements and assemblies thereof for drawer units and drawer units embodying same
US20070283733A1 (en) * 2006-06-12 2007-12-13 Ratkus Jeffery R Electronic locking system
EP3050463A1 (en) * 2015-01-27 2016-08-03 Anton Schneider GmbH & Co KG Parallel drawer slide
AU2020103231A4 (en) * 2018-04-09 2021-01-14 Daqo Group Co., Ltd. Contact propulsion mechanism in drawer type switch cabinet
CN217013252U (en) * 2022-01-17 2022-07-22 东莞动源机电科技有限公司 Adjustable switch for drawer booster

Cited By (1)

* Cited by examiner, † Cited by third party
Publication number Priority date Publication date Assignee Title
WO2023088496A1 (en) * 2023-01-10 2023-05-25 东莞动源机电科技有限公司 Drawer push assistor

Also Published As

Publication number Publication date
CN115104868B (en) 2026-01-02

Similar Documents

Publication Publication Date Title
CN201403824Y (en) Drawer panel combination member
KR101221308B1 (en) Device for fitting a guide unit, and furniture part and piece of furniture having such a device
US3239298A (en) Combination drawer pull and latch assembly
US9873358B2 (en) Locking device for baby car seat
TWI665984B (en) Slide rail bracket
CN105661962B (en) The attachment structure of drawer side and panel
CN115104868A (en) Adjustable switch for drawer booster
CN204467482U (en) A kind of detachable adjustable drawer front panel locking device
CN217013252U (en) Adjustable switch for drawer booster
US3090643A (en) Latch
CN212395375U (en) Cardio-pulmonary resuscitation machine
WO2023088496A1 (en) Drawer push assistor
CN215291892U (en) Lock body and door lock
US3031248A (en) Drawer handle and latch
CN110344216B (en) Washing machine detergent throwing device and washing machine
CN217642371U (en) Draw-out type low-voltage switch cabinet
TWM555166U (en) Slide bracket
BR202013003006Y1 (en) CONSTRUCTIVE ARRANGEMENT APPLIED IN PULLEY FOR SLIDING DOORS
CN113142853A (en) Accommodating type drawer handle capable of preventing children from opening drawer by mistake
CN220457741U (en) Burglar alarm for electric equipment for agriculture
CN209556570U (en) The flat lock of Fast Installation
CN219569832U (en) Lock core structure of drawer lock
CN205558632U (en) Telescopic safe panel
CN210900062U (en) A pallet stop unlocking mechanism
CN221169132U (en) A convenient cabinet door rebounder

Legal Events

Date Code Title Description
PB01 Publication
PB01 Publication
SE01 Entry into force of request for substantive examination
SE01 Entry into force of request for substantive examination
GR01 Patent grant
GR01 Patent grant