[go: up one dir, main page]

CN112168336A - Radio frequency suction scalpel for hepatobiliary pancreas surgery - Google Patents

Radio frequency suction scalpel for hepatobiliary pancreas surgery Download PDF

Info

Publication number
CN112168336A
CN112168336A CN202011016982.5A CN202011016982A CN112168336A CN 112168336 A CN112168336 A CN 112168336A CN 202011016982 A CN202011016982 A CN 202011016982A CN 112168336 A CN112168336 A CN 112168336A
Authority
CN
China
Prior art keywords
fixedly connected
electrode
radio frequency
knife
plate
Prior art date
Legal status (The legal status is an assumption and is not a legal conclusion. Google has not performed a legal analysis and makes no representation as to the accuracy of the status listed.)
Pending
Application number
CN202011016982.5A
Other languages
Chinese (zh)
Inventor
王小波
陈洁
白涛
吴飞翔
钟鉴宏
黎乐群
唐娟
Current Assignee (The listed assignees may be inaccurate. Google has not performed a legal analysis and makes no representation or warranty as to the accuracy of the list.)
Guangxi Medical University Affiliated Tumour Hospital
Original Assignee
Guangxi Medical University Affiliated Tumour Hospital
Priority date (The priority date is an assumption and is not a legal conclusion. Google has not performed a legal analysis and makes no representation as to the accuracy of the date listed.)
Filing date
Publication date
Application filed by Guangxi Medical University Affiliated Tumour Hospital filed Critical Guangxi Medical University Affiliated Tumour Hospital
Priority to CN202011016982.5A priority Critical patent/CN112168336A/en
Publication of CN112168336A publication Critical patent/CN112168336A/en
Pending legal-status Critical Current

Links

Images

Classifications

    • AHUMAN NECESSITIES
    • A61MEDICAL OR VETERINARY SCIENCE; HYGIENE
    • A61BDIAGNOSIS; SURGERY; IDENTIFICATION
    • A61B18/00Surgical instruments, devices or methods for transferring non-mechanical forms of energy to or from the body
    • A61B18/04Surgical instruments, devices or methods for transferring non-mechanical forms of energy to or from the body by heating
    • A61B18/12Surgical instruments, devices or methods for transferring non-mechanical forms of energy to or from the body by heating by passing a current through the tissue to be heated, e.g. high-frequency current
    • AHUMAN NECESSITIES
    • A61MEDICAL OR VETERINARY SCIENCE; HYGIENE
    • A61BDIAGNOSIS; SURGERY; IDENTIFICATION
    • A61B18/00Surgical instruments, devices or methods for transferring non-mechanical forms of energy to or from the body
    • A61B2018/00005Cooling or heating of the probe or tissue immediately surrounding the probe
    • A61B2018/00011Cooling or heating of the probe or tissue immediately surrounding the probe with fluids
    • A61B2018/00029Cooling or heating of the probe or tissue immediately surrounding the probe with fluids open
    • AHUMAN NECESSITIES
    • A61MEDICAL OR VETERINARY SCIENCE; HYGIENE
    • A61BDIAGNOSIS; SURGERY; IDENTIFICATION
    • A61B18/00Surgical instruments, devices or methods for transferring non-mechanical forms of energy to or from the body
    • A61B2018/00571Surgical instruments, devices or methods for transferring non-mechanical forms of energy to or from the body for achieving a particular surgical effect
    • A61B2018/00607Coagulation and cutting with the same instrument
    • AHUMAN NECESSITIES
    • A61MEDICAL OR VETERINARY SCIENCE; HYGIENE
    • A61BDIAGNOSIS; SURGERY; IDENTIFICATION
    • A61B2218/00Details of surgical instruments, devices or methods for transferring non-mechanical forms of energy to or from the body
    • A61B2218/001Details of surgical instruments, devices or methods for transferring non-mechanical forms of energy to or from the body having means for irrigation and/or aspiration of substances to and/or from the surgical site
    • A61B2218/002Irrigation

Landscapes

  • Health & Medical Sciences (AREA)
  • Surgery (AREA)
  • Engineering & Computer Science (AREA)
  • Life Sciences & Earth Sciences (AREA)
  • Biomedical Technology (AREA)
  • Otolaryngology (AREA)
  • Nuclear Medicine, Radiotherapy & Molecular Imaging (AREA)
  • Plasma & Fusion (AREA)
  • Physics & Mathematics (AREA)
  • Heart & Thoracic Surgery (AREA)
  • Medical Informatics (AREA)
  • Molecular Biology (AREA)
  • Animal Behavior & Ethology (AREA)
  • General Health & Medical Sciences (AREA)
  • Public Health (AREA)
  • Veterinary Medicine (AREA)
  • Surgical Instruments (AREA)

Abstract

本发明涉及医疗器械技术领域,具体揭示了一种用于肝胆胰外科手术的射频吸引手术刀,包括刀柄、位于刀柄右端的电极连接座以及与电极连接座电连接的电极刀,所述刀柄的左端安装有抽吸泵,所述抽吸泵的左端固定连接有连接杆,所述连接杆的左端安装有射频发生装置,所述射频发生装置与刀柄电连接,该射频发生装置的左端中部电连接有弹簧线缆;本发明通过设置的吸引管能够配合设置的吸引器在使用的时候利用喇叭罩的配合连接,配合着电极刀的正常使用,可以对产生的烟雾进行吸收,避免影响到电极刀的正常使用的视野,同时配合着电极连接座,使得电极刀能够根据不同的使用情况来进行更换,可以满足多种不同使用的要求。

Figure 202011016982

The invention relates to the technical field of medical devices, and specifically discloses a radiofrequency suction scalpel for hepatobiliary and pancreatic surgery, comprising a handle, an electrode connection seat located at the right end of the handle, and an electrode blade electrically connected to the electrode connection seat. A suction pump is installed on the left end of the knife handle, a connecting rod is fixedly connected to the left end of the suction pump, and a radio frequency generating device is installed on the left end of the connecting rod, and the radio frequency generating device is electrically connected with the knife handle. A spring cable is electrically connected to the middle of the left end of the knife; the suction tube provided in the present invention can cooperate with the suction device set by using the matching connection of the horn cover when in use, and cooperate with the normal use of the electrode knife to absorb the generated smoke, It avoids affecting the normal use of the electrode knife, and at the same time, it is matched with the electrode connecting seat, so that the electrode knife can be replaced according to different usage conditions, which can meet the requirements of a variety of different uses.

Figure 202011016982

Description

Radio frequency suction scalpel for hepatobiliary pancreas surgery
Technical Field
The invention relates to the technical field of medical instruments, in particular to a radio frequency suction scalpel for hepatobiliary pancreas surgery.
Background
The radio frequency scalpel applies energy generated by high-frequency electric signals to biological tissues to cut and stop bleeding, but the treated electrosurgical knife has the characteristics of high accuracy and the like, so that the radio frequency scalpel is widely applied to surgical operations of various departments. With the continuous development of medicine, the complexity of surgical operation is gradually increased, and the causes and principles of various malignant diseases need treatment.
The existing radio frequency scalpel is difficult to meet the use requirement, and particularly when the tissue of the existing radio frequency scalpel needs to be dissected during certain liver, pancreas and gall surgeries, the existing radio frequency scalpel cannot meet the use requirement.
Because of the particularity of the position of the liver, pancreas and gallbladder, the wound of the radio-frequency scalpel is not large when the radio-frequency scalpel is used, so that a doctor can hardly know the position of an internal focus clearly and can only support the radio-frequency scalpel through later-stage imaging or real-time imaging. Therefore, for the radio frequency scalpel, the existing radio frequency scalpel is relatively poor in use precision, meanwhile, in the process of surgery, certain tissues need to be cut, but due to the strong energy of the radio frequency scalpel, smoke generated in the cutting process is easily caused, and the whole observation visual field is affected. Therefore, the existing radio frequency scalpel does not have measures for solving the problems caused by the generation of smoke. When the radio-frequency scalpel is used, due to the fact that the wound area is small, the field of vision of the radio-frequency scalpel is not clear enough when the radio-frequency scalpel is used, and misoperation is easily caused to bring more pain to a patient. Therefore, we propose a radio frequency suction scalpel for hepato-pancreaticobiliary surgery, which addresses the above problems.
Disclosure of Invention
Aiming at the defects of the prior art, the invention provides the radio frequency suction scalpel for the hepatobiliary pancreas surgery, which has the advantages that the whole operation process can be better observed when the scalpel is used, and the problems can be better avoided when the scalpel is used, so that the problems that the existing radio frequency scalpel is not provided with a better inhibiting measure and is easy to cause are solved.
The invention relates to a radio frequency suction scalpel for hepatobiliary pancreas surgery, which comprises a hilt, an electrode connecting seat positioned at the right end of the hilt and an electrode scalpel electrically connected with the electrode connecting seat, wherein a suction pump is arranged at the left end of the hilt, a connecting rod is fixedly connected with the left end of the suction pump, a radio frequency generating device is arranged at the left end of the connecting rod and is electrically connected with the hilt, a spring cable is electrically connected with the middle part of the left end of the radio frequency generating device, one end of the spring cable is fixedly connected with a connecting wire, connecting frames are respectively arranged at the outer sides of the radio frequency generating device and the suction pump, a water injection cavity is fixedly connected with the bottom of each connecting frame, a transverse plate is fixedly connected with the top of the inner side of the water injection cavity, a spacing block is fixedly connected with the middle part of the bottom, a grab handle is arranged on the inner side of the cavity, a circular through hole is formed in the outer side of the water injection cavity, a water pipe is connected to the circular through hole in a sealing manner, the water pipe is connected to one end of a suction pump in a sealing manner, a support plate is fixedly connected to the top of the connecting frame, an aspirator is fixedly connected to the top of the support plate, a partition plate is fixedly connected to the middle of the aspirator, the bottom of the aspirator penetrates through the plate body of the support plate and is connected with a suction tube, two annular grooves are formed in the outer side of the suction tube, a reinforcing sleeve is fixedly connected to the annular grooves, a sliding groove is formed in the outer side of the reinforcing sleeve, a clamping block is slidably connected to the inner side of the sliding groove, the bottom of the clamping block is fixedly connected to the outer side of the knife handle, a sealing bearing and a connecting block are respectively arranged, circular through-hole and fixedly connected with loudspeaker cover have been seted up to the one end that this extension tube is close to the electrode sword, and the extension tube that sets up through the cooperation of the loudspeaker cover that sets up can attract the smog dust etc. that produce when the electrode sword uses with attracting the pipe combination.
The radio frequency suction scalpel for hepatobiliary pancreas surgery comprises an electrode connecting seat, wherein the inner side of the electrode connecting seat is fixedly connected with three abutting blocks at equal intervals, the bottoms of the three abutting blocks are fixedly connected with telescopic springs, positioning clamping grooves are formed in block bodies of the abutting blocks, the positioning clamping grooves extend inwards in an arc shape along the block bodies of the abutting blocks, and different electrode knives can be conveniently replaced when the electrode connecting seat is used through the electrode connecting seat matched with the abutting blocks.
The radio frequency suction scalpel for hepatobiliary pancreas surgery comprises an electrode connecting seat, wherein the middle part of the electrode connecting seat is fixedly connected with a connecting circular plate, the middle part of the fixing circular plate is provided with a thread-shaped groove, the thread-shaped groove is fixedly connected with a contact at equal intervals, the contact is matched with one end of the electrode scalpel, and the electrode scalpel can be conveniently matched with the electrode scalpel through the arranged contact, so that the electrode scalpel can be better used.
The radio frequency suction scalpel for hepatobiliary pancreas surgery comprises an electrode scalpel, a positioning clamping groove, a circuit electrode, a radio frequency generator and an electric shock knife, wherein the outer side of the electrode scalpel is fixedly connected with a plurality of clamping blocks at equal intervals, the clamping blocks are matched with the positioning clamping groove, the electrode scalpel is made of integrally formed stainless steel, the inner side of the electrode scalpel is provided with the circuit electrode, the circuit electrode is matched with the radio frequency generator, and the electric shock knife can be combined with the radio frequency generator, so that a doctor can better treat a focus part of a patient during operation.
The radio frequency suction scalpel for hepatobiliary pancreas surgery comprises an electrode connecting seat, a guide cover, a sandwich plate, a conveying pipe and a handle, wherein the outer side of the electrode connecting seat is provided with an annular groove, the guide cover is arranged at the annular groove, the left end of the guide cover is fixedly connected with the sandwich plate, the outer side of the sandwich plate is provided with two circular through holes, the conveying pipe is connected with the outer side of the handle in a sealing mode and can be connected with the handle through the conveying pipe, and therefore a wound part can be conveniently washed in the later use process.
According to the radio frequency suction scalpel for hepatobiliary pancreas surgery, the reinforcing plate is fixedly connected to the inner side of the air guide sleeve at a distance, the light supplementing lamps are fixedly connected to the outer side of the reinforcing plate at equal intervals, are arranged in an annular shape, and keep a fixed distance with the electrode connecting seat, and can be combined with the air guide sleeve through the arranged light supplementing lamps, so that a wound part is illuminated, and a bright visual field is provided for a doctor to operate conveniently.
According to the radio frequency suction scalpel for hepatobiliary pancreas surgery, the two ends of the reinforcing plate are fixedly connected with the connecting screws, the connecting screws are fixedly connected with the plate body of the air guide sleeve, the ends, far away from each other, of the reinforcing plate are respectively provided with the jet orifice, the jet orifices are communicated with the conveying pipe connected with the sandwich plate, the two ends of the plate body of the reinforcing plate are respectively provided with the circular groove and are connected with the camera, the camera is a medical-grade miniature camera, and the camera can be combined with the light supplement lamp, so that the visual field of a wound part can be clearer, and the use of the device is facilitated.
The radio frequency suction scalpel for hepatobiliary pancreas surgery comprises a scalpel handle, a suction pump, a connecting plate and a clamping plate, wherein the scalpel handle is provided with a handle, the sucking pump is arranged on the handle, the clamping plate is fixedly connected with the handle through a bolt, the clamping plate is fixedly connected with the sucking pump through the bolt, and the sucking pump can be connected and installed better through the clamping ring.
The radio frequency suction scalpel for hepatobiliary pancreas surgery comprises a scalpel handle, a suction pump, a water injection cavity, a conveying pipe, a suction pump, a suction pipe and a suction pipe.
According to the radio frequency suction scalpel for hepatobiliary pancreas surgery, the annular groove is formed in one end, close to the electrode connecting seat, of the outer side of the scalpel handle, the clamping rod is fixedly connected to the annular groove, the U-shaped groove is formed in the middle of the rod body of the clamping rod, the rubber soft plates are fixedly connected to two sides of the inner wall of the U-shaped groove and are matched with the extension tube, the extension tube can be combined with the rubber soft plates through the arranged rubber soft plates, the position of the extension tube can be adjusted according to actual situations when the radio frequency suction scalpel is used, and the radio frequency suction scalpel is beneficial to use of the device.
Compared with the prior art, the invention has the following beneficial effects:
the suction device is connected by the matching of the horn cover when the suction tube is used, and is matched with the normal use of the electrode knife, the suction device can absorb the generated smoke, so that the visual field of the normal use of the electrode knife is prevented from being influenced, meanwhile, the electrode knife can be replaced according to different use conditions by matching the electrode connecting seat, so that the requirements of different use can be met, the operation process of the whole operation can be selected according to the actual conditions, the operation is facilitated, the electrode knife can be cooled when in use by matching the jet orifice arranged by the flow guide cover, and is combined with the arranged water injection cavity to be matched with the suction pump, so that the whole device can be better brought more convenient for the operation when in use, and the whole device can better provide a stable environment for the operation, cooperate the camera that the kuppe outside is connected and the use of light filling lamp simultaneously, make the in-process of electrode sword operation can utilize the camera to transmit real-time image to the screen on, can bring relatively wide field of vision for the surgeon, make the precision of operation can further promotion, and utilize the use of suction pump when using, when carrying out the water injection to it, the heat that produces when cell tissue is cut by the electrode sword around also can further suppression, can reduce patient's misery, make the easy healing of the operation wound in patient later stage more.
Drawings
The accompanying drawings, which are included to provide a further understanding of the application and are incorporated in and constitute a part of this application, illustrate embodiment(s) of the application and together with the description serve to explain the application and not to limit the application. In the drawings:
FIG. 1 is a front view of the electrode knife of the present invention;
FIG. 2 is a schematic side view of the pod of the present invention;
FIG. 3 is an enlarged view of the structure at A in FIG. 1 according to the present invention;
FIG. 4 is a side view of the pump of the present invention;
FIG. 5 is a schematic view of the electrode connecting seat assembly of the present invention;
FIG. 6 is a side view of the clamping bar of the present invention;
FIG. 7 is an enlarged view of the structure at B in FIG. 1 according to the present invention.
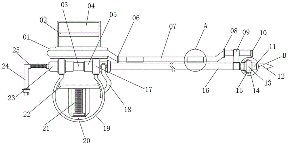
In the figure: 01. a support plate; 02. a partition plate; 03. a connecting rod; 04. a suction apparatus; 05. a suction pump; 06. sealing the bearing; 07. a suction tube; 08. connecting blocks; 09. a clamping rod; 10. a horn cover; 11. an electrode connecting base; 12. an electrode knife; 13. a sandwich panel; 14. a pod; 15. a delivery pipe; 16. a knife handle; 17. a connecting frame; 18. a water pipe; 19. a water injection cavity; 20. a spacer block; 21. a handle; 22. a transverse plate; 23. a radio frequency generating device; 24. connecting a lead; 25. a spring cable; 26. a camera; 27. a connecting screw; 28. a light supplement lamp; 29. a reinforcing plate; 30. an ejection port; 31. a chute; 32. a clamping block; 33. reinforcing the sleeve; 34. a connecting port; 35. a connecting plate; 36. clamping a plate; 37. a snap ring; 38. a circular plate; 39. a tension spring; 40. positioning the clamping groove; 41. a contact; 42. a contact block; 43. a rubber soft board.
Detailed Description
In the following description, for purposes of explanation, numerous implementation details are set forth in order to provide a thorough understanding of the various embodiments of the present invention. It should be understood, however, that these implementation details are not to be interpreted as limiting the invention. That is, in some embodiments of the invention, such implementation details are not necessary. In addition, some conventional structures and components are shown in simplified schematic form in the drawings.
In addition, the descriptions related to the first, the second, etc. in the present invention are only used for description purposes, do not particularly refer to an order or sequence, and do not limit the present invention, but only distinguish components or operations described in the same technical terms, and are not understood to indicate or imply relative importance or implicitly indicate the number of indicated technical features. Thus, a feature defined as "first" or "second" may explicitly or implicitly include at least one such feature. In addition, technical solutions between various embodiments may be combined with each other, but must be realized by a person skilled in the art, and when the technical solutions are contradictory or cannot be realized, such a combination should not be considered to exist, and is not within the protection scope of the present invention.
Referring to fig. 1-7, the radio frequency suction scalpel for hepatobiliary pancreas surgery of the present invention comprises a scalpel handle 16, an electrode connecting seat 11 located at the right end of the scalpel handle 16, and an electrode scalpel 12 electrically connected to the electrode connecting seat 11, wherein a suction pump 05 is installed at the left end of the scalpel handle 16, a connecting rod 03 is fixedly connected to the left end of the suction pump 05, a radio frequency generator 23 is installed at the left end of the connecting rod 03, the radio frequency generator 23 is electrically connected to the scalpel handle 16, a spring cable 25 is electrically connected to the middle portion of the left end of the radio frequency generator 23, a connecting wire 24 is fixedly connected to one end of the spring cable 25, a connecting frame 17 is installed on both the outer sides of the radio frequency generator 23 and the suction pump 05, a water injection cavity 19 is fixedly connected to the bottom of the connecting frame 17, a horizontal plate 22 is fixedly connected to the top of the inner side, the inner side of the spacing block 20 is provided with a cavity which is communicated with the front and the back, the inner side of the cavity is provided with a grab handle 21, the outer side of the water injection cavity 19 is provided with a circular through hole, the circular through hole is hermetically connected with a water pipe 18, the water pipe 18 is hermetically connected with one end of a suction pump 05, the top of the connecting frame 17 is fixedly connected with a supporting plate 01, the top of the supporting plate 01 is fixedly connected with an aspirator 04, the middle of the aspirator 04 is fixedly connected with a partition plate 02, the bottom of the aspirator 04 penetrates through the plate body of the supporting plate 01 and is connected with a suction tube 07, the outer side of the suction tube 07 is provided with two annular grooves, the annular grooves are fixedly connected with a reinforcing sleeve 33, the outer side of the reinforcing sleeve 33 is provided with a sliding groove 31, the inner side of the sliding groove 31 is slidably connected with a fixture block 32, the bottom of, this sealed bearing 06 is linked together with aspirator 04, and the one end of connecting block 08 is connected with the extension tube, and circular through-hole and fixedly connected with loudspeaker cover 10 have been seted up to the one end that this extension tube is close to electrode sword 12, and the extension tube that sets up through the cooperation of the loudspeaker cover 10 that sets up can attract the smog dust etc. that produce when electrode sword 12 uses with attracting pipe 07 combination.
Three conflict piece 42 of inboard equidistance fixedly connected with of electrode connecting seat 11, the equal fixedly connected with expanding spring 39 in bottom of three conflict piece 42, and positioning channel section 40 has been seted up to conflict piece 42's block department, and this positioning channel section 40 is the arcuation inwards to extend along conflict piece 42's block, through the electrode connecting seat 11 that the conflict piece 42 cooperation that sets up, can be convenient when using change different electrode sword 12.
The middle part of the electrode connecting base 11 is fixedly connected with a connecting circular plate 38, the middle part of the fixing circular plate 38 is provided with a thread-shaped groove, the thread-shaped groove is fixedly connected with a contact 41 at equal intervals, the contact 41 is matched with one end of the electrode knife 12, and the contact 41 can be conveniently matched with the electrode knife 12, so that the electrode knife 12 can be better used.
A plurality of fixture blocks 32 are fixedly connected to the outer side of the electrode knife 12 at equal intervals, the fixture blocks 32 are mutually matched with the positioning clamping grooves 40, the electrode knife 12 is made of integrally formed stainless steel, a loop electrode is mounted on the inner side of the electrode knife, the loop electrode is mutually matched with the radio frequency generator, the electrode knife can be combined with the radio frequency generator through the arranged electric shock knife, and therefore a doctor can better treat the focus position of a patient in operation.
Annular groove has been seted up in the outside of electrode connecting seat 11, this annular groove department installs kuppe 14, kuppe 14's left end fixedly connected with sandwich panel 13, should add the outside of sandwich panel and seted up two circular through-holes, and sealing connection has conveyer pipe 15, this conveyer pipe 15 is linked together with handle of a knife 16's the outside, conveyer pipe 15 through setting up can be connected with handle of a knife 16 to can be convenient make that the later stage can wash wound position department during the use.
The inboard distance fixedly connected with gusset plate 29 of kuppe 14, this gusset plate 29's the equidistant fixedly connected with light filling lamp 28 in outside, and light filling lamp 28 are the setting of cyclic annular arranging, and keep having fixed interval with electrode connecting seat 11 between, can make up with kuppe 14 through the light filling lamp 28 that sets up, illuminate for the wound position, make things convenient for doctor's operation to provide bright field of vision.
The equal fixedly connected with connecting screw 27 in both ends department of gusset plate 29, this connecting screw 27 links to each other with the plate body of kuppe 14 is fixed, jet opening 30 has all been seted up to the one end that gusset plate 29 kept away from each other, this jet opening 30 is linked together with conveyer pipe 15 that sandwich panel 13 is connected, circular recess has all been seted up and camera 26 is connected to the plate body both ends of gusset plate 29, this camera 26 is medical grade miniature camera 26, camera 26 through setting up can make up with light filling lamp 28, make the field of vision at wound position clear more, be favorable to the use of device.
Circular recess has been seted up to the right-hand member of suction pump 05, and this circular recess fixedly connected with connects, and the plate body of connecting plate 35 is cyclic annular equidistance fixed point and has a plurality of cardboard 36, installs snap ring 37 between cardboard 36 and the handle of a knife 16, links to each other through the bolt fastening between this snap ring 37's the outside and the cardboard 36, through the aspiration pump that sets up, can cooperate the snap ring 37 that sets up to make the aspiration pump can be better connect the installation.
Two bar cavities have been seted up to the inboard of handle of a knife 16, and the one end and the conveyer pipe 15 of this bar cavity are linked together, and the bar cavity other end links to each other with two connectors 34 that suction pump 05 right side was seted up are fixed, can make up with suction pump 05 through two bar cavities of the 16 inboard of handle of a knife that set up for hydroenergy in the water injection cavity 19 can be better transports.
The annular groove has been seted up in the outside of handle of a knife 16 near the one end department of electrode connecting seat 11, this annular groove department fixedly connected with kelly 09, U type recess has been seted up at kelly 09's the body of rod middle part, the equal fixedly connected with rubber soft board 43 in inner wall both sides of this U-shaped recess, this rubber soft board 43 and extension pipe looks adaptation, through the rubber soft board 43 that sets up, can make up with the extension board, can be according to the thing of reality when using, the position of extension pipe can be adjusted with the condition, be favorable to the use of device.
Example 1: please refer to fig. 1: comprises a knife handle 16, an electrode connecting seat 11 positioned at the right end of the knife handle 16 and an electrode knife 12 electrically connected with the electrode connecting seat 11, a suction pump 05 is installed at the left end of the knife handle 16, a connecting rod 03 is fixedly connected with the left end of the suction pump 05, a radio frequency generating device 23 is installed at the left end of the connecting rod 03, the radio frequency generating device 23 is electrically connected with the knife handle 16, a spring cable 25 is electrically connected with the middle part of the left end of the radio frequency generating device 23, one end of the spring cable 25 is fixedly connected with a connecting wire 24, a connecting frame 17 is installed at the outer sides of the radio frequency generating device 23 and the suction pump 05, a water injection cavity 19 is fixedly connected with the bottom of the connecting frame 17, a transverse plate 22 is fixedly connected with the top of the inner side of the water injection cavity 19, a spacing block 20 is fixedly connected with the middle part of the, the outer side of the water injection cavity 19 is provided with a circular through hole, the circular through hole is hermetically connected with a water pipe 18, the water pipe 18 is hermetically connected with one end of a suction pump 05, the top of the connecting frame 17 is fixedly connected with a supporting plate 01, the top of the supporting plate 01 is fixedly connected with a suction apparatus 04, the middle part of the suction apparatus 04 is fixedly connected with a partition plate 02, the bottom of the suction apparatus 04 penetrates through the plate body of the supporting plate 01 and is connected with a suction pipe 07, the outer side of the suction pipe 07 is provided with two annular grooves, the annular grooves are fixedly connected with a reinforcing sleeve 33, the outer side of the reinforcing sleeve 33 is provided with a sliding groove 31, the inner side of the sliding groove 31 is slidably connected with a fixture block 32, the bottom of the fixture block 32 is fixedly connected with the outer side of the knife handle 16, the left end and the right end of the suction pipe 07 are, one end of the extension pipe close to the electrode knife 12 is provided with a circular through hole and is fixedly connected with a horn cover 10.
Example 2: please refer to fig. 5: the inner side of the electrode connecting seat 11 is fixedly connected with three abutting blocks 42 at equal intervals, the bottoms of the three abutting blocks 42 are fixedly connected with telescopic springs 39, the block part of each abutting block 42 is provided with a positioning clamping groove 40, each positioning clamping groove 40 extends inwards along the block part of each abutting block 42 in an arc shape, the middle part of the electrode connecting seat 11 is fixedly connected with a connecting circular plate 38, the middle part of each fixing circular plate 38 is provided with a threaded groove, the positions of the threaded grooves are fixedly connected with contacts 41 at equal intervals, and the contacts 41 are matched with one end of the electrode knife 12.
Example 3: please refer to fig. 1 and 5: a plurality of fixture blocks 32 of equidistance fixedly connected with in the outside of electrode sword 12, this fixture block 32 and positioning slot 40 adaptation of each other, electrode sword 12 is made for integrated into one piece stainless steel and forms, and the inboard loop electrode of installing, this loop electrode and radio frequency generator adaptation of each other, the annular groove has been seted up in the outside of electrode connecting seat 11, kuppe 14 is installed to this annular groove department, the left end fixedly connected with sandwich panel 13 of kuppe 14, should have seted up two circular through-holes in the outside of adding the sandwich panel, and sealing connection has conveyer pipe 15, this conveyer pipe 15 is linked together with the outside of handle of a knife 16.
Example 4: please refer to fig. 7: the inboard distance fixedly connected with gusset plate 29 of kuppe 14, this gusset plate 29's the equidistant fixedly connected with light filling lamp 28 in the outside, and light filling lamp 28 is the setting of cyclic annular arranging, and keep having fixed interval between the electrode connecting seat 11, the equal fixedly connected with connecting screw 27 in both ends department of gusset plate 29, this connecting screw 27 links to each other with kuppe 14's plate body is fixed, jet 30 has all been seted up to the one end that gusset plate 29 kept away from each other, this jet 30 is linked together with conveyer pipe 15 that sandwich panel 13 is connected, circular recess has all been seted up and camera 26 is connected with at gusset plate 29's plate body both ends, this camera 26 is medical grade miniature camera 26.
Example 5: please refer to fig. 2-6: circular recess has been seted up to the right-hand member of suction pump 05, this circular groove fixedly connected with connects, and the plate body of connecting plate 35 is cyclic annular equidistance fixed point and has a plurality of cardboard 36, install snap ring 37 between cardboard 36 and the handle of a knife 16, link to each other through the bolt fastening between this snap ring 37's the outside and the cardboard 36, two bar cavities have been seted up to handle of a knife 16's inboard, the one end and the conveyer pipe 15 of this bar cavity are linked together, and two connectors 34 that the bar cavity other end and suction pump 05 right side were seted up are fixed continuous, the annular groove has been seted up to the outside of handle of a knife 16 near the one end department of electrode connecting seat 11, this annular groove fixedly connected with kelly 09, U type recess has been seted up at kelly 09's body of rod middle part, the equal fixedly connected with rubber soft.
In the use of the invention:
firstly, different electrode knives 12 are selected according to different positions of a diseased part of a patient, and according to the connection combination of the electrode knives 12 and the electrode connecting seat, the contact block 42 can be matched with the telescopic spring 39, so that the electrode knives 12 and the electrode connecting seat 11 can be conveniently combined, the contact 41 can be connected and combined with the electrode knives 12 and can be better communicated with the radio frequency generating device 23, and the whole radio frequency scalpel can be normally used;
when the radio frequency scalpel is used normally and is used for treating the focus part of a patient, the focus part can be sintered due to the action of the radio frequency scalpel, the generated smoke dust can be combined with the combination of the aspirator 04 and the horn cover 10 by utilizing the suction tube 07, can be better absorbed, and can be communicated with two strip-shaped cavities arranged at the two inner sides of the knife handle 16 through the arranged suction pump 05, so that the injection port 30 can spray the physiological saline in the water injection cavity 19 to wash the focus part, reduce the temperature of the focus part, be beneficial to the healing of later-period wounds, meanwhile, the light supplement lamp 28 and the camera 26 connected to the inner side of the air guide sleeve 14 can be used for washing the wound part of the patient and operating the electrode knife 12, provides a bright visual field and collects image data for the whole focus part, so that medical staff can better operate.
The above description is only an embodiment of the present invention, and is not intended to limit the present invention. Various modifications and alterations to this invention will become apparent to those skilled in the art. Any modification, equivalent replacement, improvement, etc. made within the spirit and principle of the present invention should be included in the scope of the claims of the present invention.

Claims (10)

1. The utility model provides a radio frequency suction scalpel for hepatobiliary pancreas surgery, includes the handle of a knife, is located the electrode connecting seat of handle of a knife right-hand member and the electrode sword of being connected with the electrode connecting seat electricity, its characterized in that: the suction pump is installed at the left end of the knife handle, the connecting rod is fixedly connected at the left end of the suction pump, the radio frequency generating device is installed at the left end of the connecting rod and is electrically connected with the knife handle, the spring cable is electrically connected at the middle part of the left end of the radio frequency generating device, one end of the spring cable is fixedly connected with a connecting wire, the radio frequency generating device and the outer side of the suction pump are both provided with a connecting frame, the bottom of the connecting frame is fixedly connected with a water injection cavity, the top of the inner side of the water injection cavity is fixedly connected with a transverse plate, the middle part of the bottom of the transverse plate is fixedly connected with a spacing block, the inner side of the spacing block is provided with a cavity which is communicated from front to back, the inner side of the cavity is provided with a grab handle, the outer side of the water injection cavity is provided, the top fixedly connected with backup pad of link, the top fixedly connected with aspirator of backup pad, the middle part fixedly connected with baffle of aspirator, the bottom of this aspirator run through the plate body of backup pad and be connected with attracts the pipe, two annular grooves have been seted up in the outside of attracting the pipe, and this annular groove department fixedly connected with strengthens the cover, the spout has been seted up in the outside of strengthening the cover, the inboard sliding connection of spout has the fixture block, the bottom of fixture block links to each other with the outside of handle of a knife is fixed, attract pipe's the left and right sides both ends to install sealed bearing and connecting block respectively, this sealed bearing is linked together with the aspirator, the one end of connecting block is connected with the extension pipe, and circular through-hole and fixedly connected with horn cover have been seted up to the one end that this.
2. The radio frequency suction scalpel for hepatobiliary pancreas surgery of claim 1, wherein: the three contact piece of inboard equidistance fixedly connected with of electrode connecting seat, it is three the equal fixedly connected with expanding spring in bottom of contact piece, positioning channel has been seted up to the block department of contact piece, and this positioning channel is the arcuation inwards to extend along the block of contact piece.
3. The radio frequency suction scalpel for hepatobiliary pancreas surgery of claim 1, wherein: the middle part of the electrode connecting seat is fixedly connected with a connecting circular plate, the middle part of the fixing circular plate is provided with a thread-shaped groove, the thread-shaped groove is fixedly connected with a contact at equal intervals, and the contact is matched with one end of the electrode knife.
4. The radio frequency suction scalpel for hepatobiliary pancreas surgery of claim 1, wherein: the electrode knife is characterized in that a plurality of clamping blocks are fixedly connected to the outer side of the electrode knife at equal intervals, the clamping blocks are matched with the positioning clamping grooves, the electrode knife is made of integrally-formed stainless steel, a loop electrode is mounted on the inner side of the electrode knife, and the loop electrode is matched with the radio frequency generator.
5. The radio frequency suction scalpel for hepatobiliary pancreas surgery of claim 1, wherein: the electrode connecting seat is characterized in that an annular groove is formed in the outer side of the electrode connecting seat, a flow guide cover is installed at the position of the annular groove, a sandwich plate is fixedly connected to the left end of the flow guide cover, two circular through holes are formed in the outer side of the plate, a conveying pipe is connected to the outer side of the plate in a sealing mode, and the conveying pipe is communicated with the outer side of the cutter handle.
6. The radio frequency suction scalpel for hepatobiliary pancreas surgery of claim 5, wherein: the inboard distance fixedly connected with gusset plate of kuppe, the equidistant fixedly connected with light filling lamp in outside of this gusset plate, just the light filling lamp is the cyclic annular setting of arranging, just keeps having the fixed spacing with between the electrode connecting seat.
7. The radio frequency suction scalpel for hepatobiliary pancreas surgery of claim 6, wherein: the medical micro-camera is characterized in that connecting screws are fixedly connected to the two ends of the reinforcing plate and fixedly connected with the plate body of the flow guide cover, jet ports are formed in one ends, far away from each other, of the reinforcing plate and communicated with conveying pipes connected with the sandwich plate, circular grooves are formed in the two ends of the plate body of the reinforcing plate and connected with cameras, and the cameras are medical micro cameras.
8. The radio frequency suction scalpel for hepatobiliary pancreas surgery of claim 1, wherein: the right-hand member of suction pump has seted up circular recess, and this circular recess fixedly connected with of department connects, just the plate body of connecting plate is cyclic annular equidistance fixed point has a plurality of cardboards, install the snap ring between cardboard and the handle of a knife, link to each other through the bolt fastening between the outside of this snap ring and the cardboard.
9. The radio frequency suction scalpel for hepatobiliary pancreas surgery of claim 1, wherein: two strip-shaped cavities are formed in the inner side of the cutter handle, one end of each strip-shaped cavity is communicated with the conveying pipe, and the other end of each strip-shaped cavity is fixedly connected with two connectors formed in the right side of the suction pump.
10. The radio frequency suction scalpel for hepatobiliary pancreas surgery of claim 1, wherein: the electrode connecting seat is characterized in that an annular groove is formed in one end, close to the electrode connecting seat, of the outer side of the cutter handle, a clamping rod is fixedly connected to the position of the annular groove, a U-shaped groove is formed in the middle of the rod body of the clamping rod, rubber soft plates are fixedly connected to two sides of the inner wall of the U-shaped groove, and the rubber soft plates are matched with the extension pipe.
CN202011016982.5A 2020-09-24 2020-09-24 Radio frequency suction scalpel for hepatobiliary pancreas surgery Pending CN112168336A (en)

Priority Applications (1)

Application Number Priority Date Filing Date Title
CN202011016982.5A CN112168336A (en) 2020-09-24 2020-09-24 Radio frequency suction scalpel for hepatobiliary pancreas surgery

Applications Claiming Priority (1)

Application Number Priority Date Filing Date Title
CN202011016982.5A CN112168336A (en) 2020-09-24 2020-09-24 Radio frequency suction scalpel for hepatobiliary pancreas surgery

Publications (1)

Publication Number Publication Date
CN112168336A true CN112168336A (en) 2021-01-05

Family

ID=73956998

Family Applications (1)

Application Number Title Priority Date Filing Date
CN202011016982.5A Pending CN112168336A (en) 2020-09-24 2020-09-24 Radio frequency suction scalpel for hepatobiliary pancreas surgery

Country Status (1)

Country Link
CN (1) CN112168336A (en)

Cited By (1)

* Cited by examiner, † Cited by third party
Publication number Priority date Publication date Assignee Title
CN113648050A (en) * 2021-07-29 2021-11-16 昆明医科大学第二附属医院 A radiofrequency suction scalpel for hepatobiliary and pancreatic surgery

Citations (7)

* Cited by examiner, † Cited by third party
Publication number Priority date Publication date Assignee Title
US5441498A (en) * 1994-02-16 1995-08-15 Envision Surgical Systems, Inc. Method of using a multimodality probe with extendable bipolar electrodes
US20010020167A1 (en) * 1995-06-07 2001-09-06 Arthrocare Corporation Electrosurgical systems and methods for removing and modifying tissue
CN101170941A (en) * 2005-05-11 2008-04-30 奥林巴斯医疗株式会社 Forward end section of endoscope
CN201510349U (en) * 2009-10-27 2010-06-23 陈曦 High-frequency operating electrical knife pen
CN103908341A (en) * 2013-01-08 2014-07-09 池永龙 Micro-vision radio frequency electrode casing
CN107789037A (en) * 2017-11-08 2018-03-13 六安市星能宇工业设计有限公司 A kind of spy cutting surgical knife
CN209032626U (en) * 2018-08-24 2019-06-28 黄河科技学院 Retractable intraoperative dissector for surgery

Patent Citations (7)

* Cited by examiner, † Cited by third party
Publication number Priority date Publication date Assignee Title
US5441498A (en) * 1994-02-16 1995-08-15 Envision Surgical Systems, Inc. Method of using a multimodality probe with extendable bipolar electrodes
US20010020167A1 (en) * 1995-06-07 2001-09-06 Arthrocare Corporation Electrosurgical systems and methods for removing and modifying tissue
CN101170941A (en) * 2005-05-11 2008-04-30 奥林巴斯医疗株式会社 Forward end section of endoscope
CN201510349U (en) * 2009-10-27 2010-06-23 陈曦 High-frequency operating electrical knife pen
CN103908341A (en) * 2013-01-08 2014-07-09 池永龙 Micro-vision radio frequency electrode casing
CN107789037A (en) * 2017-11-08 2018-03-13 六安市星能宇工业设计有限公司 A kind of spy cutting surgical knife
CN209032626U (en) * 2018-08-24 2019-06-28 黄河科技学院 Retractable intraoperative dissector for surgery

Cited By (1)

* Cited by examiner, † Cited by third party
Publication number Priority date Publication date Assignee Title
CN113648050A (en) * 2021-07-29 2021-11-16 昆明医科大学第二附属医院 A radiofrequency suction scalpel for hepatobiliary and pancreatic surgery

Similar Documents

Publication Publication Date Title
EP0996375B1 (en) Surgical endoscopic cutting device
CA2075902C (en) Apparatus for providing enhanced tissue fragmentation and/or hemostasis
JP2018521736A (en) Illuminated ophthalmic infusion line and related devices, systems and methods
US6585731B1 (en) Medical-technical system workstation
CN109497916A (en) A kind of flushing drying device of hysteroscope camera lens
CN112168336A (en) Radio frequency suction scalpel for hepatobiliary pancreas surgery
CN103340683A (en) Multifunctional cutting and sucking knife for endoscope
KR20110002463U (en) Electric operation pen with suction function
CN115349946B (en) Electrode assembly for treating basis cranii tumor, surgical internal cutter and surgical system
KR101586813B1 (en) Electro-surgical apparatus
CN209574864U (en) The dripping bipolar electric coagulation device of band special suction function under a kind of nerve endoscope
CN112116843B (en) A surgical training simulation device and a surgical training system
CN113951992A (en) Use method of novel mammary gland resection device and related equipment thereof
JP2016150229A (en) Catheter for endoscope
CN217488841U (en) Surgical electric knife
CN104434306B (en) Electrode assembly
CN223438903U (en) A suction tube with electrocoagulation function
CN116785011A (en) A plasma electrode used in oral surgery
CN208677566U (en) A kind of dual frequency radiosurgery for surgical operation
CN220988903U (en) Ripu knife
CN223489821U (en) Ablation probe structure and ablation electrode dissector
CN118987387A (en) Suction tube with electrocoagulation function
CN120036917B (en) Surgical device and surgical system
WO2021253184A1 (en) Electrosurgical pencil with blowing and suction
CN215778570U (en) Suction fume extractor under peritoneoscope

Legal Events

Date Code Title Description
PB01 Publication
PB01 Publication
SE01 Entry into force of request for substantive examination
SE01 Entry into force of request for substantive examination
RJ01 Rejection of invention patent application after publication
RJ01 Rejection of invention patent application after publication

Application publication date: 20210105