CN111888060A - A stent, implanter and medical device - Google Patents
A stent, implanter and medical device Download PDFInfo
- Publication number
- CN111888060A CN111888060A CN202010908606.0A CN202010908606A CN111888060A CN 111888060 A CN111888060 A CN 111888060A CN 202010908606 A CN202010908606 A CN 202010908606A CN 111888060 A CN111888060 A CN 111888060A
- Authority
- CN
- China
- Prior art keywords
- tube
- stent
- liquid
- mesh frame
- opening
- Prior art date
- Legal status (The legal status is an assumption and is not a legal conclusion. Google has not performed a legal analysis and makes no representation as to the accuracy of the status listed.)
- Granted
Links
Images
Classifications
-
- A—HUMAN NECESSITIES
- A61—MEDICAL OR VETERINARY SCIENCE; HYGIENE
- A61F—FILTERS IMPLANTABLE INTO BLOOD VESSELS; PROSTHESES; DEVICES PROVIDING PATENCY TO, OR PREVENTING COLLAPSING OF, TUBULAR STRUCTURES OF THE BODY, e.g. STENTS; ORTHOPAEDIC, NURSING OR CONTRACEPTIVE DEVICES; FOMENTATION; TREATMENT OR PROTECTION OF EYES OR EARS; BANDAGES, DRESSINGS OR ABSORBENT PADS; FIRST-AID KITS
- A61F2/00—Filters implantable into blood vessels; Prostheses, i.e. artificial substitutes or replacements for parts of the body; Appliances for connecting them with the body; Devices providing patency to, or preventing collapsing of, tubular structures of the body, e.g. stents
- A61F2/82—Devices providing patency to, or preventing collapsing of, tubular structures of the body, e.g. stents
- A61F2/86—Stents in a form characterised by the wire-like elements; Stents in the form characterised by a net-like or mesh-like structure
-
- A—HUMAN NECESSITIES
- A61—MEDICAL OR VETERINARY SCIENCE; HYGIENE
- A61F—FILTERS IMPLANTABLE INTO BLOOD VESSELS; PROSTHESES; DEVICES PROVIDING PATENCY TO, OR PREVENTING COLLAPSING OF, TUBULAR STRUCTURES OF THE BODY, e.g. STENTS; ORTHOPAEDIC, NURSING OR CONTRACEPTIVE DEVICES; FOMENTATION; TREATMENT OR PROTECTION OF EYES OR EARS; BANDAGES, DRESSINGS OR ABSORBENT PADS; FIRST-AID KITS
- A61F2/00—Filters implantable into blood vessels; Prostheses, i.e. artificial substitutes or replacements for parts of the body; Appliances for connecting them with the body; Devices providing patency to, or preventing collapsing of, tubular structures of the body, e.g. stents
- A61F2/95—Instruments specially adapted for placement or removal of stents or stent-grafts
Landscapes
- Health & Medical Sciences (AREA)
- Engineering & Computer Science (AREA)
- Biomedical Technology (AREA)
- Cardiology (AREA)
- Oral & Maxillofacial Surgery (AREA)
- Transplantation (AREA)
- Heart & Thoracic Surgery (AREA)
- Vascular Medicine (AREA)
- Life Sciences & Earth Sciences (AREA)
- Animal Behavior & Ethology (AREA)
- General Health & Medical Sciences (AREA)
- Public Health (AREA)
- Veterinary Medicine (AREA)
- Media Introduction/Drainage Providing Device (AREA)
Abstract
本发明的实施例提供了一种支架、置入器及医疗器械,涉及医疗器械技术领域。本发明的实施例提供的支架包括本体以及与本体固定连接的管体。管体的远端具有开口,且该开口位于本体的外侧,使用时,管体的远端随本体置入人体管腔,在本体的自膨胀作用下,管体的远端与人体管腔的壁面接触,同时管体的近端位于人体外侧,从而可以通过管体的开口向人体管腔充入液体,例如消炎药水,或者将人体管腔处的脓液或坏死物等吸出。而且本体呈管状,其内形成的通道可以保证管腔的畅通。
Embodiments of the present invention provide a stent, an implanter and a medical device, which relate to the technical field of medical devices. The support provided by the embodiment of the present invention includes a main body and a pipe body fixedly connected with the main body. The distal end of the tube body has an opening, and the opening is located on the outside of the body. When in use, the distal end of the tube body is inserted into the human body lumen along with the body. The wall is in contact, and the proximal end of the tube body is located outside the human body, so that the human body lumen can be filled with liquid, such as anti-inflammatory liquid, or the pus or necrosis in the human body lumen can be sucked out through the opening of the tube body. Moreover, the body is tubular, and the channel formed therein can ensure the smoothness of the lumen.
Description
技术领域technical field
本发明涉及医疗器械技术领域,具体而言,涉及一种支架、置入器及医疗器械。The present invention relates to the technical field of medical devices, in particular, to a stent, an implanter and a medical device.
背景技术Background technique
在治疗过程中,当人体管腔出现病变或由于手术等情况出现狭窄或梗阻的现象时,可通过在管腔相应位置置入支架,依靠支架的自膨胀性能将管腔狭窄处撑开,从而保证管腔的畅通性,例如将支架置入血管、食道、十二指肠等管腔内。In the course of treatment, when the human lumen is diseased or stenosis or obstruction occurs due to surgery, etc., a stent can be placed in the corresponding position of the lumen, and the stenosis of the lumen can be stretched by the self-expanding performance of the stent, thereby Ensure the patency of the lumen, such as placing stents in the lumen of blood vessels, esophagus, duodenum, etc.
然而发明人研究发现,现有的支架的应用仍具有一定局限性,可进一步进行功能扩展。However, the inventors found that the application of the existing stent still has certain limitations, and the function can be further expanded.
发明内容SUMMARY OF THE INVENTION
本发明的目的包括,例如,提供了一种支架,其能够改善现有技术中存在的上述问题。Objects of the present invention include, for example, providing a stent that can improve the above-mentioned problems in the prior art.
本发明的目的还包括,提供了一种置入器,其能够将上述的支架置入人体。The object of the present invention also includes providing an implanter capable of placing the above-mentioned stent into the human body.
本发明的目的还包括,提供了一种医疗器械,其包括上述的支架和/或置入器。The present invention also aims to provide a medical device comprising the above-mentioned stent and/or implanter.
本发明的实施例可以这样实现:Embodiments of the present invention can be implemented as follows:
本发明的实施例提供了一种支架,其包括本体以及与所述本体连接的管体,所述管体的远端具有开口,以通过所述开口进行吸放液;所述开口位于所述本体的外侧。An embodiment of the present invention provides a stent, which includes a main body and a tube body connected with the main body, the distal end of the tube body has an opening, so that liquid can be sucked and released through the opening; the opening is located in the outside of the body.
可选地,所述支架还包括设置于所述本体的外侧的吸液储液层,所述吸液储液层的至少部分包覆所述管体,以使所述开口通过所述吸液储液层吸放液。Optionally, the support further comprises a liquid absorbing liquid storage layer disposed on the outer side of the main body, and at least a part of the liquid absorbing liquid storage layer covers the tube body, so that the opening passes through the liquid absorbing liquid Aspirate the liquid from the reservoir layer.
可选地,所述吸液储液层呈环状,且所述吸液储液层套设所述本体。Optionally, the liquid absorbing liquid storage layer is annular, and the liquid absorbing liquid storage layer is sleeved on the body.
可选地,所述吸液储液层与所述本体之间形成容纳空间,所述管体的远端位于所述容纳空间内。Optionally, an accommodating space is formed between the liquid absorbing liquid storage layer and the body, and the distal end of the tube body is located in the accommodating space.
可选地,所述管体用于向人体置入注射化疗药或放射性粒子,以使所述注射化疗药或所述放射性粒子位于所述容纳空间内。Optionally, the tube body is used for injecting chemotherapeutic drugs or radioactive particles into the human body, so that the injectable chemotherapeutic drugs or the radioactive particles are located in the accommodating space.
可选地,所述吸液储液层包括海绵、纱布、无纺布、渗透膜、储液囊体或可降解膜。Optionally, the liquid absorbing liquid storage layer includes sponge, gauze, non-woven fabric, permeable membrane, liquid storage bladder or degradable membrane.
可选地,所述本体包括依次设置的近端杯口段、中间段和远端杯口段,所述近端杯口段的外径和所述远端杯口段的外径均大于所述中间段的外径,所述管体的开口位于所述中间段的外侧。Optionally, the body includes a proximal cup mouth section, a middle section and a distal cup mouth section arranged in sequence, and the outer diameter of the proximal cup mouth section and the outer diameter of the distal cup mouth section are both larger than all the outer diameters of the cup mouth section. The outer diameter of the middle section is determined, and the opening of the pipe body is located outside the middle section.
可选地,所述支架还包括设置于所述中间段的外侧的吸液储液层,所述吸液储液层的至少部分包覆于所述管体外,以使所述开口通过所述吸液储液层吸放液。Optionally, the support further includes a liquid absorbing liquid storage layer disposed on the outer side of the middle section, and at least a part of the liquid absorbing liquid storage layer is wrapped outside the tube, so that the opening passes through the Aspirate the liquid storage layer to aspirate the liquid.
可选地,所述管体的远端贯穿所述近端杯口段,并延伸至所述中间段,以使所述开口位于所述中间段的外侧。Optionally, the distal end of the tube body penetrates the proximal cup section and extends to the middle section, so that the opening is located outside the middle section.
可选地,所述中间段包括第一网架部和位于所述第一网架部内侧的第一硅胶部,所述第一硅胶部与所述第一网架部固定连接,所述管体的远端固定连接于所述第一网架部。Optionally, the middle section includes a first grid part and a first silica gel part located inside the first grid part, the first silica gel part is fixedly connected with the first grid part, and the pipe The distal end of the body is fixedly connected to the first grid part.
可选地,所述支架还包括缝合线,所述开口包括沿所述管体的轴向依次间隔设置的多个侧孔,所述缝合线穿过所述侧孔与所述第一网架部固定连接,以将所述管体与所述第一网架部缝合。Optionally, the stent further comprises a suture, the opening comprises a plurality of side holes arranged at intervals along the axial direction of the tube body, the suture passes through the side holes and the first mesh frame The part is fixedly connected to sew the pipe body and the first mesh frame part.
可选地,所述管体与所述中间段粘接,以使所述管体与所述第一网架部贴合。Optionally, the pipe body is bonded to the middle section, so that the pipe body is attached to the first grid part.
可选地,所述近端杯口段包括第二网架部和位于所述第二网架部内侧的第二硅胶部,且所述第二网架部和所述第二硅胶部之间形成供所述管体穿设的通道。Optionally, the proximal cup mouth section includes a second mesh frame portion and a second silica gel portion located inside the second mesh frame portion, and between the second mesh frame portion and the second silica gel portion. A channel for the pipe body to pass through is formed.
可选地,所述远端杯口段包括第三网架部和位于所述第三网架部内侧的第三硅胶部;所述第一网架部、所述第二网架部和所述第三网架部一体制成;所述第一硅胶部、所述第二硅胶部和所述第三硅胶部一体制成。Optionally, the distal cup mouth section includes a third mesh frame part and a third silicone rubber part located inside the third mesh frame part; the first mesh frame part, the second mesh frame part and all the The third mesh frame part is integrally made; the first silica gel part, the second silica gel part and the third silica gel part are integrally made.
可选地,所述中间段包括第一覆膜网架以及套设所述第一覆膜网架的裸架,所述管体缝合固定于所述裸架。Optionally, the middle section includes a first film-covered mesh frame and a bare frame on which the first film-covered mesh frame is sheathed, and the tube body is sutured and fixed to the bare frame.
可选地,所述第一覆膜网架的网架、所述近端杯口段的网架以及所述远端杯口段的网架一体编织制成。Optionally, the mesh frame of the first film-coated mesh frame, the mesh frame of the proximal cup mouth section and the mesh frame of the distal cup mouth section are made by integral weaving.
可选地,所述第一覆膜网架的近端和远端分别设置有多个连接环,所述裸架固定连接于所述连接环。Optionally, a plurality of connection rings are respectively provided at the proximal end and the distal end of the first film-covered mesh frame, and the bare frame is fixedly connected to the connection rings.
可选地,所述支架还包括设置于所述裸架的外侧的吸液储液层,所述吸液储液层固定连接于所述连接环。Optionally, the support further includes a liquid absorbing liquid storage layer disposed on the outer side of the bare frame, and the liquid absorbing liquid storage layer is fixedly connected to the connecting ring.
可选地,所述近端杯口段与所述中间段通过第一连接线固定连接;所述远端杯口段与所述中间段通过第二连接线固定连接。Optionally, the proximal cup mouth section and the middle section are fixedly connected by a first connecting line; the distal cup mouth section and the middle section are fixedly connected by a second connecting line.
可选地,所述近端杯口段包括第二覆膜网架以及固定连接于所述第二覆膜网架的连通管,所述连通管贯穿所述第二覆膜网架,以形成供所述管体穿过所述第二覆膜网架的通道。Optionally, the proximal cup mouth section includes a second film-coated mesh frame and a communication pipe fixedly connected to the second film-covered mesh frame, and the communication pipe penetrates the second film-covered mesh frame to form a A channel for the pipe body to pass through the second film-coated mesh frame.
可选地,所述管体内具有相互独立的第一通道和第二通道,所述开口包括与所述第一通道连通的第一开口和与所述第二通道连通的第二开口,所述第一通道用于通过所述第一开口吸放液,所述第二通道用于通过第二开口吸放液;和/或,Optionally, the pipe body has a first channel and a second channel independent of each other, the opening includes a first opening communicating with the first channel and a second opening communicating with the second channel, the The first channel is used for suction and discharge through the first opening, and the second channel is used for suction and discharge through the second opening; and/or,
所述管体的数量为多个,多个所述管体均设置于所述本体的外侧,多个所述管体分别用于吸放液。The number of the tube bodies is plural, and the plurality of the tube bodies are arranged on the outer side of the main body, and the plurality of the tube bodies are respectively used for sucking and releasing liquid.
本发明的实施例还提供了一种置入器,该置入器用于将上述的支架置入人体。该置入器包括内管以及中管,所述内管穿设所述中管,且所述中管内具有供所述支架的管体穿设的第一通孔。An embodiment of the present invention also provides an implanter, which is used to insert the above-mentioned stent into a human body. The implanter includes an inner tube and a middle tube, the inner tube passes through the middle tube, and the middle tube is provided with a first through hole for the tube body of the stent to pass through.
可选地,所述置入器还包括外管,所述外管套设所述中管,且所述外管与所述内管之间形成用于容纳所述支架的本体的容纳腔,所述中管用于推动所述支架相对所述外管运动。Optionally, the implanter further includes an outer tube, the outer tube is sleeved with the middle tube, and a accommodating cavity for accommodating the body of the stent is formed between the outer tube and the inner tube, The middle tube is used to push the bracket to move relative to the outer tube.
本发明的实施例还提供了一种医疗器械,其包括支架和/或置入器。支架包括本体以及与所述本体固定连接的管体,所述管体的远端具有开口,以通过所述开口进行吸放液;所述开口位于所述本体的外侧。置入器包括内管以及中管,所述内管穿设所述中管,且所述中管内具有供所述支架的管体穿设的第一通孔。Embodiments of the present invention also provide a medical device including a stent and/or an implanter. The bracket includes a main body and a tube body fixedly connected with the main body, the distal end of the tube body is provided with an opening, so that liquid can be sucked and released through the opening; the opening is located on the outer side of the main body. The implanter includes an inner tube and a middle tube, the inner tube passes through the middle tube, and the middle tube has a first through hole for the tube body of the stent to pass through.
本发明实施例的支架、置入器及医疗器械的有益效果包括,例如:The beneficial effects of the stent, the implanter and the medical device according to the embodiments of the present invention include, for example:
本发明的实施例提供了一种支架,其包括本体以及与本体固定连接的管体。管体的远端具有开口,且该开口位于本体的外侧,使用时,管体的远端随本体置入人体管腔,在本体的自膨胀性能作用下,管体的远端与人体管腔的壁面接触,同时管体的近端位于人体外侧,从而可以通过管体的开口向人体管腔充入液体,例如消炎药水,或者将人体管腔处的脓液或坏死物等吸出。而且本体呈管状,其内形成的通道可以保证管腔的畅通。An embodiment of the present invention provides a bracket, which includes a main body and a pipe body fixedly connected to the main body. The distal end of the tube body has an opening, and the opening is located on the outside of the body. When in use, the distal end of the tube body is inserted into the human body lumen along with the body. At the same time, the proximal end of the tube body is located outside the human body, so that the human body lumen can be filled with liquid, such as anti-inflammatory liquid, or the pus or necrosis in the human body lumen can be sucked out through the opening of the tube body. Moreover, the body is tubular, and the channel formed therein can ensure the smoothness of the lumen.
本发明的实施例还提供了一种置入器,该置入器包括内管和中管,内管穿设中管,同时中管内具有第一通孔。当采用该置入器将上述的支架置入人体的管腔时,支架的管体穿设在第一通孔内。从而通过该置入器实现了将上述的支架置入人体的管腔内的目的。An embodiment of the present invention also provides an implanter, the implanter includes an inner tube and a middle tube, the inner tube passes through the middle tube, and the middle tube has a first through hole therein. When the above-mentioned stent is inserted into the lumen of the human body by using the implanter, the tube body of the stent is penetrated in the first through hole. Therefore, the purpose of placing the above-mentioned stent into the lumen of the human body is achieved through the implanter.
本发明的实施例还提供了一种医疗器械,该医疗器械包括上述的支架和/或置入器,因此具有支架和/或置入器的全部有益效果。Embodiments of the present invention also provide a medical device, which includes the above-mentioned stent and/or implanter, and thus has all the beneficial effects of the stent and/or implanter.
附图说明Description of drawings
为了更清楚地说明本发明实施例的技术方案,下面将对实施例中所需要使用的附图作简单地介绍,应当理解,以下附图仅示出了本发明的某些实施例,因此不应被看作是对范围的限定,对于本领域普通技术人员来讲,在不付出创造性劳动的前提下,还可以根据这些附图获得其他相关的附图。In order to illustrate the technical solutions of the embodiments of the present invention more clearly, the following briefly introduces the accompanying drawings used in the embodiments. It should be understood that the following drawings only show some embodiments of the present invention, and therefore do not It should be regarded as a limitation of the scope, and for those of ordinary skill in the art, other related drawings can also be obtained according to these drawings without any creative effort.
图1为本发明实施例提供的支架的整体结构示意图;1 is a schematic diagram of the overall structure of a stent provided in an embodiment of the present invention;
图2为本发明实施例提供的支架的剖面结构示意图;2 is a schematic cross-sectional structural diagram of a stent provided by an embodiment of the present invention;
图3为本发明实施例提供的支架中本体与管体的连接结构示意图;3 is a schematic diagram of a connection structure between a body and a pipe body in a stent provided by an embodiment of the present invention;
图4为图3中Ⅳ处的局部结构放大示意图;Fig. 4 is the partial structure enlarged schematic diagram at IV in Fig. 3;
图5为本发明实施例提供的第二种本体与管体的连接结构示意图;5 is a schematic diagram of a connection structure between a second body and a pipe body according to an embodiment of the present invention;
图6为图5中Ⅵ处的局部结构放大示意图;Fig. 6 is the partial structure enlarged schematic diagram at VI in Fig. 5;
图7为本发明实施例提供的支架的第三种本体的结构示意图;7 is a schematic structural diagram of a third body of a stent provided in an embodiment of the present invention;
图8为本发明实施例提供的支架的第三种本体的局部结构截面示意图;8 is a schematic cross-sectional view of a partial structure of a third body of a stent provided in an embodiment of the present invention;
图9为本发明实施例提供的置入器的结构示意图;9 is a schematic structural diagram of an implanter provided by an embodiment of the present invention;
图10为本发明实施例提供的置入器中内管的剖面结构示意图;10 is a schematic cross-sectional structural diagram of an inner tube in an implanter provided by an embodiment of the present invention;
图11为本发明实施例提供的置入器的局部结构示意图。FIG. 11 is a schematic partial structural diagram of an implanter provided by an embodiment of the present invention.
图标:10-支架;100-本体;110-近端杯口段;111-第二网架部;112-第二硅胶部;113-第二覆膜网架;114-连通管;115-限位凸起;116-管状硅胶膜;120-中间段;121-第一网架部;122-第一硅胶部;123-第一覆膜网架;124-裸架;125-连接环;130-远端杯口段;131-第三网架部;132-第三硅胶部;141-第一连接线;142-第二连接线;143-第一回收线;144-第二回收线;200-管体;210-吸放端;220-开口;221-侧孔;222-端孔;230-接头;300-吸液储液层;310-容纳空间;400-缝合线;20-置入器;21-内管;23-中管;25-外管;27-容纳腔;29-第一通孔;31-第二通孔;33-软头;35-显影环;37-近端手柄;39-远端手柄。Icon: 10-Stand; 100-Body; 110-Proximal Cup Section; 111-Second Grid Part; 112-Second Silicone Part; 113-Second Film-coated Grid; 114-Connecting Tube; 115-Limited 116-tubular silicone membrane; 120-intermediate section; 121-first mesh frame part; 122-first silicone part; 123-first film-coated mesh frame; 124-bare frame; 125-connecting ring; 130 -Distal cup mouth section; 131-Third mesh frame part; 132-Third silicone part; 141-First connection line; 142-Second connection line; 143-First recovery line; 144-Second recovery line; 200-tube body; 210-suction and release end; 220-opening; 221-side hole; 222-end hole; 230-joint; 300-liquid absorption and liquid storage layer; 310-accommodating space; 21-inner tube; 23-middle tube; 25-outer tube; 27-accommodating cavity; 29-first through hole; 31-second through-hole; 33-soft head; 35-developing ring; 37-near end handle; 39 - distal handle.
具体实施方式Detailed ways
为使本发明实施例的目的、技术方案和优点更加清楚,下面将结合本发明实施例中的附图,对本发明实施例中的技术方案进行清楚、完整地描述,显然,所描述的实施例是本发明一部分实施例,而不是全部的实施例。通常在此处附图中描述和示出的本发明实施例的组件可以以各种不同的配置来布置和设计。In order to make the purposes, technical solutions and advantages of the embodiments of the present invention clearer, the technical solutions in the embodiments of the present invention will be clearly and completely described below with reference to the accompanying drawings in the embodiments of the present invention. Obviously, the described embodiments These are some embodiments of the present invention, but not all embodiments. The components of the embodiments of the invention generally described and illustrated in the drawings herein may be arranged and designed in a variety of different configurations.
因此,以下对在附图中提供的本发明的实施例的详细描述并非旨在限制要求保护的本发明的范围,而是仅仅表示本发明的选定实施例。基于本发明中的实施例,本领域普通技术人员在没有作出创造性劳动前提下所获得的所有其他实施例,都属于本发明保护的范围。Thus, the following detailed description of the embodiments of the invention provided in the accompanying drawings is not intended to limit the scope of the invention as claimed, but is merely representative of selected embodiments of the invention. Based on the embodiments of the present invention, all other embodiments obtained by those of ordinary skill in the art without creative efforts shall fall within the protection scope of the present invention.
应注意到:相似的标号和字母在下面的附图中表示类似项,因此,一旦某一项在一个附图中被定义,则在随后的附图中不需要对其进行进一步定义和解释。It should be noted that like numerals and letters refer to like items in the following figures, so once an item is defined in one figure, it does not require further definition and explanation in subsequent figures.
在本发明的描述中,需要说明的是,若出现术语“上”、“下”、“内”、“外”等指示的方位或位置关系为基于附图所示的方位或位置关系,或者是该发明产品使用时惯常摆放的方位或位置关系,仅是为了便于描述本发明和简化描述,而不是指示或暗示所指的装置或元件必须具有特定的方位、以特定的方位构造和操作,因此不能理解为对本发明的限制。In the description of the present invention, it should be noted that, if the terms "upper", "lower", "inner", "outer", etc. appear, the orientation or positional relationship indicated is based on the orientation or positional relationship shown in the drawings, or It is the usual orientation or positional relationship when the product of the invention is used, and is only for the convenience of describing the present invention and simplifying the description, rather than indicating or implying that the device or element referred to must have a specific orientation, be constructed and operated in a specific orientation , so it cannot be construed as a limitation of the present invention.
此外,若出现术语“第一”、“第二”等仅用于区分描述,而不能理解为指示或暗示相对重要性。In addition, where the terms "first", "second" and the like appear, they are only used to differentiate the description, and should not be construed as indicating or implying relative importance.
需要说明的是,在不冲突的情况下,本发明的实施例中的特征可以相互结合。It should be noted that the features in the embodiments of the present invention may be combined with each other without conflict.
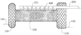
图1为本实施例提供的支架10的整体结构示意图,图2为本实施例提供的支架10的剖面结构示意图,图3为本实施例提供的支架10中本体100与管体200的连接结构示意图。请结合参照图1-图3,本实施例提供了一种支架10。支架10包括本体100以及与本体100固定连接的管体200。管体200的远端具有开口220,且该开口220位于本体100的外侧,使用时,管体200的远端随本体100置入人体管腔,在本体100的自膨胀性能的作用下,管体200的远端与人体管腔的壁面接触,同时管体200的近端位于人体外侧,从而可以通过管体200的开口220向人体管腔充入液体,例如消炎药水,或者将人体管腔处的脓液或坏死物等吸出。而且本体100呈管状,其内形成的通道可以保证管腔的畅通。1 is a schematic diagram of the overall structure of the
需要说明的是,在本实施例的描述中,“近端”为置入人体后靠近人体外侧的一端,相应地,“远端”为置入人体后远离人体外侧的一端,例如管体200与本体100连接的一端为管体200的远端,管体200远离本体100的一端为管体200的近端。It should be noted that, in the description of this embodiment, the "proximal end" refers to the end that is close to the outside of the human body after being inserted into the human body. The end connected to the
下面对本实施例提供的支架10进行进一步说明:The
请结合参照图1-图3,在本实施例中,本体100包括依次设置的近端杯口段110、中间段120以及远端杯口段130。近端杯口段110的外径和远端杯口段130的外径均大于中间段120的外径,如此形成的本体100的外形呈哑铃状。管体200的开口220位于中间段120的外侧。Please refer to FIG. 1 to FIG. 3 , in this embodiment, the
可选地,近端杯口段110为柱状杯口,即近端杯口段110的外壁为圆柱面。远端杯口段130为球形杯口,即远端杯口段130的外壁为球面。可以理解的,在其他实施例中,也可以根据需求采用具体设置杯口的形状,例如将近端杯口段110和远端杯口段130均设置为球形杯口。Optionally, the proximal
可选地,管体200的远端贯穿近端杯口段110,并延伸至中间段120,从而使得位于管体200的远端的开口220延伸到中间段120的外侧。具体地,管体200对应近端杯口段110的部分位于近端杯口段110内侧,管体200对应中间段120的部分位于中间段120的外侧。Optionally, the distal end of the
具体地,管体200的远端具有吸放端210,开口220包括多个开设在吸放端210的侧孔221,多个侧孔221沿管体200的轴向依次开设在吸放端210的侧壁上,换言之,管体200的吸放端210即为从管体200的远端端面至距离远端端面最远的一个侧孔221处的部分。吸放端210对应位于中间段120的外侧,即沿本体100的径向,吸放端210整体位于中间段120的径向外侧。可选地,开口220还包括位于吸放端210的端部的端孔222,具体地,端孔222为管体200的内腔贯穿管体200的远端端面形成。Specifically, the distal end of the
可选地,管体200的数量为多个,多个管体200均位于本体100的外侧。多个管体200分别用于吸放液,因此,在使用过程中,可根据需求采用多个管体200中的部分进行吸液,并采用多个管体200中的另一部分进行放液,即该支架10可同时进行吸液和放液,以进一步满足使用需求。具体地,管体200的数量为两个,两个管体200沿本体100的周向设置,可以理解的,在其他实施例中,两个管体200也可以相互套设,即两个管体200同轴设置。还可以理解的,在其他实施例中,也可以根据需求设置管体200的数量。Optionally, the number of the
需要说明的是,在本实施例中,通过将管体200的数量设置为多个以实现同时吸放液,可以理解的,在其他实施例中,也可以通过将管体200设置为多腔管以实现同时吸放液。作为示例性地,将管体200设置为双腔管,即在管体200内设置相互独立的第一通道和第二通道,例如将管体200的圆柱形内腔分隔成半圆柱形的两个通道以形成相互独立的第一通道和第二通道。开口220包括与第一通道连通的第一开口以及与第二通道连通的第二开口,第一通道通过第一开口吸放液,第二通道通过第二开口吸放液,由于第一通道和第二通道相互独立,因此可根据需求在采用第一通道进行注液的同时采用第二通道进行吸液。It should be noted that, in this embodiment, the number of the
可选地,支架10还包括吸液储液层300,吸液储液层300的至少部分包覆于管体200外,使得开口220通过吸液储液层300吸放液。通过设置吸液储液层300,当采用管体200进行放液时,从开口220流出管体200的液体首先被吸液储液层300吸收存储,缓慢释放,然后通过吸液储液层300与人体管腔壁面的接触使得该液体作用于人体管腔壁面并缓慢释放,不仅保证了液体与人体管腔壁面的有效接触,而且由于吸液储液层300的储液作用,使得液体(例如化疗药物等)缓慢释放作用于患者病变处,因能长时间作用于患处,起到了很好的治疗效果。同时当需要通过管体200将人体的管腔分泌的脓液等吸出时,脓液等首先通过吸液储液层300的吸液作用被收集在吸液储液层300内,有助于保证管体200的吸液效果,然后通过将管体200连通负压,进而将吸液储液层300中的脓液吸出体外,同时吸液储液层300可以实现对吸力的缓冲,避免吸取过程中,对人体造成不必要的损伤。Optionally, the
具体地,该支架10还可以用于瘘口的治疗,例如食管瘘。使用时,将支架10置入食管中对应瘘口的位置,利用本体100的自膨胀性能将吸液储液层300贴紧瘘口组织,同时由于本体100中间贯通形成有通道,通过该通道保证食道的畅通性、便于患者进食。而且通过管体200可实现对瘘口脓液等液体进行灌洗引流,并将吸液储液层300上的脓液及坏死物吸出,促进瘘口的愈合,达到治疗目的。Specifically, the
可选地,吸液储液层300呈环状,环状的吸液储液层300套设于本体100,从而将位于本体100外侧的管体200包覆。具体地,吸液储液层300位于中间段120的外侧,相应地,吸液储液层300套设中间段120。吸液储液层300的长度尺寸与中间段120的长度尺寸适配,不仅可以保证吸液储液层300将中间段120整体包覆在内,同时由于近端杯口段110的外径和远端杯口段130的外径均大于中间段120的外径,套设于中间段120外的环状吸液储液层300的轴向两端分别通过近端杯口段110和远端杯口段130实现限位。Optionally, the liquid absorption and
可选地,吸液储液层300包括海绵。具体地,吸液储液层300整体为海绵制成的管状环形件,通过海绵自身的特性实现吸液储液。可以理解的,在其他实施例中,也可以采用其他的材料制成吸液储液层300,例如纱布、无纺布、渗透膜、储液囊体或可降解膜,通过设置多层纱布或者无纺布保证吸液效果以及对抽吸力的缓冲效果,显然地,也可以采用能够实现吸液储液的其他材料制成吸液储液层300。Optionally, the
可选地,吸液储液层300套设在中间段120外,从而在吸液储液层300的内壁与中间段120的外壁之间形成环状的容纳空间310,管体200的远端位于容纳空间310内,即管体200的吸放端210夹设于中间段120和吸液储液层300之间,从而实现吸液储液层300对管件的吸放端210的包覆。可选地,本实施例提供的支架10使用时,还可以通过管体200向人体置入注射化疗药或放射性粒子等缓释化疗药,注射化疗药或放射性粒子从开口220离开管体200后被容置在容纳空间310内。Optionally, the liquid absorbing
需要说明的是,在本实施例中,管体200固定连接于中间段120,管体200的吸放端210夹设于中间段120与吸液储液层300之间,即吸液储液层300覆盖于吸放端210远离中间段120的一侧,可以理解的,在其他实施例中,也可以根据需求,将管体200的吸放端210穿设在吸液储液层300内部,然后通过吸液储液层300实现管体200与中间段120的连接,此时吸液储液层300包裹管体200的吸放端210。It should be noted that, in this embodiment, the
可选地,管体200通过缝合固定于中间段120。具体地,支架10还包括缝合线400,缝合线400穿过开设在管体200轴向上的多个侧孔221以及中间段120,从而将管体200固定于中间段120。可选地,管体200与中间段120粘接,从而保证管体200贴合于中间段120。具体地,采用硅胶补膜处理的方式实现管体200与中间段120的粘接。Optionally, the
请继续结合参照图1-图3,在本实施例中,本体100包括全覆膜支架和裸架124,全覆膜支架包括依次连接的第二覆膜网架113、第一覆膜网架123和第三覆膜网架,第二覆膜网架113形成本体100的近端杯口段110;第三覆膜网架形成本体100的远端杯口段130;第一覆膜网架123外套设裸架124以形成本体100的中间段120,换言之,中间段120包括第一覆膜网架123以及套设第一覆膜网架123的裸架124。Please continue to refer to FIG. 1 to FIG. 3. In this embodiment, the
具体地,全覆膜支架包括两端径向尺寸大、中间径向尺寸小的网架,通过对网架整体进行覆膜形成全覆膜支架,网架中径向尺寸大的两端分别成型第二覆膜网架113和第三覆膜网架,网架中径向尺寸小的中间部分成型第一覆膜网架123。全覆膜支架的网架通过金属丝编织一体制成,换言之,第二覆膜网架113的网架、近端杯口段110的网架以及远端杯口段130的网架一体编织制成。Specifically, the fully covered stent includes a mesh frame with large radial dimensions at both ends and a small radial size in the middle. The whole mesh frame is covered to form a fully covered stent, and the two ends of the mesh frame with large radial dimensions are formed separately. The second film-coated
裸架124即为金属网架,具体地,裸架124通过金属丝编织成型,换言之,裸架124与第一覆膜网架123的区别可以看做是否进行覆膜。可选地,金属丝的材质为镍钛合金。The
通过在第一覆膜网架123外侧设置裸架124,连接时,缝合线400穿过裸架124上的网孔设置,即管体200通过缝合线400缝合固定在裸架124上,从而能够避免缝合时损伤第一覆膜网架123上的膜,保证环状的容纳空间310在径向内侧的密闭性能,如此当管体200接负压进行抽吸时,能够将吸液储液层300内的脓液及坏死物等吸出,达到治疗目的。By arranging the
图4为图3中Ⅳ处的局部结构放大示意图。请结合参照图3和图4,可选地,第一覆膜网架123的近端和远端分别设置有多个连接环125,多个连接环125均位于第一覆膜网架123的外周壁,裸架124固定连接于连接环125。具体地,多个连接环125中的部分设置于第一覆膜网架123的近端,该连接环125为第一连接环,多个连接环125中的剩余部分设置于第一覆膜网架123的远端,该连接环125为第二连接环。裸架124的两端分别固定连接于第一连接环和第二连接环。FIG. 4 is an enlarged schematic diagram of a partial structure at IV in FIG. 3 . Please refer to FIG. 3 and FIG. 4 , optionally, a plurality of connecting
可选地,裸架124的两端分别绑缚固定于第一连接环和第二连接环,吸液储液层300的两端分别固定连接于第一连接环和第二连接环。可选地,第一连接环和第二连接环的数量均为多个,多个第一连接环和多个第二连接环分别沿第一覆膜网架123的周向均匀分布。在本实施例中,第一连接环和第二连接环的数量分别为六个,可以理解的,在其他实施例中,也可以根据需求具体设置第一连接环和第二连接环的数量。Optionally, both ends of the
生产时,首先通过金属丝编织形成与全覆膜支架相同轮廓的网状结构,然后将连接环固定连接在该网状结构的中间径向尺寸较小部分的两端,并且在该网状结构径向尺寸较大的一端穿设芯棒,随后进行覆膜以制成全覆膜支架,同时芯棒取出后,在该处形成管状硅胶膜116,以供管体200穿设。全覆膜支架具有管状硅胶膜116的一端即为近端杯口段110,相应地,全覆膜支架的另一端即为远端杯口段130。然后再将裸架124套设于第一覆膜网架123,并将裸架124的两端分别通过线绑缚固定于第一连接环和第二连接环,从而制成本体100。之后将管体200穿入管状硅胶膜116,并使管体200的开口220位于裸架124的径向外侧,即位于中间段120的外侧,并通过缝合固定于裸架124。最后将吸液储液层300套设于中间段120并将吸液储液层300的近端和远端绑缚固定于第一连接环和第二连接环即可。During production, a mesh structure with the same outline as the full-covered stent is firstly formed by wire weaving, and then the connecting rings are fixedly connected at both ends of the smaller radially dimensioned portion of the mesh structure, and in the mesh structure The end with the larger radial size is pierced with a mandrel, which is then covered with a film to make a fully covered stent. At the same time, after the mandrel is taken out, a
可选地,连接环125为软线绕设形成的环状结构。Optionally, the
需要说明的是,此处并不对本体100的具体结构进行限制,可以理解的,在其他实施例中,也可以根据需求具体设置本体100的结构。It should be noted that the specific structure of the
作为示例性地,图5为本实施例提供的第二种本体100与管体200的连接结构示意图。请参照图5,该第二种本体100包括分段全覆膜支架和裸架124,分段全覆膜支架包括分段设置的多段覆膜网架,且相邻两段之间通过连接线连接。具体地,分段全覆膜支架10包括依次连接的第二覆膜网架113、第一覆膜网架123和第三覆膜网架,第二覆膜网架113用于形成本体100的近端杯口段110;第三覆膜网架用于形成本体100的远端杯口段130;第一覆膜网架123外套设裸架124以形成本体100的中间段120,换言之,中间段120包括第一覆膜网架123以及套设第一覆膜网架123的裸架124。连接线包括第一连接线141和第二连接线142,近端杯口段110与中间段120通过第一连接线141固定连接,远端杯口段130与中间段120通过第二连接线142固定连接。可选地,第一连接线141和第二连接线142均为聚四氟乙烯(PTFE)软线。As an example, FIG. 5 is a schematic diagram of the connection structure of the
需要说明的是,覆膜网架即为在金属网架上进行覆膜处理后形成的结构。具体地,首先采用金属丝编织形成分别具有与第一覆膜网架123、第二覆膜网架113和第三覆膜网架的外形尺寸对应的网状结构,然后对该三个网状结构进行全覆膜处理,以形成第一覆膜网架123、第二覆膜网架113和第三覆膜网架。然后在第一覆膜网架123外套设裸架124以形成中间段120,再分别通过第一连接线141和第二连接段将第二覆膜网架113及第三覆膜网架连接于中间段120的两端,最后对第一连接线141以及第二连接线142处进行覆膜处理,从而形成两端杯口以及中间段120内部全覆膜、中间段120外部为裸架124的本体100。It should be noted that the film-coated grid is a structure formed after film-coated treatment is performed on the metal grid. Specifically, metal wires are first used to weave to form mesh structures having dimensions corresponding to the first film-covered
图6为图5中Ⅵ处的局部结构放大示意图。请结合参照图5和图6,可选地,近端杯口段110还包括连通管114,连通管114设置在第二覆膜网架113上,且连通管114贯穿第二覆膜网架113,从而通过连通管114形成供管体200穿过近端杯口段110的第二覆膜网架113的通道,换言之,该通道即为连通管114的内腔所形成的贯通通道。具体地,连通管114包括圆柱状的管段以及管段一端端部沿径向向外凸出形成的限位凸起115。在对金属网架进行覆膜以形成第二覆膜网架113之前,首先将连通管114穿设金属网架的网孔,且连通管114的限位凸起115与形成该金属网架的金属丝抵触,以实现连通管114的限位,然后对金属网架覆膜以形成近端杯口段110。FIG. 6 is an enlarged schematic view of a partial structure at VI in FIG. 5 . Please refer to FIG. 5 and FIG. 6 , optionally, the proximal
可选地,连通管114的材质为硅胶,即连通管114为软性材质,不仅可以防止连通管114对管体200的延伸方向进行限制,而且可通过连通管114内壁与管体200的紧密接触保证管体200与连通管114之间的密封效果。Optionally, the material of the
作为示例性地,图7示出了本实施例提供的支架10的第三种本体100的结构示意图,图8为图7中示出的第三种本体100的局部结构的截面示意图。请结合参照图7和图8,在本实施例中,本体100包括网架部以及固定连接于网架部内侧的硅胶部,从而通过硅胶部实现对网架部的网孔的封闭。可选地,网架部与硅胶部通过胶粘固定。As an example, FIG. 7 shows a schematic structural diagram of a
具体地,网架部为金属网状管,其包括依次连接的第二网架部111、第一网架部121和第三网架部131。可选地,网架部为金属丝编织形成。可选地,金属丝为镍钛合金金属丝。Specifically, the mesh frame part is a metal mesh tube, which includes a second
硅胶部为形状与网架部适配的硅胶膜,其包括依次连接的第二硅胶部112、第一硅胶部122和第三硅胶部132。硅胶部整体位于网架部内侧,第二硅胶部112的外壁贴合第二网架部111的内壁,从而通过第二硅胶部112和第二网架部111形成近端杯口段110,第一硅胶部122的外壁贴合第一网架部121的内壁,从而通过第一硅胶部122和第一网架部121形成中间段120,第三硅胶部132的外壁贴合第三网架部131的内壁,从而通过第三硅胶部132和第三网架部131形成远端杯口段130。The silica gel portion is a silica gel membrane whose shape is adapted to the grid portion, and includes a second
通过在网架部粘连硅胶部,以封闭网架部上的各个网孔,从而使容纳空间310的径向内侧保持密闭。同时,由于硅胶部设置在网架部的内侧,相应地,网架部位于硅胶部外侧,且网架部的金属丝凸出硅胶部的外壁设置,如此在通过缝合线400将管体200缝合固定于中间段120时,缝合线400穿过第一网架部121的金属网孔即可,从而避免了对硅胶部造成破损、影响容纳空间310密封效果的问题。By adhering the silicone part to the mesh frame part, each mesh hole on the mesh frame part is closed, so that the radial inner side of the
可选地,第二网架部111和第二硅胶部112之间形成有通道(图未示出),管体200穿设该通道,并从第二网架部111远端的网孔穿出以使管体200的远端位于中间段120的外侧。具体地,通道沿本体100的轴向延伸。由于第二网架部111与第二硅胶部112通过胶粘固定,如此在对第二网架部111和第二硅胶部112进行粘接时,仅在第二硅胶部112周向部分进行涂胶操作,以在第二硅胶部112周向部分预留一定区域,当第二网架部111固定在第二硅胶部112外后,第二硅胶部112上未涂胶的区域与第二网架部111呈可分离的贴合状态,从而可以通过施加外力使该处处于分离状态以形成供管体200穿设的通道。Optionally, a channel (not shown) is formed between the
可选地,第一网架部121、第二网架部111和第三网架部131一体制成,具体地,第二网架部111、第一网架部121和第三网架部131通过金属丝编织一体制成。第一硅胶部122、第二硅胶部112和第三硅胶部132一体制成,具体地,第一硅胶部122、第二硅胶部112和第三硅胶部132通过硅胶注胶一体成型制成。Optionally, the first
具体地,预先制成相互适配的网架部和硅胶部,然后通过粘胶将网架部粘接于硅胶部外侧以形成本体100。管体200的远端从第二网架部111与第二硅胶部112之间形成的通道穿过延伸至中间段120的外侧,且采用缝合线400穿过管体200的侧孔221以及第一网架部121的网孔,从而将管体200缝合固定于中间段120,固定效果好,同时能够避第二硅胶部112的破损。然后采用补膜处理的方式将管体200粘接在中间段120上,保证管体200与中间段120贴合。最后将吸液储液层300套设在中间段120外,管体200位于吸液储液层300内侧与中间段120外侧的容纳空间310内,保证管体200的开口220吸放液时需通过吸液储液层300即可。Specifically, the mesh frame part and the silica gel part are prefabricated, and then the mesh frame part is adhered to the outside of the silica gel part by adhesive to form the
请参照图1,在本实施例中,支架10还包括接头230,该接头230连接于管体200的近端,从而通过接头230实现管体200与负压装置(图未示出)或者注液装置(图未示出)的连接。可选地,接头230与管体200可拆卸地连接。可选地,接头230为鲁尔接头。Referring to FIG. 1 , in this embodiment, the
请继续参照图1,在本实施例中,支架10还包括设置在本体100两端的回收线。具体地,回收线包括设置在近端杯口段110的近端的第一回收线143以及设置在远端杯口段130的第二回收线144,通过回收线可以收紧杯口,便于支架10的取出。Please continue to refer to FIG. 1 , in this embodiment, the
根据本实施例提供的一种支架10,下面以支架10用于治疗食道瘘时的工作过程为例对支架10的工作原理进行说明:According to a
使用时,将支架10置入消化道中对应病变位置,通过本体100的自膨胀性能将吸液储液层300压紧于消化道壁面,从而使吸液储液层300紧贴消化道的瘘口组织,实现的对瘘口的封堵,同时瘘口组织分泌的脓液以及该处的坏死物等进入吸液储液层300。管体200的远端随本体100进入消化道,并与瘘口组织位置对应,管体200的近端延伸至人体外侧。当需要进行抽吸时,将管体200近端的接头230与负压装置连接,在负压作用下将进入吸液储液层300的脓液及坏死物等吸引至人体外;当需要进行注液时,将管体200近端的接头230与注液装置连接,注液装置注入管体200内的液体随管体200流动并从开口220流至吸液储液层300,通过吸液储液层300实现对瘘口的灌洗;当需要同时进行吸放液时,将至少一个管体200的接头230与注液装置连接,将至少一个管体200的接头230与负压装置连接即可;从而促进消化道瘘口愈合。When in use, the
本实施例提供的一种支架10至少具有以下优点:A
本发明的实施例提供的支架10,其通过在本体100外设置管体200,以实现向人体管腔吸放液的功能,本体100内中空,如此可保证人体管腔的畅通性。同时在本体100外套设吸液储液层300,吸液储液层300在本体100的自膨胀性能的作用下紧贴管腔壁面,管体200通过吸液储液层300实现吸放液,从而能够减小抽吸力对人体管腔组织的影响,而且吸液储液层300能够吸收存储人体分泌的脓液,保证管体200吸取脓液时的吸取效果,进而保证治疗效果。In the
图9为本实施例提供的置入器20的结构示意图,图10为本实施例提供的置入器20中内管21的剖面结构示意图。请结合参照图9和图10,本实施例还提供了一种置入器20,通过该置入器20能够将图1-图8所示的支架10置入人体管腔内。置入器20包括内管21和中管23,内管21穿设中管23,同时中管23内具有第一通孔29。当采用该置入器20将上述的支架10置入人体的管腔时,支架10的管体200穿设在第一通孔29内。FIG. 9 is a schematic structural diagram of the
具体地,中管23为管状件,其内具有两个孔道,两个孔道的截面均为圆形,且两个圆形相交设置。两个孔道中的一个与中管23同轴设置,该孔道即作为供支架10的管体200穿设的第一通孔29;两个孔道中的另一个相对中管23偏心设置,该孔道即作为供内管21穿设的第二通孔31。内管21的孔腔则用于供导丝穿设,以通过导丝引导置入器20的远端置入人体。可选地,内管21与中管23固定连接。可选地,内管21通过胶接固定于中管23。Specifically, the
图11为本实施例提供的置入器20的局部结构示意图。请参照图11,在本实施例中,置入器20还包括外管25,外管25套设在中管23外侧,且外管25与内管21之间形成用于容纳支架10的本体100的容纳腔27,中管23用于推动支架10相对外管25运动,以将支架10推出容纳腔27。FIG. 11 is a schematic partial structure diagram of the
具体地,外管25的远端端面凸出中管23的远端端面,同时内管21的远端端面凸出中管23的远端端面,换言之,外管25的远端端面以及内管21的远端端面均位于中管23的远端端面远离近端的一侧,从而在中管23远端端面远离近端的一侧且外管25与内管21之间形成用于容纳支架10的本体100的容纳腔27。置入前,支架10的管体200穿设中管23的第一通孔29,本体100收缩容纳于容纳腔27中,且保证本体100完全位于外管25内;本体100随置入器20到达预设位置(例如人体管腔的病变处)后,操作中管23相对外管25运动,中管23从而推动支架10相对外管25运动,以将支架10推出外管25,支架10释放于该预设位置。需要说明的是,当中管23推动支架10相对外管25运动,并将支架10推出容纳腔27后,中管23的远端端面运动至外管25的远端端面远离近端的一侧(如图9所示)。Specifically, the distal end face of the
请参照图7,可选地,置入器20还包括远端手柄39和近端手柄37,外管25固定连接于远端手柄39,中管23通过助推管固定连接于近端手柄37,如此操作时,通过改变近端手柄37与远端手柄39之间的距离,即可实现中管23与外管25的相对运动,进而实现支架10的释放。Please refer to FIG. 7 , optionally, the
可选地,中管23的远端设置有显影环35(如图9所示),显影环35能够在X光下进行显影,从而置入时使医生能够通过显影环35在X光下的显影确认支架10的释放位置。Optionally, the distal end of the
可选地,置入器20还包括设置在内管21远端的软头33,从而通过软头33增加内管21强度。同时软头33呈锥形,具体地,软头33为双头锥形,即软头33的中间部分的径向尺寸最大,从中间至两端,软头33的径向尺寸逐渐减小。Optionally, the
本发明的实施例还提供了一种医疗器械(图未示出),医疗器械包括置入器20和/或支架10。支架10设置在置入器20内部,且支架10的管体200穿设置入器20的第一通孔29,支架10的本体100位于置入器20的容纳腔27内。由于该医疗器械包括置入器20和/或支架10,因此也具有置入器20和/或支架10的全部有益效果。The embodiment of the present invention also provides a medical device (not shown in the figure), the medical device includes the
以上所述,仅为本发明的具体实施方式,但本发明的保护范围并不局限于此,任何熟悉本技术领域的技术人员在本发明揭露的技术范围内,可轻易想到的变化或替换,都应涵盖在本发明的保护范围之内。因此,本发明的保护范围应以所述权利要求的保护范围为准。The above are only specific embodiments of the present invention, but the protection scope of the present invention is not limited thereto. Any person skilled in the art who is familiar with the technical scope disclosed by the present invention can easily think of changes or substitutions. All should be covered within the protection scope of the present invention. Therefore, the protection scope of the present invention should be based on the protection scope of the claims.
Claims (24)
Priority Applications (1)
| Application Number | Priority Date | Filing Date | Title |
|---|---|---|---|
| CN202010908606.0A CN111888060B (en) | 2020-09-02 | 2020-09-02 | A stent, an implant and a medical device |
Applications Claiming Priority (1)
| Application Number | Priority Date | Filing Date | Title |
|---|---|---|---|
| CN202010908606.0A CN111888060B (en) | 2020-09-02 | 2020-09-02 | A stent, an implant and a medical device |
Publications (2)
| Publication Number | Publication Date |
|---|---|
| CN111888060A true CN111888060A (en) | 2020-11-06 |
| CN111888060B CN111888060B (en) | 2025-07-11 |
Family
ID=73224371
Family Applications (1)
| Application Number | Title | Priority Date | Filing Date |
|---|---|---|---|
| CN202010908606.0A Active CN111888060B (en) | 2020-09-02 | 2020-09-02 | A stent, an implant and a medical device |
Country Status (1)
| Country | Link |
|---|---|
| CN (1) | CN111888060B (en) |
Cited By (1)
| Publication number | Priority date | Publication date | Assignee | Title |
|---|---|---|---|---|
| CN115040769A (en) * | 2022-06-24 | 2022-09-13 | 南微医学科技股份有限公司 | Sustainable support system of dosing |
Citations (14)
| Publication number | Priority date | Publication date | Assignee | Title |
|---|---|---|---|---|
| US5282785A (en) * | 1990-06-15 | 1994-02-01 | Cortrak Medical, Inc. | Drug delivery apparatus and method |
| CN2910150Y (en) * | 2006-04-27 | 2007-06-13 | 南京微创医学科技有限公司 | Non-blood vessel coated stand able to prevent complication |
| US20080109029A1 (en) * | 2006-11-06 | 2008-05-08 | The Regents Of The University Of Michigan | Angioplasty Balloon with Therapeutic/Aspiration Channel |
| CN201879873U (en) * | 2010-11-26 | 2011-06-29 | 江苏省人民医院 | Recyclable esophageal stent of nickel titanium memory alloy full-membrane exceeding opening |
| US20130231753A1 (en) * | 2012-03-02 | 2013-09-05 | Cook Medical Technologies Llc | Endoluminal prosthesis having anti-migration coating |
| CN206315320U (en) * | 2016-10-10 | 2017-07-11 | 南方医科大学南方医院 | A kind of seal fistula road formula pressure sore drainage system |
| CN108619586A (en) * | 2018-07-20 | 2018-10-09 | 中南大学湘雅三医院 | Intestinal Fistula Stent Kit |
| CN109044415A (en) * | 2018-09-18 | 2018-12-21 | 上海市第人民医院 | A kind of endolumenal local overlay film bile duct sampling metallic support |
| CN208405722U (en) * | 2017-10-24 | 2019-01-22 | 吴刚 | Gastroesophageal anastomosis fistula drainage tube |
| CN208492173U (en) * | 2017-10-24 | 2019-02-15 | 吴刚 | Gastroesophageal anastomosis fistula blocks drainage device |
| CN109984862A (en) * | 2017-12-29 | 2019-07-09 | 杭州唯强医疗科技有限公司 | A kind of aorta tectorial membrane stent that can be discharged step by step |
| CN110522540A (en) * | 2019-08-08 | 2019-12-03 | 北京科技大学 | An orderly and completely degradable covered bilayer stent |
| CN111249044A (en) * | 2020-03-20 | 2020-06-09 | 南微医学科技股份有限公司 | A stent and placement system |
| CN212234822U (en) * | 2020-09-02 | 2020-12-29 | 南微医学科技股份有限公司 | Support, imbedding device and medical instrument |
-
2020
- 2020-09-02 CN CN202010908606.0A patent/CN111888060B/en active Active
Patent Citations (14)
| Publication number | Priority date | Publication date | Assignee | Title |
|---|---|---|---|---|
| US5282785A (en) * | 1990-06-15 | 1994-02-01 | Cortrak Medical, Inc. | Drug delivery apparatus and method |
| CN2910150Y (en) * | 2006-04-27 | 2007-06-13 | 南京微创医学科技有限公司 | Non-blood vessel coated stand able to prevent complication |
| US20080109029A1 (en) * | 2006-11-06 | 2008-05-08 | The Regents Of The University Of Michigan | Angioplasty Balloon with Therapeutic/Aspiration Channel |
| CN201879873U (en) * | 2010-11-26 | 2011-06-29 | 江苏省人民医院 | Recyclable esophageal stent of nickel titanium memory alloy full-membrane exceeding opening |
| US20130231753A1 (en) * | 2012-03-02 | 2013-09-05 | Cook Medical Technologies Llc | Endoluminal prosthesis having anti-migration coating |
| CN206315320U (en) * | 2016-10-10 | 2017-07-11 | 南方医科大学南方医院 | A kind of seal fistula road formula pressure sore drainage system |
| CN208492173U (en) * | 2017-10-24 | 2019-02-15 | 吴刚 | Gastroesophageal anastomosis fistula blocks drainage device |
| CN208405722U (en) * | 2017-10-24 | 2019-01-22 | 吴刚 | Gastroesophageal anastomosis fistula drainage tube |
| CN109984862A (en) * | 2017-12-29 | 2019-07-09 | 杭州唯强医疗科技有限公司 | A kind of aorta tectorial membrane stent that can be discharged step by step |
| CN108619586A (en) * | 2018-07-20 | 2018-10-09 | 中南大学湘雅三医院 | Intestinal Fistula Stent Kit |
| CN109044415A (en) * | 2018-09-18 | 2018-12-21 | 上海市第人民医院 | A kind of endolumenal local overlay film bile duct sampling metallic support |
| CN110522540A (en) * | 2019-08-08 | 2019-12-03 | 北京科技大学 | An orderly and completely degradable covered bilayer stent |
| CN111249044A (en) * | 2020-03-20 | 2020-06-09 | 南微医学科技股份有限公司 | A stent and placement system |
| CN212234822U (en) * | 2020-09-02 | 2020-12-29 | 南微医学科技股份有限公司 | Support, imbedding device and medical instrument |
Cited By (1)
| Publication number | Priority date | Publication date | Assignee | Title |
|---|---|---|---|---|
| CN115040769A (en) * | 2022-06-24 | 2022-09-13 | 南微医学科技股份有限公司 | Sustainable support system of dosing |
Also Published As
| Publication number | Publication date |
|---|---|
| CN111888060B (en) | 2025-07-11 |
Similar Documents
| Publication | Publication Date | Title |
|---|---|---|
| US11406486B2 (en) | Suction stent, stent system, and method for sealing a leakage | |
| JP6697531B2 (en) | Negative pressure treatment device and film for manufacturing negative pressure treatment device | |
| JP6230166B2 (en) | Intraluminal negative pressure therapy device | |
| JP6241877B2 (en) | Instruments used for intraluminal decompression therapy | |
| JP2025102892A (en) | Medical Therapeutic System and Method of Using Same | |
| CN103517665A (en) | Vacuum system and endoscopy arrangement for endoscopic vacuum therapy | |
| BR102016013602B1 (en) | CATHETER, IN PARTICULAR, A BALLOON CATHETER AND CATHETER SYSTEM | |
| JP2025516725A (en) | Systems for wound treatment | |
| CN111888060A (en) | A stent, implanter and medical device | |
| CN212234822U (en) | Support, imbedding device and medical instrument | |
| JP2019097596A (en) | Balloon catheter | |
| CN107690324A (en) | Conduit tube component | |
| JP2019097595A (en) | Balloon catheter | |
| CN121101831A (en) | Support and implantation system | |
| WO2024246815A1 (en) | System and method for treating a gastrointestinal tract of a subject | |
| CN121154338A (en) | Support and implantation system | |
| HK1226681A1 (en) | Open-pored ballon catheters | |
| JP2020005871A (en) | Indwelling device | |
| HK1188103B (en) | Vacuum system and endoscopy arrangement for endoscopic vacuum therapy |
Legal Events
| Date | Code | Title | Description |
|---|---|---|---|
| PB01 | Publication | ||
| PB01 | Publication | ||
| SE01 | Entry into force of request for substantive examination | ||
| SE01 | Entry into force of request for substantive examination | ||
| GR01 | Patent grant | ||
| GR01 | Patent grant |
