CN110780331A - Measuring device for nondestructively and rapidly analyzing micro-trace plutonium in solution - Google Patents
Measuring device for nondestructively and rapidly analyzing micro-trace plutonium in solution Download PDFInfo
- Publication number
- CN110780331A CN110780331A CN201911073810.9A CN201911073810A CN110780331A CN 110780331 A CN110780331 A CN 110780331A CN 201911073810 A CN201911073810 A CN 201911073810A CN 110780331 A CN110780331 A CN 110780331A
- Authority
- CN
- China
- Prior art keywords
- plutonium
- measuring device
- measuring
- outer cylinder
- cup
- Prior art date
- Legal status (The legal status is an assumption and is not a legal conclusion. Google has not performed a legal analysis and makes no representation as to the accuracy of the status listed.)
- Pending
Links
- 229910052778 Plutonium Inorganic materials 0.000 title claims abstract description 31
- OYEHPCDNVJXUIW-UHFFFAOYSA-N plutonium atom Chemical compound [Pu] OYEHPCDNVJXUIW-UHFFFAOYSA-N 0.000 title claims abstract description 31
- 238000004458 analytical method Methods 0.000 claims abstract description 30
- 230000001066 destructive effect Effects 0.000 claims abstract description 23
- 230000003287 optical effect Effects 0.000 claims abstract description 8
- 239000000463 material Substances 0.000 claims abstract description 7
- 230000008054 signal transmission Effects 0.000 claims abstract description 4
- 238000007789 sealing Methods 0.000 claims description 8
- 239000013078 crystal Substances 0.000 claims description 3
- 230000001960 triggered effect Effects 0.000 claims description 3
- 238000000034 method Methods 0.000 abstract description 21
- 238000005259 measurement Methods 0.000 abstract description 17
- 238000001514 detection method Methods 0.000 abstract description 14
- 238000004876 x-ray fluorescence Methods 0.000 abstract description 6
- 230000005540 biological transmission Effects 0.000 abstract description 5
- 238000004140 cleaning Methods 0.000 abstract description 3
- 238000013461 design Methods 0.000 abstract description 3
- 230000009286 beneficial effect Effects 0.000 abstract description 2
- 239000007788 liquid Substances 0.000 description 4
- 230000000694 effects Effects 0.000 description 3
- 238000012986 modification Methods 0.000 description 3
- 230000004048 modification Effects 0.000 description 3
- 238000010586 diagram Methods 0.000 description 2
- 238000012544 monitoring process Methods 0.000 description 2
- 239000010815 organic waste Substances 0.000 description 2
- 238000002360 preparation method Methods 0.000 description 2
- 238000012545 processing Methods 0.000 description 2
- 230000002285 radioactive effect Effects 0.000 description 2
- 230000035945 sensitivity Effects 0.000 description 2
- 238000004891 communication Methods 0.000 description 1
- 230000007547 defect Effects 0.000 description 1
- 238000001035 drying Methods 0.000 description 1
- 239000012530 fluid Substances 0.000 description 1
- 238000012423 maintenance Methods 0.000 description 1
- 238000012805 post-processing Methods 0.000 description 1
- 238000004886 process control Methods 0.000 description 1
- 238000011112 process operation Methods 0.000 description 1
- 238000012958 reprocessing Methods 0.000 description 1
- 238000004611 spectroscopical analysis Methods 0.000 description 1
- 238000010183 spectrum analysis Methods 0.000 description 1
- 239000002915 spent fuel radioactive waste Substances 0.000 description 1
- 238000012360 testing method Methods 0.000 description 1
- 238000012546 transfer Methods 0.000 description 1
- 238000005406 washing Methods 0.000 description 1
Images
Classifications
-
- G—PHYSICS
- G01—MEASURING; TESTING
- G01T—MEASUREMENT OF NUCLEAR OR X-RADIATION
- G01T1/00—Measuring X-radiation, gamma radiation, corpuscular radiation, or cosmic radiation
- G01T1/16—Measuring radiation intensity
- G01T1/167—Measuring radioactive content of objects, e.g. contamination
-
- G—PHYSICS
- G01—MEASURING; TESTING
- G01T—MEASUREMENT OF NUCLEAR OR X-RADIATION
- G01T1/00—Measuring X-radiation, gamma radiation, corpuscular radiation, or cosmic radiation
- G01T1/16—Measuring radiation intensity
- G01T1/20—Measuring radiation intensity with scintillation detectors
- G01T1/202—Measuring radiation intensity with scintillation detectors the detector being a crystal
Landscapes
- Physics & Mathematics (AREA)
- Health & Medical Sciences (AREA)
- Life Sciences & Earth Sciences (AREA)
- General Physics & Mathematics (AREA)
- High Energy & Nuclear Physics (AREA)
- Molecular Biology (AREA)
- Spectroscopy & Molecular Physics (AREA)
- Chemical & Material Sciences (AREA)
- Crystallography & Structural Chemistry (AREA)
- Analysing Materials By The Use Of Radiation (AREA)
Abstract
本发明涉及一种非破坏性快速分析溶液中微痕钚的测量装置,包括屏蔽盖、测量杯、光电倍增管和外筒壳;所述屏蔽盖与所述外筒壳配合以形成测量室;所述光电倍增管和所述测量杯均设置在所述测量室内;所述测量杯底部为新型闪烁体材料,与所述光电倍增管配合以保障光信号传递。本发明的有益效果如下:1、测量杯为嵌套设计,结构紧凑,配合新型闪烁体材料,保障了光信号的有效传递,大大降低了仪器的检测下限,对钚的检测下限可达到10‑6g/L,检测限可匹敌现有α计数法,且远低于X射线荧光法的检测限10‑3g/L;2、测量杯经过简单清洗即可实现重复使用。
The invention relates to a measuring device for non-destructive rapid analysis of trace plutonium in solution, comprising a shielding cover, a measuring cup, a photomultiplier tube and an outer cylinder shell; the shielding cover is matched with the outer cylinder shell to form a measurement chamber; Both the photomultiplier tube and the measurement cup are arranged in the measurement chamber; the bottom of the measurement cup is a novel scintillator material, which cooperates with the photomultiplier tube to ensure optical signal transmission. The beneficial effects of the present invention are as follows: 1. The measuring cup is a nested design, with a compact structure, and with the new scintillator material, the effective transmission of the optical signal is guaranteed, and the detection lower limit of the instrument is greatly reduced, and the detection lower limit of the plutonium can reach 10-10 6 g/L, the detection limit is comparable to the existing α counting method, and far lower than the detection limit of X-ray fluorescence method 10 ‑3 g/L; 2. The measuring cup can be reused after simple cleaning.
Description
技术领域technical field
本发明属于核工业领域,具体涉及一种非破坏性快速分析溶液中微痕钚的测量装置。The invention belongs to the field of nuclear industry, and in particular relates to a non-destructive and rapid analysis device for measuring trace plutonium in a solution.
背景技术Background technique
乏燃料后处理工艺过程中,大量萃余液、洗涤液中含有微/痕量钚,通过准确测定钚在工艺流程中的含量,可计算钚的收率,掌握工艺的运行情况,实现对整个后处理工艺运行的监测和控制。因此,准确、方便、快速测定钚浓度一直是后处理工艺控制分析的关键。During the spent fuel reprocessing process, a large amount of raffinate and washing liquid contain micro/trace amounts of plutonium. By accurately measuring the content of plutonium in the process flow, the yield of plutonium can be calculated, the operation of the process can be mastered, and the entire process can be controlled. Monitoring and control of aftertreatment process operation. Therefore, accurate, convenient and rapid determination of plutonium concentration has always been the key to post-processing process control analysis.
目前,经济实用的微/痕量钚分析仍采用传统的α计数法和X射线荧光法。α计数法灵敏度高、可靠稳定,样品通常需经过分离处理才可测量。采用α单道计数和α能谱法,均需定量体积滴源、灼烧、烤干等繁琐的样品处理过程;而液闪仪分析样品需加入闪烁液而产生放射性有机废液。X射线荧光法属于无损分析,但仪器对X射线防护,人员安全要求等也更为苛刻,方法的检测下限比α计数法高。At present, the economical and practical micro/trace plutonium analysis still uses the traditional alpha counting method and X-ray fluorescence method. The alpha counting method has high sensitivity, reliability and stability, and the sample usually needs to be separated before it can be measured. Using alpha single-channel counting and alpha energy spectroscopy, both require tedious sample processing processes such as quantitative volume drop source, burning, drying, etc.; while liquid scintillation instrument analysis samples need to add scintillation fluid to generate radioactive organic waste. X-ray fluorescence method belongs to non-destructive analysis, but the instrument has more stringent requirements for X-ray protection and personnel safety, and the detection limit of the method is higher than that of alpha counting method.
有鉴于此,特提出本发明。In view of this, the present invention is proposed.
发明内容SUMMARY OF THE INVENTION
针对现有技术中存在的缺陷,本发明的目的是提供一种非破坏性快速分析溶液中微痕钚的测量装置,该装置能够保证光信号有效传递,降低检测下限。Aiming at the defects existing in the prior art, the purpose of the present invention is to provide a non-destructive measuring device for rapidly analyzing trace plutonium in solution, which can ensure the effective transmission of optical signals and lower the detection limit.
本发明的技术方案如下:The technical scheme of the present invention is as follows:
一种非破坏性快速分析溶液中微痕钚的测量装置,包括屏蔽盖、测量杯、光电倍增管和外筒壳;所述屏蔽盖与所述外筒壳配合以形成测量室;A measuring device for non-destructive rapid analysis of micro-trace plutonium in solution, comprising a shielding cover, a measuring cup, a photomultiplier tube and an outer cylinder shell; the shielding cover cooperates with the outer cylinder shell to form a measurement chamber;
所述光电倍增管和所述测量杯均设置在所述测量室内;所述测量杯底部为YAP:Ce晶体,与所述光电倍增管配合以保障光信号传递。Both the photomultiplier tube and the measurement cup are arranged in the measurement chamber; the bottom of the measurement cup is a YAP:Ce crystal, which cooperates with the photomultiplier tube to ensure optical signal transmission.
进一步地,上述的非破坏性快速分析溶液中微痕钚的测量装置,所述测量杯为嵌套器件,底部为新型闪烁体材料,杯身为机加工部件,通过垫片嵌套密封组合而成。Further, in the above-mentioned measurement device for non-destructive rapid analysis of micro-trace plutonium in solution, the measurement cup is a nested device, the bottom is a novel scintillator material, and the cup body is a machined part, which is formed by gasket nesting and sealing combination. to make.
进一步地,上述的非破坏性快速分析溶液中微痕钚的测量装置,所述外筒壳内壁设置有光子反射层。Further, in the above-mentioned measuring device for non-destructive rapid analysis of micro-trace plutonium in solution, the inner wall of the outer cylinder shell is provided with a photon reflection layer.
进一步地,上述的非破坏性快速分析溶液中微痕钚的测量装置,所述外筒壳上设置有托台,所述托台与所述屏蔽盖配合,二者之间设置有密封垫片。Further, in the above-mentioned measuring device for non-destructive rapid analysis of micro-trace plutonium in a solution, a pallet is provided on the outer cylinder shell, the pallet is matched with the shielding cover, and a sealing gasket is arranged between the two. .
进一步地,上述的非破坏性快速分析溶液中微痕钚的测量装置,所述托台上设置有能够控制所述控制元件的行程开关;所述行程开关能够被所述屏蔽盖触发。Further, in the above-mentioned measuring device for non-destructive rapid analysis of trace plutonium in a solution, a travel switch capable of controlling the control element is provided on the pallet; the travel switch can be triggered by the shielding cover.
进一步地,上述的非破坏性快速分析溶液中微痕钚的测量装置,还包括导光片,所述导光片紧贴于测量杯底部和光电倍增管的光子接收窗口之间。Further, the above-mentioned measuring device for non-destructive rapid analysis of micro-trace plutonium in solution further includes a light guide sheet, the light guide sheet is closely attached between the bottom of the measuring cup and the photon receiving window of the photomultiplier tube.
进一步地,上述的非破坏性快速分析溶液中微痕钚的测量装置,还包括基座部件,所述基座部件包括相互连接的上基座和下基座;所述上基座与所述外筒壳连接,下基座内设置有控制元件;所述控制元件与所述光电倍增管控制连接。Further, the above-mentioned measuring device for non-destructive rapid analysis of micro-trace plutonium in a solution also includes a base member, and the base member includes an upper base and a lower base that are connected to each other; the upper base and the The outer cylinder shell is connected, and a control element is arranged in the lower base; the control element is controlled and connected with the photomultiplier tube.
进一步地,上述的非破坏性快速分析溶液中微痕钚的测量装置,所述上基座和所述外筒壳通过端盖和连接盖连接。Further, in the above-mentioned measuring device for non-destructive rapid analysis of trace plutonium in a solution, the upper base and the outer cylinder shell are connected by an end cover and a connecting cover.
本发明的有益效果如下:The beneficial effects of the present invention are as follows:
1、测量杯为嵌套设计,结构紧凑,配合新型闪烁体材料,保障了光信号的有效传递,大大降低了仪器的检测下限,对钚的检测下限可达到10-6g/L,检测限可匹敌现有α计数法,且远低于X射线荧光法的检测限10-3g/L;1. The measuring cup is a nested design with a compact structure. With the new scintillator material, the effective transmission of the optical signal is guaranteed, and the lower detection limit of the instrument is greatly reduced. The lower detection limit of plutonium can reach 10 -6 g/L, and the detection limit Comparable to the existing α counting method, and far lower than the detection limit of X-ray fluorescence method 10 -3 g/L;
2、测量杯经过简单清洗即可实现重复使用;2. The measuring cup can be reused after simple cleaning;
3、样品直接置于测量杯进行测量,属于无损分析,相比现有α计数法省去了繁琐的样品处理制备过程,有效缩短样品分析时间,从而达到快速分析的目的。3. The sample is directly placed in the measuring cup for measurement, which belongs to non-destructive analysis. Compared with the existing α counting method, the tedious sample processing and preparation process is omitted, and the sample analysis time is effectively shortened, so as to achieve the purpose of rapid analysis.
附图说明Description of drawings
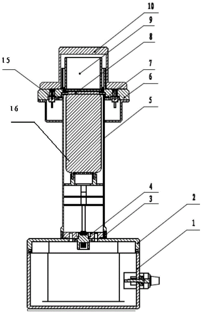
图1为本发明的一种非破坏性快速分析溶液中微痕钚的测量装置的结构示意图。FIG. 1 is a schematic structural diagram of a measuring device for non-destructive rapid analysis of trace plutonium in solution according to the present invention.
图2为本发明一个实施例中的外观结构示意图。FIG. 2 is a schematic diagram of an appearance structure in an embodiment of the present invention.
上述附图中,1、下基座;2、上基座;3、端盖;4、连接盖;5、外筒壳;6、托台;7、密封垫片;8、导光片;9、测量杯;10、屏蔽盖;11、电位器调节旋钮;12、第一接线柱;13、第二接线柱;14、电源接口;15、行程开关;16、光电倍增管。In the above drawings, 1, the lower base; 2, the upper base; 3, the end cover; 4, the connection cover; 5, the outer cylinder shell; 6, the pallet; 7, the sealing gasket; 8, the light guide sheet; 9. Measuring cup; 10. Shielding cover; 11. Potentiometer adjusting knob; 12. First terminal; 13. Second terminal; 14. Power interface; 15. Travel switch; 16. Photomultiplier tube.
具体实施方式Detailed ways
下面结合附图和实施例对本发明进行详细的描述。The present invention will be described in detail below with reference to the accompanying drawings and embodiments.
如图1所示,本发明提供了一种非破坏性快速分析溶液中微痕钚的测量装置,包括屏蔽盖10、测量杯9、光电倍增管16和外筒壳5;所述屏蔽盖10与所述外筒壳5配合以形成测量室;所述光电倍增管16和所述测量杯9均设置在所述测量室内;所述测量杯9底部为新型闪烁体材料,与所述光电倍增管16配合以保障光信号传递。所述外筒壳5除了内置光电倍增管16的作用,其内壁还设置有光子反射层以兼具避光暗室的功能。As shown in FIG. 1 , the present invention provides a non-destructive measurement device for rapid analysis of trace plutonium in solution, comprising a
本实施例中,所述测量杯9为嵌套器件,底部为YAP:Ce晶体,杯身为机加工部件,通过垫片嵌套密封组合而成。In this embodiment, the
为了提升光子传递效果,本实施例中还包括导光片8,所述导光片8紧贴于测量杯9底部和光电倍增管16的光子接收窗口之间。如此以将测量杯9中样品与闪烁体产生的光子传递到光电倍增管16。In order to improve the photon transmission effect, this embodiment also includes a light guide sheet 8 , and the light guide sheet 8 is closely attached between the bottom of the
所述外筒壳5上设置有托台6,所述托台6与所述屏蔽盖10配合,共同起到屏蔽的作用,为了实现密封效果,二者之间设置有密封垫片7。所述托台6上设置有能够控制所述控制元件的行程开关15;所述行程开关15为两个突起圆柱体压触开关,嵌置于托台6内,能够被所述屏蔽盖10触发以配合屏蔽盖10进行连锁控制。The
如图2所示,本实施例中还包括基座部件,所述基座部件包括相互连接的上基座2和下基座1;所述上基座2与所述外筒壳5连接,下基座1内设置有控制元件;所述控制元件与所述光电倍增管16控制连接。所述上基座2和所述外筒壳5通过端盖3和连接盖4连接。端盖3和连接盖4的连接方式起到紧固作用,并且容易拆卸。与所述控制元件连接的接线柱、绝缘柱、电源接口14和电位器调节旋钮11设置于所述下基座1的前面板,通信接口设置于后面板。第一接线柱12、第二接线柱13分别为正、负极电压测试外部接线;电源接口14,为装置整体提供外部电源的插口;电位器调节旋钮11,调节设置光电倍增管16高压。As shown in FIG. 2 , this embodiment also includes a base member, which includes an
本发明的非破坏性快速分析溶液中微痕钚的测量装置,测量杯为紧凑镶嵌结构设计,结合新型闪烁体材料,保障了光信号的有效传递,大大降低了仪器的检测下限,对钚的检测下限可达到10-6g/L,检测限可匹敌现有α计数法,且远低于X射线荧光法的检测限10-3g/L;同时由于这种新型闪烁体和特殊的结构设计,装置的测量杯经过简单清洗即可实现了重复使用;相比现有α计数法省去了繁琐的样品处理制备过程,有效缩短样品分析时间,从而达到快速分析的目的;样品需求量少不超过0.7mL;相比液闪谱仪,可避免采因测量而增加产生放射性有机废液;相比α单道计数法、α能谱分析和X射线荧光分析仪,装置有明显的成本优势,且后期维修成本低,适合于实验室或工厂的大规模监测分析。The measuring device for non-destructive rapid analysis of micro-trace plutonium in solution of the present invention, the measuring cup is designed with a compact mosaic structure, combined with novel scintillator materials, ensures the effective transmission of optical signals, greatly reduces the detection lower limit of the instrument, and has a high sensitivity to plutonium. The lower detection limit can reach 10-6g/L, the detection limit can match the existing α counting method, and is far lower than the detection limit of X-ray fluorescence method 10-3g/L; at the same time, due to this new scintillator and special structural design, The measuring cup of the device can be reused after simple cleaning; compared with the existing alpha counting method, the tedious sample preparation process is omitted, and the sample analysis time is effectively shortened, so as to achieve the purpose of rapid analysis; the sample demand is less than 0.7mL; compared with liquid scintillation spectrometer, it can avoid the increase of radioactive organic waste liquid due to measurement; compared with α single-channel counting method, α energy spectrum analysis and X-ray fluorescence analyzer, the device has obvious cost advantages, and The later maintenance cost is low, and it is suitable for large-scale monitoring and analysis in laboratories or factories.
显然,本领域的技术人员可以对本发明进行各种改动和变型而不脱离本发明的精神和范围。这样,倘若对本发明的这些修改和变型属于本发明权利要求及其同等技术的范围之内,则本发明也意图包含这些改动和变型在内。It will be apparent to those skilled in the art that various modifications and variations can be made in the present invention without departing from the spirit and scope of the invention. Thus, provided that these modifications and variations of the present invention fall within the scope of the claims of the present invention and their technical equivalents, the present invention is also intended to include such modifications and variations.
Claims (8)
Priority Applications (1)
| Application Number | Priority Date | Filing Date | Title |
|---|---|---|---|
| CN201911073810.9A CN110780331A (en) | 2019-11-06 | 2019-11-06 | Measuring device for nondestructively and rapidly analyzing micro-trace plutonium in solution |
Applications Claiming Priority (1)
| Application Number | Priority Date | Filing Date | Title |
|---|---|---|---|
| CN201911073810.9A CN110780331A (en) | 2019-11-06 | 2019-11-06 | Measuring device for nondestructively and rapidly analyzing micro-trace plutonium in solution |
Publications (1)
| Publication Number | Publication Date |
|---|---|
| CN110780331A true CN110780331A (en) | 2020-02-11 |
Family
ID=69389293
Family Applications (1)
| Application Number | Title | Priority Date | Filing Date |
|---|---|---|---|
| CN201911073810.9A Pending CN110780331A (en) | 2019-11-06 | 2019-11-06 | Measuring device for nondestructively and rapidly analyzing micro-trace plutonium in solution |
Country Status (1)
| Country | Link |
|---|---|
| CN (1) | CN110780331A (en) |
Citations (4)
| Publication number | Priority date | Publication date | Assignee | Title |
|---|---|---|---|---|
| WO1997016746A1 (en) * | 1995-10-31 | 1997-05-09 | Biotraces, Inc. | Ultralow background multiple photon detector |
| CN205809315U (en) * | 2016-06-12 | 2016-12-14 | 中国原子能科学研究院 | A kind of radionuclide rapid detection system |
| WO2019050862A2 (en) * | 2017-09-06 | 2019-03-14 | The United States Of America, As Represented By The Secretary, Department Of Health And Human Services | Micro-dose calibrator |
| CN109696700A (en) * | 2018-12-27 | 2019-04-30 | 中国工程物理研究院材料研究所 | Extremely low level higher chain product radioactive waste packet detection system |
-
2019
- 2019-11-06 CN CN201911073810.9A patent/CN110780331A/en active Pending
Patent Citations (4)
| Publication number | Priority date | Publication date | Assignee | Title |
|---|---|---|---|---|
| WO1997016746A1 (en) * | 1995-10-31 | 1997-05-09 | Biotraces, Inc. | Ultralow background multiple photon detector |
| CN205809315U (en) * | 2016-06-12 | 2016-12-14 | 中国原子能科学研究院 | A kind of radionuclide rapid detection system |
| WO2019050862A2 (en) * | 2017-09-06 | 2019-03-14 | The United States Of America, As Represented By The Secretary, Department Of Health And Human Services | Micro-dose calibrator |
| CN109696700A (en) * | 2018-12-27 | 2019-04-30 | 中国工程物理研究院材料研究所 | Extremely low level higher chain product radioactive waste packet detection system |
Non-Patent Citations (3)
| Title |
|---|
| 刘联伟: "溶液中钚α活度的直接测量研究", 《原子能科学技术》 * |
| 陈小瑜: "《电器PLC控制》", 31 December 2018, 阳光出版社 * |
| 魏志勇主编: "《医用核辐射物理学》", 28 February 2005 * |
Similar Documents
| Publication | Publication Date | Title |
|---|---|---|
| CN101504380B (en) | X-ray fluorescence analysis device | |
| CN105655225A (en) | Mass spectrum rapid enrichment-thermal analysis membrane sample introduction apparatus and application | |
| CN202548335U (en) | Three-tube liquid scintillation counting system | |
| CN103196935B (en) | Uranium plutonium on-line measurement device in platform experiment 1AP | |
| CN202126403U (en) | Antibiotics analysis device based on resolution of excitation time characteristics of fluorescence spectrum | |
| US2551542A (en) | Fluorophotometer | |
| CN202916200U (en) | Medical fluorescent quantitation analysis meter | |
| CN106093002A (en) | Sulfate radical and the device and method of phosphate radical in a kind of high activity liquid waste of mensuration simultaneously | |
| CN101661109B (en) | Novel signal-ion micro-beam detector based on plastic scintillating fiber | |
| CN101581693B (en) | Optical fiber spectroelectrochemistry multifunctional sensing composite probe device | |
| CN205719945U (en) | A kind of can the detecting system of accurate acquisition electrogenerated chemiluminescence spectral information | |
| CN112067590B (en) | A high-sensitivity on-site uranium content determination instrument based on multiple light sources | |
| CN110471098B (en) | Radon radiation dose detection method based on carbon quantum dots fluorescent biosensor | |
| CN105928854A (en) | Apparatus for controllable micropressure tritium adsorption and on-line testing of concentration and depth distribution of tritium in material | |
| CN107389644A (en) | A kind of rapid fluorescence proportioning device | |
| CN107966727A (en) | A kind of neutron composite detecting device | |
| CN1776405A (en) | An online atmospheric mercury analyzer | |
| CN110780331A (en) | Measuring device for nondestructively and rapidly analyzing micro-trace plutonium in solution | |
| CN103115911B (en) | Closed type fluorescence analyzer | |
| CN103424764A (en) | Measuring device for dose distribution of ray radiation field | |
| CN108387566A (en) | A portable uranium quantitative analyzer and analysis method | |
| CN206710309U (en) | A kind of micro-uranium analyzer | |
| US3202819A (en) | Beta and gamma measuring apparatus for fluids | |
| Doughman et al. | X-Ray Determination of Sulfur in Oils. Comparison of X-Ray Emission and Absorption Methods | |
| CN208026631U (en) | A Portable Quantitative Analyzer for Uranium |
Legal Events
| Date | Code | Title | Description |
|---|---|---|---|
| PB01 | Publication | ||
| PB01 | Publication | ||
| SE01 | Entry into force of request for substantive examination | ||
| SE01 | Entry into force of request for substantive examination | ||
| RJ01 | Rejection of invention patent application after publication | ||
| RJ01 | Rejection of invention patent application after publication |
Application publication date: 20200211 |
