CN110415609B - A flexible display with internal and external two-way insurance - Google Patents
A flexible display with internal and external two-way insurance Download PDFInfo
- Publication number
- CN110415609B CN110415609B CN201910431872.6A CN201910431872A CN110415609B CN 110415609 B CN110415609 B CN 110415609B CN 201910431872 A CN201910431872 A CN 201910431872A CN 110415609 B CN110415609 B CN 110415609B
- Authority
- CN
- China
- Prior art keywords
- frame
- flexible display
- flexible
- shaft
- arc
- Prior art date
- Legal status (The legal status is an assumption and is not a legal conclusion. Google has not performed a legal analysis and makes no representation as to the accuracy of the status listed.)
- Active
Links
Images
Classifications
-
- G—PHYSICS
- G09—EDUCATION; CRYPTOGRAPHY; DISPLAY; ADVERTISING; SEALS
- G09F—DISPLAYING; ADVERTISING; SIGNS; LABELS OR NAME-PLATES; SEALS
- G09F9/00—Indicating arrangements for variable information in which the information is built-up on a support by selection or combination of individual elements
- G09F9/30—Indicating arrangements for variable information in which the information is built-up on a support by selection or combination of individual elements in which the desired character or characters are formed by combining individual elements
- G09F9/301—Indicating arrangements for variable information in which the information is built-up on a support by selection or combination of individual elements in which the desired character or characters are formed by combining individual elements flexible foldable or roll-able electronic displays, e.g. thin LCD, OLED
-
- G—PHYSICS
- G09—EDUCATION; CRYPTOGRAPHY; DISPLAY; ADVERTISING; SEALS
- G09F—DISPLAYING; ADVERTISING; SIGNS; LABELS OR NAME-PLATES; SEALS
- G09F9/00—Indicating arrangements for variable information in which the information is built-up on a support by selection or combination of individual elements
- G09F9/30—Indicating arrangements for variable information in which the information is built-up on a support by selection or combination of individual elements in which the desired character or characters are formed by combining individual elements
- G09F9/33—Indicating arrangements for variable information in which the information is built-up on a support by selection or combination of individual elements in which the desired character or characters are formed by combining individual elements being semiconductor devices, e.g. diodes
Landscapes
- Physics & Mathematics (AREA)
- General Physics & Mathematics (AREA)
- Engineering & Computer Science (AREA)
- Theoretical Computer Science (AREA)
- Illuminated Signs And Luminous Advertising (AREA)
Abstract
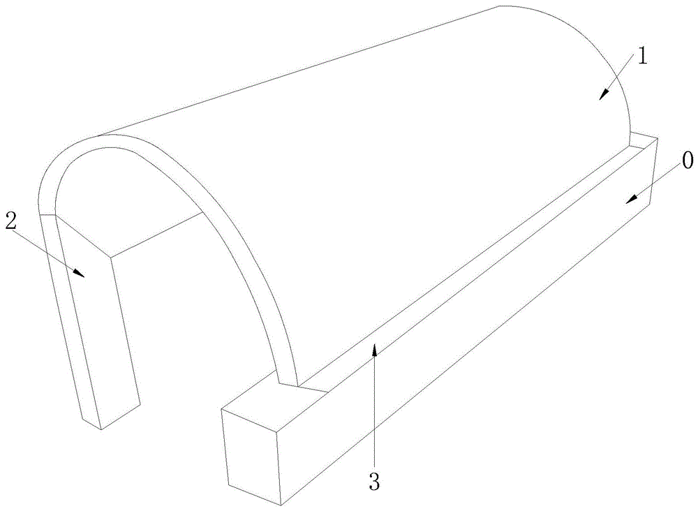
本发明公开了一种内外双向保险的柔性显示器,其结构包括安装框、柔性显示片、固定支架、外环覆面结构,外环覆面结构焊接在安装框内部的左端,能在柔性弧面发生弯曲的时候挤压到感曲轴,让其通过推片轮、连接轴轮推动卷轮将防刮面、胶面条推出,使其能够环绕包裹在柔性弧面的外表面,且内部有内鼓片形成空谷区,防止受到较大震动一瞬间就破损掉,集防刮防爆为一体,且弯曲时能自动启动,在弯曲时会对施压腔的内部造成压力,让施压泵将所有的顶柱往上顶,随着弯曲的弧度直到所有的顶柱顶到感触面,会接通电路输出信号到抑制条,让施压泵反向作用力,让使用者无法再进行作用力,提示人们已经到达弯曲的极限,保护内部的元件不受到过度压迫。
The invention discloses a flexible display with internal and external two-way insurance. Its structure includes a mounting frame, a flexible display sheet, a fixing bracket, and an outer ring cladding structure. When pressing the crankshaft, let it push the scratch-resistant surface and the rubber noodles out through the pusher wheel and the connecting shaft wheel, so that it can be wrapped around the outer surface of the flexible arc surface, and there is an inner drum sheet inside. The hollow area can prevent it from being damaged in an instant when subjected to large vibrations. It integrates anti-scratch and explosion-proof, and can be automatically activated when bending. When bending, it will cause pressure inside the pressure chamber, so that the pressure pump will push all the top columns. Going up, with the curved arc until all the top posts reach the touch surface, the circuit output signal will be connected to the suppression bar, so that the pressure pump will reverse the force, so that the user can no longer exert force, indicating that people have already Reach the limit of bending and protect the internal components from excessive compression.
Description
Claims (2)
Priority Applications (1)
| Application Number | Priority Date | Filing Date | Title |
|---|---|---|---|
| CN201910431872.6A CN110415609B (en) | 2019-09-16 | 2019-09-16 | A flexible display with internal and external two-way insurance |
Applications Claiming Priority (1)
| Application Number | Priority Date | Filing Date | Title |
|---|---|---|---|
| CN201910431872.6A CN110415609B (en) | 2019-09-16 | 2019-09-16 | A flexible display with internal and external two-way insurance |
Publications (2)
| Publication Number | Publication Date |
|---|---|
| CN110415609A CN110415609A (en) | 2019-11-05 |
| CN110415609B true CN110415609B (en) | 2021-05-11 |
Family
ID=68357811
Family Applications (1)
| Application Number | Title | Priority Date | Filing Date |
|---|---|---|---|
| CN201910431872.6A Active CN110415609B (en) | 2019-09-16 | 2019-09-16 | A flexible display with internal and external two-way insurance |
Country Status (1)
| Country | Link |
|---|---|
| CN (1) | CN110415609B (en) |
Citations (21)
| Publication number | Priority date | Publication date | Assignee | Title |
|---|---|---|---|---|
| TW200807012A (en) * | 2006-07-27 | 2008-02-01 | Eternal Chemical Co Ltd | Scratch-resistant optical film |
| CN201116420Y (en) * | 2007-10-10 | 2008-09-17 | 刘亦见 | Electric flexible gate anti-theft alarm lock device |
| CN101952873A (en) * | 2007-11-21 | 2011-01-19 | 聚合物视象有限公司 | An electronic device with a flexible display |
| CN104064525A (en) * | 2013-03-19 | 2014-09-24 | 精工爱普生株式会社 | Module, method of manufacturing module, electronic apparatus, and moving object |
| CN104253066A (en) * | 2013-06-28 | 2014-12-31 | 上海和辉光电有限公司 | Anti-electrostatic heater plate structure |
| CN104318861A (en) * | 2014-09-24 | 2015-01-28 | 京东方科技集团股份有限公司 | Flexible screen, bending identification method of flexible screen, and flexible display device |
| WO2015132410A1 (en) * | 2014-03-07 | 2015-09-11 | Fofitec Ag | Roll stock for a submicrometer layer or a roll stock with a submicrometer layer on a flexible backing, and use thereof |
| DE202015008534U1 (en) * | 2015-12-15 | 2016-02-22 | Christian Stroetmann | Deformable electronic display with control electronics, imaging components and glass layer |
| CN105679774A (en) * | 2016-03-23 | 2016-06-15 | 大连东方科脉电子股份有限公司 | Flexible display substrate film, manufacturing method thereof, and display device |
| CN106094358A (en) * | 2016-08-09 | 2016-11-09 | 深圳市华星光电技术有限公司 | Liquid crystal cell and the processing procedure of black matrix thereof |
| CN206161996U (en) * | 2016-11-15 | 2017-05-10 | 厦门天马微电子有限公司 | Display panel and display device |
| CN107342018A (en) * | 2016-04-29 | 2017-11-10 | 乐金显示有限公司 | Rollable display |
| CN107622734A (en) * | 2016-07-13 | 2018-01-23 | 三星显示有限公司 | display device |
| CN108091262A (en) * | 2017-12-12 | 2018-05-29 | 深圳市华星光电技术有限公司 | Curved surface adjusting mechanism and backlight module |
| CN108230937A (en) * | 2018-03-26 | 2018-06-29 | 京东方科技集团股份有限公司 | Flexible display apparatus |
| CN108376520A (en) * | 2017-01-31 | 2018-08-07 | Lg电子株式会社 | Display device |
| US10082826B1 (en) * | 2011-11-01 | 2018-09-25 | I-Blades, Inc. | Method and system for deploying a flexible device |
| CN208014279U (en) * | 2018-04-12 | 2018-10-26 | 北京京东方光电科技有限公司 | Flexible display panels and flexible display apparatus |
| CN208508990U (en) * | 2018-05-31 | 2019-02-15 | 努比亚技术有限公司 | A kind of bending check chain and terminal |
| CN110010006A (en) * | 2019-04-24 | 2019-07-12 | 杭州知天电子商务有限公司 | A kind of wrist flexible display screen |
| CN110128599A (en) * | 2019-04-10 | 2019-08-16 | 宁波激智科技股份有限公司 | A kind of composition and a kind of brightness enhancement film and its application |
Family Cites Families (4)
| Publication number | Priority date | Publication date | Assignee | Title |
|---|---|---|---|---|
| CN105518768B (en) * | 2014-12-08 | 2018-06-12 | 深圳市柔宇科技有限公司 | Flexible screen protection structure and preparation method thereof and its flexible display screen of application |
| CN104407675B (en) * | 2014-12-12 | 2017-07-28 | 京东方科技集团股份有限公司 | Display screen reel system and its control method |
| CN105933480B (en) * | 2016-06-24 | 2019-03-01 | 重庆墨希科技有限公司 | Flexible mobile phone and flexible shell |
| KR102366366B1 (en) * | 2017-09-28 | 2022-02-23 | 엘지디스플레이 주식회사 | Rollable display device |
-
2019
- 2019-09-16 CN CN201910431872.6A patent/CN110415609B/en active Active
Patent Citations (21)
| Publication number | Priority date | Publication date | Assignee | Title |
|---|---|---|---|---|
| TW200807012A (en) * | 2006-07-27 | 2008-02-01 | Eternal Chemical Co Ltd | Scratch-resistant optical film |
| CN201116420Y (en) * | 2007-10-10 | 2008-09-17 | 刘亦见 | Electric flexible gate anti-theft alarm lock device |
| CN101952873A (en) * | 2007-11-21 | 2011-01-19 | 聚合物视象有限公司 | An electronic device with a flexible display |
| US10082826B1 (en) * | 2011-11-01 | 2018-09-25 | I-Blades, Inc. | Method and system for deploying a flexible device |
| CN104064525A (en) * | 2013-03-19 | 2014-09-24 | 精工爱普生株式会社 | Module, method of manufacturing module, electronic apparatus, and moving object |
| CN104253066A (en) * | 2013-06-28 | 2014-12-31 | 上海和辉光电有限公司 | Anti-electrostatic heater plate structure |
| WO2015132410A1 (en) * | 2014-03-07 | 2015-09-11 | Fofitec Ag | Roll stock for a submicrometer layer or a roll stock with a submicrometer layer on a flexible backing, and use thereof |
| CN104318861A (en) * | 2014-09-24 | 2015-01-28 | 京东方科技集团股份有限公司 | Flexible screen, bending identification method of flexible screen, and flexible display device |
| DE202015008534U1 (en) * | 2015-12-15 | 2016-02-22 | Christian Stroetmann | Deformable electronic display with control electronics, imaging components and glass layer |
| CN105679774A (en) * | 2016-03-23 | 2016-06-15 | 大连东方科脉电子股份有限公司 | Flexible display substrate film, manufacturing method thereof, and display device |
| CN107342018A (en) * | 2016-04-29 | 2017-11-10 | 乐金显示有限公司 | Rollable display |
| CN107622734A (en) * | 2016-07-13 | 2018-01-23 | 三星显示有限公司 | display device |
| CN106094358A (en) * | 2016-08-09 | 2016-11-09 | 深圳市华星光电技术有限公司 | Liquid crystal cell and the processing procedure of black matrix thereof |
| CN206161996U (en) * | 2016-11-15 | 2017-05-10 | 厦门天马微电子有限公司 | Display panel and display device |
| CN108376520A (en) * | 2017-01-31 | 2018-08-07 | Lg电子株式会社 | Display device |
| CN108091262A (en) * | 2017-12-12 | 2018-05-29 | 深圳市华星光电技术有限公司 | Curved surface adjusting mechanism and backlight module |
| CN108230937A (en) * | 2018-03-26 | 2018-06-29 | 京东方科技集团股份有限公司 | Flexible display apparatus |
| CN208014279U (en) * | 2018-04-12 | 2018-10-26 | 北京京东方光电科技有限公司 | Flexible display panels and flexible display apparatus |
| CN208508990U (en) * | 2018-05-31 | 2019-02-15 | 努比亚技术有限公司 | A kind of bending check chain and terminal |
| CN110128599A (en) * | 2019-04-10 | 2019-08-16 | 宁波激智科技股份有限公司 | A kind of composition and a kind of brightness enhancement film and its application |
| CN110010006A (en) * | 2019-04-24 | 2019-07-12 | 杭州知天电子商务有限公司 | A kind of wrist flexible display screen |
Also Published As
| Publication number | Publication date |
|---|---|
| CN110415609A (en) | 2019-11-05 |
Similar Documents
| Publication | Publication Date | Title |
|---|---|---|
| KR101930658B1 (en) | Flexible screen module and electronic device having the module | |
| TWI283377B (en) | Flexible display | |
| JP6114346B2 (en) | Automotive body cover | |
| WO2016101228A1 (en) | Flexible display device | |
| US8136282B2 (en) | Display means | |
| CN110415609B (en) | A flexible display with internal and external two-way insurance | |
| CN101734384B (en) | Automatic take-up tensioner | |
| WO2021233013A1 (en) | Rollable display device | |
| CN113303612B (en) | Drawing display device for rolling type building construction | |
| CN207427258U (en) | A kind of handset bracket | |
| CN113406852B (en) | Projection equipment | |
| CN212484807U (en) | Flexible screen stand and display device | |
| CN103144523B (en) | Portable car sunshade | |
| TWM469211U (en) | Sunshade device for use in skylight window | |
| US20110006502A1 (en) | Roll-up Bicycle Fender | |
| CN114680850A (en) | Transmission mechanism of arm type electronic sphygmomanometer and electronic sphygmomanometer | |
| CN219564936U (en) | Anticollision formula electric automobile rear-view mirror | |
| CN110514352B (en) | Intelligent pressure sensor | |
| CN112351601B (en) | Wireless transmission equipment for high-speed rail | |
| JP4877064B2 (en) | Package | |
| CN212389696U (en) | Hydraulic tong device is wrapped to whole multilayer | |
| KR102869796B1 (en) | Awning mounted on roof rack of vehicle | |
| CN222202405U (en) | Multi-curvature rearview mirror lens | |
| CN216210737U (en) | Foam for protecting computer element from being damaged easily | |
| CN203211074U (en) | Portable sunshade for sedan car |
Legal Events
| Date | Code | Title | Description |
|---|---|---|---|
| PB01 | Publication | ||
| PB01 | Publication | ||
| SE01 | Entry into force of request for substantive examination | ||
| SE01 | Entry into force of request for substantive examination | ||
| CB03 | Change of inventor or designer information |
Inventor after: Guo Hui Inventor after: Pan Zhancheng Inventor before: Pan Zhancheng |
|
| CB03 | Change of inventor or designer information | ||
| TA01 | Transfer of patent application right |
Effective date of registration: 20210423 Address after: 255000 No.3 Factory Building of fulaiwei robot industrial park, 2679 Liantong Road, Zibo Economic Development Zone, Zibo City, Shandong Province Applicant after: Jiashi (Shandong) Electronic Technology Co.,Ltd. Address before: No. 1366 Shuying Road, Beichang Industrial Park, Minhang District, Shanghai 201100 Applicant before: Pan Zhancheng |
|
| TA01 | Transfer of patent application right | ||
| GR01 | Patent grant | ||
| GR01 | Patent grant | ||
| PE01 | Entry into force of the registration of the contract for pledge of patent right |
Denomination of invention: A flexible display with dual internal and external safety protection Granted publication date: 20210511 Pledgee: Zibo Branch of Bank of Communications Co.,Ltd. Pledgor: Jiashi (Shandong) Electronic Technology Co.,Ltd. Registration number: Y2025980058949 |
|
| PE01 | Entry into force of the registration of the contract for pledge of patent right |
