CN107928782B - Electrode device for inactivating tumor cells in esophageal wall and using method thereof - Google Patents
Electrode device for inactivating tumor cells in esophageal wall and using method thereof Download PDFInfo
- Publication number
- CN107928782B CN107928782B CN201711420775.4A CN201711420775A CN107928782B CN 107928782 B CN107928782 B CN 107928782B CN 201711420775 A CN201711420775 A CN 201711420775A CN 107928782 B CN107928782 B CN 107928782B
- Authority
- CN
- China
- Prior art keywords
- tube
- propelling movement
- push
- tumor cells
- electrode
- Prior art date
- Legal status (The legal status is an assumption and is not a legal conclusion. Google has not performed a legal analysis and makes no representation as to the accuracy of the status listed.)
- Expired - Fee Related
Links
Images
Classifications
-
- A—HUMAN NECESSITIES
- A61—MEDICAL OR VETERINARY SCIENCE; HYGIENE
- A61B—DIAGNOSIS; SURGERY; IDENTIFICATION
- A61B18/00—Surgical instruments, devices or methods for transferring non-mechanical forms of energy to or from the body
-
- A—HUMAN NECESSITIES
- A61—MEDICAL OR VETERINARY SCIENCE; HYGIENE
- A61B—DIAGNOSIS; SURGERY; IDENTIFICATION
- A61B18/00—Surgical instruments, devices or methods for transferring non-mechanical forms of energy to or from the body
- A61B2018/00053—Mechanical features of the instrument of device
- A61B2018/00214—Expandable means emitting energy, e.g. by elements carried thereon
- A61B2018/0022—Balloons
-
- A—HUMAN NECESSITIES
- A61—MEDICAL OR VETERINARY SCIENCE; HYGIENE
- A61B—DIAGNOSIS; SURGERY; IDENTIFICATION
- A61B18/00—Surgical instruments, devices or methods for transferring non-mechanical forms of energy to or from the body
- A61B2018/00053—Mechanical features of the instrument of device
- A61B2018/00273—Anchoring means for temporary attachment of a device to tissue
- A61B2018/00279—Anchoring means for temporary attachment of a device to tissue deployable
- A61B2018/00285—Balloons
-
- A—HUMAN NECESSITIES
- A61—MEDICAL OR VETERINARY SCIENCE; HYGIENE
- A61B—DIAGNOSIS; SURGERY; IDENTIFICATION
- A61B18/00—Surgical instruments, devices or methods for transferring non-mechanical forms of energy to or from the body
- A61B2018/00315—Surgical instruments, devices or methods for transferring non-mechanical forms of energy to or from the body for treatment of particular body parts
- A61B2018/00482—Digestive system
- A61B2018/00488—Esophagus
Landscapes
- Health & Medical Sciences (AREA)
- Surgery (AREA)
- Life Sciences & Earth Sciences (AREA)
- Medical Informatics (AREA)
- Otolaryngology (AREA)
- Engineering & Computer Science (AREA)
- Biomedical Technology (AREA)
- Heart & Thoracic Surgery (AREA)
- Nuclear Medicine, Radiotherapy & Molecular Imaging (AREA)
- Molecular Biology (AREA)
- Animal Behavior & Ethology (AREA)
- General Health & Medical Sciences (AREA)
- Public Health (AREA)
- Veterinary Medicine (AREA)
- Electrotherapy Devices (AREA)
- Apparatus For Disinfection Or Sterilisation (AREA)
Abstract
本发明涉及医疗设备领域,尤其涉及一种用于食管壁内肿瘤细胞灭活的电极装置及其使用方法,它包括工作台和推送管,所述的推送管内配合有环形电极,所述的环形电极的导线穿出推送管的上部并与工作台上的配电控制器连接;本发明的目的是提供一种用于食管壁内肿瘤细胞灭活的电极装置及其使用方法,采用环形电极作为工作部件,通过推送管作为送入媒介,应用特点的设备使用方式,可以通过直流高压产生的电场对周围食管壁内的肿瘤细胞进行灭活。
The invention relates to the field of medical equipment, in particular to an electrode device for inactivating tumor cells in the esophagus wall and a method for using the same. The lead wire of the ring electrode passes through the upper part of the push tube and is connected with the power distribution controller on the workbench; the purpose of the present invention is to provide an electrode device for inactivating tumor cells in the esophagus wall and a method of using the same. The electrode is used as a working part, and the push tube is used as the delivery medium, and the characteristic equipment can be used to inactivate the tumor cells in the surrounding esophageal wall by the electric field generated by the DC high voltage.
Description
技术领域technical field
本发明涉及医疗设备领域,尤其涉及一种用于食管壁内肿瘤细胞灭活的电极装置及其使用方法。The invention relates to the field of medical equipment, in particular to an electrode device for inactivating tumor cells in the esophagus wall and a method for using the same.
背景技术Background technique
不可逆电穿孔(irreversible electroporation,IRE)是一种新的软组织消融技术,利用超短的高压直流电(高达3千伏),在消融组织内细胞的细胞膜上产生多个纳米级微孔,不可逆转的破坏细胞内的平衡,诱导细胞凋亡并最终死亡。Irreversible electroporation (IRE) is a new soft tissue ablation technology that uses ultra-short high-voltage direct current (up to 3 kV) to generate multiple nano-scale micropores in the cell membrane of cells in ablated tissue, irreversibly. Disrupting the intracellular homeostasis, induces apoptosis and ultimately death.
不可逆电穿孔的装置主要由高压脉冲电源和示波器组成的配电控制器,以及电极组成。The device of irreversible electroporation is mainly composed of a power distribution controller composed of a high-voltage pulse power supply and an oscilloscope, and electrodes.
电极用来将直流高压作用于组织细胞,目前广泛应用的电极为针式电极,电极针插入组织内,在其周围形成高压电场,即消融区,从而对特定区域内组织细胞进行灭活,在部分动物实验中,有平板电极的使用,然而,无论是针式电极还是平板电极,都只应用于像肝癌、胰腺癌、前列腺癌和肾癌等实质性肿瘤组织的临床治疗或实验,对于食道癌这种空腔脏器的肿瘤,两种电极都无法实施治疗。Electrodes are used to apply DC high voltage to tissue cells. At present, the widely used electrodes are needle electrodes. The electrode needles are inserted into the tissue to form a high-voltage electric field around it, that is, the ablation zone, thereby inactivating tissue cells in a specific area. In some animal experiments, plate electrodes are used. However, both needle electrodes and plate electrodes are only used for clinical treatment or experiments of solid tumor tissues such as liver cancer, pancreatic cancer, prostate cancer and kidney cancer. Cancer, a hollow organ tumor, cannot be treated with either electrode.
发明内容SUMMARY OF THE INVENTION
本发明的目的是提供一种用于食管壁内肿瘤细胞灭活的电极装置及其使用方法,采用环形电极作为工作部件,通过推送管作为送入媒介,应用特点的设备使用方式,可以通过直流高压产生的电场对周围食管壁内的肿瘤细胞进行灭活。The purpose of the present invention is to provide an electrode device for inactivating tumor cells in the esophagus wall and a method of using the same. The ring electrode is used as the working part, and the push tube is used as the delivery medium. The electric field generated by the DC high voltage inactivates tumor cells in the surrounding esophageal wall.
为了实现以上目的,本发明采用的技术方案为:一种用于食管壁内肿瘤细胞灭活的电极装置,它包括工作台和推送管,所述的推送管内配合有环形电极,所述的环形电极的导线穿出推送管的上部并与工作台上的配电控制器连接。In order to achieve the above purpose, the technical scheme adopted in the present invention is as follows: an electrode device for inactivating tumor cells in the esophagus wall, which comprises a worktable and a push tube, wherein a ring electrode is matched with the push tube, and the The wire of the ring electrode goes out of the upper part of the push tube and is connected with the power distribution controller on the workbench.
进一步的,所述的环形电极内设置有绝缘重块,所述的重块的上部连接有穿出推送管上部的拉管。Further, an insulating weight block is arranged in the annular electrode, and the upper part of the weight block is connected with a pull pipe which penetrates the upper part of the push pipe.
进一步的,所述的环形电极(10)内设置有撑开气囊(8),所述的重块(9)设置在撑开气囊(8)内,所述的拉管为与撑开气囊(8)连通的充气管(5),所述的充气管(5)与工作台(1)上设置的气泵(3)连通,所述的导线(6)和充气管(5)通过卡箍(7)绑在一起.Further, the annular electrode (10) is provided with a deflating airbag (8), the weight (9) is arranged in the deflating airbag (8), and the pulling tube is connected to the deflating airbag (8). 8) A connected inflatable tube (5), the inflatable tube (5) communicates with the air pump (3) provided on the workbench (1), and the wire (6) and the inflatable tube (5) pass through the clamp ( 7) Tie together.
进一步的,所述的充气管(5)上部超出推送管(4)的部位固连有推送卡位固接座(14),所述的推送管(4)的上部套接有中部开口的推送卡位座(11),所述的推送卡位座(11)的上部和推送卡位固接座(14)的下部设置有位置匹配的推送卡位套(12),且上下推送卡位套(12)之间插套有推送卡位杆(13)。Further, the part of the upper part of the inflatable tube (5) beyond the push tube (4) is fixedly connected with a push card position fixing seat (14), and the upper part of the push tube (4) is sleeved with a pusher with an opening in the middle. A card seat (11), the upper part of the push card seat (11) and the lower part of the push card seat fixing seat (14) are provided with a push card seat sleeve (12) with matching positions, and the card seat sleeve is pushed up and down. A push-and-lock rod (13) is inserted between (12).
本发明的另一个技术方案为:一种用于食管壁内肿瘤细胞灭活的电极装置的使用方法,其特征在于,包括如下步骤:Another technical solution of the present invention is: a method for using an electrode device for inactivating tumor cells in the esophagus wall, characterized in that it includes the following steps:
①、先将装置准备好,起始时上下推送卡位套之间插套有推送卡位杆;①. Prepare the device first. At the beginning, there is a push card position inserted between the upper and lower push card position sleeves;
②、将步骤①准备好的推送管从口腔沿着食道管推送到食道管壁肿瘤部位;②. Push the push tube prepared in
③、往上提推送卡位固接座,之后将推送卡位杆卸下,之后使推送卡位固接座在重块的重力作用下下降,同时往上提推送管一定高度,并保持稳定,进而使环形电极脱离食道管与肿瘤部位配合;③. Lift up the push card position fixing base, then remove the push card position rod, and then lower the push card position fixing base under the gravity of the heavy block, and at the same time lift the push tube to a certain height and keep it stable , so that the ring electrode is separated from the esophageal tube to cooperate with the tumor site;
④、通过气泵往撑开气囊充气,使环形电极产生一定的形变,进而使环形电极能够碰触到食管壁的肿瘤部分;④. Inflate the air bag through the air pump, so that the ring electrode can be deformed to a certain extent, so that the ring electrode can touch the tumor part of the esophageal wall;
⑤、通过配电控制器产生高压直流电,使环形电极周围形成强电场,进而完成对食管壁的肿瘤部分灭活。⑤. The high-voltage direct current is generated by the power distribution controller, so that a strong electric field is formed around the ring electrode, and then the tumor part of the esophageal wall is inactivated.
本发明的有益效果为:The beneficial effects of the present invention are:
1、采用环形电极作为工作部件,通过推送管作为送入媒介,应用特点的设备使用方式,可以通过直流高压产生的电场对周围食管壁内的肿瘤细胞进行灭活。1. The ring electrode is used as the working part, the push tube is used as the delivery medium, and the characteristic equipment is used to inactivate the tumor cells in the surrounding esophageal wall by the electric field generated by the DC high voltage.
2、绝缘重块的设计,既能够使环形电极随同推送管一起推送到食管内壁,又能与推送管产生相对位移,使环形电极直接与肿瘤部分作用。2. The design of the insulating weight can not only push the ring electrode to the inner wall of the esophagus together with the push tube, but also generate relative displacement with the push tube, so that the ring electrode can directly interact with the tumor part.
3、撑开气囊的设计,能够使环形电极进行一定程度的形变,进而能够使环形电极直接接触到食管壁内的肿瘤组织,提高灭活处理的效果。3. The design of expanding the balloon can make the ring electrode deform to a certain degree, and then the ring electrode can directly contact the tumor tissue in the esophagus wall, so as to improve the effect of inactivation treatment.
4、推送卡位套和推送卡位杆的结构设计,能够确保在推送使环形电极能够与推送管同步推送,确保了推送的效率,同时不影响二者后续的相对运动。4. The structural design of the push card position sleeve and the push card position rod can ensure that the ring electrode can be pushed synchronously with the push tube during the push, which ensures the efficiency of the push, and does not affect the subsequent relative movement of the two.
附图说明Description of drawings
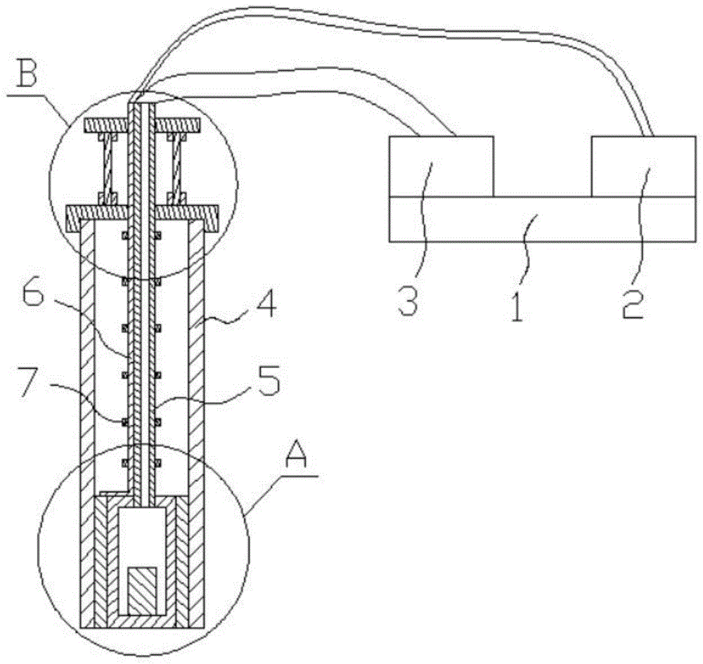
图1为一种用于食管壁内肿瘤细胞灭活的电极装置的结构示意图。FIG. 1 is a schematic structural diagram of an electrode device for inactivating tumor cells in the esophageal wall.
图2为图1中A的局部放大图。FIG. 2 is a partial enlarged view of A in FIG. 1 .
图3为图1中B的局部放大图。FIG. 3 is a partial enlarged view of B in FIG. 1 .
图中所示文字标注表示为:1、工作台;2、配电控制器;3、气泵;4、推送管;5、充气管;6、导线;7、卡箍;8、撑开气囊;9、重块;10、环形电极;11、推送卡位座;12、推送卡位套;13、推送卡位杆;14、推送卡位固接座。The text labels shown in the figure are: 1. Workbench; 2. Power distribution controller; 3. Air pump; 4. Push tube; 5. Inflatable tube; 6. Conductor; 7. Clamp; 9. Heavy block; 10. Ring electrode; 11. Pushing the card seat; 12. Pushing the card position sleeve; 13. Pushing the card position rod; 14. Pushing the card position fixing seat.
具体实施方式Detailed ways
为了使本领域技术人员更好地理解本发明的技术方案,下面结合附图对本发明进行详细描述,本部分的描述仅是示范性和解释性,不应对本发明的保护范围有任何的限制作用。In order to make those skilled in the art better understand the technical solutions of the present invention, the present invention will be described in detail below with reference to the accompanying drawings. The description in this part is only exemplary and explanatory, and should not have any limiting effect on the protection scope of the present invention. .
如图1-图3所示,本发明的具体结构为:一种用于食管壁内肿瘤细胞灭活的电极装置,它包括工作台1和推送管4,所述的推送管4内配合有环形电极10,所述的环形电极10的导线6穿出推送管4的上部并与工作台1上的配电控制器2连接。As shown in Fig. 1-Fig. 3, the specific structure of the present invention is: an electrode device for inactivating tumor cells in the esophagus wall, which comprises a
优选的,所述的环形电极10内设置有绝缘重块9,所述的重块9的上部连接有穿出推送管4上部的拉管。Preferably, the
优选的,所述的环形电极10内设置有撑开气囊8,所述的重块9设置在撑开气囊8内,所述的拉管为与撑开气囊8连通的充气管5,所述的充气管5与工作台1上设置的气泵3连通,所述的导线6和充气管5通过卡箍7绑在一起.Preferably, the
优选的,所述的充气管5上部超出推送管4的部位固连有推送卡位固接座14,所述的推送管4的上部套接有中部开口的推送卡位座11,所述的推送卡位座11的上部和推送卡位固接座14的下部设置有位置匹配的推送卡位套12,且上下推送卡位套12之间插套有推送卡位杆13。Preferably, the upper part of the
一种用于食管壁内肿瘤细胞灭活的电极装置的使用方法,包括如下步骤:A method for using an electrode device for inactivating tumor cells in an esophageal wall, comprising the following steps:
①、先将装置准备好,起始时上下推送卡位套之间插套有推送卡位杆;①. Prepare the device first. At the beginning, there is a push card position inserted between the upper and lower push card position sleeves;
②、将步骤①准备好的推送管从口腔沿着食道管推送到食道管壁肿瘤部位;②. Push the push tube prepared in
③、往上提推送卡位固接座,之后将推送卡位杆卸下,之后使推送卡位固接座在重块的重力作用下下降,同时往上提推送管一定高度,并保持稳定,进而使环形电极脱离食道管与肿瘤部位配合;③. Lift up the push card position fixing base, then remove the push card position rod, and then lower the push card position fixing base under the gravity of the heavy block, and at the same time lift the push tube to a certain height and keep it stable , so that the ring electrode is separated from the esophageal tube to cooperate with the tumor site;
④、通过气泵往撑开气囊充气,使环形电极产生一定的形变,进而使环形电极能够碰触到食管壁的肿瘤部分;④. Inflate the air bag through the air pump, so that the ring electrode can be deformed to a certain extent, so that the ring electrode can touch the tumor part of the esophageal wall;
⑤、通过配电控制器产生高压直流电,使环形电极周围形成强电场,进而完成对食管壁的肿瘤部分灭活。⑤. The high-voltage direct current is generated by the power distribution controller, so that a strong electric field is formed around the ring electrode, and then the tumor part of the esophageal wall is inactivated.
需要说明的是,在本文中,术语“包括”、“包含”或者其任何其他变体意在涵盖非排他性的包含,从而使得包括一系列要素的过程、方法、物品或者设备不仅包括那些要素,而且还包括没有明确列出的其他要素,或者是还包括为这种过程、方法、物品或者设备所固有的要素。It should be noted that, herein, the terms "comprising", "comprising" or any other variation thereof are intended to encompass non-exclusive inclusion, such that a process, method, article or device comprising a series of elements includes not only those elements, It also includes other elements not expressly listed or inherent to such a process, method, article or apparatus.
本文中应用了具体个例对本发明的原理及实施方式进行了阐述,以上实例的说明只是用于帮助理解本发明的方法及其核心思想。以上所述仅是本发明的优选实施方式,应当指出,由于文字表达的有限性,而客观上存在无限的具体结构,对于本技术领域的普通技术人员来说,在不脱离本发明原理的前提下,还可以做出若干改进、润饰或变化,也可以将上述技术特征以适当的方式进行组合;这些改进润饰、变化或组合,或未经改进将发明的构思和技术方案直接应用于其它场合的,均应视为本发明的保护范围。Specific examples are used herein to illustrate the principles and implementations of the present invention, and the descriptions of the above examples are only used to help understand the method and the core idea of the present invention. The above are only the preferred embodiments of the present invention. It should be pointed out that due to the limited expression of words, there are objectively unlimited specific structures. For those of ordinary skill in the art, without departing from the principles of the present invention However, some improvements, modifications or changes can also be made, and the above-mentioned technical features can also be combined in an appropriate manner; these improvements, modifications, or combinations, or the concept and technical solutions of the invention are directly applied to other occasions without improvement. should be regarded as the protection scope of the present invention.
Claims (1)
Priority Applications (1)
| Application Number | Priority Date | Filing Date | Title |
|---|---|---|---|
| CN201711420775.4A CN107928782B (en) | 2017-12-25 | 2017-12-25 | Electrode device for inactivating tumor cells in esophageal wall and using method thereof |
Applications Claiming Priority (1)
| Application Number | Priority Date | Filing Date | Title |
|---|---|---|---|
| CN201711420775.4A CN107928782B (en) | 2017-12-25 | 2017-12-25 | Electrode device for inactivating tumor cells in esophageal wall and using method thereof |
Publications (2)
| Publication Number | Publication Date |
|---|---|
| CN107928782A CN107928782A (en) | 2018-04-20 |
| CN107928782B true CN107928782B (en) | 2020-06-09 |
Family
ID=61938930
Family Applications (1)
| Application Number | Title | Priority Date | Filing Date |
|---|---|---|---|
| CN201711420775.4A Expired - Fee Related CN107928782B (en) | 2017-12-25 | 2017-12-25 | Electrode device for inactivating tumor cells in esophageal wall and using method thereof |
Country Status (1)
| Country | Link |
|---|---|
| CN (1) | CN107928782B (en) |
Families Citing this family (1)
| Publication number | Priority date | Publication date | Assignee | Title |
|---|---|---|---|---|
| CN115895877B (en) * | 2022-11-30 | 2024-03-12 | 重庆大学 | Microfluidic chip detection system for reverse killing |
Family Cites Families (5)
| Publication number | Priority date | Publication date | Assignee | Title |
|---|---|---|---|---|
| CN2176804Y (en) * | 1993-09-28 | 1994-09-14 | 王德 | Esophagus cardiac-pacemaking vibration-eliminating electrode device |
| CN103889348B (en) * | 2011-08-25 | 2016-10-12 | 柯惠有限合伙公司 | Systems, devices and methods for treating luminal tissue |
| EP2879576A4 (en) * | 2012-07-30 | 2016-07-13 | Univ Northwestern | RADIO FREQUENCY PROBE FOR CIRCONFERENTIAL ABLATION OF A HOLLOW CAVITY |
| CN107920855B (en) * | 2015-08-03 | 2022-05-27 | 波士顿科学医学有限公司 | System and method for mapping and ablation in the bladder |
| CN206548600U (en) * | 2016-12-02 | 2017-10-13 | 申小青 | A kind of petal-shaped multi-pole rf ablating electrode pin with air bag |
-
2017
- 2017-12-25 CN CN201711420775.4A patent/CN107928782B/en not_active Expired - Fee Related
Also Published As
| Publication number | Publication date |
|---|---|
| CN107928782A (en) | 2018-04-20 |
Similar Documents
| Publication | Publication Date | Title |
|---|---|---|
| US9999462B2 (en) | Integrated cold plasma and high frequency plasma electrosurgical system and method | |
| JP5579726B2 (en) | Tissue ablation system | |
| KR101413022B1 (en) | Stimulus treatment using magnetic field | |
| CN105682580B (en) | Electrosurgical Vaginotomy Device | |
| EP4445944A3 (en) | Systems, devices, and methods for delivery of pulsed electric field ablative energy to esophageal tissue | |
| JP2007519470A5 (en) | ||
| WO2009047628A3 (en) | Electrosurgical methods and devices employing inductive energy | |
| WO2011081996A3 (en) | Electrical ablation devices | |
| JP2004522501A5 (en) | ||
| WO2008090004A8 (en) | Bipolar instrument and method for electrosurgical treatment of tissue | |
| CN115363745B (en) | Ablation Catheter | |
| CN205142645U (en) | Medical low temperature plasma fluidic device that can hand | |
| US10973564B2 (en) | Integrated cold plasma and high frequency plasma electrosurgical system and method | |
| CN107928782B (en) | Electrode device for inactivating tumor cells in esophageal wall and using method thereof | |
| CN111529059A (en) | A mobile nanosecond pulse ablation instrument | |
| CN212415889U (en) | medical catheter | |
| CN105105845B (en) | A kind of plasma device and production method for melting atherosclerotic plaque | |
| CN103251452B (en) | Double-electrode ablation electrode for tumor treatment | |
| CN212395035U (en) | Movable nanosecond pulse ablation instrument | |
| CN217488812U (en) | Balloon type pulse ablation catheter and pulse ablation equipment | |
| CN108578893A (en) | A kind of magnetic hysteresis thermotherapy set of endo-luminal ultrasound positioning | |
| CN109890307A (en) | High frequency thermal therapy device | |
| CN105879217A (en) | Inductive plasma pen | |
| CN100364485C (en) | bipolar radiofrequency knife | |
| CN215130014U (en) | Biliary tract tumor self-adaptive high-voltage pulse double-net electrode |
Legal Events
| Date | Code | Title | Description |
|---|---|---|---|
| PB01 | Publication | ||
| PB01 | Publication | ||
| SE01 | Entry into force of request for substantive examination | ||
| SE01 | Entry into force of request for substantive examination | ||
| GR01 | Patent grant | ||
| GR01 | Patent grant | ||
| CF01 | Termination of patent right due to non-payment of annual fee |
Granted publication date: 20200609 Termination date: 20201225 |
|
| CF01 | Termination of patent right due to non-payment of annual fee |
