CN102425397A - Method for exploiting coal-bed methane by utilizing water force of horizontal pinnate well of double well-shaft to scour, drill and relieve pressure - Google Patents
Method for exploiting coal-bed methane by utilizing water force of horizontal pinnate well of double well-shaft to scour, drill and relieve pressure Download PDFInfo
- Publication number
- CN102425397A CN102425397A CN2011104502342A CN201110450234A CN102425397A CN 102425397 A CN102425397 A CN 102425397A CN 2011104502342 A CN2011104502342 A CN 2011104502342A CN 201110450234 A CN201110450234 A CN 201110450234A CN 102425397 A CN102425397 A CN 102425397A
- Authority
- CN
- China
- Prior art keywords
- horizontal
- well
- coal
- water
- section
- Prior art date
- Legal status (The legal status is an assumption and is not a legal conclusion. Google has not performed a legal analysis and makes no representation as to the accuracy of the status listed.)
- Pending
Links
Images
Landscapes
- Earth Drilling (AREA)
Abstract
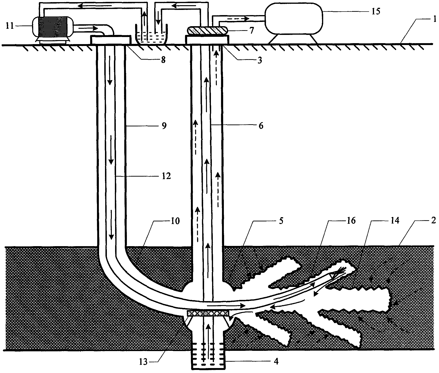
本发明公开的双井筒水平羽状井水力冲刷钻进卸压开采煤层气方法,首先,钻设排采直井(3),在目标煤层(2)段掏穴,穿过煤层后形成口袋(4);钻设水平羽状井(8)的直井段(9)和造斜段(10)并下套管固井;在水平羽状井(8)中下入与高压水泵(11)相连的喷水软管(12),穿过洞穴(5),通过高压水射流冲刷煤层,在水平方向钻进形成水平段主井眼(14);然后,改变射流方向,在水平段主井眼(14)周围喷射多条分支井眼(16);射流过程中的煤水返流至口袋(4),经提升设备(6)排出,经气、煤、水分离装置(7)分离,煤和气被收集储存,水循环用于井下射流、冲刷。本发明为松软、低渗煤层地面采气提供了新的解决方法。
The method for exploiting coalbed methane by hydraulic scouring, drilling, and pressure relief of a double shaft horizontal pinnate well disclosed by the present invention, firstly, a drainage and production vertical well (3) is drilled, a hole is dug in the target coal seam (2), and a pocket (4) is formed after passing through the coal seam ); Drill the vertical well section (9) and the build-up section (10) of the horizontal pinnate well (8) and run the casing cementing; run in the horizontal pinnate well (8) to connect with the high-pressure water pump (11) The water spray hose (12) passes through the cavern (5), scours the coal seam by the high-pressure water jet, and drills in the horizontal direction to form the main borehole (14) of the horizontal section; 14) Multiple branch boreholes (16) are sprayed around; the coal water in the jet flow flows back to the pocket (4), is discharged through the lifting device (6), and is separated by the gas, coal, and water separation device (7), and the coal and gas It is collected and stored, and the water is recycled for downhole jetting and flushing. The invention provides a new solution for ground gas extraction in soft and low-permeability coal seams.
Description
技术领域 technical field
本发明涉及煤层气开采技术领域,也可以涉及地面煤、气共采技术领域,特别涉及一种适用于松软、低渗、高瓦斯煤层的一种双井筒水平羽状井水力冲刷钻进卸压开采煤层气方法。The present invention relates to the technical field of coalbed methane mining, and may also relate to the technical field of co-mining of ground coal and gas, in particular to a double-shaft horizontal pinnate well hydraulic flushing drilling pressure relief suitable for soft, low-permeability, and high-gas coal seams Coal bed gas mining method.
背景技术 Background technique
煤层气地面开采钻井技术主要是垂直井和水平井。垂直井施工简单,成本较低,但主要适应于地形平坦、渗透性较好的硬质厚煤层,不适合松软、低透煤层;水平井技术较直井复杂,但可以极大地增大煤层裸露面积,提高煤层气产量。目前,水平井主要有三种:第一种是仅包括直井段、造斜段和水平段的水平定向井;第二种是水平对接井,将水平定向井水平段通过特殊钻进方法与远端预钻的排采直井在目标煤层中对接连通;第三种是水平羽状井,包括单井筒和双井筒两种类型。单井筒水平羽状井是在水平定向井水平段再侧钻出多个分支井眼,双井筒水平羽状井比单井筒水平羽状井多了一口与水平段主井眼连通的排采直井。Drilling technologies for surface mining of coalbed methane are mainly vertical wells and horizontal wells. The construction of vertical wells is simple and the cost is low, but it is mainly suitable for hard and thick coal seams with flat terrain and good permeability, and is not suitable for soft and low-permeability coal seams; the technology of horizontal wells is more complicated than that of vertical wells, but it can greatly increase the exposed area of coal seams , to increase coalbed methane production. At present, there are mainly three types of horizontal wells: the first type is a horizontal directional well that only includes the vertical well section, the deflection section and the horizontal section; the second type is a horizontal butt joint well, in which the horizontal section of the horizontal directional The pre-drilled drainage vertical wells are butted and connected in the target coal seam; the third type is the horizontal pinnate well, including two types of single wellbore and double wellbore. A single wellbore horizontal pinnate well is a horizontal directional well with multiple branch wells sidetracked in the horizontal section. A double wellbore horizontal pinnate well has one more drainage and production vertical well connected to the main wellbore in the horizontal section than a single wellbore horizontal pinnate well. .
水平定向井施工简单,但煤层裸露面积有限,而且采气过程中井内积水无法解决;水平对接井可以解决井内积水问题,但由于要远端对接,水平段一般要下筛管支撑,对煤层硬度和施工技术要求较高;水平羽状井由于增加了分支井眼,煤层裸露面积显著增加,但单井筒水平羽状井同样面临井内积水问题,双井筒水平羽状井由于增加了专门排采煤水和煤层气的排采直井,可有效解决井内积水问题,但水平井段位于目标煤层,为防治煤层坍塌阻塞井眼,一般要选择煤质较硬的煤层施工并下筛管固井。The construction of horizontal directional well is simple, but the exposed area of coal seam is limited, and the water accumulation in the well cannot be solved during the gas production process; the horizontal butt joint well can solve the problem of water accumulation in the well, but because of the remote connection, the horizontal section generally needs to be supported by screen pipes. The hardness of the coal seam and the requirements for construction technology are relatively high; the exposed area of the coal seam has increased significantly due to the addition of branch boreholes in the horizontal pinnate well, but the horizontal pinnate well with single wellbore also faces the problem of water accumulation in the well, and the horizontal pinnate well with double wellbore has increased the special Vertical wells for drainage of coal water and coalbed methane can effectively solve the problem of water accumulation in the well, but the horizontal well section is located in the target coal seam. In order to prevent the coal seam from collapsing and blocking the wellbore, it is generally necessary to select a hard coal seam for construction and install a screen pipe Cementing.
然而,我国有相当数量松软、低渗、高瓦斯煤层,常规水平井钻进技术难以凑效,水平段井眼难以完成,即使完成也容易坍塌、阻塞,难以维持稳定的卸压空间。针对这一问题,本发明提出一种运用水力冲刷钻进在松软煤层获得和维持双井筒水平羽状井的水平段主井眼和分支井眼,从而卸压开采煤层气的方法。However, there are a considerable number of soft, low-permeability, and high-gas coal seams in my country. Conventional horizontal well drilling technology is difficult to achieve. It is difficult to complete the horizontal section of the well. Even if it is completed, it is easy to collapse and block, and it is difficult to maintain a stable pressure relief space. To solve this problem, the present invention proposes a method of using hydraulic flushing drilling to obtain and maintain the main wellbore and branch wellbore in the horizontal section of the double wellbore horizontal pinnate well in soft coal seams, so as to relieve pressure and exploit coalbed methane.
发明内容 Contents of the invention
本发明针对松软、低渗、高瓦斯煤层煤层气开采所存在的难题,结合水平定向井、水平对接井和水平羽状井的特点,采用水力钻进、冲刷技术,提供一种双井筒水平羽状井水力冲刷钻进卸压开采煤层气方法。Aiming at the problems existing in coalbed methane exploitation in soft, low-permeable and high-gas coal seams, the present invention combines the characteristics of horizontal directional wells, horizontal butt joint wells and horizontal plume wells, and adopts hydraulic drilling and flushing techniques to provide a double wellbore horizontal plume A method for exploiting coalbed methane by hydraulic scouring drilling of shaped wells and pressure relief.
本发明的目的可通过下述技术措施(步骤)来实现:The purpose of the present invention can be realized by following technical measures (steps):
(1)首先,在预定位置钻设排采直井,该井由地面钻进,穿过目标煤层后,继续钻进一段距离的口袋,即形成聚集煤水的井窝。(1) First of all, a vertical drainage well is drilled at a predetermined position. The well is drilled from the ground, and after passing through the target coal seam, it continues to drill into a pocket for a certain distance, that is, a well pit for collecting coal water is formed.
(2)然后,在对应目标煤层段下入特殊套管,一般为玻璃钢套管,固井后把玻璃钢套管割掉露出煤层,进行扩眼,形成洞穴。(2) Then, run a special casing in the corresponding target coal seam section, usually a fiberglass casing, and cut off the fiberglass casing to expose the coal seam after cementing, and ream the hole to form a cave.
(3)在前述排采直井中设置煤水提升设备,井口安装气、煤、水分离装置。所述煤水提升设备一般采用电潜泵、气举隔膜泵、绳索提斗、螺杆泵、射流运移设备等。(3) Coal-water lifting equipment is installed in the aforementioned drainage vertical well, and a gas, coal and water separation device is installed at the wellhead. The coal-water lifting equipment generally adopts electric submersible pumps, gas-lift diaphragm pumps, rope buckets, screw pumps, jet transport equipment and the like.
(4)在距离排采直井适当距离的预定位置先钻水平羽状井的直井段和造斜段并下技术套管固井,直井段位于目标煤层上方的地质层,造斜段位于目标煤层,将钻进方向转为水平,通过洞穴与排采直井连通。(4) Drill the vertical section and build-up section of the horizontal pinnate well at a predetermined position at an appropriate distance from the vertical well, and perform technical casing cementing. The vertical section is located in the geological layer above the target coal seam, and the build-up section is located in the target coal seam. , turn the drilling direction to horizontal, and communicate with the vertical drainage well through the cave.
(5)下入喷水软管,与地面高压水泵相连,软管穿过洞穴,通过高压水射流冲刷松软煤层,在造斜段的延伸方向钻进至预定距离,形成水平段主井眼。其中,洞穴中口袋上方设置有支撑装置,用以支撑喷水软管,该装置经特殊设计不会影响煤水提升设备的正常工作。(5) The water spray hose is lowered and connected with the high-pressure water pump on the ground. The hose passes through the cave, and the soft coal seam is scoured by the high-pressure water jet, and drilled to a predetermined distance in the extension direction of the build-up section to form the main borehole of the horizontal section. Among them, a support device is provided above the pocket in the cave to support the water spray hose. The device is specially designed to not affect the normal operation of the coal water lifting equipment.
(6)水平段主井眼射流冲刷完成后,改变高压水射流方向,在水平主井眼的周围喷射出多条分支井眼。(6) After the jet flushing of the main wellbore in the horizontal section is completed, the direction of the high-pressure water jet is changed, and multiple branch wellbores are sprayed around the horizontal main wellbore.
(7)在喷射形成水平主井眼和分支井眼过程中产生的煤水混合物返流至排采直井的井底口袋,通过煤水提升设备排至地面。(7) The coal-water mixture produced in the process of jetting to form the horizontal main wellbore and branch wellbore flows back to the bottom pocket of the drainage vertical well, and is discharged to the ground through the coal-water lifting equipment.
(8)煤水混合物和煤层气在排采直井的井口通过气、煤、水分离装置实现分离,分离后的煤和煤层气被收集储存,水又通过高压水泵重新用于井下射流、冲刷。(8) Coal-water mixture and coalbed methane are separated at the wellhead of the vertical well by gas, coal, and water separation devices. The separated coal and coalbed methane are collected and stored, and the water is reused for downhole jetting and flushing through high-pressure water pumps.
本发明的有益效果如下:The beneficial effects of the present invention are as follows:
本发明采用水力冲刷、喷射的方法在松软、低渗、高瓦斯煤层完成双井筒水平羽状井水平段主井眼和分支井眼的钻进,克服了常规方法在松软煤层钻进难度大,水平井段难以获得和维持的问题,有效增加了煤层气的卸压空间;同时,该方法的工艺简单,成本较低,为松软、低渗、高瓦斯煤层采气提供了新的解决方法。The present invention adopts the method of hydraulic scouring and injection to complete the drilling of the main wellbore and the branch wellbore in the horizontal section of the double shaft horizontal pinnate well in the soft, low-permeability and high-gas coal seam, which overcomes the difficulty of drilling in the soft coal seam by the conventional method, The problem of difficulty in obtaining and maintaining horizontal well sections has effectively increased the pressure relief space for coalbed methane; at the same time, this method has a simple process and low cost, and provides a new solution for soft, low-permeability, and high-gas coalbed gas recovery.
附图说明 Description of drawings
图1为本发明水力冲刷获取双井筒水平羽状井水平段主井眼过程示意图;Fig. 1 is a schematic diagram of the process of obtaining the main wellbore of the horizontal section of the double shaft horizontal pinnate well by hydraulic scouring in the present invention;
图2为本发明水力冲刷获取双井筒水平羽状井水平段分支井眼示意图;Fig. 2 is a schematic diagram of a branch wellbore in the horizontal section of a double wellbore horizontal pinnate well obtained by hydraulic scouring in the present invention;
图3为本发明双井筒水平羽状井水平段主井眼及分支井眼的左视图;Fig. 3 is the left view of the main wellbore and the branch wellbore in the horizontal section of the double shaft horizontal pinnate well of the present invention;
图4为本发明双井筒水平羽状井水平段主井眼及分支井眼的俯视图。Fig. 4 is a top view of the main wellbore and branch wellbore in the horizontal section of the double wellbore horizontal pinnate well of the present invention.
图中标记为:1:地面;2:目标煤层;3:排采直井;4:口袋;5:洞穴;6:提升设备;7:气、煤、水分离设备;8:水平羽状井;9:直井段;10:造斜段;11:高压水泵;12:喷水软管;13:软管支撑装置;14:水平段主井眼;15:煤层气抽采设备;16:水平段分支井眼。Marked in the figure: 1: ground; 2: target coal seam; 3: vertical drainage well; 4: pocket; 5: cave; 6: lifting equipment; 7: gas, coal, water separation equipment; 8: horizontal plume well; 9: Vertical well section; 10: Build-up section; 11: High-pressure water pump; 12: Water spray hose; 13: Hose support device; 14: Main borehole in horizontal section; 15: CBM extraction equipment; 16: Horizontal section branch borehole.
图中实线箭头为水流方向;虚线箭头为煤层气气流方向。The solid line arrows in the figure indicate the direction of water flow; the dotted line arrows indicate the direction of CBM gas flow.
具体实施方式 Detailed ways
本发明以下将结合一个实施例(附图)作进一步描述:The present invention will be further described below in conjunction with an embodiment (accompanying drawing):
(1)首先,在预定位置钻设排采直井3,该井由地面1钻进,穿过目标煤层2后,继续钻进一段距离的口袋4,即形成聚集煤水的井窝。(1) Firstly, drill a vertical extraction well 3 at a predetermined position, which is drilled from the
(2)然后,在对应目标煤层2段下入特殊套管,一般为玻璃钢套管,固井后把玻璃钢套管割掉露出煤层,进行扩眼,形成洞穴5。(2) Then, run a special casing in the second section of the corresponding target coal seam, generally a fiberglass casing, cut off the fiberglass casing to expose the coal seam after cementing, and ream the hole to form the
(3)在前述排采直井3中设置煤水提升设备6,井口安装气、煤、水分离装置7。所述煤水提升设备6一般采用电潜泵、气举隔膜泵、绳索提斗、螺杆泵、射流运移设备等。(3) Coal-
(4)在距离排采直井3适当距离的预定位置先钻水平羽状井8的直井段9和造斜段10并下技术套管固井,直井段9位于目标煤层2上方的地质层,造斜段10上部紧接直井段9,进入目标煤层2后将钻进方向逐渐转为水平,下段通过洞穴5与排采直井3连通。(4) Drill the
(5)在水平羽状井8中下入喷水软管12,与地面高压水泵11相连,穿过洞穴5,通过高压水射流冲刷松软煤层,在造斜段10的延伸方向钻进至预定距离,形成水平段主井眼14。其中,洞穴5中口袋4上方设置有支撑装置13,用以支撑喷水软管12,该装置经特殊设计不会影响煤水提升设备6的正常工作。(5) Put the
(6)水平段主井眼14射流冲刷完成后,改变高压水射流方向,在水平主井眼的周围喷射出多条分支井眼16。(6) After the jet flushing of the
(7)在喷射形成水平段主井眼14和分支井眼14过程中产生的煤水混合物返流至排采直井3的井底口袋4,通过煤水提升设备6排至地面1。(7) The coal-water mixture produced in the process of forming the
(8)煤水混合物和煤层气在排采直井3的井口通过气、煤、水分离装置7实现分离,分离后的煤和煤层气被收集储存,水又通过高压水泵11重新用于井下射流、冲刷。(8) The coal-water mixture and coalbed methane are separated at the wellhead of the
本发明采用水力冲刷、喷射的方法在松软、低渗、高瓦斯煤层完成水平羽状井水平段主井眼和分支井眼的钻进,克服了常规方法在松软煤层钻进难度大,水平井段难以获得和维持的问题,有效增加了煤层气的卸压空间;同时,该方法的工艺简单,成本较低,为松软、低渗、高瓦斯煤层采气提供了新的解决方法。The invention adopts the method of hydraulic scouring and spraying to complete the drilling of the main wellbore and the branch wellbore in the horizontal section of the horizontal pinnate well in the soft, low-permeability and high-gas coal seam, which overcomes the difficulty of drilling in the soft coal seam by the conventional method, and the horizontal well It effectively increases the pressure relief space of coalbed methane; at the same time, the method is simple in process and low in cost, and provides a new solution for soft, low permeability and high gassy coalbed gas recovery.
Claims (4)
Priority Applications (1)
| Application Number | Priority Date | Filing Date | Title |
|---|---|---|---|
| CN2011104502342A CN102425397A (en) | 2011-12-29 | 2011-12-29 | Method for exploiting coal-bed methane by utilizing water force of horizontal pinnate well of double well-shaft to scour, drill and relieve pressure |
Applications Claiming Priority (1)
| Application Number | Priority Date | Filing Date | Title |
|---|---|---|---|
| CN2011104502342A CN102425397A (en) | 2011-12-29 | 2011-12-29 | Method for exploiting coal-bed methane by utilizing water force of horizontal pinnate well of double well-shaft to scour, drill and relieve pressure |
Publications (1)
| Publication Number | Publication Date |
|---|---|
| CN102425397A true CN102425397A (en) | 2012-04-25 |
Family
ID=45959422
Family Applications (1)
| Application Number | Title | Priority Date | Filing Date |
|---|---|---|---|
| CN2011104502342A Pending CN102425397A (en) | 2011-12-29 | 2011-12-29 | Method for exploiting coal-bed methane by utilizing water force of horizontal pinnate well of double well-shaft to scour, drill and relieve pressure |
Country Status (1)
| Country | Link |
|---|---|
| CN (1) | CN102425397A (en) |
Cited By (19)
| Publication number | Priority date | Publication date | Assignee | Title |
|---|---|---|---|---|
| CN102767349A (en) * | 2012-07-12 | 2012-11-07 | 中国石油天然气股份有限公司 | Suspension screen completion method for coalbed methane horizontal wells |
| CN102828768A (en) * | 2012-08-28 | 2012-12-19 | 山西潞安集团余吾煤业有限责任公司 | Method and system for gas pumping of high-gas coal mines |
| CN103161440A (en) * | 2013-02-27 | 2013-06-19 | 中联煤层气国家工程研究中心有限责任公司 | Single-well coalbed methane horizontal well system and finishing method thereof |
| CN103711473A (en) * | 2013-12-30 | 2014-04-09 | 中国石油集团渤海钻探工程有限公司 | Double-circulation relay type method for drilling and completing coal seam composite well |
| CN104213882A (en) * | 2013-06-05 | 2014-12-17 | 中国石油天然气集团公司 | Coalbed methane horizontal well PE screen pipe well completion method and device |
| CN104912480A (en) * | 2015-04-30 | 2015-09-16 | 中煤科工集团西安研究院有限公司 | Drilling and completion method for coal bed gas near-end butt-joint horizontal well |
| CN104912520A (en) * | 2014-03-14 | 2015-09-16 | 郑州大学 | Horizontally butted well hydraulic scour migration pressure relief outburst elimination gas extraction method |
| CN105019935A (en) * | 2014-04-16 | 2015-11-04 | 郑州大学 | Overground/underground combined pressure relief outburst elimination coal seam rapid channel digging method |
| CN105986795A (en) * | 2015-02-10 | 2016-10-05 | 中国石油天然气股份有限公司 | Coal bed gas horizontal well coal bed transformation method |
| CN104343424B (en) * | 2013-08-02 | 2017-02-15 | 中国石油天然气集团公司 | Coalbed-methane horizontal-well PE (poly ethylene) screen pipe well completion application process method |
| CN106948860A (en) * | 2017-05-27 | 2017-07-14 | 中煤科工集团重庆研究院有限公司 | Method for extracting coal seam gas based on cooperation of U-shaped well and directional drilling |
| CN108625824A (en) * | 2018-05-02 | 2018-10-09 | 辽宁工程技术大学 | A kind of buried aqueous coal bed gas extraction drilling method for arranging |
| CN108643867A (en) * | 2018-05-21 | 2018-10-12 | 河南工程学院 | Coal extraction coal bed gas technique is drawn in a kind of release, water-jet |
| CN108798516A (en) * | 2018-04-28 | 2018-11-13 | 中国矿业大学 | A kind of deformation coal original position coal bed gas horizontal well cave Depressurized mining method |
| CN108843241A (en) * | 2018-04-28 | 2018-11-20 | 中国矿业大学 | A kind of deformation coal original position coal bed gas horizontal well cave Depressurized mining system |
| WO2019205517A1 (en) * | 2018-04-28 | 2019-10-31 | 中国矿业大学 | Coalbed methane horizontal well hole collapse cave-building pressure relief developing system and method |
| CN111396011A (en) * | 2019-01-02 | 2020-07-10 | 中国石油天然气股份有限公司 | Method and device for increasing gas production of double U-shaped wells |
| CN111810085A (en) * | 2020-06-12 | 2020-10-23 | 煤科集团沈阳研究院有限公司 | A water jet drilling rig and a drilling construction method for coal seam plume gas drainage |
| CN116940745A (en) * | 2023-04-25 | 2023-10-24 | 平安煤矿瓦斯治理国家工程研究中心有限责任公司 | Well type structure for butt joint of coal bed gas at near end of single well field and opening method |
Citations (7)
| Publication number | Priority date | Publication date | Assignee | Title |
|---|---|---|---|---|
| CA2350504C (en) * | 1998-11-20 | 2004-02-10 | Cdx Gas, Llc | Method and system for accessing subterranean deposits from the surface |
| CN101586441A (en) * | 2009-07-01 | 2009-11-25 | 煤炭科学研究总院重庆研究院 | High-pressure water jet system and method for drilling and enlarging holes on coal bed |
| CN101775974A (en) * | 2010-01-28 | 2010-07-14 | 郑州大学 | Method for exploiting coal bed gas by hydraulic migration and pressure relief of butt well |
| CN102080530A (en) * | 2010-12-22 | 2011-06-01 | 北京奥瑞安能源技术开发有限公司 | Method for constructing horizontal coal bed gas well and vertical drainage and mining well |
| CN102094668A (en) * | 2010-12-20 | 2011-06-15 | 郑州大学 | High-pressure hydraulic drilling, pressure releasing and protrusion removing method for upper drainage roadway |
| CN102213077A (en) * | 2011-05-25 | 2011-10-12 | 煤炭科学研究总院沈阳研究院 | Coal seam reaming system using three-dimensional (3D) swirling water jet and reaming and fracturing method for permeability enhancement |
| CN202064928U (en) * | 2011-05-30 | 2011-12-07 | 北京奥瑞安能源技术开发有限公司 | Coal-bed gas multi-branch horizontal well system |
-
2011
- 2011-12-29 CN CN2011104502342A patent/CN102425397A/en active Pending
Patent Citations (7)
| Publication number | Priority date | Publication date | Assignee | Title |
|---|---|---|---|---|
| CA2350504C (en) * | 1998-11-20 | 2004-02-10 | Cdx Gas, Llc | Method and system for accessing subterranean deposits from the surface |
| CN101586441A (en) * | 2009-07-01 | 2009-11-25 | 煤炭科学研究总院重庆研究院 | High-pressure water jet system and method for drilling and enlarging holes on coal bed |
| CN101775974A (en) * | 2010-01-28 | 2010-07-14 | 郑州大学 | Method for exploiting coal bed gas by hydraulic migration and pressure relief of butt well |
| CN102094668A (en) * | 2010-12-20 | 2011-06-15 | 郑州大学 | High-pressure hydraulic drilling, pressure releasing and protrusion removing method for upper drainage roadway |
| CN102080530A (en) * | 2010-12-22 | 2011-06-01 | 北京奥瑞安能源技术开发有限公司 | Method for constructing horizontal coal bed gas well and vertical drainage and mining well |
| CN102213077A (en) * | 2011-05-25 | 2011-10-12 | 煤炭科学研究总院沈阳研究院 | Coal seam reaming system using three-dimensional (3D) swirling water jet and reaming and fracturing method for permeability enhancement |
| CN202064928U (en) * | 2011-05-30 | 2011-12-07 | 北京奥瑞安能源技术开发有限公司 | Coal-bed gas multi-branch horizontal well system |
Cited By (27)
| Publication number | Priority date | Publication date | Assignee | Title |
|---|---|---|---|---|
| CN102767349A (en) * | 2012-07-12 | 2012-11-07 | 中国石油天然气股份有限公司 | Suspension screen completion method for coalbed methane horizontal wells |
| CN102767349B (en) * | 2012-07-12 | 2015-05-27 | 中国石油天然气股份有限公司 | Suspension screen completion method for coalbed methane horizontal wells |
| CN102828768A (en) * | 2012-08-28 | 2012-12-19 | 山西潞安集团余吾煤业有限责任公司 | Method and system for gas pumping of high-gas coal mines |
| CN103161440A (en) * | 2013-02-27 | 2013-06-19 | 中联煤层气国家工程研究中心有限责任公司 | Single-well coalbed methane horizontal well system and finishing method thereof |
| CN104213882A (en) * | 2013-06-05 | 2014-12-17 | 中国石油天然气集团公司 | Coalbed methane horizontal well PE screen pipe well completion method and device |
| CN104343424B (en) * | 2013-08-02 | 2017-02-15 | 中国石油天然气集团公司 | Coalbed-methane horizontal-well PE (poly ethylene) screen pipe well completion application process method |
| CN103711473B (en) * | 2013-12-30 | 2016-01-20 | 中国石油集团渤海钻探工程有限公司 | Two-way Cycle relay-type coal seam compound well bores completion method |
| CN103711473A (en) * | 2013-12-30 | 2014-04-09 | 中国石油集团渤海钻探工程有限公司 | Double-circulation relay type method for drilling and completing coal seam composite well |
| CN104912520A (en) * | 2014-03-14 | 2015-09-16 | 郑州大学 | Horizontally butted well hydraulic scour migration pressure relief outburst elimination gas extraction method |
| CN104912520B (en) * | 2014-03-14 | 2017-12-29 | 郑州大学 | Horizontally-butted wells sluicing migration release extinction gas production method |
| CN105019935A (en) * | 2014-04-16 | 2015-11-04 | 郑州大学 | Overground/underground combined pressure relief outburst elimination coal seam rapid channel digging method |
| CN105986795B (en) * | 2015-02-10 | 2018-09-04 | 中国石油天然气股份有限公司 | Coal seam reconstruction method for coalbed methane horizontal well |
| CN105986795A (en) * | 2015-02-10 | 2016-10-05 | 中国石油天然气股份有限公司 | Coal bed gas horizontal well coal bed transformation method |
| CN104912480A (en) * | 2015-04-30 | 2015-09-16 | 中煤科工集团西安研究院有限公司 | Drilling and completion method for coal bed gas near-end butt-joint horizontal well |
| CN106948860A (en) * | 2017-05-27 | 2017-07-14 | 中煤科工集团重庆研究院有限公司 | Method for extracting coal seam gas based on cooperation of U-shaped well and directional drilling |
| CN108798516A (en) * | 2018-04-28 | 2018-11-13 | 中国矿业大学 | A kind of deformation coal original position coal bed gas horizontal well cave Depressurized mining method |
| CN108843241A (en) * | 2018-04-28 | 2018-11-20 | 中国矿业大学 | A kind of deformation coal original position coal bed gas horizontal well cave Depressurized mining system |
| WO2019205517A1 (en) * | 2018-04-28 | 2019-10-31 | 中国矿业大学 | Coalbed methane horizontal well hole collapse cave-building pressure relief developing system and method |
| WO2019205515A1 (en) * | 2018-04-28 | 2019-10-31 | 中国矿业大学 | Method of extracting gas from tectonically-deformed coal seam in-situ by depressurizing horizontal well cavity |
| US10830018B1 (en) | 2018-04-28 | 2020-11-10 | China University Of Mining And Technology | Method of extracting gas from tectonically-deformed coal seam in-situ by depressurizing horizontal well cavity |
| CN108625824A (en) * | 2018-05-02 | 2018-10-09 | 辽宁工程技术大学 | A kind of buried aqueous coal bed gas extraction drilling method for arranging |
| CN108643867A (en) * | 2018-05-21 | 2018-10-12 | 河南工程学院 | Coal extraction coal bed gas technique is drawn in a kind of release, water-jet |
| CN111396011A (en) * | 2019-01-02 | 2020-07-10 | 中国石油天然气股份有限公司 | Method and device for increasing gas production of double U-shaped wells |
| CN111810085A (en) * | 2020-06-12 | 2020-10-23 | 煤科集团沈阳研究院有限公司 | A water jet drilling rig and a drilling construction method for coal seam plume gas drainage |
| CN116940745A (en) * | 2023-04-25 | 2023-10-24 | 平安煤矿瓦斯治理国家工程研究中心有限责任公司 | Well type structure for butt joint of coal bed gas at near end of single well field and opening method |
| WO2024221221A1 (en) * | 2023-04-25 | 2024-10-31 | 平安煤矿瓦斯治理国家工程研究中心有限责任公司 | Coalbed methane well-type structure communicated at proximal ends in single well site and forming method |
| CN116940745B (en) * | 2023-04-25 | 2025-02-11 | 平安煤矿瓦斯治理国家工程研究中心有限责任公司 | A well type structure and opening method for single well field near-end connection with coalbed methane |
Similar Documents
| Publication | Publication Date | Title |
|---|---|---|
| CN102425397A (en) | Method for exploiting coal-bed methane by utilizing water force of horizontal pinnate well of double well-shaft to scour, drill and relieve pressure | |
| CN111520119B (en) | Method for efficiently extracting coal bed gas by staged fracturing of large-spacing thin coal seam group multi-bottom horizontal well | |
| CN102518411A (en) | Method for mining coal bed gas by hydraulic washout of butted well in manner of pressure relief | |
| CN104806217B (en) | Combined separated layer fracturing, grouping and layer-combining mining method for coal bed well group | |
| CN102022133B (en) | Regional gas underground high-pressure jet hole digging, pressure relief and outburst prevention method | |
| CN102168575B (en) | Loose blasting gas extraction technology for horizontal branch well of coal seam floor | |
| CN110397428B (en) | Displacement coalbed methane yield increasing method for coalbed methane jointly mined by vertical well and U-shaped butt well | |
| CN105804754B (en) | A kind of coal seam is Main aquifer pitshaft method for uncovering coal | |
| CN111535791A (en) | High-efficiency gas drainage method in fractured and soft low-permeability coal seam in the area of combined upper and lower well fracturing | |
| CN107401393A (en) | Water pumping gas production integration goaf gas extraction well casing programme and its construction method | |
| CN102392677A (en) | Permeability improvement technology for coal bed gas reservoir cap by using three-dimensional fracture network modification | |
| CN114542164A (en) | An integrated method for co-production of deep coal seam fluidized coal and coalbed methane and CO2 storage | |
| CN101775974B (en) | Coalbed methane mining method for hydraulic migration of butt joint wells for pressure relief | |
| CN104047629B (en) | The method that thin coal bed fully-mechanized mining gob side entry retaining directional drilling extraction closes on lower coal-bed gas | |
| CN101775975A (en) | Method for exploiting coal bed gas by hydraulic hole digging and pressure relief | |
| CN102852490A (en) | High gas suction and discharge process method for complex well | |
| CN102747999A (en) | Method for developing coal bed gas by deeply penetrating radial horizontal well by hydraulic power | |
| CN103321613A (en) | Method and device for exploiting coal bed methane by discharging water and pulverized coal | |
| CN102155187A (en) | Method for treating coal bed bottom plate karst water through hydraulic jetting and radial drilling | |
| CN107620581B (en) | Construction method of one-well dual-purpose coal mine shaft inspection hole | |
| CN105971662A (en) | Method for gas extraction by coal seam roof weakening through L-shaped drilling staged fracturing | |
| CN102518412A (en) | Method for mining coal and gas by hydraulic jet grouting washout | |
| CN110306965A (en) | A kind of stimulation method for coalbed methane low-yield well area | |
| CN108180040A (en) | A kind of salt hole air reserved storeroom dual string makes cavity method | |
| CN104912479A (en) | Method for drilling and completion of horizontal branched well for coal bed gas |
Legal Events
| Date | Code | Title | Description |
|---|---|---|---|
| C06 | Publication | ||
| PB01 | Publication | ||
| C10 | Entry into substantive examination | ||
| SE01 | Entry into force of request for substantive examination | ||
| C02 | Deemed withdrawal of patent application after publication (patent law 2001) | ||
| WD01 | Invention patent application deemed withdrawn after publication |
Application publication date: 20120425 |
