[go: up one dir, main page]

CN101536541A - Apparatus for reproduction of stereo sound - Google Patents

Apparatus for reproduction of stereo sound Download PDF

Info

Publication number
CN101536541A
CN101536541A CNA200780035223XA CN200780035223A CN101536541A CN 101536541 A CN101536541 A CN 101536541A CN A200780035223X A CNA200780035223X A CN A200780035223XA CN 200780035223 A CN200780035223 A CN 200780035223A CN 101536541 A CN101536541 A CN 101536541A
Authority
CN
China
Prior art keywords
transducer
signal
equipment
reproduce
audio signals
Prior art date
Legal status (The legal status is an assumption and is not a legal conclusion. Google has not performed a legal analysis and makes no representation as to the accuracy of the status listed.)
Granted
Application number
CNA200780035223XA
Other languages
Chinese (zh)
Other versions
CN101536541B (en
Inventor
E·S·弗莱彻
Current Assignee (The listed assignees may be inaccurate. Google has not performed a legal analysis and makes no representation or warranty as to the accuracy of the list.)
Proud Bissell
Original Assignee
Airsound LLP
Priority date (The priority date is an assumption and is not a legal conclusion. Google has not performed a legal analysis and makes no representation as to the accuracy of the date listed.)
Filing date
Publication date
Priority claimed from GB0618854A external-priority patent/GB0618854D0/en
Application filed by Airsound LLP filed Critical Airsound LLP
Priority claimed from PCT/GB2007/003191 external-priority patent/WO2008023167A1/en
Publication of CN101536541A publication Critical patent/CN101536541A/en
Application granted granted Critical
Publication of CN101536541B publication Critical patent/CN101536541B/en
Active legal-status Critical Current
Anticipated expiration legal-status Critical

Links

Images

Landscapes

  • Stereophonic Arrangements (AREA)

Abstract

Apparatus for reproducing stereo sound having a housing (1, 25) defining an at least partially enclosed space. A first transducer (7) or pair of transducers (28, 29) is provided and arranged to reproduce one, both or the sum of two audio signals. A pair of transducers (10, 32) is also provided and arranged to reproduce a signal comprising the difference of the two audio signals. All the transducers communicate with the at least partially enclosed space, and the transducers arranged to reproduce the difference between the two audio signals are each arranged to direct their output primarily in a direction generally at right angles to the direction in which the first transducer or pair of transducers primarily direct their output. The apparatus may be arranged to be placed on or adjacent a generally flat surface, and the transducers arranged to reproduce the difference of the two audio signals may be arranged to direct their output towards the flat surface.

Description

用于再现立体声的设备 equipment for reproducing stereo sound

技术领域 technical field

本发明涉及用于再现立体声的设备,更具体地,涉及用于从双声道立体声信号再现立体声的设备。The present invention relates to a device for reproducing stereophonic sound, and more particularly to a device for reproducing stereophonic sound from a two-channel stereophonic signal.

背景技术 Background technique

立体声记录和再现利用立体投影对记录的声源的相对位置进行编码,并旨在通过感测这些相对位置来再现声音。立体声系统可以包含两个或多个声道,但是双声道系统在音频记录方面占统治地位。双声道(通常被称为左和右声道)传播与听者前面的声场相关的信息。到目前位置,用于再现双声道立体声信号的最流行的手段是通过空间上分离的左、右扬声器来分别播放声道。Stereo recording and reproduction utilizes stereo projection to encode the relative positions of recorded sound sources and aims to reproduce sounds by sensing these relative positions. Stereo systems can contain two or more channels, but binaural systems reign supreme when it comes to audio recording. Two channels (often referred to as left and right channels) carry information about the sound field in front of the listener. By far the most popular means for reproducing a two-channel stereo signal is to play the channels separately through spatially separated left and right speakers.

虽然很流行,但是这种系统仍然存在缺点。大多数商业双声道立体声录音是为了由空间上分离大约1.6米的扬声器实现最佳的再现效果而录制的。实际上,这不太可能,尤其是想要从单个单元再现立体声。在任何情况下,不管录音是如何录制的,用于发送左和右声道的扬声器越近,再现的立体声效果越差。Although very popular, this system still has disadvantages. Most commercial binaural recordings are made for optimal reproduction by speakers spatially separated by about 1.6 meters. In practice, this is unlikely, especially if one wants to reproduce stereo sound from a single unit. In any case, regardless of how the recording was recorded, the closer the speakers used to send the left and right channels, the worse the stereo reproduction will be.

而且,为了最完美的感受立体声效果,听者应该位于由一对扬声器和听者构成的等边三角形的顶点。可实际上,对于一个听者来说通常不方便或者根本不可能采用或保持这个位置,当然,对于多个听者来讲更不可能从相同的位置进行收听。Moreover, for the most perfect stereo effect, the listener should be located at the apex of an equilateral triangle formed by a pair of speakers and the listener. But in practice, it is usually inconvenient or impossible for a listener to adopt or maintain this position, and of course, it is even more impossible for multiple listeners to listen from the same position.

用于再现双声道立体声信号的替代系统应该克服一些上面提出的缺点。在US 3,588,355中公开了这种应该被称作“和差系统”的系统。该文件公开了包括两对扬声器的立体声扬声器系统。每对扬声器被定向为它们的轴互相垂直,并且扬声器距离轴的交点基本等距。如此安排扬声器可以使得每对扬声器中的一个扬声器面向听者,另一个扬声器的轴基本上处于与听者方向成直角的方向。提供了一种用于对左、右双声道立体声信号进行转换(matrix)以提供和信号与差信号的装置。和信号被同相施加到轴向指向听者的扬声器,以及差信号被施加到轴向与听者所在方向垂直的扬声器,施加到两个位于垂直方向的扬声器的差信号彼此相位相差180°。作为结果,该系统将生成立体声效果。Alternative systems for reproducing two-channel stereo signals should overcome some of the above-mentioned disadvantages. In US 3,588,355 is disclosed what should be called a "sum and difference system". This document discloses a stereo speaker system comprising two pairs of speakers. The speakers of each pair are oriented so that their axes are perpendicular to each other, and the speakers are substantially equidistant from the intersection of the axes. The speakers are arranged so that one speaker of each pair faces the listener, and the axis of the other speaker is oriented substantially at right angles to the direction of the listener. An apparatus is provided for matrixing left and right two-channel stereophonic signals to provide sum and difference signals. The sum signal is applied in phase to the loudspeaker whose axis is directed towards the listener, and the difference signal is applied to the loudspeaker whose axis is perpendicular to the direction of the listener, the difference signals applied to the two perpendicularly positioned loudspeakers being 180° out of phase with each other. As a result, the system will generate a stereo effect.

虽然会克服与空间上分离的扬声器的使用相关联的问题,但是US3,588,355的安排还没有被广泛使用。这被认为是因为公开的设备在实施上存在困难,公开的设备会导致获得的实际声音质量和所感觉到的立体声效果比理论预期要差。While the problems associated with the use of spatially separated loudspeakers would be overcome, the arrangement of US3,588,355 has not been widely used. This is believed to be due to implementation difficulties of the disclosed device, which would result in an actual sound quality obtained and a perceived stereophonic effect that is worse than theoretically expected.

发明内容 Contents of the invention

本发明试图提供改进的用于再现立体声的设备。The present invention seeks to provide an improved device for reproducing stereophonic sound.

根据本发明的第一个方面,提供了一种用于再现立体声的设备,该设备包括被安排用来再现两个音频信号中的一个音频信号的第一换能器和被安排用来再现另一个信号的第二换能器,该设备还包括被安排用来再现包括所述两个音频信号的差的信号的一个或者两个换能器。According to a first aspect of the present invention there is provided a device for reproducing stereophonic sound comprising a first transducer arranged to reproduce one of two audio signals and a first transducer arranged to reproduce the other A second transducer of a signal, the device further comprising one or two transducers arranged to reproduce a signal comprising the difference of said two audio signals.

这种安排结合了用于再现立体声的传统的双扬声器系统的优点与和差系统的优点。适当定向的差信号可被用来提高再现的信号的感觉宽度和深度。这在由第一和第二换能器单独再现的信号的感觉宽度和深度受到限制的情况下很有用。这种情况是两个换能器被安排得很接近的情况,例如两个换能器位于便携式立体声再现装备中的相同外壳内。This arrangement combines the advantages of a conventional two-speaker system for reproduction of stereo sound with the advantages of a sum-and-difference system. A properly oriented difference signal can be used to enhance the perceived width and depth of the reproduced signal. This is useful where the perceived width and depth of the signal reproduced by the first and second transducers alone is limited. This is the case where two transducers are arranged in close proximity, for example both transducers are located in the same housing in portable stereo reproduction equipment.

该设备可以包括限定了至少部分封闭的空间的外壳。所有的换能器可以安装在外壳内,并且都可以与所述部分封闭的空间相连通。第一和第二换能器优选被安排成将自身的输出指向在实质上平行的、空间分离的方向。被安排用来再现两个信号的差的两个换能器优选被安排成将自身的输出基本上指向与所述第一换能器和第二换能器被安排成将自身的输出基本上所指向的方向大致成直角的方向,并且可以使其输出位于大体上相反的方向上。The device may include a housing defining an at least partially enclosed space. All transducers can be mounted in the housing and can all communicate with the partially enclosed space. The first and second transducers are preferably arranged to direct their outputs in substantially parallel, spatially separated directions. The two transducers arranged to reproduce the difference of the two signals are preferably arranged to direct their outputs substantially in the same direction as said first transducer and the second transducer are arranged to direct their outputs substantially The pointed direction is substantially at right angles to the direction and may have its output in a substantially opposite direction.

根据本发明的第二个方面,提供了一种用于再现立体声的设备,该设备包括限定了至少部分封闭的空间的外壳,被安排用来生成两个音频信号中的一个音频信号或者两个音频信号的和的第一换能器,以及两个换能器,该两个换能器中的每一个都被安排用来再现包括所述两个音频信号的差的信号,其中上述三个换能器都与所述至少部分封闭的空间相连通,以及其中被安排用来再现包括所述两个音频信号的差的信号的所述换能器的每个被安排成将自身的输出基本上指向与所述第一换能器被安排成将自身的输出基本上所指向的方向大致成直角的方向。According to a second aspect of the present invention there is provided a device for reproducing stereophonic sound, the device comprising a housing defining an at least partially enclosed space, arranged to generate one of two audio signals or two a first transducer of the sum of the audio signals, and two transducers, each of which is arranged to reproduce a signal comprising the difference of said two audio signals, wherein said three transducers are all in communication with said at least partially enclosed space, and wherein each of said transducers arranged to reproduce a signal comprising the difference of said two audio signals is arranged to have its own output substantially Pointing up is substantially at right angles to the direction in which the first transducer is arranged to point its output substantially.

所述第一换能器被安排成再现两个音频信号中的一个音频信号,优选地提供第二换能器来再现另一个信号,并且第一和第二换能器被优选安排成将自身的输出指向在实质上平行的、空间分离的方向。The first transducer is arranged to reproduce one of the two audio signals, a second transducer is preferably provided to reproduce the other signal, and the first and second transducers are preferably arranged to reproduce themselves The outputs of are directed in substantially parallel, spatially separated directions.

通常认为立体声再现和差系统通过由播放差信号在不同位置对播放音频和信号进行不同量的修改进行工作,以重新创建最初录制的声场或该声场的近似声场。在第一和第二换能器被提供用来分别发送音频信号的情况下,由一个或多个换能器播放两个信号的和会得到相似效果,尤其是如果两个换能器很近时。全部三个换能器(或者根据情况可以是四个换能器)与相同的部分封闭的空间相连通具有两个明显的好处。第一,这简化了设备(特别是外壳)的机械构造,不需要构造隔离装置或气门来使换能器分离。对于所给的换能器,这可以降低所需外壳的总体大小,和/或能够允许在外壳中安装其他组件。同样的,这可以使得被安排用来发送差信号的一对扬声器能够被合并到现有的单声道或立体声设备的外壳内的可用空间中,从而在不需要增加外壳的大小的情况下,使装备能够被重新设计来再现立体声或改善的立体声音频信号。第二,这增加了在换能器的输出之间的交互,这种增加的交互能够给由设备再现的声音添加提高的感觉深度和宽度。Stereo reproduction and difference systems are generally thought to work by modifying the playback audio and signal by varying amounts at different locations from the playback difference signal to recreate the originally recorded sound field, or an approximation of that sound field. Where the first and second transducers are provided to send audio signals separately, playing the sum of the two signals by one or more transducers will have a similar effect, especially if the two transducers are in close proximity hour. Having all three transducers (or possibly four as the case may be) communicate with the same partially enclosed space has two distinct benefits. First, this simplifies the mechanical construction of the device (particularly the housing), eliminating the need to construct isolators or valves to separate the transducers. This can reduce the overall size of the housing required for a given transducer, and/or can allow other components to be mounted in the housing. Likewise, this would enable a pair of loudspeakers arranged to transmit a difference signal to be incorporated into the available space within the enclosure of an existing mono or stereo device, thereby, without increasing the size of the enclosure, Enables equipment to be redesigned to reproduce stereo or improved stereo audio signals. Second, this increases the interaction between the outputs of the transducers which can add increased perceived depth and width to the sound reproduced by the device.

根据本发明的第三个方面,提供了一种用于再现立体声的设备,该设备包括被安排成置于大致平坦的表面上或邻近大致平坦的表面的外壳,被安排用来生成两个音频信号中的一个音频信号或者两个音频信号的和的第一换能器,以及两个换能器,该两个换能器中的每一个被安排用来再现包括所述两个音频信号的差的信号,其中被安排用来再现包括所述两个音频信号的差的信号的所述换能器的每个被安排成使主要在通常位于右角处的方向上的输出成为在第一换能器被安排为使其输出主要位于的方向上,以及其中被安排用来再现包括所述两个音频信号的差的信号的所述换能器相对于外盒被安排,从而使得当外壳被置于大致平坦的表面上或邻近大致平坦的表面时,两个换能器都被定向为使其输出主要在向表面的平面延伸的方向上。According to a third aspect of the present invention there is provided a device for reproducing stereophonic sound, the device comprising a housing arranged to be placed on or adjacent to a substantially flat surface, arranged to generate two audio a first transducer of one of the audio signals or the sum of the two audio signals, and two transducers, each of which is arranged to reproduce the audio signal comprising the two audio signals difference signal, wherein each of said transducers arranged to reproduce a signal comprising the difference of said two audio signals is arranged such that the output mainly in a direction generally at the right corner becomes the first transducer The transducer is arranged such that its output is mainly located in a direction, and wherein said transducer arranged to reproduce a signal comprising the difference of said two audio signals is arranged relative to the outer box such that when the outer casing is When placed on or adjacent to a substantially flat surface, both transducers are oriented such that their outputs are primarily in a direction extending toward the plane of the surface.

通过使再现差信号的换能器的输出朝向表面,其中设备靠着所述表面被使用,任何由表面引起的表面效应被增强,其中所述表面效应通常被发现用来改善设备的输出。By orienting the output of the transducer reproducing the difference signal toward the surface against which the device is used, any surface-induced surface effects that are normally found to improve the output of the device are enhanced.

所述第一换能器被安排成再现两个音频信号中的一个音频信号,优选地提供第二换能器来再现另一个信号,并且第一和第二换能器被优选安排将自身的输出指向在实质上平行的、空间分离的方向。The first transducer is arranged to reproduce one of the two audio signals, a second transducer is preferably provided to reproduce the other signal, and the first and second transducers are preferably arranged to combine their own The outputs are directed in substantially parallel, spatially separated directions.

如果合适的话,根据本发明的任何方面的设备可以包括本发明的另一个方面的任何或全部附加特征。A device according to any aspect of the invention may include any or all of the additional features of another aspect of the invention, as appropriate.

下面涉及本发明的所有方面的可选特征。The following relate to optional features of all aspects of the invention.

每个换能器可以是扩音器。扩音器可以包括被安排用来驱动扩音器元件的驱动器,比如,其中所述扩音器元件可以是呈诸如截头圆锥形状或基本平坦的形状的任何合适形状的振动膜。Each transducer may be a microphone. The loudspeaker may comprise a driver arranged to drive a loudspeaker element, eg, wherein the loudspeaker element may be a diaphragm of any suitable shape, such as a frusto-conical shape or a substantially flat shape.

被安排用来再现包括所述音频信号的差的信号(“差信号”)的所述换能器被优选安排用来再现基本上彼此异相的信号,并将两个异相信号的方向定为不同的方向(优选为大致相反的方向)。异相信号优选为相位相差180度。Said transducers arranged to reproduce a signal comprising the difference of said audio signal ("difference signal") are preferably arranged to reproduce signals substantially out of phase with each other and to orient the direction of the two out of phase signals in different directions (preferably substantially opposite directions). The out-of-phase signals are preferably 180 degrees out of phase.

外壳优选具有两个开口,通过所述两个开口发送两个差信号。外壳被安排成置于平坦的表面上或邻近平坦的表面,优选地,开口为被放置在外壳上从而使得当外壳被置于平坦的表面上或邻近平坦的表面的时候,开口位于邻近表面处。优选地,外壳包括至少一个大致平坦的表面。这可以形成外壳的底面,使外壳能够置于平坦的表面上,或者可以形成外壳的侧面,使外壳能够邻近诸如墙面的平坦表面。可替换地或另外地,外壳可以包括从邻近该开口或邻近每个开口处延伸的一个或多个平坦的表面。将该开口或每个开口安排成能够位于邻近表面处使得表面效应能够被使用。如下面进一步所讨论的,将差信号安排成沿着平坦表面播放增强了差信号,并且进而增强了和差系统再现的声音的宽度和深度的总体感觉。The housing preferably has two openings through which the two difference signals are routed. The housing is arranged to be placed on or adjacent to a flat surface, preferably the opening is placed on the housing such that when the housing is placed on or adjacent to a flat surface, the opening is located adjacent to the surface . Preferably, the housing includes at least one substantially planar surface. This may form the bottom of the housing, allowing the housing to rest on a flat surface, or may form the sides of the housing, enabling the housing to be adjacent to a flat surface such as a wall. Alternatively or additionally, the housing may include one or more planar surfaces extending from adjacent the opening or adjacent each opening. The or each opening is arranged to be able to be located adjacent to the surface so that surface effects can be used. As discussed further below, arranging the difference signal to be played along a flat surface enhances the difference signal, and in turn enhances the overall perception of width and depth of the sound reproduced by the sum and difference system.

外壳也可以包括开口,通过所述开口可发送包括所提供的两个音频信号的和的信号。可替换的,外壳包括一个或两个开口,通过所述开口分别发送音频信号。外壳还可以包括另外的开口,形成气门(port),当低频被再现时该气门作为通入至少部分封闭的空间的减压阀。该气门可以通向在由外壳形成的至少部分封装中延伸的导管(conduit)或管(tube)。除了提供有气门以外,外壳可以是完全封闭的。The housing may also comprise an opening through which a signal comprising the sum of the two provided audio signals may be transmitted. Alternatively, the housing includes one or two openings through which audio signals are respectively sent. The housing may also comprise further openings forming ports which act as pressure relief valves into the at least partially enclosed space when low frequencies are reproduced. The valve may lead to a conduit or tube extending in at least part of the enclosure formed by the housing. In addition to being provided with a valve, the housing may be completely enclosed.

被安排用来再现差信号的两个换能器被定向为将其输出的方向定为主要在向大致平坦的表面或者外壳背靠的表面的平面延伸的方向上,优选地,使每个换能器的方向以1~8度之间的角度朝向表面,更优选地,以2~6度之间的角度朝向表面,进一步更优选地,以3~5度之间的角度朝向表面。外壳包括基本平坦的表面,如上所述,被安排用来再现差信号的换能器可以相对于该表面的平面被定向,该平面基本对应于该所述换能器所放置或者邻近着的任何基本平坦的表面的平面。The two transducers arranged to reproduce the difference signal are oriented to direct their output mainly in a direction extending towards the plane of the substantially flat surface or surface against which the housing is backed, preferably such that each transducer The direction of the transducer is towards the surface at an angle between 1° and 8°, more preferably between 2° and 6°, and even more preferably between 3° and 5°. The housing comprises a substantially planar surface, relative to which a transducer arranged to reproduce the difference signal, as described above, may be oriented relative to a plane corresponding substantially to any surface on which said transducer is placed or adjacent. The plane of a substantially flat surface.

所述设备可以被用于使用所述和差系统来再现双声道立体声信号。在该情况下,利用包括或者优选地只由两个立体声道的差组成的信号驱动用于再现两个异相差信号的换能器,以及利用包括或者只由两个立体声道的和组成的信号驱动第三换能器。The device may be used to reproduce a two-channel stereophonic signal using the sum-and-difference system. In this case, the transducer for reproducing the two out-of-phase difference signals is driven with a signal comprising or preferably only consisting of the difference of the two stereo channels, and with a signal comprising or preferably consisting only of the sum of the two stereo channels Drives the third transducer.

设备可以包括和差矩阵以实现这些。The device may include sum and difference matrices to achieve this.

可替换地,设备可以被用于使用两个空间上分离的换能器的传统的安排来再现双声道立体声信号,其中每个换能器用于两个立体声道中的一者,还需补充用于再现异两个相位差信号的换能器,这两个换能器由包括和优选地只由两个立体声道的差组成的信号来驱动。Alternatively, the device may be used to reproduce a two-channel stereo signal using a conventional arrangement of two spatially separated transducers, each for one of the two stereo channels, supplemented with For transducers that reproduce two phase-difference signals, the two transducers are driven by a signal that consists of, and preferably consists of, only the difference of the two stereo channels.

在任何情况下,可以过滤差信号以降低低频的振幅。包括在和信号或者用于驱动两个换能器的立体声信号的单个声道中的低频可以被增强。设备可以包括高通滤波器和/或低音提升补偿电路。可以发现,增强由再现两个音频信号的和或单个分量的换能器发送的低频,以及降低或者消除由再现差信号的换能器发送的低频都会导致再现的声音的深度和感受的进一步改善。这也在下面进一步讨论。In any case, the difference signal can be filtered to reduce the amplitude of low frequencies. Low frequencies included in the sum signal or a single channel of the stereo signal used to drive the two transducers may be boosted. The device may include a high pass filter and/or a bass boost compensation circuit. It has been found that boosting the low frequencies sent by the transducer that reproduces the sum or individual components of the two audio signals, and reducing or eliminating the low frequencies sent by the transducer that reproduces the difference signal, leads to a further improvement in the depth and perception of the reproduced sound . This is also discussed further below.

可以在被安排用来容纳将要提供立体声信号以驱动换能器的装置的外壳中提供所述设备。具体地,所述装置可以包括在MP3播放器或者其他便携式音乐播放装置的对接站(docking station)中。可替换地,装置可以包括用于产生立体声信号以驱动换能器的装置或者相关组件,例如音频调谐器。The device may be provided in a housing arranged to accommodate means that is to provide a stereo signal to drive the transducer. In particular, the device may be included in a docking station for an MP3 player or other portable music playback device. Alternatively, the apparatus may comprise means or related components for generating a stereo signal to drive the transducer, such as an audio tuner.

附图说明 Description of drawings

为了更清楚的了解本发明,现在以示例的方式参考附图描述本发明的实施方式,其中:For a clearer understanding of the present invention, embodiments of the present invention are now described by way of example with reference to the accompanying drawings, in which:

图1是根据本发明的扬声器单元的透视图;Figure 1 is a perspective view of a speaker unit according to the present invention;

图2是沿图1的a-a和b-b线构成的平面截取的截面图;Fig. 2 is a sectional view taken along the plane formed by a-a and b-b line of Fig. 1;

图3是沿图1的a-a和c-c线构成的平面截取的截面图;Fig. 3 is a sectional view taken along the plane formed by a-a and c-c lines of Fig. 1;

图4是与图1的单元相关的电路的框图;Figure 4 is a block diagram of circuitry associated with the unit of Figure 1;

图5是根据本发明的扬声器单元的另一种实施方式的前剖视图;5 is a front sectional view of another embodiment of the speaker unit according to the present invention;

图6是图5的实施方式的侧面剖视图;Figure 6 is a side cross-sectional view of the embodiment of Figure 5;

图7是与图5的单元相关的电路的框图;Figure 7 is a block diagram of circuitry associated with the unit of Figure 5;

图8是加入了根据本发明的扬声器单元的电视机的示意性的透视图;Fig. 8 is a schematic perspective view of a TV set incorporating a speaker unit according to the present invention;

图9是从上方看的背靠墙放置的图8的电视机的截面图。Fig. 9 is a cross-sectional view of the television set of Fig. 8 placed against a wall, viewed from above.

具体实施方式 Detailed ways

在下文中,使用了诸如前部、后部、顶部、底部等等术语,这些术语指相对于示出的或者要被使用的设备的方向。这些术语只是为了方便而使用,并不应理解为限制。In the following, terms such as front, rear, top, bottom etc. are used to refer to a direction relative to the device shown or to be used. These terms are used for convenience only and should not be construed as limiting.

参考附图,图1-4显示了根据本发明的和差扬声器单元。该单元可以合并用于再现音频信号的装置(未示出),例如调谐器,诸如DAB调谐器、光盘播放器或者MP3播放器。Referring to the drawings, Figures 1-4 show a sum-difference loudspeaker unit according to the present invention. The unit may incorporate means (not shown) for reproducing audio signals, eg a tuner, such as a DAB tuner, a compact disc player or an MP3 player.

该单元包括外壳1,所述外壳1的外部通常是立方形。该外壳由硬板制造,但也可以由其他任何合适的材料制造,例如通常用于制造扬声器外壳的材料。在外壳的前方形成大体上圆形的孔(未示出),所述孔由格栅或者其他声音基本可透过的覆盖物遮盖。The unit comprises a housing 1 whose exterior is generally cuboidal. The housing is manufactured from rigid board, but may be manufactured from any other suitable material, such as is commonly used to manufacture loudspeaker housings. A generally circular aperture (not shown) is formed in the front of the housing and is covered by a grille or other substantially sound permeable covering.

在外壳1的两个相对侧壁4的每个侧壁上分别形成大体上圆形的孔3,并且每个孔由格栅5或者其他声音基本可透过的覆盖物遮盖。所述孔的每一个位于大约沿路的中部,并邻近着形成孔的侧壁4的底边。A substantially circular hole 3 is respectively formed in each of the two opposite side walls 4 of the housing 1, and each hole is covered by a grille 5 or other substantially sound-permeable covering. Each of said apertures is located approximately in the middle along the way, adjacent to the bottom edge of the side wall 4 forming the aperture.

朝着外壳1的底侧6的后部还提供有另一个大体上圆形的孔。外壳的底侧是基本平坦的,使得外壳能够通过将其底侧置于基本平坦的表面上而得到支撑。Towards the rear of the bottom side 6 of the housing 1 there is also provided another substantially circular hole. The bottom side of the housing is substantially flat such that the housing can be supported by placing its bottom side on a substantially flat surface.

在外壳的顶部和后部不形成孔。Holes are not formed on the top and rear of the housing.

单个扬声器7安装在单元的前部的内侧以填入形成在单元的前部的孔。扬声器是传统类型的,并且包括被安排用来驱动大体上截头圆锥体形状的隔膜9的驱动器8。扬声器7被安排用来通过单元前部中的孔发送音频信号。A single speaker 7 is installed inside the front of the unit to fill a hole formed in the front of the unit. The loudspeaker is of conventional type and comprises a driver 8 arranged to drive a diaphragm 9 of generally frusto-conical shape. A speaker 7 is arranged to transmit audio signals through a hole in the front of the unit.

单个扬声器10也在安装在单元的每个侧壁4的内侧,填入侧壁中的孔。每个扬声器10也包括驱动器8和大体上截头圆锥体形状的隔膜9。每个扬声器10以一定角度相对于侧壁4安装在侧壁上,从而使得其隔膜9的中心轴(以虚线示出)向着单元底侧6的平面的延伸部分进行延伸,同时轴是从单元向外延伸的。每个扬声器10被安装从而使得其隔膜9的中心轴会以大约4度的角度与单元底侧的平面的延伸部分交叉。因而,安装在单元的侧壁4上的两个扬声器10的隔膜的轴分别会以大约172度的角度彼此交叉。A single loudspeaker 10 is also mounted on the inside of each side wall 4 of the unit, filling the holes in the side walls. Each loudspeaker 10 also comprises a driver 8 and a diaphragm 9 of generally frusto-conical shape. Each loudspeaker 10 is mounted on the side wall at an angle relative to the side wall 4 such that the central axis of its diaphragm 9 (shown in phantom) extends towards the extension of the plane of the unit bottom side 6, while the axis is from the unit. extended outward. Each loudspeaker 10 was mounted so that the central axis of its diaphragm 9 would intersect the extension of the plane of the bottom side of the unit at an angle of about 4 degrees. Thus, the axes of the diaphragms of the two loudspeakers 10 mounted on the side wall 4 of the unit respectively cross each other at an angle of approximately 172 degrees.

在可替换的安排中,每个扬声器10可以安装在靠近外壳1的侧壁4的内侧,但空间上与外壳1的侧壁4的内侧分离的位置。In an alternative arrangement, each loudspeaker 10 may be mounted in a position close to, but spatially separated from, the inside of the side wall 4 of the enclosure 1 .

硬纸管11安装在单元底侧6的内侧,在形成在单元底侧中的孔之上并伸入单元中。管11形成气门。气门和全部三个扬声器在装置内共享相同的声学环境。A cardboard tube 11 is mounted inside the unit bottom side 6, over a hole formed in the unit bottom side and protrudes into the unit. Tube 11 forms a valve. The valves and all three speakers share the same acoustic environment within the unit.

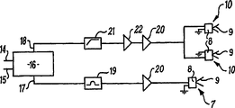
扬声器单元与图4中显示的电子电路相关。电路组件最好可以放置在外壳1内或者单独放置。电路组件可以和其他组件一起放置在外壳内,尤其是和被安排用来生成音频信号的组件一起放置,例如调谐器。The speaker unit is associated with the electronic circuit shown in Figure 4. Preferably, the circuit components can be placed inside the casing 1 or placed separately. The circuit component may be placed in the housing together with other components, in particular components arranged to generate audio signals, such as a tuner.

电路包括连接到和差矩阵变换单元16的两个输入端14,15。和差矩阵变换单元16被安排用来产生两个输出:位于17处的和输出,该和输出包括位于14和15处的输入的和(14+15);以及位于18处的差输出,该差输出包括位于14和15处的输入的差(14-15)。The circuit comprises two inputs 14 , 15 connected to a sum-difference matrix transformation unit 16 . The sum-difference matrix transformation unit 16 is arranged to produce two outputs: a sum output at 17, which includes the sum (14+15) of the inputs at 14 and 15; and a difference output at 18, which The difference output comprises the difference of the inputs at 14 and 15 (14-15).

和输出端18被连接到低音提升补偿电路19。这给信号的低频成分增加了大约3dB的增益,所述信号的低频成分通常是40与500Hz之间的频率。低音提升补偿电路的输出通过功率放大器20被连接到安装在单元的前部的孔后面的扬声器7(“单声道扬声器”)。And the output terminal 18 is connected to the bass boost compensation circuit 19. This adds approximately 3dB of gain to the low frequency content of the signal, typically frequencies between 40 and 500 Hz. The output of the bass boost compensation circuit is connected via a power amplifier 20 to a speaker 7 ("mono speaker") mounted behind a hole in the front of the unit.

差输出18连接到高通滤波器21,该高通滤波器21可操作用来把对低于100Hz的频率的振幅降低至少3dB。过滤的信号然后被放大器22提供大约4dB的增益,放大器22的输出通过功率放大器20被连接到位于单元的侧面4的孔3后面的扬声器10(“差扬声器”)。输出端被连接到两个差扬声器,从而使得当所述被差信号驱动时,两个扬声器生成的信号为异相(即反相)。The difference output 18 is connected to a high pass filter 21 operable to reduce the amplitude for frequencies below 100 Hz by at least 3 dB. The filtered signal is then provided with a gain of about 4dB by amplifier 22, the output of which is connected via power amplifier 20 to loudspeaker 10 located behind aperture 3 in side 4 of the unit ("differential loudspeaker"). The outputs are connected to two difference speakers such that when driven by the difference signal, the signals generated by the two speakers are out of phase (ie out of phase).

与差扬声器10相关的功率放大器20只需要具有与单声道扬声器7相关的功率输出的大约10%~20%。The power amplifier 20 associated with the differential speaker 10 need only have about 10-20% of the power output associated with the mono speaker 7 .

扬声器单元要使用和差系统来再现传统的双声道立体声信号。在使用中,优选地,所述单元被至于平坦的表面23之上,该平坦的表面向单元的所有方向延伸。立体声信号的双声道(左和右)然后被分别提供给和差矩阵变换单元16的两个输入端14和15。理想情况,听者应该位于朝向单元的前部,但也可以位于单元的后面。虽然单元能够使听者在宽广的区域内欣赏立体声记录的深度和宽度效果,深度和宽度效果在穿过单声道扬声器7延伸的轴上或者接近轴的位置处(即基本垂直外壳1的前部)检测得到的效果最佳。深度和宽度效果在位于穿过导管差扬声器(duct difference loudspeaker)10延伸的轴上的位置处(即基本垂直外壳1的侧面4)最差。The loudspeaker unit uses a sum-and-difference system to reproduce a traditional two-channel stereo signal. In use, the unit is preferably positioned on a flat surface 23 which extends in all directions towards the unit. The two channels (left and right) of the stereophonic signal are then supplied to the two inputs 14 and 15 of the sum-difference matrix transformation unit 16, respectively. Ideally, the listener should be located toward the front of the unit, but can also be located at the rear of the unit. While the unit enables the listener to appreciate the depth and width effects of a stereo recording over a wide area, the depth and width effects are at or near the axis extending through the mono speaker 7 (i.e. substantially perpendicular to the front of the enclosure 1). Part) the detection effect is the best. The depth and width effects are worst at positions lying on the axis extending through the duct difference loudspeaker 10 (ie substantially perpendicular to the side 4 of the housing 1).

所述扬声器单元相对传统的和差扬声器具有重大的优势。外壳1限定了所有扬声器共享的单声学封装。这使制造简化,并且不需要为了提供独立声学封装对外壳的内部进行分割,并在外壳内为电子和相关组件提供了更多空间。最大化空间的利用率在紧凑装置的制造中是很重要的。使三个扬声器共享相同的声学封装也提高了和差扬声器的输出之间的可能的交互。由硬纸管11形成的气门以及其相关的孔用作低频的减压阀。The loudspeaker unit has significant advantages over conventional sum-and-difference loudspeakers. Enclosure 1 defines a single acoustic enclosure shared by all loudspeakers. This simplifies manufacturing and eliminates the need to partition the interior of the enclosure to provide a separate acoustic package, and provides more room within the enclosure for electronics and related components. Maximizing space utilization is important in the manufacture of compact devices. Having the three loudspeakers share the same acoustic package also improves the possible interaction between the outputs of the different loudspeakers. The air valve formed by the cardboard tube 11 and its associated hole acts as a pressure relief valve for low frequencies.

将差扬声器邻近着外壳侧面的底边使得当外壳被置于表面上时,例如置于地板上或一件家具的顶部时,能够利用表面效应。以这种方式放置扬声器利用了表面效应。当紧密接近平坦的表面(理想情况下,线性尺寸大于声音内的最低频的波长的平坦的表面)再现声音时,来自表面的声音反射具有使围绕表面的声音加强的效果。这样,与理论的平方反比定律相比较,远离声源的声压等级降低到更低的等级。实践中,通过差扬声器10发送的差信号的声级被提高大约8~10dB。这提高了再现的声音中的深度和宽度效果。将差扬声器以一定角度安装从而使得扬声器稍微对着所述单元所置于的表面,进一步有助于对表面效应的利用。将差扬声器10以一定角度放置的另一个好处是,因为扬声器没有共享公共的轴,所以降低了在外壳内形成中频驻波的趋势。这是不想要的,因为这可能削弱由所述单元再现的声音的总体质量。另一个优点是,差扬声器成角度给由装置生成的主要空间声音图像提供引导元素。Placing the differential speakers adjacent to the bottom edges of the sides of the enclosure enables the use of surface effects when the enclosure is placed on a surface, for example the floor or the top of a piece of furniture. Placing speakers in this way takes advantage of surface effects. When sound is reproduced in close proximity to a flat surface (ideally, a flat surface with a linear dimension greater than the lowest frequency wavelength within the sound), sound reflections from the surface have the effect of intensifying the sound around the surface. In this way, the sound pressure level away from the sound source is reduced to a lower level compared to the theoretical inverse square law. In practice, the sound level of the difference signal transmitted through the difference loudspeaker 10 is increased by about 8-10 dB. This improves the effect of depth and width in the reproduced sound. Mounting the differential loudspeaker at an angle so that the loudspeaker is slightly facing the surface on which the unit rests further helps to take advantage of surface effects. Another benefit of placing the differential loudspeakers 10 at an angle is that since the loudspeakers do not share a common axis, the tendency to form mid-frequency standing waves within the enclosure is reduced. This is undesirable as it may impair the overall quality of the sound reproduced by the unit. Another advantage is that the differential speaker angles provide a guiding element to the primary spatial sound image generated by the device.

通过处理进入的声音信号也可以获得性能改善。与较大的单声道扬声器7再现的低频声音相比,由差扬声器10再现的低频声音相对较差。这部分由于较小的扬声器再现低频的固有的降低的能力,并且也由于由两个扬声器产生的异相信号之间的相互消除,由于低频固有的长波长,所述相互消除预期在低频发生。虽然可以通过进一步分离两个差扬声器来减少相互消除问题,但是所需分离不切实际。取而代之的是,通过增强驱动单声道扬声器7的和信号中的低频的振幅,来对差扬声器10再现的低频进行补偿。这反过来使低频能够通过高频滤波器21装置从差信号中被截掉,改善了音频差信号的完整性。Performance improvements can also be obtained by processing incoming sound signals. The low frequency sound reproduced by the poor speaker 10 is relatively poor compared to the low frequency sound reproduced by the larger monaural speaker 7 . This is due in part to the inherently reduced ability of smaller speakers to reproduce low frequencies, and also to mutual cancellation between the out-of-phase signals produced by the two speakers, which is expected to occur at low frequencies due to their inherently long wavelengths. While the mutual cancellation problem could be reduced by further separating the two poor speakers, the required separation is impractical. Instead, the low frequencies reproduced by the poor speaker 10 are compensated by boosting the amplitude of the low frequencies in the sum signal driving the mono speaker 7 . This in turn enables low frequencies to be cut from the difference signal by high frequency filter 21 means, improving the integrity of the audio difference signal.

图5~7示出了根据本发明的扬声器单元的可替换的实施方式。除了被安排用来播放包括两个音频声道的和的单个扬声器10由被安排用来分别播放单个音频声道的两个扬声器代替以外,该单元基本与图1~4中显示的单元相似。Figures 5-7 show alternative embodiments of loudspeaker units according to the invention. The unit is substantially similar to that shown in Figures 1-4, except that the single speaker 10 arranged to play the sum of two audio channels is replaced by two speakers arranged to play the individual audio channels respectively.

图5~7的实施方式包括外壳25,所述外壳外表上通常是立方形。该外壳由硬板制造,但也可以由其他任何合适的材料制造,例如通常用于制造扬声器外壳的材料。在外壳25的前部(未图示)形成两个大体上圆形的孔(未图示),所述两个孔由格栅或者其他声音基本可透过的覆盖物遮盖。在外壳25的两个相对侧壁26的每个侧壁上各形成一个较小的、大体上圆形的孔33,并且每个孔由格栅34或者其他声音基本可透过的覆盖物遮盖。所述孔的每一个位于大约沿路的中部,并邻近着形成孔的侧壁26的底边。The embodiment of Figures 5-7 includes a housing 25 which is generally cuboidal in appearance. The housing is manufactured from rigid board, but may be manufactured from any other suitable material, such as is commonly used to manufacture loudspeaker housings. In the front (not shown) of the housing 25 are formed two generally circular holes (not shown) which are covered by a grill or other substantially sound permeable covering. A smaller, generally circular aperture 33 is formed in each of the two opposing side walls 26 of the housing 25, and each aperture is covered by a grille 34 or other substantially sound permeable covering. . Each of the apertures is located approximately midway along the way, adjacent to the bottom edge of the aperture-forming side wall 26 .

朝着外壳25的底侧27的后部还有一个大体上圆形的孔。外壳的底侧是基本平坦的,使得外壳能够被其底侧支撑在基本平坦的表面上。There is also a generally circular aperture towards the rear of the bottom side 27 of the housing 25 . The bottom side of the housing is substantially flat such that the housing can be supported by its bottom side on a substantially flat surface.

在外壳的顶部和后部不形成孔。Holes are not formed on the top and rear of the housing.

扬声器28、29安装在单元的前部的内侧以填入形成在单元的前部的孔。扬声器是传统类型的,并且包括被安排用来驱动大体上截头圆锥体形状的隔膜31的驱动器30。扬声器28、29被安排用来分别通过单元前部中的孔发送音频信号。Speakers 28, 29 are mounted inside the front of the unit to fill holes formed in the front of the unit. The loudspeaker is of conventional type and comprises a driver 30 arranged to drive a diaphragm 31 of generally frusto-conical shape. Loudspeakers 28, 29 are arranged to transmit audio signals respectively through holes in the front of the unit.

单个扬声器32也安装在在单元的每个侧壁26的内侧,填入侧壁中的孔。每个扬声器32也包括驱动器30和大体上截头圆锥体形状的隔膜31。以和图2中所示的单元相同的方式,每个扬声器32以相对于侧壁26一定角度安装在侧壁上,从而使得其隔膜的中心轴向着单元底侧27的平面的延伸部分延伸,同时轴从单元向外延伸。A single speaker 32 is also mounted on the inside of each side wall 26 of the unit, filling the hole in the side wall. Each loudspeaker 32 also includes a driver 30 and a diaphragm 31 of generally frusto-conical shape. In the same manner as the unit shown in FIG. 2 , each loudspeaker 32 is mounted on the side wall at an angle relative to the side wall 26 so that the central axis of its diaphragm extends towards the extension of the plane of the unit bottom side 27 , with the axis extending outward from the cell.

在可替换的安排中,每个扬声器10可以安装在靠近外壳1的侧壁4的内侧,但空间上与外壳1的侧壁4的内侧分离的位置。In an alternative arrangement, each loudspeaker 10 may be mounted in a position close to, but spatially separated from, the inside of the side wall 4 of the enclosure 1 .

硬纸管35安装在单元底侧27的内侧,在形成在单元底侧中的孔之上并伸入单元中。管形成气门。气门和全部四个扬声器共享装置内的相同的声学环境。由硬纸管35形成的气门以及其相关的孔用作低频的减压阀。A cardboard tube 35 fits inside the unit bottom side 27, over a hole formed in the unit bottom side and protrudes into the unit. The tube forms the valve. The valves and all four speakers share the same acoustic environment within the installation. The air valve formed by the cardboard tube 35 and its associated hole acts as a pressure relief valve for low frequencies.

扬声器单元与图7中所示的电子电路相关。电路组件最好可以放置在外壳26内或者单独放置。电路组件可以和其他组件一起放置在外壳内,尤其是和被安排用来生成音频信号的组件一起放置,例如调谐器。The speaker unit is associated with the electronic circuit shown in FIG. 7 . The circuit assembly may preferably be housed within housing 26 or separately. The circuit component may be placed in the housing together with other components, in particular components arranged to generate audio signals, such as a tuner.

电路包括两个输入端36,37。所述输入端分别通过低音提升补偿电路38和功率放大器39分别连接到扬声器28和29。低音提升补偿电路38给信号的低频成分增加了大约3dB的增益,所述信号的低频成分通常是40与500Hz之间的频率。The circuit comprises two inputs 36,37. The input ends are respectively connected to speakers 28 and 29 through a bass boost compensation circuit 38 and a power amplifier 39 . Bass boost compensation circuit 38 adds approximately 3dB of gain to the low frequency content of the signal, typically frequencies between 40 and 500 Hz.

两个电路输入端36和37也被连接到减法电路40,该减法电路输出在输入端36和37处接收的信号的差。差输出端连接到高通滤波器,该高通滤波器41可操作用来把低于100Hz的频率的振幅降低至少3dB。过滤的信号然后被放大器42提供大约4dB的增益,放大器42的输出通过功率放大器43被连接到位于单元的侧面4的孔3后面的扬声器30(“差扬声器”)。输出端被连接到两个差扬声器,从而当所述两个差扬声器被差信号驱动时,使得两个扬声器生成的信号为异相(即反相)。更具体地,邻近着扬声器28的差扬声器用信号来驱动,其中所述信号所包含的在输入端36接收的信号小于其所包含的在输入端37接收的信号,另一差扬声器(由于其相反的极性)也用信号有效地驱动,其中所述信号所包含的在输入端37接收的信号小于其所包含的在输入端36接收的信号。The two circuit inputs 36 and 37 are also connected to a subtraction circuit 40 which outputs the difference of the signals received at the inputs 36 and 37 . The difference output is connected to a high pass filter 41 operable to reduce the amplitude of frequencies below 100 Hz by at least 3 dB. The filtered signal is then provided with a gain of approximately 4dB by an amplifier 42 whose output is connected via a power amplifier 43 to the loudspeaker 30 located behind the aperture 3 in the side 4 of the unit ("differential loudspeaker"). The output is connected to the two difference speakers so that when the two difference speakers are driven by the difference signal, the signals generated by the two speakers are out of phase (ie anti-phase). More specifically, the differential speaker adjacent to speaker 28 is driven with a signal comprising a signal received at input 36 that is smaller than the signal it contains received at input 37, and the other differential speaker (due to its The opposite polarity) is also effectively driven with a signal that contains a signal received at input 37 that is smaller than the signal it contains received at input 36 .

与差扬声器10相关联的功率放大器43只需要具有与其他扬声器28、29相关联的功率放大器的功率输出的大约10%~20%。The power amplifier 43 associated with the difference loudspeaker 10 need only have about 10-20% of the power output of the power amplifiers associated with the other loudspeakers 28 , 29 .

所述扬声器单元要再现利用和差系统的一些特性的传统的双声道立体声信号。在使用中,所述单元被优选地置于平坦的表面44之上,该平坦的表面围绕单元的各侧延伸。立体声信号的双声道(左和右)然后被分别提供给两个输入端36和37。两个前扬声器28和29然后会分别输出左和右信号,表现为传统的双扬声器立体声系统的方式。两个侧扬声器会分别输出包括左-右和右-左信号的信号,其中邻近着输出左信号的前扬声器的侧扬声器输出左-右信号,反之亦然。与单独使用两个前扬声器相比,提供侧扬声器输出差信号提高了从立体声信号可得到的深度和宽度。理想情况,听者应该位于朝向单元的前部,但也可以位于单元的后面。The loudspeaker unit is to reproduce a traditional two-channel stereophonic signal utilizing some properties of the sum-and-difference system. In use, the unit is preferably placed on a flat surface 44 which extends around the sides of the unit. The two channels (left and right) of the stereo signal are then supplied to two inputs 36 and 37 respectively. The two front speakers 28 and 29 will then output left and right signals respectively, in the manner of a conventional two-speaker stereo system. The two side speakers output signals including left-right and right-left signals, respectively, wherein a side speaker adjacent to the front speaker outputting the left signal outputs a left-right signal, and vice versa. Providing a side speaker output difference signal increases the depth and width obtainable from a stereo signal compared to using the two front speakers alone. Ideally, the listener should be located toward the front of the unit, but can also be located at the rear of the unit.

所述单元将传统的双扬声器立体声扬声器技术与和差技术的方面相结合,结果实现了改善上述两项技术的系统。本发明也提供了传统的双扬声器立体声单元可以被修改以提高立体声信号的再现的方式,该方式通过增加差扬声器来实现。对于传统的左和右扬声器被很近地安装在一起的单元来讲,所述改进相当显著。与传统的和差扬声器单元相比,所述扬声器单元和上述第一实施方式一样比传统的和差扬声器安排有更多的优点。The unit combines traditional two-speaker stereo speaker technology with aspects of sum-and-difference technology, resulting in a system that improves on both of the aforementioned technologies. The invention also provides the manner in which a conventional two-speaker stereo unit can be modified to improve the reproduction of a stereo signal by adding a difference speaker. For a conventional unit where the left and right loudspeakers are mounted very close together, the improvement is quite significant. Compared to conventional sum-and-difference loudspeaker units, the loudspeaker unit, like the first embodiment described above, has further advantages over conventional sum-and-difference loudspeaker arrangements.

图8和9显示了图5~7的安排如何被加入到电视机或者显示器中。电视机包括外壳50,安装在其前部的是屏幕51。两个空间上分离的扬声器52也安装在外壳50的前部。这两个扬声器对应于图5~7的实施方式的扬声器28和29,并被安排用来播放传统的双声道立体声信号的左和右声道。在外壳后部的两侧是面板53,该面板53以大约45°的角度向外壳的前部延伸。对应于图5~7的安排的扬声器32的扬声器54分别安装在所述面板上,所述扬声器54被安排用来分别播放包括传统的双声道音频信号的左和右音频声道之间的差的异相信号。电视机的后部是平坦的并且通常与前部平行。在使用中,电视机的后部要被置于邻近着平坦的表面,比如房间的墙壁55。这样,对着电视机的后部的扬声器54部分朝着墙,利用了表面效应的优势。Figures 8 and 9 show how the arrangement of Figures 5-7 could be incorporated into a television or monitor. The television set comprises a housing 50, mounted on the front of which is a screen 51. Two spatially separated loudspeakers 52 are also mounted on the front of the housing 50 . These two speakers correspond to the speakers 28 and 29 of the embodiment of Figs. 5-7, and are arranged to play the left and right channels of a conventional two-channel stereophonic signal. On either side of the rear of the housing are panels 53 which extend towards the front of the housing at an angle of approximately 45°. Loudspeakers 54 corresponding to the loudspeakers 32 of the arrangement of FIGS. Poor out-of-phase signal. The rear of the TV is flat and generally parallel to the front. In use, the rear of the television is to be placed adjacent to a flat surface, such as a wall 55 of a room. In this way, the part of the speaker 54 towards the rear of the television is towards the wall, taking advantage of the surface effect.

只以示例的方式描述了上面的实施方式,在不脱离本发明的情况下可以做出各种变化。The above embodiments have been described by way of example only, and various changes may be made without departing from the invention.

Claims (32)

1, a kind of reproduction of stereo sound equipment that is used for, this equipment comprises second transducer that is arranged to reproduce first transducer of an audio signal in two audio signals and is arranged to reproduce another signal, this equipment also comprises the transducer that one or two is other, and each in described one or two other transducer is arranged to reproduce the signal of the difference that comprises described two audio signals.
2, equipment according to claim 1, this equipment comprises the shell that defines partially enclosed at least space, one or more being installed on the described shell and with described partially enclosed space in the wherein said transducer is connected.
3, equipment according to claim 2, wherein all described transducers all are installed on the described shell and with described partially enclosed space and are connected.
4, according to the described equipment of aforementioned each claim, wherein said first transducer is arranged to substantially parallel and direction apart is pointed in the output of self with second transducer.
5, equipment according to claim 4, described one or two the other transducer that wherein is arranged to reproduce the signal of the difference that comprises described two audio signals are arranged to the output of self pointed to basically with described first transducer and second transducer and are arranged to roughly rectangular direction of the direction that the output of self is pointed basically.
6, a kind of reproduction of stereo sound equipment that is used for, this equipment comprises the shell that defines partially enclosed at least space, be arranged to generate a audio signal in two audio signals or these two audio signals and first transducer, and two transducers, in these two transducers each all is arranged to reproduce the signal of the difference that comprises described two audio signals, wherein above-mentioned three transducers all are connected with described partially enclosed at least space, and wherein are arranged to reproduce in the transducer of signal of the difference that comprises described two audio signals each and are arranged to the output of self pointed to basically with described first transducer and are arranged to roughly rectangular direction of the direction that the output of self is pointed basically.
7, equipment according to claim 6, wherein said first transducer are arranged to reproduce an audio signal in two audio signals, and second transducer is provided and is used for reproducing another signal.
8, equipment according to claim 7, wherein said first transducer is arranged to substantially parallel and direction apart is pointed in the output of self with second transducer.
9, a kind of reproduction of stereo sound equipment that is used for, this equipment comprises on the surface that is arranged to place general planar or the shell on the surface of contiguous general planar, be arranged to reproduce a audio signal in two audio signals or these two audio signals and first transducer, and two transducers, in these two transducers each all is arranged to reproduce the signal of the difference that comprises described two audio signals, each of described transducer that wherein is arranged to reproduce the signal of the difference that comprises described two audio signals is arranged to the output of self pointed to basically with described first transducer and is arranged to roughly rectangular direction of the direction that the output of self is pointed basically, and the described transducer that wherein is arranged to reproduce the signal of the difference that comprises described two audio signals is arranged with respect to described shell, be placed on the surface of general planar with the described shell of box lunch or during contiguous general planar surperficial, two transducers all are oriented the direction of extending towards the plane on described surface is pointed in the output of himself basically.
10, equipment according to claim 9, wherein said first transducer is arranged to reproduce an audio signal in described two audio signals, and second transducer be provided to reproduce another signal, and described first transducer and second transducer are arranged to substantially parallel and direction apart is pointed in the output of self.
11, according to the described equipment of aforementioned each claim, wherein each transducer is a loud speaker.
12, according to the described equipment of aforementioned each claim, one or two transducer that wherein is arranged to reproduce the signal of the difference that comprises two audio signals is arranged to reproduce basically the signal of out-phase each other, and two out-of-phase signals are pointed to different directions.
13, according to the described equipment of each claim in the claim 2,3,6,7,8,9 and 10, wherein said shell has two openings, sends the signal of the difference that comprises described two audio signals by described two openings.
14, equipment according to claim 13, wherein said shell is arranged to place on the surface of general planar or the surface of contiguous general planar, and described opening is positioned on the described shell, so that be placed on the smooth surface or contiguous smooth when surperficial the contiguous described surface of described opening when described shell.
15, according to claim 13 or 14 described equipment, wherein said shell comprises at least one fully smooth surface.
16, equipment according to claim 15, wherein said fully smooth surface forms the bottom surface and/or the side of described shell.
17, according to the described equipment of each claim in the claim 13~16, wherein said shell comprises from the one or more smooth surface of contiguous described opening or contiguous each opening extension.
18, according to the described equipment of each claim in the claim 2,3,6,7,8,9,10 and 13~17, wherein said shell comprises opening, by described opening send comprise described two audio signals and signal.
19, according to the described equipment of each claim in the claim 2,3,6,7,8,9,10 and 13~17, wherein said shell comprises one or two opening, sends described two audio signals respectively by described opening.
20, according to claim 18 or 19 described equipment, wherein said shell comprises other opening, and this opening forms valve, and this valve is as the pressure-reducing valve in described partially enclosed at least space.
21, equipment according to claim 20, wherein said valve lead to the conduit or the pipe that extend to the small part encapsulation that is being formed by described shell.
22, according to claim 20 or 21 described equipment, wherein except providing described valve, described shell is a complete closed.
23, equipment according to claim 9 or when right require in 10~22 a certain direct or indirect quote claim 9 time according to the described equipment of this claim, it is the direction that the angle between 1~8 degree is extended that two transducers that wherein are arranged to reproduce the signal of the difference that comprises described two audio signals are oriented the plane that the output of self is pointed to described relatively surface.
24, it is that angle between 1~8 degree is extended the direction of extending towards the plane on one or more smooth surfaces from contiguous described opening or contiguous each opening part that equipment according to claim 17, the transducer that wherein is arranged to reproduce the signal of the difference that comprises described two audio signals are oriented that direction with the output of himself is decided to be basically with described relatively surface.
25, according to claim 23 or 24 described equipment, the direction of wherein said transducer is decided to be the angle between plane 2~6 degree on described relatively surface.
26, according to claim 23 or 24 described equipment, the direction of wherein said transducer is decided to be the angle between plane 3~5 degree on described relatively surface.
27, use the described equipment of aforementioned each claim to reproduce the method for two channel stereo signal, the described transducer that wherein is used to reproduce the signal of the difference that comprises described two audio signals is driven by the signal of the difference that comprises described two stereo channels, and another transducer by comprise a stereo channels in described two stereo channels or these two stereo channels and signal drive.
28, use the described equipment of each claim in the claim 1~26 to reproduce the method for two channel stereo signal, the described transducer that wherein is used to reproduce the signal of the difference that comprises described two audio signals is driven by the signal of the difference that comprises described two stereo channels, and another drives respectively two sound channels of transducer by described audio signal.
29, according to the described equipment of aforementioned each claim, this equipment comprises the high pass filter of the low frequency amplitude in the difference that is arranged to reduce described two audio signals.
30, according to the described equipment of aforementioned each claim, this equipment comprises can be operated the base lift compensation circuits that is used for strengthening low frequency.
31, according to the described equipment of each claim in the claim 2,3,6,7,8,9,10 and 13~17, wherein said shell is arranged to hold and is used to provide stereophonic signal to drive the device of described transducer.
32, according to the described equipment of aforementioned each claim, this equipment comprises and is used for producing two channel stereo signal to drive the device of described transducer.
CN200780035223XA 2006-08-25 2007-08-21 Apparatus for reproduction of stereo sound Active CN101536541B (en)

Applications Claiming Priority (5)

Application Number Priority Date Filing Date Title
GB0616910A GB0616910D0 (en) 2006-08-25 2006-08-25 Apparatus for reproduction of stereo sound
GB0616910.6 2006-08-25
GB0618854.4 2006-09-25
GB0618854A GB0618854D0 (en) 2006-09-25 2006-09-25 Apparatus for reproduction of stereo sound
PCT/GB2007/003191 WO2008023167A1 (en) 2006-08-25 2007-08-21 Apparatus for reproduction of stereo sound

Publications (2)

Publication Number Publication Date
CN101536541A true CN101536541A (en) 2009-09-16
CN101536541B CN101536541B (en) 2012-08-08

Family

ID=37102860

Family Applications (1)

Application Number Title Priority Date Filing Date
CN200780035223XA Active CN101536541B (en) 2006-08-25 2007-08-21 Apparatus for reproduction of stereo sound

Country Status (2)

Country Link
CN (1) CN101536541B (en)
GB (1) GB0616910D0 (en)

Cited By (20)

* Cited by examiner, † Cited by third party
Publication number Priority date Publication date Assignee Title
CN104620602A (en) * 2013-06-12 2015-05-13 鹏奇欧维声学有限公司 System and method for stereo field enhancement in two-channel audio system
US9621994B1 (en) 2015-11-16 2017-04-11 Bongiovi Acoustics Llc Surface acoustic transducer
US9615813B2 (en) 2014-04-16 2017-04-11 Bongiovi Acoustics Llc. Device for wide-band auscultation
US9638672B2 (en) 2015-03-06 2017-05-02 Bongiovi Acoustics Llc System and method for acquiring acoustic information from a resonating body
US9741355B2 (en) 2013-06-12 2017-08-22 Bongiovi Acoustics Llc System and method for narrow bandwidth digital signal processing
US9793872B2 (en) 2006-02-07 2017-10-17 Bongiovi Acoustics Llc System and method for digital signal processing
US9883318B2 (en) 2013-06-12 2018-01-30 Bongiovi Acoustics Llc System and method for stereo field enhancement in two-channel audio systems
US9906858B2 (en) 2013-10-22 2018-02-27 Bongiovi Acoustics Llc System and method for digital signal processing
US9906867B2 (en) 2015-11-16 2018-02-27 Bongiovi Acoustics Llc Surface acoustic transducer
US10069471B2 (en) 2006-02-07 2018-09-04 Bongiovi Acoustics Llc System and method for digital signal processing
US10158337B2 (en) 2004-08-10 2018-12-18 Bongiovi Acoustics Llc System and method for digital signal processing
US10639000B2 (en) 2014-04-16 2020-05-05 Bongiovi Acoustics Llc Device for wide-band auscultation
US10701505B2 (en) 2006-02-07 2020-06-30 Bongiovi Acoustics Llc. System, method, and apparatus for generating and digitally processing a head related audio transfer function
CN111641898A (en) * 2020-06-08 2020-09-08 京东方科技集团股份有限公司 Sound production device, display device, sound production control method and device
US10820883B2 (en) 2014-04-16 2020-11-03 Bongiovi Acoustics Llc Noise reduction assembly for auscultation of a body
US10848867B2 (en) 2006-02-07 2020-11-24 Bongiovi Acoustics Llc System and method for digital signal processing
US10848118B2 (en) 2004-08-10 2020-11-24 Bongiovi Acoustics Llc System and method for digital signal processing
US10959035B2 (en) 2018-08-02 2021-03-23 Bongiovi Acoustics Llc System, method, and apparatus for generating and digitally processing a head related audio transfer function
US11211043B2 (en) 2018-04-11 2021-12-28 Bongiovi Acoustics Llc Audio enhanced hearing protection system
US11431312B2 (en) 2004-08-10 2022-08-30 Bongiovi Acoustics Llc System and method for digital signal processing

Family Cites Families (2)

* Cited by examiner, † Cited by third party
Publication number Priority date Publication date Assignee Title
US5005201A (en) * 1989-02-14 1991-04-02 Rca Licensing Corporation Apparatus and method thereof for improvement of stereophonic sound
AU658020B2 (en) * 1991-11-08 1995-03-30 Colin Arthur Preston Coincident spatial loudspeaker

Cited By (33)

* Cited by examiner, † Cited by third party
Publication number Priority date Publication date Assignee Title
US10848118B2 (en) 2004-08-10 2020-11-24 Bongiovi Acoustics Llc System and method for digital signal processing
US11431312B2 (en) 2004-08-10 2022-08-30 Bongiovi Acoustics Llc System and method for digital signal processing
US10666216B2 (en) 2004-08-10 2020-05-26 Bongiovi Acoustics Llc System and method for digital signal processing
US10158337B2 (en) 2004-08-10 2018-12-18 Bongiovi Acoustics Llc System and method for digital signal processing
US11425499B2 (en) 2006-02-07 2022-08-23 Bongiovi Acoustics Llc System and method for digital signal processing
US10701505B2 (en) 2006-02-07 2020-06-30 Bongiovi Acoustics Llc. System, method, and apparatus for generating and digitally processing a head related audio transfer function
US9793872B2 (en) 2006-02-07 2017-10-17 Bongiovi Acoustics Llc System and method for digital signal processing
US10848867B2 (en) 2006-02-07 2020-11-24 Bongiovi Acoustics Llc System and method for digital signal processing
US10069471B2 (en) 2006-02-07 2018-09-04 Bongiovi Acoustics Llc System and method for digital signal processing
US9741355B2 (en) 2013-06-12 2017-08-22 Bongiovi Acoustics Llc System and method for narrow bandwidth digital signal processing
TWI722529B (en) * 2013-06-12 2021-03-21 美商鵬奇歐維聲學有限公司 System and method for stereo field enhancement in two-channel audio systems
CN104620602A (en) * 2013-06-12 2015-05-13 鹏奇欧维声学有限公司 System and method for stereo field enhancement in two-channel audio system
US9883318B2 (en) 2013-06-12 2018-01-30 Bongiovi Acoustics Llc System and method for stereo field enhancement in two-channel audio systems
CN104620602B (en) * 2013-06-12 2017-12-29 鹏奇欧维声学有限公司 System and method for stereo field enhancement in two-channel audio system
TWI674008B (en) * 2013-06-12 2019-10-01 美商鵬奇歐維聲學有限公司 System and method for stereo field enhancement in two-channel audio systems
US10999695B2 (en) 2013-06-12 2021-05-04 Bongiovi Acoustics Llc System and method for stereo field enhancement in two channel audio systems
US9906858B2 (en) 2013-10-22 2018-02-27 Bongiovi Acoustics Llc System and method for digital signal processing
US10313791B2 (en) 2013-10-22 2019-06-04 Bongiovi Acoustics Llc System and method for digital signal processing
US11418881B2 (en) 2013-10-22 2022-08-16 Bongiovi Acoustics Llc System and method for digital signal processing
US10917722B2 (en) 2013-10-22 2021-02-09 Bongiovi Acoustics, Llc System and method for digital signal processing
US10639000B2 (en) 2014-04-16 2020-05-05 Bongiovi Acoustics Llc Device for wide-band auscultation
US9615813B2 (en) 2014-04-16 2017-04-11 Bongiovi Acoustics Llc. Device for wide-band auscultation
US10820883B2 (en) 2014-04-16 2020-11-03 Bongiovi Acoustics Llc Noise reduction assembly for auscultation of a body
US11284854B2 (en) 2014-04-16 2022-03-29 Bongiovi Acoustics Llc Noise reduction assembly for auscultation of a body
US9638672B2 (en) 2015-03-06 2017-05-02 Bongiovi Acoustics Llc System and method for acquiring acoustic information from a resonating body
US9906867B2 (en) 2015-11-16 2018-02-27 Bongiovi Acoustics Llc Surface acoustic transducer
US9998832B2 (en) 2015-11-16 2018-06-12 Bongiovi Acoustics Llc Surface acoustic transducer
US9621994B1 (en) 2015-11-16 2017-04-11 Bongiovi Acoustics Llc Surface acoustic transducer
US11211043B2 (en) 2018-04-11 2021-12-28 Bongiovi Acoustics Llc Audio enhanced hearing protection system
US12175960B2 (en) 2018-04-11 2024-12-24 Bongiovi Acoustic Llc Audio enhanced hearing protection system
US10959035B2 (en) 2018-08-02 2021-03-23 Bongiovi Acoustics Llc System, method, and apparatus for generating and digitally processing a head related audio transfer function
CN111641898A (en) * 2020-06-08 2020-09-08 京东方科技集团股份有限公司 Sound production device, display device, sound production control method and device
US12177645B2 (en) 2020-06-08 2024-12-24 Beijing Boe Optoelectronics Technology Co., Ltd. Sound-generating device, display device, sound-generating controlling method, and sound-generating controlling device

Also Published As

Publication number Publication date
CN101536541B (en) 2012-08-08
GB0616910D0 (en) 2006-10-04

Similar Documents

Publication Publication Date Title
CN101536541B (en) Apparatus for reproduction of stereo sound
US5870484A (en) Loudspeaker array with signal dependent radiation pattern
US6219426B1 (en) Center point stereo field expander for amplified musical instruments
US8175304B1 (en) Compact loudspeaker system
CN101288338B (en) Audio playback method and device using line array speaker unit
EP1796429B1 (en) Audio reproduction device with loudspeaker directivity control
US4256922A (en) Stereophonic effect speaker arrangement
CN106507251B (en) Stereo and filter controls for multi-speaker setups
US5784468A (en) Spatial enhancement speaker systems and methods for spatially enhanced sound reproduction
EP2008496B1 (en) Loudspeaker device
US8553914B2 (en) Apparatus for reproduction of stereo sound
US20060280323A1 (en) Virtual Multichannel Speaker System
WO1998042159A9 (en) Center point stereo reproduction system for musical instruments
US20130163795A1 (en) Sound reproduction device
US9369817B2 (en) Broad sound field loudspeaker system
US20090067635A1 (en) Apparatus and method for reproduction of stereo sound
CN101919267B (en) An improved apparatus and method for reproduction of stereo sound
JP2018007221A (en) Speaker system
KR101758056B1 (en) Integrated speaker for providing stereo position sense
JPH0366296A (en) speaker system
Slotte Surround recording using coincident and spaced microphones combined with 2-to-3 upmixing
JP2019087839A (en) Audio system and correction method of the same
JPH0998499A (en) Front surround speaker device
JP2007295173A (en) Compact stereo-integrated speaker system
JP2010034764A (en) Acoustic reproduction system

Legal Events

Date Code Title Description
C06 Publication
PB01 Publication
C10 Entry into substantive examination
SE01 Entry into force of request for substantive examination
C14 Grant of patent or utility model
GR01 Patent grant
C41 Transfer of patent application or patent right or utility model
TR01 Transfer of patent right

Effective date of registration: 20161229

Address after: London, England

Patentee after: Proud Bissell

Address before: British MULTIBASES

Patentee before: Airsound LLP