CN101536374B - Method for enjoying broadcast communication service through different electronic devices - Google Patents
Method for enjoying broadcast communication service through different electronic devices Download PDFInfo
- Publication number
- CN101536374B CN101536374B CN2006800563819A CN200680056381A CN101536374B CN 101536374 B CN101536374 B CN 101536374B CN 2006800563819 A CN2006800563819 A CN 2006800563819A CN 200680056381 A CN200680056381 A CN 200680056381A CN 101536374 B CN101536374 B CN 101536374B
- Authority
- CN
- China
- Prior art keywords
- card
- user
- information
- electronic device
- radio
- Prior art date
- Legal status (The legal status is an assumption and is not a legal conclusion. Google has not performed a legal analysis and makes no representation as to the accuracy of the status listed.)
- Expired - Fee Related
Links
Images
Classifications
-
- H—ELECTRICITY
- H04—ELECTRIC COMMUNICATION TECHNIQUE
- H04H—BROADCAST COMMUNICATION
- H04H60/00—Arrangements for broadcast applications with a direct linking to broadcast information or broadcast space-time; Broadcast-related systems
- H04H60/09—Arrangements for device control with a direct linkage to broadcast information or to broadcast space-time; Arrangements for control of broadcast-related services
- H04H60/14—Arrangements for conditional access to broadcast information or to broadcast-related services
- H04H60/23—Arrangements for conditional access to broadcast information or to broadcast-related services using cryptography, e.g. encryption, authentication, key distribution
-
- H—ELECTRICITY
- H04—ELECTRIC COMMUNICATION TECHNIQUE
- H04H—BROADCAST COMMUNICATION
- H04H2201/00—Aspects of broadcast communication
- H04H2201/30—Aspects of broadcast communication characterised by the use of a return channel, e.g. for collecting users' opinions, for returning broadcast space/time information or for requesting data
- H04H2201/37—Aspects of broadcast communication characterised by the use of a return channel, e.g. for collecting users' opinions, for returning broadcast space/time information or for requesting data via a different channel
-
- H—ELECTRICITY
- H04—ELECTRIC COMMUNICATION TECHNIQUE
- H04H—BROADCAST COMMUNICATION
- H04H60/00—Arrangements for broadcast applications with a direct linking to broadcast information or broadcast space-time; Broadcast-related systems
- H04H60/35—Arrangements for identifying or recognising characteristics with a direct linkage to broadcast information or to broadcast space-time, e.g. for identifying broadcast stations or for identifying users
- H04H60/38—Arrangements for identifying or recognising characteristics with a direct linkage to broadcast information or to broadcast space-time, e.g. for identifying broadcast stations or for identifying users for identifying broadcast time or space
-
- H—ELECTRICITY
- H04—ELECTRIC COMMUNICATION TECHNIQUE
- H04H—BROADCAST COMMUNICATION
- H04H60/00—Arrangements for broadcast applications with a direct linking to broadcast information or broadcast space-time; Broadcast-related systems
- H04H60/35—Arrangements for identifying or recognising characteristics with a direct linkage to broadcast information or to broadcast space-time, e.g. for identifying broadcast stations or for identifying users
- H04H60/49—Arrangements for identifying or recognising characteristics with a direct linkage to broadcast information or to broadcast space-time, e.g. for identifying broadcast stations or for identifying users for identifying locations
- H04H60/51—Arrangements for identifying or recognising characteristics with a direct linkage to broadcast information or to broadcast space-time, e.g. for identifying broadcast stations or for identifying users for identifying locations of receiving stations
-
- H—ELECTRICITY
- H04—ELECTRIC COMMUNICATION TECHNIQUE
- H04H—BROADCAST COMMUNICATION
- H04H60/00—Arrangements for broadcast applications with a direct linking to broadcast information or broadcast space-time; Broadcast-related systems
- H04H60/76—Arrangements characterised by transmission systems other than for broadcast, e.g. the Internet
- H04H60/81—Arrangements characterised by transmission systems other than for broadcast, e.g. the Internet characterised by the transmission system itself
- H04H60/90—Wireless transmission systems
- H04H60/92—Wireless transmission systems for local area
-
- H—ELECTRICITY
- H04—ELECTRIC COMMUNICATION TECHNIQUE
- H04W—WIRELESS COMMUNICATION NETWORKS
- H04W12/00—Security arrangements; Authentication; Protecting privacy or anonymity
- H04W12/40—Security arrangements using identity modules
- H04W12/43—Security arrangements using identity modules using shared identity modules, e.g. SIM sharing
Landscapes
- Engineering & Computer Science (AREA)
- Theoretical Computer Science (AREA)
- Signal Processing (AREA)
- Telephonic Communication Services (AREA)
- Mobile Radio Communication Systems (AREA)
Abstract
一种家用电子设备能够利用权限信息来接收广播的通信服务,并享用它;该权限信息能够对该享用计费。移动电话终端与存储用户权限信息的用户卡关联。根据本发明的方法,当移动电话终端位于家用电子设备的附近时,从移动电话终端向家用电子设备至少传输用户权限信息,传输的信息被存储到家用电子设备中,利用传输的信息,接收和享用广播的通信服务。
A home electronic device can use permission information to receive a broadcast communication service and enjoy it; the permission information can charge for the enjoyment. A mobile phone terminal is associated with a user card storing user permission information. According to the method of the present invention, when the mobile phone terminal is located near the home electronic device, at least the user permission information is transmitted from the mobile phone terminal to the home electronic device, the transmitted information is stored in the home electronic device, and the broadcast communication service is received and enjoyed using the transmitted information.
Description
技术领域 technical field
本发明涉及通过不同的电子设备享用广播的通信服务的方法。 The present invention relates to a method for enjoying broadcast communication services through different electronic devices. the
背景技术Background technique
当今,通过不同的渠道广播诸如电视节目之类的通信服务。例如,同一个节目可以通过专用电缆连接、通过因特网连接、通过陆地无线电连接、通过卫星无线电连接、通过移动电话网络被广播。术语“广播”一般是指向属于一个大群组的若干个接收器分发音频和/或视频信号(节目),并且因此可以包括其他类似的技术,例如,多播传输。 Today, communication services such as television programs are broadcast through different channels. For example, the same program can be broadcast over a dedicated cable connection, over an Internet connection, over a terrestrial radio link, over a satellite radio link, over a mobile phone network. The term "broadcast" generally refers to the distribution of audio and/or video signals (programmes) to several receivers belonging to a large group, and thus may include other similar techniques, eg multicast transmission. the
用户可能对通过不同的渠道享用类似的广播的通信服务感兴趣,例如,当他在家时通过他的卫星接收器,当他离开家时通过他的移动电话来观看足球比赛。值得注意的是,一般而言,特定电子设备只能够通过一个渠道接收广播的通信服务。在此情况下,用户一般需要各种不同的预订(甚至对于同一个服务提供商),以便能够享用和支付相同的或类似的服务。 A user may be interested in enjoying a broadcast-like communication service through different channels, for example watching a football match through his satellite receiver when he is at home and through his mobile phone when he is away from home. It is worth noting that, generally speaking, a specific electronic device can only receive broadcast communication services through one channel. In this case, the user typically requires various subscriptions (even for the same service provider) in order to be able to enjoy and pay for the same or similar services. the
这相当麻烦,因为需要许多预订,并且需要开出和支付许多帐单。 This is rather cumbersome as many reservations are required and many bills to be issued and paid. the
应注意,一般而言,特定电子设备只能够通过一个渠道接收广播的通信服务。 It should be noted that, in general, a specific electronic device can only receive broadcast communication services through one channel. the
另外,移动用户可能对通过不同的(通常是类似的)电子设备享用相同的广播的通信服务感兴趣,例如,当他在家时通过他的卫星接收器,当他在旅行中时通过通过宾馆的卫星接收器来观看足球比赛。在此情况下,甚至有不同的预订也可能不够。 In addition, a mobile user may be interested in enjoying the same broadcasted communication service through different (usually similar) electronic devices, for example, through his satellite receiver when he is at home, and through a hotel's mobile phone when he is traveling. Satellite receiver to watch football games. Even having different subscriptions may not be enough in this case. the
从专利申请US20050130585已知一种用户识别系统(SIS),包括用户移动识别组件(SMIC)和视频安全组件(VSC),以便对蜂窝式通信服务和视频通信服务两者都可以进行验证。以卡的形式存在的用户识别系统(SIS)安装在个人基站(PBS)内,该个人基站作为基站工作但是是在个人环境内,并且向移动设备发射例如视频的内容。或者,以卡的形式存在的用户识别系统(SIS)直接安装在提供两种服务的移动设备内。 From patent application US20050130585 is known a Subscriber Identity System (SIS) comprising a Subscriber Mobile Identity Component (SMIC) and a Video Security Component (VSC) so that both cellular and video communication services can be authenticated. A Subscriber Identification System (SIS) in the form of a card is installed in a Personal Base Station (PBS), which works as a base station but within a personal environment, and transmits content such as video to mobile devices. Alternatively, a Subscriber Identity System (SIS) in the form of a card is installed directly in the mobile device providing both services. the
发明内容 Contents of the invention
申请人注意到,在根据US20050130585的解决方案中,用户识别系统(SIS)卡集成了永久地存储了用于两种服务的完全识别和验证信息的两张卡。 The applicant notes that in the solution according to US20050130585, the Subscriber Identification System (SIS) card integrates two cards permanently storing full identification and authentication information for both services. the
如前所述,申请人注意到,用户具有通过不同的电子设备享用相同或类似的广播通信服务(通常是电视节目)的需求。 As mentioned above, the applicant has noticed that users have needs to enjoy the same or similar broadcast communication services (usually TV programs) through different electronic devices. the
另外,申请人还注意到,用户还具有以相同或类似的方式定制这些服务的需求。 In addition, the applicant has also noticed that users also have needs to customize these services in the same or similar manner. the
对这些服务进行计费应该是安全的并且可靠的;这在当电子设备供不同用户使用时尤其重要,当他们位于公共场所,例如,宾馆或飞机时,甚至更加重要。 Billing for these services should be safe and reliable; this is especially important when electronic devices are used by different users, and even more important when they are located in public places, eg hotels or airplanes. the
本发明的目标是满足这些需求中的至少一部分。 The present invention aims to satisfy at least some of these needs. the
申请人考虑持有智能卡,用于向电子设备传输其中存储的用户权限信息,以便它们可以使用它来关于该智能卡自主地接收和享用广播的通信服务。以此方式,由于单一智能卡(即,单一预订和单一计费和支付过程),可以通过不同的电子设备享用相同或类似的广播通信服务。 The applicant considers holding a smart card for transmitting user authority information stored therein to electronic devices so that they can use it to autonomously receive and enjoy broadcasted communication services with respect to the smart card. In this way, the same or similar broadcast communication service can be enjoyed through different electronic devices due to a single smart card (ie, a single subscription and a single billing and payment process). the
通过用户权限信息来表示使得能建立用于广播接收的电子设备的任何信息,无论是否允许享用接收到的通信服务,例如电视节目,换句话说,无论是否用户有权享用此服务,因为它是免费的,或者因为他已经支付了费用,或者因为他正在支付费用(刚刚向服务提供商提供了例如他的信用卡号),或者因为他受合同约束要进行支付。例如,它可以是至少一个特定服务标识(被适当地编码)、关联到特定服务的至少一个解密密钥、关联到或不关联到特定服务的信用信息、关联到或不关联到特定服务的时间有效性、用户或预订身份(被适当地编码),或其组合。 Any information enabling the establishment of an electronic device for broadcast reception is represented by user rights information, whether or not the enjoyment of the received communication service, such as a television program, is permitted, in other words, whether or not the user has the right to enjoy this service because it is Free, either because he has already paid the fee, or because he is paying the fee (just provided eg his credit card number to the service provider), or because he is contractually bound to pay. For example, it could be at least one specific service identification (suitably encoded), at least one decryption key associated with the specific service, credit information associated with or not associated with the specific service, time associated with or not associated with the specific service Validity, user or subscription identity (encoded appropriately), or a combination thereof. the
通常,此称为“主卡”或用户卡的智能卡安装在移动电话终端例如蜂窝电话内。 Typically, this smart card, called the "master card" or user card, is installed in a mobile telephone terminal such as a cell phone. the
优选情况下,用户权限信息被传输到另一个智能卡,其称为“从属卡”或设备卡,通常安装在家用电子设备例如机顶盒电视接收机内。 Preferably, the user rights information is transferred to another smart card, called a "slave card" or device card, typically installed in a home electronic device such as a set top box television receiver. the
在下面的描述中,术语“家用电子设备”一般是指能够接收广播的通信服务的电子设备,具体来说,设备在家使用只是举例而已,而不是限制。 In the following description, the term "home electronic device" generally refers to an electronic device capable of receiving broadcast communication services, and specifically, the use of the device at home is only an example, not a limitation. the
优选情况下,本发明传输,特别是从主卡向从属卡传输的不仅有用户权限信息,而且还传输用户偏好信息和/或应用程序和/或应用程序命令。 Preferably, the present invention transmits, in particular from the master card to the slave card, not only user authorization information, but also user preference information and/or applications and/or application commands. the
利用诸如ZigBeeTM之类的安全的无线技术,两个智能卡之间的通信可以是直接、可靠且安全的。以此方式,提高了用户权限信息的安全性,这是因为传输的源是安全的,它可以是通过智能卡实现的安全模块,传输目的地是安全的,它可以是通过智能卡实现的安全模块,并且通信(或传输)信道也是安全的。术语“智能卡”这里一般是指具有例如处理功能的卡,优选情况下,具有抗窜改特性,例如,安全加密处理器和安全文件系统。 Using a secure wireless technology such as ZigBee (TM) , communication between two smart cards can be direct, reliable and secure. In this way, the security of user authority information is improved, because the source of transmission is safe, it can be a security module realized by a smart card, and the destination of transmission is safe, it can be a security module realized by a smart card, And the communication (or transmission) channel is also secure. The term "smart card" here generally refers to a card having, for example, processing functions, preferably tamper-resistant features, such as a secure cryptographic processor and a secure file system.
根据第一方面,本发明提供了一种用于享用广播的通信服务的方法,包括下列步骤: According to a first aspect, the present invention provides a method for enjoying a broadcast communication service, comprising the following steps:
A)提供能够利用用户权限信息来接收广播的通信服务并享用它的电子设备, A) Provide an electronic device capable of receiving broadcast communication services using user authority information and enjoying it,
B)提供移动电话终端, B) providing a mobile phone terminal,
C)将存储了用户权限信息的用户卡与所述移动电话终端关联, C) associating the user card that has stored the user authority information with the mobile phone terminal,
D)当所述移动电话终端位于所述电子设备的附近时,至少将所述用户权限信息从所述移动电话终端传输到所述电子设备, D) when the mobile phone terminal is located in the vicinity of the electronic device, at least transmitting the user authority information from the mobile phone terminal to the electronic device,
E)将所传输的信息存储到所述电子设备中,以及 E) storing the transmitted information in said electronic device, and
F)利用所传输的信息,接收和享用所广播的通信服务。2.根据权利要求1所述的方法,进一步包括下列步骤: F) Receive and enjoy broadcasted communication services using the transmitted information. 2. The method according to claim 1, further comprising the steps of:
G)将设备卡与电子设备关联。 G) Associating the device card with the electronic device. the
优选情况下,传输的信息存储到设备卡中,并且步骤D的传输直接在用户卡和设备卡之间进行。 Preferably, the transmitted information is stored in the device card, and the transmission of step D is directly performed between the user card and the device card. the
优选情况下,该方法进一步包括下列步骤: Preferably, the method further comprises the following steps:
H)给该电子设备提供了无线电邻域探测器,其关联到无线电覆盖空间,并且当位于无线电覆盖空间内时适于探测移动电话终端。 H) The electronic device is provided with a radio proximity detector associated to a radio coverage space and adapted to detect mobile telephone terminals when located within the radio coverage space. the
优选情况下,步骤D用于进行无线传输。 Preferably, step D is for wireless transmission. the
优选情况下,用户卡包括用于与电子设备进行通信的无线电通信单元。 Preferably, the user card includes a radio communication unit for communicating with the electronic device. the
优选情况下,用户卡和设备卡各自包括用于相互进行通信的无线电通信单元。 Preferably, the user card and the device card each comprise a radio communication unit for communicating with each other. the
优选情况下,无线电通信单元是通过ZigBeeTM技术来工作的。 Preferably, the radio communication unit operates via ZigBee (TM) technology.
优选情况下,电子设备是电视接收机。 Preferably, the electronic device is a television receiver. the
优选情况下,该方法进一步包括下列步骤: Preferably, the method further comprises the following steps:
I)当移动电话终端不在电子设备的附近时,删除或禁用传输的信息。 I) Delete or disable transmitted information when the mobile phone terminal is not in the vicinity of the electronic device. the
优选情况下,当移动电话终端位于电子设备的无线电邻近探测器的无线电覆盖空间之外时,执行所述步骤I。 Preferably, the step I is performed when the mobile phone terminal is located outside the radio coverage space of the radio proximity detector of the electronic device. the
优选情况下,用户权限信息包括一个或多个解密密钥和/或用户身份和/或用户信用和/或用户合法性。 Preferably, the user rights information includes one or more decryption keys and/or user identity and/or user credit and/or user legitimacy. the
优选情况下,用户权限信息间接地从移动电话终端传输到电子设备,具体来说,通过通信网络。 Preferably, the user rights information is transmitted indirectly from the mobile phone terminal to the electronic device, in particular, through a communication network. the
优选情况下,步骤D也用于传输用户偏好信息。 Preferably, step D is also used to transmit user preference information. the
优选情况下,步骤D也用于传输应用程序。 Preferably, step D is also used to transfer the application. the
优选情况下,步骤D用于向在电子设备中运行的应用程序传输应用程序命令。 Preferably, step D is used to transmit the application program command to the application program running in the electronic device. the
优选情况下,广播的通信服务是广播的电视节目,而电子设备和移动电话终端两者同时享用同一个广播的通信服务。 Preferably, the broadcasted communication service is a broadcasted television program, and both the electronic device and the mobile phone terminal simultaneously enjoy the same broadcasted communication service. the
优选情况下,该方法进一步包括下列步骤: Preferably, the method further comprises the following steps:
L)建立从电子设备到广播服务提供商的返回信道,其中,返回信道路径至少包括与移动电话终端关联的用户卡、移动电话终端和移动电话网络。 L) Establishing a return channel from the electronic device to the broadcast service provider, wherein the return channel path includes at least a user card associated with the mobile phone terminal, the mobile phone terminal, and a mobile phone network. the
优选情况下,返回信道路径进一步包括与电子设备关联的设备卡。 Preferably, the return channel path further includes a device card associated with the electronic device. the
根据第二方面,本发明提供了可以与本地电子设备关联的智能卡,其中存储了用户权限信息并包括配置块,配置块适于向用于广播接收的远程电子设备发射存储的用户权限信息,发射的信息适于且足以供远程电子设备使用,以便关于与本地电子设备关联的智能卡自主地享用广播的通信服务。 According to a second aspect, the present invention provides a smart card that can be associated with a local electronic device, wherein user rights information is stored and includes a configuration block adapted to transmit the stored user rights information to a remote electronic device for broadcast reception, transmitting The information of is suitable and sufficient for use by the remote electronic device to autonomously enjoy the broadcasted communication service with respect to the smart card associated with the local electronic device. the
优选情况下,配置块适于向与远程电子设备关联的智能卡发射存储的用户权限信息和/或也可以向远程电子设备发射用户偏好信息。 Preferably, the configuration block is adapted to transmit stored user rights information to a smart card associated with the remote electronic device and/or may also transmit user preference information to the remote electronic device. the
优选情况下,智能卡包括可以向远程电子设备发射应用程序的编程块和/或适于向远程电子设备发射应用程序命令的控制块。 Preferably, the smart card comprises a programming block capable of transmitting an application program to the remote electronic device and/or a control block adapted to transmit application program commands to the remote electronic device. the
优选情况下,智能卡包括用于进行无线通信的无线电通信单元。 Preferably, the smart card includes a radio communication unit for wireless communication. the
优选情况下,智能卡包括关联到无线电覆盖空间的无线电邻近探测器,当位于所述无线电覆盖空间内时适于探测远程电子设备。 Preferably, the smart card includes a radio proximity detector associated to a radio coverage space adapted to detect a remote electronic device when located within said radio coverage space. the
优选情况下,智能卡至少包括电话用户模块的运营商网络验证功能。 Preferably, the smart card includes at least an operator network authentication function of the telephone subscriber module. the
优选情况下,智能卡适于与用于广播接收的本地家用电子设备关联,包括适于从远程电子设备接收和存储用户权限信息的配置块,该配置块适于使用接收到的信息,允许本地家用电子设备利用远程电 子设备,自主地享用广播的通信服务。 Preferably, the smart card is adapted to be associated with a local home electronic device for broadcast reception, including a configuration block adapted to receive and store user authorization information from the remote electronic device, the configuration block being adapted to use the received information to allow the local home electronic Electronic equipment uses remote electronic equipment to independently enjoy broadcast communication services. the
优选情况下,配置块适于从与远程电子设备关联的智能卡接收和存储用户权限信息。 Preferably, the configuration block is adapted to receive and store user authorization information from a smart card associated with the remote electronic device. the
优选情况下,配置块适于从远程电子设备还接收用户偏好信息。 Preferably, the configuration block is adapted to also receive user preference information from the remote electronic device. the
优选情况下,智能卡包括适于从远程电子设备接收应用程序的编程块。 Preferably, the smart card includes a programming block adapted to receive an application program from a remote electronic device. the
优选情况下,智能卡包括适于从远程电子设备接收应用程序命令的控制块。 Preferably, the smart card includes a control block adapted to receive application program commands from a remote electronic device. the
优选情况下,智能卡可以向关联的本地电子设备传输接收到的应用程序和/或接收到的命令。 Preferably, the smart card can transmit received applications and/or received commands to an associated local electronic device. the
优选情况下,智能卡包括用于进行无线通信的无线电通信单元。 Preferably, the smart card includes a radio communication unit for wireless communication. the
优选情况下,智能卡包括关联到无线电覆盖空间的无线电邻近探测器,当位于所述无线电覆盖空间内时适于探测远程电子设备。 Preferably, the smart card includes a radio proximity detector associated to a radio coverage space adapted to detect a remote electronic device when located within said radio coverage space. the
优选情况下,智能卡包括电视智能卡的用户权限验证和视频流密钥生成功能。 Preferably, the smart card includes functions of TV smart card user authority verification and video stream key generation. the
附图说明Description of drawings
通过下列描述并结合附图考虑,本发明将变得更加显而易见,其中: The present invention will become more apparent from the following description when considered in conjunction with the accompanying drawings, in which:
图1示意性地示出了根据本发明的系统, Figure 1 schematically shows a system according to the present invention,
图2示出了图1的系统的一部分的示意方框图, Figure 2 shows a schematic block diagram of a portion of the system of Figure 1,
图3示出了根据本发明的智能卡中的软件的可能的拆分,以及 Figure 3 shows a possible split of the software in the smart card according to the invention, and
图4示出了根据本发明的智能卡中的安全应用程序的可能的软件体系结构。 Figure 4 shows a possible software architecture of a security application in a smart card according to the invention. the
应该理解,下面的描述和附图不应该被解释为对本发明的限制,而只是示范性的。 It should be understood that the following description and drawings should not be construed as limiting the present invention, but as exemplary only. the
具体实施方式 Detailed ways
在图1中,整个系统用参考编号100表示。系统100包括: In FIG. 1 , the overall system is indicated by reference numeral 100 . System 100 includes:
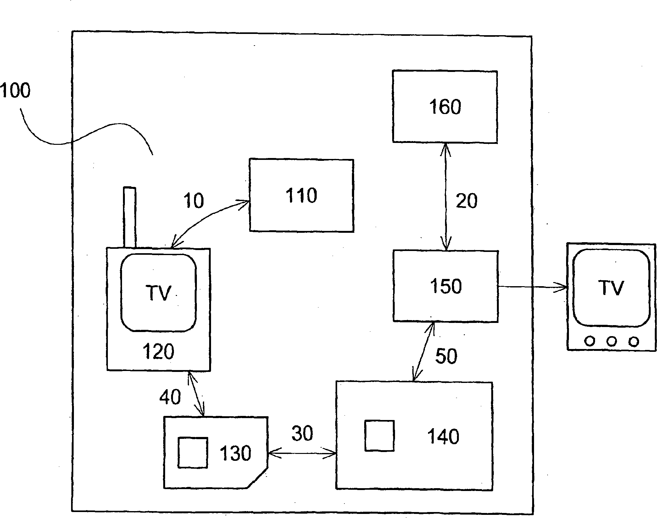
●电信网络110,例如,意大利电信的2G/3G网络; The telecommunication network 110, for example, the 2G/3G network of Telecom Italia;
●移动电话终端120,例如,用于交换电话呼叫以及用于接收电视节目的DVB-H[数字视频广播——手持式,Digital VideoBroadcasting-Handheld]技术移动电话;
A
●第一智能卡130,具体来说,具有集成的无线电通信单元的“主”卡;
A first
●家用电子设备150,例如,能够接收通过任何合适的技术广播的通信服务的机顶盒电视接收机(在图1中示出连接到机顶盒电视接收机150的普通电视机,显而易见,相对于DVH-B移动电话,没有按比例绘制);
A home
●第二智能卡140,具体来说,具有集成的无线电通信单元的“从属”卡;以及
A second
●电视广播播放器160。 • TV broadcast player 160 . the
为了简化对本发明的描述,图1所显示的场景被简化为其最低限度,即,一台移动电话终端和一台家用电子设备。不管怎样,一般而言,可以有许多家用电子设备;事实上,如前面所说明的,移动用户具有通过不同的家用电子设备使用相同或类似广播的通信服务的需求。在一般情况下,可以有多个家用电子设备和多个移动电话终端。 In order to simplify the description of the present invention, the scene shown in FIG. 1 is simplified to its minimum, namely, a mobile phone terminal and a home electronic device. Anyway, in general, there can be many home electronic devices; in fact, as explained earlier, mobile users have the need to use the same or similar broadcast communication services through different home electronic devices. In general, there may be a plurality of home electronic devices and a plurality of mobile phone terminals. the
智能卡130和140可以具有,例如,在同一申请人的专利申请WO2005104584和WO2006056220中所公开的体系结构和内部操作;具体来说,在主卡130和从属卡140中提供了特定的功能(例如,在 附加固件中实现的功能)。
在图1的实施例中,智能卡130具有SIM[用户识别模块]卡的所有功能和下面将描述的附加功能;而智能卡140具有普通电视智能卡的功能,例如,用户权限数据库、用户权限验证和视频流密钥的生成,以及下面将描述的附加功能。
In the embodiment of Fig. 1,
智能卡130和140的无线电通信单元是(相对)近距离类型的;换句话说,适用于所谓的WPAN[无线个域网络]应用;例如,它们使用ZigBeeTM标准技术。此技术特别适用于本发明,因为智能卡发射和接收的信息类型是秘密的。或者,这些无线电通信单元可以使用BluetoothTM标准技术。这些技术可以用于可以被编程的关联到无线电覆盖空间的无线邻近探测器。
The radio communication units of the
智能卡130,类似于任何SIM卡,存储了用户识别信息;对于GSM,识别信息包括IMSI[国际移动用户识别]代码,严格地用于进行识别,以及KI[单个用户身份验证密钥]密钥,用于进行身份验证。
The
一般而言,智能卡130存储了用于能够享用一个或多个广播的通信服务的用户权限信息;例如,用户识别信息可以被用作用户权限信息,用于识别对享用服务感兴趣并应向其收费的用户。
In general,
用户权限信息可以例如由服务提供商直接或通过服务提供商的代理商存储到SIM卡130中;例如,可以通过移动电信网络,即,通过无线连接,或通过特定设备在商店,即,通过有线连接来存储它。
The user rights information can be stored in the
如前所述的,用户权限信息可以是至少一个特定服务标识(被适当地编码)、关联到特定服务的至少一个解密密钥、关联到或不关联到特定服务的信用卡信息、关联到或不关联到特定服务的时间有效性、用户或预订标识(被适当地编码),或其组合。 As previously mentioned, user rights information may be at least one specific service identification (suitably encoded), at least one decryption key associated with a specific service, credit card information associated with or not associated with a specific service, associated with or not A time validity, user or subscription identity (encoded as appropriate), or a combination thereof, associated to a particular service. the
智能卡140,就像任何电视智能卡那样,使得能够享用广播的电视节目,包括在必要时进行解密。
根据本发明,定义了“主”和“从属”功能: According to the invention, "master" and "slave" functions are defined:
●主:关联到用户的智能卡,插入到移动电话终端中;以及 Primary: associated to the user's smart card, inserted into the mobile phone terminal; and
●从属:关联到设备的智能卡,插入到家用电子设备中,可由 主卡进行配置和编程。 ● Slave: A smart card associated to a device, inserted into a home electronic device, can be configured and programmed by the master card. the
在图1的实施例中,这样的配置和编程是通过两个智能卡的无线电通信单元实现的邻近无线电通信信道30执行的。
In the embodiment of Fig. 1, such configuration and programming is carried out via the proximity
在图1的实施例中,从属卡140可以由主卡130关于用户权限和用户偏好进行配置。从属卡140可以由主卡130关于通常要在相关联的家用电子设备中运行的应用程序进行配置。主卡140也可以关于从属卡130关联到的设备能够导出的功能对从属卡130进行查询;在此情况下,例如,移动电话终端120,通过主卡130,能够通过从属卡140远程控制和/或执行驻留在家用电子设备150中的应用程序。
In the embodiment of FIG. 1 , the
图1的系统100包括三种无线电通信信道。第一种是邻近(或短距离)无线电信道30,这是卡130和140之间的无线电信道。第二种是网络110和移动电话终端120之间的范围较宽的无线电信道,用标记10表示。第三种是播放器160和家用电子设备150之间的广播信道(通常是通过任何广播电视网络实现的),用标记20表示。值得注意的是,尽管网络和移动电话终端之间的信道必须是无线电类型,但是,播放器和家用电子设备之间的通信信道也可以是有线类型(基于,例如,电缆或光纤)或无线(即,无线电,例如,陆地无线电或卫星无线电)类型,或者甚至可以是混合类型。另外,必须记住,也可以通过因特网广播电视节目之类的服务。
The system 100 of FIG. 1 includes three radio communication channels. The first is the proximity (or short range)
主卡130和从属卡140通过通信接口,例如,两者都通过已知的ISO7816标准接口,各自连接到移动电话终端120和家用电子设备150。为清楚起见,两个通信接口用两个不同的标记表示,分别是40和50;事实上,一般而言,它们可以是不同的和/或符合专有的规范;这特别适用于从属卡140和设备150之间的接口50。
The
根据上面的描述,系统100带有两个智能卡130和140,每个智能卡实现了安全模块。
According to the above description, the system 100 has two
作为替代地,它们中的一个或两者可以通过SDIO[安全数字输入/输出]卡或USB[通用串行总线]加密狗和设备中的对应的接口来实现;此解决方案特别适用于家用电子设备。根据此备选方案的优选实 现方式,此SDIO卡/USB加密狗具有集成的邻近无线电通信单元,该单元优选具有上文所描述的特点,即,使用ZigBeeTM或BlueToothTM技术。 Alternatively, one or both of them can be implemented via an SDIO [Secure Digital Input/Output] card or a USB [Universal Serial Bus] dongle and a corresponding interface in the device; this solution is particularly suitable for home electronics equipment. According to a preferred implementation of this alternative, this SDIO card/USB dongle has an integrated proximity radio communication unit, preferably with the features described above, ie using ZigBee ™ or BlueTooth ™ technology.
不管怎样,实际上,安全模块和/或相关联的邻近无线电通信单元集成在设备中是可以的;此解决方案特别适用于家用电子设备。甚至在此情况下,两个首选的通信技术仍是ZigBeeTM或BlueToothTM。 Anyway, in practice it is possible for the security module and/or the associated proximity radio communication unit to be integrated in the device; this solution is particularly suitable for home electronics. Even in this case, the two preferred communication technologies are ZigBee ™ or BlueTooth ™ .
无论安全模块采用是什么实现方式,对应的硬件体系结构和软件体系结构都可以十分类似或者甚至完全相同。 No matter what implementation method the security module adopts, the corresponding hardware architecture and software architecture may be very similar or even completely the same. the
系统100的组件彼此之间适当地进行交互,以此方式,用户可以享用利用网络110和播放器160广播的通信服务;最后,由于存储在主卡130中的用户权限信息(也可以传输到家用电子设备150,特别是传输到从属卡140),由移动电话终端120和家用电子设备150将服务最终提供给用户。
The components of the system 100 interact appropriately with each other, in this way, the user can enjoy the communication service utilizing the network 110 and the player 160 broadcast; The
移动电话终端120和家用电子设备150根据其自己的功能和利用相同的用户权限信息,向用户提供服务;在第一种情况下,永久地存储在本地,在第二种情况下,从外面接收并且通常以易失性的方式存储在本地。为了达到上述目的,家用电子设备150可能需要不同种类的用户权限信息;所有这样的信息通常存储在用户卡中,例如,SIM卡,而在图1的实施例中,它存储在主卡130中,并通过邻近无线通信信道30被传输到从属卡140。关于移动电话终端120,通常,它将此信息存储在SIM卡中的用户的配置文件中,本地可用,并且被设计成在其工作期间使用该信息。
The
家用电子设备150能够自定制向用户提供的服务;为此,它需要用户偏好信息;用户偏好信息通常存储在用户卡中,例如,SIM卡中,而在图1的实施例中,它存储在主卡130中,并通过邻近无线通信信道30传输到从属卡140。关于移动电话终端120,通常,它将此附加信息存储在SIM卡中的用户的配置文件中,本地可用,并且被设计成在其工作期间使用该附加信息。
The home
应该理解,当移动电话终端位于家用电子设备的附近时,更具 体地说,当它进入其无线电覆盖空间时,传输用户信息。传输的用户信息被存储到家用电子设备中,特别是存储到关联的从属卡140中,以便此后供家用电子设备一次或多次使用以与主卡130分开地使用和/或提供服务。这样的存储可以是临时性的或永久性的;在临时性的情况下,当移动电话终端到达家用电子设备的附近时,更具体地说,当它进入其覆盖空间时,可以开始存储,并且当移动电话终端远离家用电子设备时,更具体地说,当它离开其覆盖空间时,可以结束;存储的结束可以对应于传输的信息从存储装置中删除,或者对应于其被禁用(例如,将存储的信息标记为不可访问或不可使用)。
It should be understood that the mobile phone terminal transmits user information when it is located in the vicinity of a household electronic device, more specifically when it enters its radio coverage space. The transmitted user information is stored into the home electronic device, in particular into the associated
值得注意的是,在图1的实施例中,信息的传输是直接在两个智能卡之间进行的;不管怎样,在备选实施例中,两个智能卡之间的信息传输可以通过移动电话终端和家用电子设备来进行,例如,通过移动电话终端和家用电子设备之间的直接通信来进行。 It should be noted that in the embodiment of Fig. 1, the transmission of information is carried out directly between the two smart cards; however, in alternative embodiments, the transmission of information between the two smart cards can be done through the mobile phone terminal and a home electronic device, for example, by direct communication between a mobile phone terminal and a home electronic device. the
下面将提供一个示例,以便说明配置过程。 An example is provided below to illustrate the configuration process. the
例如,假设有连接到卫星天线和电视机的机顶盒电视接收机。为了向电视机发送某些接收到的电视节目(即,非免费节目)以将它们显示在其屏幕上,机顶盒需要有关用户的信息(身份、解密密钥,...);这通常是通过将电视智能卡插入到机顶盒中来进行的。 For example, suppose you have a set-top television receiver connected to a satellite dish and a television. In order to send certain received TV programs (i.e. not free-to-air) to the TV to display them on its screen, the set-top box needs information about the user (identity, decryption key, ...); this is usually done via This is done by inserting the TV smart card into the set-top box. the
根据现有技术,为了管理单一预订,移动用户必须随身携带他的电视智能卡,并在所感兴趣的特定节目之前插入到他所在的位置处的机顶盒电视接收机中,并且在此节目之后提取它;如果从智能卡的角度来看所有机顶盒电视接收机都相同,或者至少兼容,则这可能适合。不管怎样,如果此用户需要在他的移动电话上观看此特定电视节目,则他将需要不同的预订。 According to the prior art, in order to manage a single subscription, the mobile user has to carry his TV smart card with him and insert it in the set-top TV receiver at his location before the particular program of interest and withdraw it after this program; If all set top box TV receivers are the same from a smart card point of view, or at least compatible, then this might be suitable. Anyway, if the user needs to watch this particular TV show on his mobile phone, he will need a different subscription. the
本发明允许临时将保留在移动电话内的主卡130的用户信息,特别是用户权限信息临时投放到安装在机顶盒电视接收机内的从属卡140上,以便电视接收机能够向用户提供电视节目,无需取出任何卡;此投放是通过邻近无线电通信信道30执行的。通常,当移动电话120和关联的主卡130进入从属卡140的无线电覆盖空间时,这样 的投放开始,并覆盖时间内持续,当移动电话120和关联的主卡130离开从属卡140的无线电覆盖空间时结束。
The present invention allows to temporarily put the user information of the
由于两个安全模块之间的通信是通过安全信道(通过ZigBeeTM无线技术实现的)进行的,用户权限信息的安全性完全得到保证,即,不会发生滥用。具体来说,信道的安全性可以通过在物理层对无线电链路上的数据包进行加密来保证。这样的加密可以,例如,通过预先分发给安全模块的对称的密钥,或通过从数字证书动态地生成的会话密钥来获得。 Since the communication between the two security modules is carried out through a secure channel (implemented by ZigBee TM wireless technology), the security of user rights information is fully guaranteed, ie, no misuse will occur. Specifically, the security of the channel can be guaranteed by encrypting data packets on the radio link at the physical layer. Such encryption can be obtained, for example, by symmetric keys pre-distributed to the security module, or by session keys dynamically generated from digital certificates.
由于不从任何设备中提取卡,原则上,两个设备可以同时使用;当用户正在火车上利用他的移动电话观看电视节目而他的儿子在家利用电视机观看同一个电视节目时,这是有用的。不管怎样,这一方面是服务策略的问题,另一方面是技术约束的问题;事实上,在图1的示例中,广播服务提供商应该能够同时处理关联到同一个用户的两个不同的设备。比较简单的解决方案是,已将其用户权限信息投放到从属卡的主卡不再能够使用其用户权限信息,直到投放结束。 Since the card is not extracted from any device, in principle, both devices can be used at the same time; this is useful when the user is watching a TV program on his mobile phone on the train and his son is watching the same TV program at home on the TV of. Anyway, this is a matter of service policy on the one hand, and technical constraints on the other; in fact, in the example of Figure 1, the broadcast service provider should be able to handle two different devices associated to the same user at the same time . A relatively simple solution is that the master card that has already placed its user authority information on the subordinate cards can no longer use its user authority information until the end of the delivery. the
在所描述的示例中,从属卡是主卡的临时的投放;换句话说,主卡配置从属卡。 In the example described, the slave cards are temporary placements of the master card; in other words, the master card configures the slave cards. the
这样的投放/配置可以适用于由从属卡执行的所有功能或只适用于它们中的某些;在后一种情况下,从属卡执行某些功能,不管是否在主卡附近。此特征的一个示例如下:一个人去拜访朋友,带着他的移动电话,移动电话有根据本发明的SIM卡,并存储了此人的预订信息;该朋友有机顶盒电视接收机,上面有根据本发明的智能卡,并存储了该朋友的预订信息;当移动电话位于电视接收机的附近时,移动电话的主卡配置电视接收机的从属卡(例如,假设此人同意这样的编程);从那时起,连接到机顶盒电视接收机的任何电视机都将能够显示两个预订允许的所有节目;一旦移动电话离开,机顶盒电视接收机将能够只广播该朋友的预订允许的节目。 Such placement/configuration can apply to all functions performed by the slave cards or only to some of them; in the latter case, the slave cards perform certain functions, whether in the vicinity of the master card or not. An example of this feature is as follows: a person goes to visit a friend with his mobile phone, which has a SIM card according to the invention and stores the person's subscription information; the friend has a set-top box television receiver with a smart card of the present invention, and stored the friend's subscription information; when the mobile phone is located near the television receiver, the master card of the mobile phone configures the slave card of the television receiver (for example, assuming that the person agrees to such programming); From then on, any TV connected to the STB TV receiver will be able to show all the programs allowed by both subscriptions; once the mobile phone is away, the STB TV receiver will be able to broadcast only the programs allowed by the friend's subscription. the
可以规定,主卡不投放所有配置信息(用户权限和偏好信息)而是只投放那些很可能有用或关联到从属卡的家用电子设备所必需的配 置信息。 It can be stipulated that the master card does not release all configuration information (user rights and preference information) but only those configuration information that are likely to be useful or necessary for household electronic devices associated with the slave card. the
可以使用根据本发明的方法永久地将权限信息(连接到广播的通信服务)从第一个人的移动电话终端传输到第二个人的家用电子设备。这对出售权限是有用的;在此情况下,第一个人是商店的所有者,第二个人是商店的顾客。这对于赠送礼物也是有用的;在此情况下,第二个人是第一个人的朋友。在这两种情况下,存储在关联到移动电话终端中的权限在被传输到关联到家用电子设备的智能卡之后删除或禁用。 Rights information (communication service connected to broadcast) can be permanently transferred from a first person's mobile phone terminal to a second person's home electronic device using the method according to the invention. This is useful for selling permissions; in this case, the first person is the owner of the store and the second person is a customer of the store. This is also useful for gift giving; in this case, the second person is a friend of the first person. In both cases, the rights stored in the terminal associated to the mobile phone are deleted or disabled after being transferred to the smart card associated to the home electronic device. the
优选情况下,本发明规定,主卡不仅配置从属卡,而且还对从属卡编程;这可以用来向从属卡或者关联到该从属卡的家用电子设备中添加(即,存储)其它应用程序(因此,也添加了功能)。 Preferably, the invention provides that the master card not only configures the slave card, but also programs the slave card; this can be used to add (i.e. store) other applications ( Therefore, functionality is also added). the
优选情况下,本发明规定,通过主卡和从属卡的连接,可以使移动电话终端远程控制和/或使用家用电子设备的功能。此特点的典型应用是使用移动电话作为机顶盒电视接收机的遥控装置。 Preferably, the present invention stipulates that the mobile phone terminal can remotely control and/or use the functions of the household electronic equipment through the connection of the master card and the slave card. A typical application of this feature is using a mobile phone as a remote control for a set-top box television receiver. the
如图2的实施例所示,主卡130能够配置从属卡140(箭头341),对其进行编程(箭头342)并向其发送命令(箭头343)。
As shown in the embodiment of Figure 2,
主卡中间件堆栈由应用程序管理器300构成,应用程序管理器300管理本地(对于卡)应用程序340和通常位于移动电话终端120上的外部(对于卡)应用程序360和370;应用程序360直接与应用程序管理器300进行交互,而应用程序370通过内部(对于卡)应用层350间接地与应用程序管理器300进行交互。
The main card middleware stack consists of an
移动电话终端120中的应用程序请求可以在由主卡130中的三个特定块310、320、330进行管理的不同进程中进行转换。第一个块是配置发送器块310,其适于将用户信息(例如,识别和/或权限和/或信用和/或偏好)从主卡传输到从属卡。第二个块是程序发送器块320,其适于将应用程序从主卡传输到从属卡。第三个块是命令发送器块330,其适于从主卡向从属卡发送命令,通常是应用程序命令;第三个块还可以适于接收对这些命令的回复,这就是为什么箭头343是双向的。
Application requests in the
箭头341、342、343代表移动电话120和家用电子设备150之间,更具体来说主卡130和从属卡140之间的数据流。优选情况下,这些数据流是基于ZigBeeTM技术,通过邻近无线电通信信道30实现的。
在家用电子设备150中,具体来说,在关联的从属卡140中,存在对应于主卡130中的上文所提及的块的三个块,即,配置接收器块410、程序接收器块420和命令接收器块430。在从属卡140中,还有管理应用程序的应用程序管理器400;在关联到卡140的家用电子设备150中,一个或多个应用程序460可以与应用程序管理器400进行交互。
In the home
可以通过在图2的实施例中实现的编程过程(基本上通过块320和420)添加和/或升级家用电子设备150中的应用程序460。这也可以应用于存储在从属卡140中的应用程序。
The
编程过程可以意味着应用程序的永久或临时的传输/存储。第一种情况对于,例如升级(从属卡和/或家用电子设备中的)应用程序是有用的,并且第二种情况对于临时增大要在主卡附近的家用电子设备中运行的应用程序的数量和/或功能是有用的。值得注意的是,升级所必需的信息可以由主卡从外部(例如,电信网络110)接收。 The programming process can imply permanent or temporary transfer/storage of the application program. The first case is useful, for example, for upgrading applications (in the slave card and/or the home electronic device), and the second case is useful for temporarily increasing the availability of applications to be run in the home electronic device near the master card. Amount and/or function are useful. It is worth noting that the information necessary for the upgrade may be received by the main card from the outside (eg, the telecommunications network 110). the
原则上,命令过程可以由主卡130(即,应用程序340)或移动电话终端120(即,应用程序360和370)中的任何应用程序使用。当移动电话终端120中的,特别是关联的主卡130中的应用程序需要与家用电子设备150中的,特别是关联的从属卡140中的应用程序进行通信/交互时,此功能是有用的;这通常是对应用程序进行远程控制的情况。
In principle, the command procedure can be used by any application in the main card 130 (ie application 340) or in the mobile phone terminal 120 (
如前所述的,块330和块430之间的通信信道是双向的,因为每一个命令后面都有应答,例如,已经接收到命令或正确地执行命令的确认。
As previously stated, the communication channel between
可以提供允许将新的应用程序(例如,应用程序340和/或350和/或360和/或370)从从属卡140下载到主卡130的特定命令;在此 情况下,从从属卡140到主卡130的数据流不是由简单应答构成的。一般而言,应用程序可以从办公室电子设备,和/或从关联的从属卡传输到(并且此后,存储在)电话终端设备和/或关联的主卡,经过一个或多个智能卡。
Specific commands may be provided that allow new applications (e.g.,
主卡130和从属卡140之间的通信,即,通信信道30,可以是加密类型的。在使用ZigBeeTM技术的情况下,加密处于物理层;一般而言,使用已知技术,总是有在应用层在两个卡之间实现安全信道的可能性。
The communication between the
值得注意的是,术语“主”不一定是指发起与“从属”进行通信的实体;从属卡可以首先向主卡发送消息请求信息,并且主卡可以通过传输所请求的信息来做响应。例如,在关联到从属卡的家用电子设备中运行的应用程序可以发出凭据/密钥的请求;如果从属卡已经从主卡接收到这些凭据/密钥,则应用程序将使用它们进行登录,否则,应用程序将利用从属卡向位于其附近的任何移动电话终端(关联到主卡)发送请求消息,并将等待应答。 It is worth noting that the term "master" does not necessarily refer to the entity that initiates the communication with the "slave"; the slave card may first send a message to the master card requesting information, and the master card may respond by transmitting the requested information. For example, an application running in a home electronic device associated to a secondary card can issue a request for credentials/keys; if the secondary card has received these credentials/keys from the primary card, the application will use them to log in, otherwise , the application will send a request message using the slave card to any mobile phone terminal (associated to the master card) located in its vicinity and will wait for a reply. the
在对应用程序进行远程控制的情况下,主卡130和从属卡140之间的对话的实现方式可以是,例如,如下方式:
In the case of remote control of the application program, the implementation of the dialogue between the
1)主卡130使用块330向从属卡140发送“连接”命令,以便建立通信信道;
1)
2)从属卡140使用块430发送“连接成功”回复,以确认收到命令;
2)
3)主卡130使用块330发送“远程控制应用程序请求”命令,以检查从属卡140上的特定的应用程序;
3)
4)从属卡140使用块430发送“应用程序可用”回复,以确认收到命令;
4)
5)主卡130使用块330向从属卡140(具体来说,向待控制的应用程序)发送远程命令;
5)
6)从属卡140使用块430发送每一个执行的命令的确认回复;
6)
7)在应用程序结束时,主卡130使用块330向从属卡140发送 “分离”命令,以便释放应用程序;以及
7) At the end of the application program, the
8)从属卡140使用块430发送“分离成功”回复,以确认收到命令。
8)
如图3所示,从软件的角度来看,主卡130和从属卡140可以分为两个部分。第一部分是邻近无线电软件层130B和140B,并且第二部分是应用程序软件层130A和140A。两个层通过内部通信信道60和70连接,根据卡的实现方式,内部通信信道60和70可以是物理的或逻辑的。优选情况下,本发明允许将应用层与无线电层分开,从而,软件开发可以是独立的。
As shown in FIG. 3 , from a software point of view, the
分开可以通过按如下方式定义应用层和无线电层之间的公用接口来实现: Separation can be achieved by defining a common interface between the application layer and the radio layer as follows:
●“激活”:激活无线电层通信 ● "Activate": activate radio layer communication
●“发送”:通过邻近无线电信道,向另一个卡发送命令/回复 ● "Send": send a command/reply to another card through the adjacent radio channel
●“接收”:通过邻近无线电信道,从另一个卡接收回复/命令 ● "Receive": Receive reply/command from another card via adjacent radio channel
●“控制”:向无线电层发送控制/配置命令 ● "Control": send control/configuration commands to the radio layer
●“停用”:停用无线电层 ● "Disabled": Disable the radio layer
上面的功能可以构建之前所描述的固件体系结构,并传输特定命令。 The above functions can build the firmware architecture described before and transmit specific commands. the
从无线电层的角度来看,有来自应用层的两种命令:“要通过”(PAS)和“要解析”(PAR)。 From the perspective of the radio layer, there are two kinds of commands from the application layer: "to pass" (PAS) and "to parse" (PAR). the
请参看图3,PAS命令通过无线电层130B被径直发射到另一个卡,无需经过解析;在无线电层130B解析和执行PAR命令。
Referring to FIG. 3, the PAS command is transmitted directly to another card through the
PAR和PAS概念也可以适用于函数,即,一组命令。只允许下面的组合: The PAR and PAS concepts can also be applied to functions, ie, a set of commands. Only the following combinations are allowed:
●PAS函数传输PAR命令; The PAS function transmits the PAR command;
●PAS函数传输PAS命令; The PAS function transmits the PAS command;
●PAR函数传输PAR命令; The PAR function transmits the PAR command;
不允许PAR函数传输PAS命令。 PAR functions are not allowed to transmit PAS commands. the
“Activate”是PAR函数,并为无线电层130B传输PAR命令。 在准备好执行无线电操作的无线电层130B实际解析和执行该命令。
"Activate" is a PAR function, and transmits a PAR command for the
“Send”是PAS函数。它能够传输PAR和PAS两种命令。在第一种情况下(PAR),传输的命令从应用层130A发送到无线电层140B。然后,在无线电层解析和执行该命令。这对于无线电层的远程配置是有用的,例如,从主卡130的应用层设置从属卡140的无线电功率。在第二种情况下(PAS),传输的命令从应用层130A发送到应用层140A。从应用层解析和执行该命令,例如,显示笔记本电脑演示文稿的下一个图片。
"Send" is the PAS function. It is capable of transmitting both PAR and PAS commands. In the first case (PAR), the transmitted command is sent from the
“Receive”是PAS函数并传输PAS命令。这是例如在具有PAS命令的主卡“Send”函数之后在从属卡140的应用层生成的回叫函数。
"Receive" is a PAS function and transmits a PAS command. This is a callback function generated eg at the application layer of the
应该注意,“Send”和“Receive”函数可以以距离限制被激活。例如,ZigBeeTM标准允许定义邻近传输的范围,以便能够根据主卡和从属卡之间的距离创建/允许邻近服务。此功能对于避免位于,例如,相邻公寓中的多个设备(接收器和/或电话)之间的干扰是有用的。 It should be noted that the "Send" and "Receive" functions can be activated with a distance limit. For example, the ZigBee TM standard allows defining the range of proximity transmissions so that proximity services can be created/allowed depending on the distance between master and slave cards. This feature is useful to avoid interference between multiple devices (receivers and/or phones) located, for example, in adjacent apartments.
“Control”是PAR函数,并传输PAR命令。这用于从应用层130A设置或获取与无线电层130B相关的无线参数。
"Control" is the PAR function and transmits the PAR command. This is used to set or acquire wireless parameters related to the
“Deactivate”是PAR函数,并传输无线电层130B的PAR命令。在无线电层130B实际解析和执行命令,无线电层130B被关闭。
"Deactivate" is a PAR function, and transmits a PAR command of the
“Activate”和“Deactivate”函数对最小化功耗有用。例如,在ZigBeeTM技术的情况下,这些函数同步地使用,以便从属卡能够只在发送命令时从主卡接收命令。主卡和从属卡只在开始(初始化通信信道时)配置的特定时隙时才激活无线电部件。 The "Activate" and "Deactivate" functions are useful for minimizing power consumption. For example, in the case of ZigBee ™ technology, these functions are used synchronously so that the slave card can only receive commands from the master card when sending commands. The master and slave cards activate the radio only at the beginning (when initializing the communication channel) of the configured specific time slots.
上面的功能可以用来实现前面所描述的情况。在对应用程序进行远程控制时,例如,可以实现下列操作: The above functions can be used to achieve the situation described earlier. When remotely controlling an application, for example, the following operations can be implemented:
●“Activate”:执行连接操作, ● "Activate": execute connection operation,
●“Control”:检查远程控制应用可用性, ● "Control": Check remote control app availability,
●“Send”:发送远程命令(例如,“下一个频道”、“上一个频道”、“音量增大”、“音量减小”等等), ● "Send": send a remote command (for example, "next channel", "previous channel", "volume up", "volume down", etc.),
●“Deactivate”:分离远程控制应用。 ● "Deactivate": Detach the remote control application. the
值得注意的是,为了简化对公用接口的描述,描述上面的功能时将主卡,即,关联到移动电话终端和用户的智能卡,视为通信发起者;但是,这不应该被解释为对本发明的限制。 It is worth noting that, in order to simplify the description of the common interface, the main card, that is, the smart card associated with the mobile phone terminal and the user, is regarded as the communication initiator when describing the above functions; limits. the
本发明的一个重要特点是对用户享用广播的内容的权限的管理。关于这一点,图4显示了主卡130(即,带有集成的无线电通信单元的SIM卡)中的以及从属卡140(即,带有集成的无线电通信单元的电视智能卡)中的安全应用的软件体系结构。 An important feature of the present invention is the management of user rights to enjoy broadcast content. In this regard, FIG. 4 shows the security application in the master card 130 (i.e., SIM card with integrated radio communication unit) and in the slave card 140 (i.e., TV smart card with integrated radio communication unit). Software Architecture. the
为了保护广播内容和管理用户权限,内容访问系统或CAS通常是基于SIM(对于移动电话之类的移动电话终端)或电视智能卡(对于机顶盒电视接收机之类的家用电子设备),在广播分发系统中实现的。CAS基本上是由在智能卡内执行的安全应用和在终端或设备内执行的与安全应用进行通信(以检索允许对音频/视频流进行解密的视频广播密钥)的互补应用程序构成。 In order to protect broadcast content and manage user rights, content access systems or CAS are usually based on SIM (for mobile phone terminals such as mobile phones) or TV smart cards (for home electronic devices such as set-top boxes and television receivers) realized in. CAS basically consists of a security application executing within the smart card and a complementary application executing within the terminal or device that communicates with the security application to retrieve the video broadcasting key that allows the decryption of the audio/video stream. the
通过本发明中所描述的原理,主卡,例如,130,以及从属卡,例如,140,可以用来保护广播内容和管理用户权限。如图4所示,主卡和从属卡内的安全应用程序可以分为三个部分: Through the principles described in this invention, a master card, such as 130, and a slave card, such as 140, can be used to protect broadcast content and manage user rights. As shown in Figure 4, the security applications in the master card and slave card can be divided into three parts:
●安全应用核500(对于主卡)和530(对于从属卡); ●Safety application core 500 (for master card) and 530 (for slave card);
●权限数据库510(对于主卡)和540(对于从属卡); The authority database 510 (for the main card) and 540 (for the subordinate card);
●权限传输模块520(对于主卡)和550(对于从属卡)。 • Rights transfer module 520 (for master card) and 550 (for slave card). the
值得注意的是,在电视智能卡中使用安全应用核和权限数据库是已知的,并且对于这些类型的应用是常见的。全新的是传输权限的思想,以及因此而在智能卡130和140中分别存在块520和550。
It is worth noting that the use of secure application cores and rights databases in TV smart cards is known and common for these types of applications. What is completely new is the idea of transferring permissions, and therefore the existence of blocks 520 and 550 in
当CAS对于移动电话终端和家用电子设备两者都相同时,权限传输可以通过使用邻近无线电通信信道(图中的30)轻松地直接执行。 When the CAS is the same for both the mobile phone terminal and the home electronic device, authority transfer can be easily and directly performed by using the proximity radio communication channel (30 in the figure). the
具体来说,可以考虑两种情况。 Specifically, two cases can be considered. the
在第一种情况下,移动电话终端的所有者希望向家用电子设备传输某些权限。从终端上的图形用户界面[GUI],用户识别附近的设备,并决定发送他选择的某些权限(例如,通过同一个GUI),例如, 观看电影的权限。权限传输单元520搜索移动终端权限数据库510上的所选权限,并通过邻近信道30将它们传输到互补块550。块550将新的权限存储在设备的权限数据库540中,以便设备的所有者可以通过关联到设备的广播信道观看电影。在此情况下,我们讨论了“推”权限传输。
In the first case, the owner of the mobile phone terminal wishes to transfer certain rights to the home electronic device. From a Graphical User Interface [GUI] on a terminal, the user identifies nearby devices and decides to send certain rights of his choice (e.g., through the same GUI), e.g. the right to watch a movie. The rights transfer unit 520 searches the selected rights on the mobile terminal rights database 510 and transfers them to the complementary block 550 through the
在第二种情况下,家用电子设备的所有者试图观看某些未预订的赛事。设备试着向邻近的主卡(当存在时)发送权限请求。如果主卡能够给出请求的权限,则用户在移动电话终端上确认之后,块510将它发送到块550,如在前面的情况中那样。在此情况下,我们讨论了“拉”权限传输。 In the second case, the owner of a home electronic device attempts to watch certain unbooked events. The device tries to send a permission request to the neighboring primary card (when present). If the master card is able to give the requested authority, block 510 sends it to block 550 after confirmation by the user on the mobile phone terminal, as in the previous case. In this case, we're talking about a "pull" permission transfer. the
当主卡中的CAS不同于从属卡中的CAS时,则难以本地管理权限传输(即,通过邻近无线电通信信道),因为协议、数据库权限和结构不匹配,可能是CAS供应商专有的。 When the CAS in the master differs from the CAS in the slave, it is difficult to manage authority transfer locally (i.e., over a proximity radio communication channel) because of protocol, database authority, and structure mismatches, possibly proprietary to the CAS vendor. the
在此情况下,块520和550可以只用于选择要传输的权限。可以通过网络110进行真实的传输。具体来说,在选择要传输的权限之后,主卡通过移动电话终端与网络110进行通信,主卡的所有者向从属卡的所有者给予某些权限。网络110更新远程权限数据库(这是用于管理广播内容的权限的体系结构的普通特点)中的权限,并与播放器160进行通信,从属卡上的某些权限必须利用权限更新过程(这是广播内容购买过程的普通特点),通过设备150的广播信道20来进行更新。主卡的所有者可以对应于从属卡。通过使用主卡和从属卡的耦合,可以升级/传输权限而无需使用外部过程,例如,打电话到呼叫中心的请求购买或更新权限。
In this case, blocks 520 and 550 may only be used to select the rights to transfer. Actual transmissions may take place over the network 110 . Specifically, after selecting the rights to be transferred, the master card communicates with the network 110 through the mobile phone terminal, and the owner of the master card gives certain rights to the owners of the slave cards. Network 110 updates the rights in a remote rights database (which is a common feature of architectures for managing rights to broadcast content) and communicates with player 160 that certain rights on slave cards must utilize the rights update process (which is a common feature of architectures for managing rights to broadcast content). A common feature of broadcast content purchase process), update via the broadcast channel 20 of the
一般而言,本发明允许轻松地管理用户预订,其计费和权限的更新/购买。 In general, the invention allows easy management of user subscriptions, their billing and renewal/purchase of entitlements. the
根据本发明,优选情况下,可以利用和通过智能卡,实现从电视接收机(例如,机顶盒电视接收机150)到广播服务提供商的返回信道。事实上,关联到电视接收机(例如,150)的智能卡(例如,140)可以向关联到移动电话终端(例如,120)的智能卡(例如,130)发 送命令,并且移动电话终端(例如,120)可以通过移动电信网络(例如,网络110)向广播服务提供商发送信息。这样的返回信道实现起来是切实可行的,因为不需要电视接收机的任何进一步的连接。 According to the present invention, a return channel from a television receiver (eg, set-top box television receiver 150 ) to a broadcast service provider can preferably be implemented using and through a smart card. In fact, a smart card (e.g. 140) associated to a television receiver (e.g. 150) can send commands to a smart card (e.g. 130) associated to a mobile phone terminal (e.g. 120), and the mobile phone terminal (e.g. 120) Information may be sent to a broadcast service provider over a mobile telecommunications network (eg, network 110). Such a return channel is practical to implement since no further connection to the television receiver is required. the
虽然本发明主要讲述了方法,但是,一个重要方面涉及智能卡,具体来说,涉及主卡或用户卡和从属卡或设备卡。下面,将描述它们的主要技术特征。 Although the present invention is primarily concerned with methods, one important aspect concerns smart cards, in particular master or user cards and slave or device cards. In the following, their main technical features will be described. the
一般而言,根据本发明,主卡(例如,130)是适于关联到本地电子设备(例如,120),具体来说是移动电话终端的智能卡;它至少存储了用户权限信息并且包括配置块(例如,310),以适于向用于进行广播接收的远程电子设备(例如,150),具体来说是向关联到该远程电子设备的智能卡(例如,140)发射所存储的用户权限信息;发射的信息适于且足以供该远程电子设备使用,以便自主地享用广播的通信服务。 Generally speaking, according to the present invention, the main card (for example, 130) is a smart card suitable for being associated with a local electronic device (for example, 120), specifically a mobile phone terminal; it stores at least user authorization information and includes a configuration block (e.g., 310) adapted to transmit stored user rights information to a remote electronic device (e.g., 150) for broadcast reception, in particular to a smart card (e.g., 140) associated with the remote electronic device ; The transmitted information is suitable and sufficient for use by the remote electronic device in order to autonomously enjoy the broadcast communication service. the
配置块(例如,310)可适于向远程电子设备,具体来说是向关联到该远程电子设备的智能卡,不仅发射用户权限信息,而且也发射用户偏好信息。 The configuration block (eg, 310) may be adapted to transmit not only user rights information but also user preference information to a remote electronic device, in particular to a smart card associated with the remote electronic device. the
主卡(例如,130)还可以包括编程块(例如,320),其适于向远程电子设备,具体来说是向关联到该远程电子设备的智能卡,发射应用程序。 The master card (eg, 130) may also include a programming block (eg, 320) adapted to transmit an application program to a remote electronic device, in particular to a smart card associated with the remote electronic device. the
主卡(例如,130)还可以包括控制块(例如,330),其适于向远程电子设备,具体来说是向关联到该远程电子设备的智能卡,发射应用程序命令。 The master card (eg, 130) may also include a control block (eg, 330) adapted to transmit application commands to a remote electronic device, in particular to a smart card associated with the remote electronic device. the
主卡(例如,130)还可以包括用于与远程电子设备进行通信(具体来说是与关联到远程电子设备的智能卡,具体来说是通过ZigBeeTM技术)的无线电通信单元。 The master card (eg, 130) may also include a radio communication unit for communicating with a remote electronic device, specifically with a smart card associated to the remote electronic device, specifically via ZigBee ™ technology.
主卡(例如,130)还可以包括关联到无线电覆盖空间并当在此无线电覆盖空间内时适于探测远程电子设备(具体来说是关联到远程电子设备关联的智能卡)的无线电邻近探测器。 The master card (eg, 130 ) may also include a radio proximity detector associated to the radio coverage space and adapted to detect a remote electronic device (specifically, a smart card associated with the remote electronic device) when within the radio coverage space. the
根据本发明的主卡可以包括其他的特点;例如,通常,卡130, 它至少包括电话SIM或USIM的基本特征,比如运营商网络验证功能。
The master card according to the invention may include other features; for example, typically, a
一般而言,根据本发明,从属卡(例如,140)是适于关联到用于进行广播接收的本地家用电子设备(例如,150)的智能卡;它包括配置块(例如,410),其适于从该远程电子设备(例如,120),具体来说是从关联到该远程电子设备的智能卡(例如,130)接收和存储用户权限信息,并且其适于使用接收到的信息自主地享用广播的通信服务。 In general, according to the present invention, a slave card (eg, 140) is a smart card adapted to be associated to a local home electronic device (eg, 150) for broadcast reception; it includes a configuration block (eg, 410) adapted to for receiving and storing user rights information from the remote electronic device (e.g., 120), specifically from a smart card (e.g., 130) associated to the remote electronic device, and adapted to use the received information to autonomously enjoy the broadcast communication services. the
配置块(例如,410)可适于还从远程电子设备,具体来说,从与远程电子设备关联的智能卡,接收用户偏好信息。 The configuration block (eg, 410) may be adapted to receive user preference information also from the remote electronic device, in particular, from a smart card associated with the remote electronic device. the
从属卡(例如,140)还可以包括编程块(例如,420),其适于从远程电子设备,具体来说,从与远程电子设备关联的智能卡,接收应用程序。 The slave card (eg, 140) may also include a programming block (eg, 420) adapted to receive an application program from a remote electronic device, in particular, from a smart card associated with the remote electronic device. the
从属卡(例如,140)还可以包括控制块(例如,430),其适于从远程电子设备,具体来说,从与远程电子设备关联的智能卡,接收应用程序命令。 The slave card (eg, 140) may also include a control block (eg, 430) adapted to receive application commands from a remote electronic device, in particular, from a smart card associated with the remote electronic device. the
从属卡(例如,140)可以进一步适于将接收到的应用程序和/或所述接收到的命令传输到关联的本地电子设备(例如,150)。 The slave card (eg, 140) may be further adapted to transmit the received application and/or said received command to an associated local electronic device (eg, 150). the
从属卡(例如,140)还可以包括用于与远程电子设备进行通信(具体来说是与关联到远程电子设备的智能卡,具体来说是通过ZigBeeTM技术)的无线电通信单元。 The slave card (eg, 140 ) may also include a radio communication unit for communicating with a remote electronic device, specifically with a smart card associated to the remote electronic device, specifically via ZigBee ™ technology.
从属卡(例如,140)可以包括与无线电覆盖空间关联并当在此无线电覆盖空间内时,用于探测远程电子设备,具体来说是与所述远程电子设备关联的智能卡的无线邻近探测器。 The slave card (eg, 140) may include a wireless proximity detector associated with the radio coverage space and for detecting a remote electronic device, specifically a smart card associated with the remote electronic device when within the radio coverage space. the
根据本发明的从属卡可以包括其他特点;例如,类似于卡140,它包括电视智能卡的某些特点,例如,用户权限数据库,用户权限验证和视频流密钥的生成。
A slave card according to the invention may include other features; for example, similar to
应该理解,一旦用户权限信息被从主卡传输到从属卡,则从属卡具有允许关联的电子设备以普通方式自主地享用广播的通信服务所必需的最少信息,而无需主卡的进一步帮助。 It should be understood that once the user rights information is transferred from the master card to the slave card, the slave card has the minimum information necessary to allow the associated electronic device to autonomously enjoy broadcasted communication services in a normal manner without further assistance from the master card. the
Claims (18)
Applications Claiming Priority (1)
| Application Number | Priority Date | Filing Date | Title |
|---|---|---|---|
| PCT/EP2006/009470 WO2008037285A1 (en) | 2006-09-29 | 2006-09-29 | Method of transferring broadcast related information from a portable terminal to a nearby broadcast receiver |
Publications (2)
| Publication Number | Publication Date |
|---|---|
| CN101536374A CN101536374A (en) | 2009-09-16 |
| CN101536374B true CN101536374B (en) | 2012-05-09 |
Family
ID=38038529
Family Applications (1)
| Application Number | Title | Priority Date | Filing Date |
|---|---|---|---|
| CN2006800563819A Expired - Fee Related CN101536374B (en) | 2006-09-29 | 2006-09-29 | Method for enjoying broadcast communication service through different electronic devices |
Country Status (4)
| Country | Link |
|---|---|
| US (1) | US20100107186A1 (en) |
| EP (1) | EP2082505A1 (en) |
| CN (1) | CN101536374B (en) |
| WO (1) | WO2008037285A1 (en) |
Families Citing this family (19)
| Publication number | Priority date | Publication date | Assignee | Title |
|---|---|---|---|---|
| EP2146528A1 (en) * | 2008-07-15 | 2010-01-20 | Gemplus | Method for accessing a service offered from a token, corresponding token and system |
| US8887220B2 (en) * | 2008-07-25 | 2014-11-11 | At&T Intellectual Property I, L.P. | Network interface devices |
| US9332217B2 (en) * | 2008-12-29 | 2016-05-03 | Centurylink Intellectual Property Llc | Method and apparatus for communicating data via a cable card |
| US8279805B2 (en) | 2009-08-24 | 2012-10-02 | At&T Intellectual Property I, L.P. | Residential gateway |
| FR2972095A1 (en) * | 2011-09-29 | 2012-08-31 | France Telecom | Method for transferring access rights to audio-visual content broadcast service between e.g. TVs, involves receiving and processing response to access rights transfer request, where response has data for activation of access rights |
| US8949923B2 (en) * | 2012-02-21 | 2015-02-03 | Time Warner Cable Enterprises Llc | Remote media streaming |
| US20140006569A1 (en) * | 2012-06-28 | 2014-01-02 | Axel Ferrazzini | Methods and apparatus for associating a device to a network |
| CN102833607B (en) * | 2012-08-21 | 2015-06-10 | 中兴通讯股份有限公司 | Method, device and system for controlling wired television system |
| KR20140102859A (en) * | 2013-02-15 | 2014-08-25 | 삼성전자주식회사 | A contents receiving device and method for receiving an encoded contents, a contents supplying device and method for supplying a encoded contents |
| US9219997B2 (en) | 2013-10-24 | 2015-12-22 | Lenovo Enterprise Solutions (Singapore) Pte. Ltd. | Managing service subscriptions over a unidirectional transmission channel |
| US9801044B2 (en) | 2014-05-13 | 2017-10-24 | Samsung Electronics Co., Ltd. | Apparatus and method for accessing wireless network |
| CN105611312A (en) * | 2016-02-05 | 2016-05-25 | 丁锋 | Cinema live broadcasting monitoring management system |
| US10945033B2 (en) * | 2018-03-14 | 2021-03-09 | Idomoo Ltd. | System and method to generate a customized, parameter-based video |
| US10904637B2 (en) * | 2018-12-17 | 2021-01-26 | Qualcomm Incorporated | Embedded rendering engine for media data |
| US12185030B2 (en) * | 2020-05-21 | 2024-12-31 | Sony Group Corporation | Image display apparatus, method for generating trained neural network model, and computer program |
| JP7790436B2 (en) * | 2021-07-21 | 2025-12-23 | ソニーグループ株式会社 | lighting equipment |
| WO2023096874A1 (en) * | 2021-11-29 | 2023-06-01 | Lumileds Llc | Projector with local dimming |
| US12206836B1 (en) * | 2023-06-29 | 2025-01-21 | GM Global Technology Operations LLC | Polarization-based optical arrangement with virtual displays and multiple fields of view |
| US12477196B1 (en) * | 2024-05-17 | 2025-11-18 | Microsoft Technology Licensing, Llc | AI-based video summary generation for content consumption |
Citations (2)
| Publication number | Priority date | Publication date | Assignee | Title |
|---|---|---|---|---|
| EP0804012A2 (en) * | 1996-04-23 | 1997-10-29 | Nokia Mobile Phones Ltd. | Multimedia terminal and method for realising multimedia reception |
| CN1372723A (en) * | 1999-09-03 | 2002-10-02 | 朴奎珍 | Multi-channel information broadcasting system |
Family Cites Families (8)
| Publication number | Priority date | Publication date | Assignee | Title |
|---|---|---|---|---|
| JP3777648B2 (en) | 1996-04-03 | 2006-05-24 | 石川島播磨重工業株式会社 | Impeller fastening structure |
| US8689265B2 (en) * | 1999-03-30 | 2014-04-01 | Tivo Inc. | Multimedia mobile personalization system |
| US7181691B2 (en) * | 1999-09-16 | 2007-02-20 | Sharp Laboratories Of America, Inc. | Audiovisual information management system with presentation service |
| US6813619B2 (en) * | 2001-03-30 | 2004-11-02 | Koninklijke Philips Electronics N.V. | Storing and using personal profile from the remote |
| US20050071866A1 (en) * | 2003-01-30 | 2005-03-31 | Ali Louzir | System for receiving broadcast digital data comprising a master digital terminal, and at least one slave digital terminal |
| EP1683383A1 (en) * | 2003-11-14 | 2006-07-26 | Cingular Wireless Ii, Llc | Personal base station system with wireless video capability |
| SE532117C2 (en) | 2004-12-17 | 2009-10-27 | Ericsson Telefon Ab L M | Authorization in cellular communication systems |
| US7590703B2 (en) * | 2006-03-27 | 2009-09-15 | Exceptional Innovation, Llc | Set top box for convergence and automation system |
-
2006
- 2006-09-29 CN CN2006800563819A patent/CN101536374B/en not_active Expired - Fee Related
- 2006-09-29 EP EP06805951A patent/EP2082505A1/en not_active Ceased
- 2006-09-29 US US12/311,342 patent/US20100107186A1/en not_active Abandoned
- 2006-09-29 WO PCT/EP2006/009470 patent/WO2008037285A1/en not_active Ceased
Patent Citations (2)
| Publication number | Priority date | Publication date | Assignee | Title |
|---|---|---|---|---|
| EP0804012A2 (en) * | 1996-04-23 | 1997-10-29 | Nokia Mobile Phones Ltd. | Multimedia terminal and method for realising multimedia reception |
| CN1372723A (en) * | 1999-09-03 | 2002-10-02 | 朴奎珍 | Multi-channel information broadcasting system |
Also Published As
| Publication number | Publication date |
|---|---|
| EP2082505A1 (en) | 2009-07-29 |
| US20100107186A1 (en) | 2010-04-29 |
| CN101536374A (en) | 2009-09-16 |
| WO2008037285A1 (en) | 2008-04-03 |
Similar Documents
| Publication | Publication Date | Title |
|---|---|---|
| CN101536374B (en) | Method for enjoying broadcast communication service through different electronic devices | |
| JP4610550B2 (en) | Control of conditional access mechanism | |
| US9436805B1 (en) | Method and system for transfer of subscription media | |
| KR101473460B1 (en) | Method for enjoying a service through a mobile telephone terminal and subscriber identification card for implementing it | |
| CN100546376C (en) | Configuration management of networked systems for co-location | |
| KR100958032B1 (en) | Automatic roaming device and method of terminal in digital cable broadcasting network | |
| US20080096608A1 (en) | Method for loading and managing an application on mobile equipment | |
| CN1605206A (en) | Method and system for conditional access | |
| CN101543099A (en) | Use, provision, customization and billing of services for mobile users through distinct electronic apparatuses | |
| US8151342B2 (en) | Contents execution device equipped with independent authentication means and contents re-distribution method | |
| CN102124761B (en) | System for maintaining the broadcasting information in usim unlock environment and method thereof | |
| JP3847636B2 (en) | Cable television system and method for providing cable television service using the system | |
| KR101953628B1 (en) | Set-top box device, and control method thereof | |
| ES2222989T3 (en) | METHOD TO CONTROL A TRANSMISSION. | |
| KR100992277B1 (en) | Apparatus and method for managing and transmitting restricted receiving applications by type for providing downloadable restricted receiving service | |
| US8452261B2 (en) | Apparatus, systems and methods to communicate authorized programming between a receiving device and a mobile device | |
| US20070254651A1 (en) | Digital Broadcast Receiver | |
| KR102052455B1 (en) | Contents management apparatus, and control method thereof | |
| KR100927961B1 (en) | Downloadable Restriction Receiving Manager System and Its Control Method | |
| KR20050102646A (en) | Method for transmitting a user data record to a user station | |
| KR100570502B1 (en) | Mobile content service method | |
| KR100947315B1 (en) | Method and system for supporting roaming based on downloadable conditional access system | |
| KR20070089582A (en) | Method of managing a sek and a pek for a pay-per view based and service based broadcast subscriber and communication system thereof | |
| KR101248828B1 (en) | System and method for allocating unique identification to CAS client in eXchangeable Conditional Access System | |
| KR101131067B1 (en) | System and method for assigning and verification unique device number of cas client in unidirectional broadcasting network |
Legal Events
| Date | Code | Title | Description |
|---|---|---|---|
| C06 | Publication | ||
| PB01 | Publication | ||
| C10 | Entry into substantive examination | ||
| SE01 | Entry into force of request for substantive examination | ||
| C14 | Grant of patent or utility model | ||
| GR01 | Patent grant | ||
| CF01 | Termination of patent right due to non-payment of annual fee |
Granted publication date: 20120509 Termination date: 20200929 |
|
| CF01 | Termination of patent right due to non-payment of annual fee |
