CN101116542A - Electronic cigarette with nanoscale ultra-fine space heating atomization function - Google Patents
Electronic cigarette with nanoscale ultra-fine space heating atomization function Download PDFInfo
- Publication number
- CN101116542A CN101116542A CNA2007101215246A CN200710121524A CN101116542A CN 101116542 A CN101116542 A CN 101116542A CN A2007101215246 A CNA2007101215246 A CN A2007101215246A CN 200710121524 A CN200710121524 A CN 200710121524A CN 101116542 A CN101116542 A CN 101116542A
- Authority
- CN
- China
- Prior art keywords
- heater
- heating
- cigarette
- micro
- nicotine solution
- Prior art date
- Legal status (The legal status is an assumption and is not a legal conclusion. Google has not performed a legal analysis and makes no representation as to the accuracy of the status listed.)
- Granted
Links
- 238000010438 heat treatment Methods 0.000 title claims abstract description 105
- 239000003571 electronic cigarette Substances 0.000 title claims abstract description 39
- 238000000889 atomisation Methods 0.000 title claims description 56
- SNICXCGAKADSCV-JTQLQIEISA-N (-)-Nicotine Chemical compound CN1CCC[C@H]1C1=CC=CN=C1 SNICXCGAKADSCV-JTQLQIEISA-N 0.000 claims abstract description 70
- 229960002715 nicotine Drugs 0.000 claims abstract description 70
- SNICXCGAKADSCV-UHFFFAOYSA-N nicotine Natural products CN1CCCC1C1=CC=CN=C1 SNICXCGAKADSCV-UHFFFAOYSA-N 0.000 claims abstract description 70
- 235000019504 cigarettes Nutrition 0.000 claims abstract description 51
- 239000007788 liquid Substances 0.000 claims abstract description 51
- 241000208125 Nicotiana Species 0.000 claims abstract description 38
- 235000002637 Nicotiana tabacum Nutrition 0.000 claims abstract description 38
- 230000000694 effects Effects 0.000 claims abstract description 35
- 238000005485 electric heating Methods 0.000 claims abstract description 16
- 238000011049 filling Methods 0.000 claims abstract description 7
- 238000000034 method Methods 0.000 claims description 18
- 230000000391 smoking effect Effects 0.000 claims description 18
- 230000008569 process Effects 0.000 claims description 10
- 239000000779 smoke Substances 0.000 claims description 6
- 230000006698 induction Effects 0.000 claims description 5
- 239000002071 nanotube Substances 0.000 claims description 5
- 230000005855 radiation Effects 0.000 claims description 5
- WHXSMMKQMYFTQS-UHFFFAOYSA-N Lithium Chemical compound [Li] WHXSMMKQMYFTQS-UHFFFAOYSA-N 0.000 claims description 3
- OJIJEKBXJYRIBZ-UHFFFAOYSA-N cadmium nickel Chemical compound [Ni].[Cd] OJIJEKBXJYRIBZ-UHFFFAOYSA-N 0.000 claims description 3
- 229910052744 lithium Inorganic materials 0.000 claims description 3
- 229910052987 metal hydride Inorganic materials 0.000 claims description 2
- 239000003595 mist Substances 0.000 abstract 1
- 239000011162 core material Substances 0.000 description 8
- 238000005516 engineering process Methods 0.000 description 8
- 238000010586 diagram Methods 0.000 description 7
- 238000004519 manufacturing process Methods 0.000 description 7
- 238000013461 design Methods 0.000 description 6
- 239000000463 material Substances 0.000 description 6
- 210000000214 mouth Anatomy 0.000 description 6
- 230000009471 action Effects 0.000 description 5
- 229910052751 metal Inorganic materials 0.000 description 5
- 239000002184 metal Substances 0.000 description 5
- 229910001220 stainless steel Inorganic materials 0.000 description 5
- 239000010935 stainless steel Substances 0.000 description 5
- 230000005586 smoking cessation Effects 0.000 description 4
- 230000004087 circulation Effects 0.000 description 3
- 210000003928 nasal cavity Anatomy 0.000 description 3
- 229920003023 plastic Polymers 0.000 description 3
- 229910021420 polycrystalline silicon Inorganic materials 0.000 description 3
- 229920005591 polysilicon Polymers 0.000 description 3
- OKTJSMMVPCPJKN-UHFFFAOYSA-N Carbon Chemical compound [C] OKTJSMMVPCPJKN-UHFFFAOYSA-N 0.000 description 2
- 239000003513 alkali Substances 0.000 description 2
- 230000000844 anti-bacterial effect Effects 0.000 description 2
- 229910052799 carbon Inorganic materials 0.000 description 2
- 239000012530 fluid Substances 0.000 description 2
- 239000007789 gas Substances 0.000 description 2
- 210000004072 lung Anatomy 0.000 description 2
- 239000004033 plastic Substances 0.000 description 2
- XLYOFNOQVPJJNP-UHFFFAOYSA-N water Substances O XLYOFNOQVPJJNP-UHFFFAOYSA-N 0.000 description 2
- 239000004642 Polyimide Substances 0.000 description 1
- BQCADISMDOOEFD-UHFFFAOYSA-N Silver Chemical compound [Ag] BQCADISMDOOEFD-UHFFFAOYSA-N 0.000 description 1
- 239000000654 additive Substances 0.000 description 1
- 238000004458 analytical method Methods 0.000 description 1
- 238000013459 approach Methods 0.000 description 1
- 230000001580 bacterial effect Effects 0.000 description 1
- 230000033228 biological regulation Effects 0.000 description 1
- 230000005540 biological transmission Effects 0.000 description 1
- 230000017531 blood circulation Effects 0.000 description 1
- 230000008859 change Effects 0.000 description 1
- 239000003086 colorant Substances 0.000 description 1
- 238000002485 combustion reaction Methods 0.000 description 1
- 238000011109 contamination Methods 0.000 description 1
- 230000008878 coupling Effects 0.000 description 1
- 238000010168 coupling process Methods 0.000 description 1
- 238000005859 coupling reaction Methods 0.000 description 1
- 238000005034 decoration Methods 0.000 description 1
- 230000008021 deposition Effects 0.000 description 1
- 238000011982 device technology Methods 0.000 description 1
- 239000000428 dust Substances 0.000 description 1
- 230000003670 easy-to-clean Effects 0.000 description 1
- 230000005611 electricity Effects 0.000 description 1
- 230000005674 electromagnetic induction Effects 0.000 description 1
- 238000003912 environmental pollution Methods 0.000 description 1
- 230000005284 excitation Effects 0.000 description 1
- 238000001914 filtration Methods 0.000 description 1
- 239000006260 foam Substances 0.000 description 1
- 239000000446 fuel Substances 0.000 description 1
- 230000017525 heat dissipation Effects 0.000 description 1
- 230000020169 heat generation Effects 0.000 description 1
- 229910052739 hydrogen Inorganic materials 0.000 description 1
- 239000001257 hydrogen Substances 0.000 description 1
- 230000001788 irregular Effects 0.000 description 1
- 238000011068 loading method Methods 0.000 description 1
- 230000007774 longterm Effects 0.000 description 1
- 238000012423 maintenance Methods 0.000 description 1
- 229920002529 medical grade silicone Polymers 0.000 description 1
- 239000002105 nanoparticle Substances 0.000 description 1
- 229910052759 nickel Inorganic materials 0.000 description 1
- PXHVJJICTQNCMI-UHFFFAOYSA-N nickel Substances [Ni] PXHVJJICTQNCMI-UHFFFAOYSA-N 0.000 description 1
- -1 nickel metal hydride Chemical class 0.000 description 1
- 231100000252 nontoxic Toxicity 0.000 description 1
- 230000003000 nontoxic effect Effects 0.000 description 1
- 239000013307 optical fiber Substances 0.000 description 1
- 230000010355 oscillation Effects 0.000 description 1
- 229920001721 polyimide Polymers 0.000 description 1
- 229920000642 polymer Polymers 0.000 description 1
- 238000012545 processing Methods 0.000 description 1
- 239000004065 semiconductor Substances 0.000 description 1
- 239000004945 silicone rubber Substances 0.000 description 1
- 206010040872 skin infection Diseases 0.000 description 1
- 235000019640 taste Nutrition 0.000 description 1
- 239000002341 toxic gas Substances 0.000 description 1
- 238000012546 transfer Methods 0.000 description 1
- 238000002604 ultrasonography Methods 0.000 description 1
- 238000009834 vaporization Methods 0.000 description 1
- 230000008016 vaporization Effects 0.000 description 1
- 239000002023 wood Substances 0.000 description 1
Images
Classifications
-
- A—HUMAN NECESSITIES
- A61—MEDICAL OR VETERINARY SCIENCE; HYGIENE
- A61M—DEVICES FOR INTRODUCING MEDIA INTO, OR ONTO, THE BODY; DEVICES FOR TRANSDUCING BODY MEDIA OR FOR TAKING MEDIA FROM THE BODY; DEVICES FOR PRODUCING OR ENDING SLEEP OR STUPOR
- A61M11/00—Sprayers or atomisers specially adapted for therapeutic purposes
- A61M11/04—Sprayers or atomisers specially adapted for therapeutic purposes operated by the vapour pressure of the liquid to be sprayed or atomised
- A61M11/041—Sprayers or atomisers specially adapted for therapeutic purposes operated by the vapour pressure of the liquid to be sprayed or atomised using heaters
- A61M11/042—Sprayers or atomisers specially adapted for therapeutic purposes operated by the vapour pressure of the liquid to be sprayed or atomised using heaters electrical
-
- A—HUMAN NECESSITIES
- A61—MEDICAL OR VETERINARY SCIENCE; HYGIENE
- A61M—DEVICES FOR INTRODUCING MEDIA INTO, OR ONTO, THE BODY; DEVICES FOR TRANSDUCING BODY MEDIA OR FOR TAKING MEDIA FROM THE BODY; DEVICES FOR PRODUCING OR ENDING SLEEP OR STUPOR
- A61M15/00—Inhalators
- A61M15/06—Inhaling appliances shaped like cigars, cigarettes or pipes
-
- A—HUMAN NECESSITIES
- A61—MEDICAL OR VETERINARY SCIENCE; HYGIENE
- A61M—DEVICES FOR INTRODUCING MEDIA INTO, OR ONTO, THE BODY; DEVICES FOR TRANSDUCING BODY MEDIA OR FOR TAKING MEDIA FROM THE BODY; DEVICES FOR PRODUCING OR ENDING SLEEP OR STUPOR
- A61M2209/00—Ancillary equipment
- A61M2209/04—Tools for specific apparatus
- A61M2209/045—Tools for specific apparatus for filling, e.g. for filling reservoirs
Landscapes
- Catching Or Destruction (AREA)
- Manufacture Of Tobacco Products (AREA)
Abstract
一种对烟碱溶液进行纳米尺度超精细空间加热雾化的电子烟,包括烟杆和连接于烟杆前端的烟嘴;烟杆为后端焊有堵头的空心杆状烟杆,其内腔中依次装有可充电电池、用于贮存烟碱溶液的储液箱,装于储液箱前端并与烟碱溶液接触的吸液芯和装在位于烟杆前部加热腔内的具有空间加热雾化效应的加热器;与储液箱对应的烟杆壁上设与储液箱相通的加液口,烟杆壁任意处装有电加热开关;烟嘴中心设伸进烟杆内的空心导管;烟嘴前部壁面上装有压电传感器;烟杆后端设通过外电源对可充电电池进行充电的充电用连接器件;压电传感器与可充电电池始终连通;电加热开关、压电传感器和可充电电池构成电路回路;具有组装方便、易于携带、应用广泛、使用方便等优点。
An electronic cigarette that heats and atomizes nicotine solution in a nanometer-scale ultra-fine space, including a cigarette rod and a cigarette holder connected to the front end of the cigarette rod; A rechargeable battery, a liquid storage tank for storing nicotine solution, a liquid-absorbing core installed in the front end of the liquid storage tank and in contact with the nicotine solution, and a space heating mist installed in the heating chamber at the front of the tobacco rod are installed in sequence in the battery. The heating effect of the heater; the wall of the tobacco rod corresponding to the liquid storage tank is provided with a liquid filling port connected with the liquid storage tank, and an electric heating switch is installed at any place on the wall of the tobacco rod; the center of the cigarette holder is provided with a hollow conduit extending into the tobacco rod; A piezoelectric sensor is installed on the front wall of the cigarette holder; a connecting device for charging the rechargeable battery is provided at the rear end of the cigarette rod through an external power source; the piezoelectric sensor is always connected with the rechargeable battery; the electric heating switch, the piezoelectric sensor and the rechargeable The battery constitutes a circuit loop; it has the advantages of convenient assembly, easy portability, wide application, and convenient use.
Description
技术领域technical field
本发明涉及一种具有纳米尺度超精细空间加热雾化功能的电子烟,特别涉及一种可对液体烟碱实现纳升量级控制并基于微型化电阻、激光、射频、电磁感应、红外、超声、微波等器件对之实施空间超精细高效加热雾化的电子烟。The present invention relates to an electronic cigarette with nanoscale ultra-fine space heating atomization function, in particular to an electronic cigarette that can realize nanoliter level control of liquid nicotine and is based on miniaturized resistance, laser, radio frequency, electromagnetic induction, infrared, ultrasonic , microwave and other devices implement space ultra-fine and efficient heating and atomization of electronic cigarettes.
背景技术Background technique
近年来,传统吸烟方式对吸烟者本人及其周围人群带来的危害,已越来越为人们所认识。为此,在许多国家和地区,由政府部门出台的规定中,已明令禁止在任何公共场合吸烟。所以,戒烟运动正逐步深入人心。然而,这对于上瘾很深的烟民而言,戒烟确实是一个艰难的过程。In recent years, the harm of traditional smoking to the smoker himself and the people around him has become more and more recognized by people. For this reason, in many countries and regions, in the regulations issued by government departments, smoking in any public places is expressly prohibited. Therefore, the smoking cessation campaign is gradually gaining popularity. However, for smokers who are deeply addicted, quitting smoking is indeed a difficult process.
为满足戒烟需要,至今市场上推出了诸多形式不一的产品,如药片、器具、电子烟等。其中,电子烟可实现对烟碱的雾化,在抽吸过程中保留了传统抽烟方式那样的吞云吐雾的特点,更符合吸烟者自身沿袭下来的习惯,同时由于电子烟所选用的烟碱已最大限度地去除了传统烟草中的有害成分,一改其良莠不分、全部吸入体内的不足,因而在降低烟草危害方面颇有吸引力。正因如此,电子烟近年来不断得到消费者的青睐,正逐步被确为是效果优良的戒烟产品。In order to meet the needs of smoking cessation, many products in different forms have been launched on the market so far, such as tablets, appliances, electronic cigarettes, etc. Among them, the electronic cigarette can realize the atomization of nicotine, and retains the characteristics of the traditional smoking method in the process of smoking, which is more in line with the habit of smokers themselves. Alkali has removed the harmful components in traditional tobacco to the greatest extent, and corrected the problem of not distinguishing the good from the bad and inhaling them all into the body, so it is quite attractive in reducing the harm of tobacco. Because of this, e-cigarettes have been favored by consumers in recent years, and are gradually being recognized as effective smoking cessation products.
在目前用以实现电子烟雾化功能的技术途径中,主要分为两类:加热雾化及超声雾化。前者,刘静及吕永钢曾于2002年末提出一种可对小空腔内液体实施加热雾化的方案(刘静,吕永钢,一种笔式微型蒸汽发生器,中国专利03242914.2),易于实施于常规液体及液体烟碱的雾化,从而发展出可对鼻腔、口腔等部位输送烟碱蒸汽的功能;此后,尽管一些研究者也提出了相应的笔式加热雾化电子烟,但技术思路与此大同小异。与电子加热实现液体烟碱雾化不同的是,一份于2003年3月提交的中国专利,提出了超声雾化方案(韩力,一种非可燃性电子雾化香烟,中国专利03111173.4),基于特定频率下超声波对液体的振荡激发作用,可以产生对应的烟碱雾化微滴,从而输送到人体口腔内产生吸烟的感觉。这种雾化方案有些类似于家庭中常见的超声加湿器,此后他人提出的一些技术方案也大都与此类似。In the current technical approach to realize the electronic atomization function, it is mainly divided into two categories: heating atomization and ultrasonic atomization. The former, Liu Jing and Lv Yonggang once proposed a kind of scheme (Liu Jing, Lv Yonggang, a kind of pen type miniature steam generator, Chinese patent 03242914.2) that can implement heating atomization to the liquid in the small cavity at the end of 2002, it is easy to implement in conventional The atomization of liquid and liquid nicotine has developed the function of delivering nicotine vapor to the nasal cavity, oral cavity and other parts; since then, although some researchers have also proposed corresponding pen-type heating and atomizing electronic cigarettes, the technical ideas are different from this Much the same. Different from electronic heating to achieve liquid nicotine atomization, a Chinese patent submitted in March 2003 proposed an ultrasonic atomization solution (Han Li, a non-combustible electronic atomized cigarette, Chinese patent 03111173.4), Based on the oscillating excitation of the liquid by ultrasonic waves at a specific frequency, the corresponding atomized nicotine droplets can be generated, and then delivered to the human oral cavity to create the feeling of smoking. This atomization scheme is somewhat similar to the common ultrasonic humidifier in the family, and some technical schemes proposed by others since then are mostly similar to this.
综合分析起来,以上介绍的电阻加热雾化方案,是一种接触加热,主要对流经加热丝的液体进行加热,之后再进一步借助流体的传热扩散到四周液体,这种方式在加热效率上尚未发挥到最大限度;而超声振荡雾化则存在雾化量偏小、且能量利用不充分的问题。为此,本发明的目的是提供一种可在纳米尺度上对液体烟碱实施超精细空间加热雾化的电子烟,其笔式烟杆内所加载的液体烟碱可通过微流体技术实现纳升量级控制,这些溶液所处的传输通道中设置有具有空间加热效应的微型化电阻丝网、激光、射频、磁感应、红外、超声、微波等器件,这种方案较之以前单一的电阻加热式电子烟不但提高了雾化效率,而且功能更全面。纳米级流体可在此类空间加热作用下达到高效雾化效应,由此易于产生类似于传统香烟所具备的烟雾特点,使用者在抽吸由此产生的雾化后的烟碱的过程中,能获得极大的满足感。From a comprehensive analysis, the resistance heating atomization scheme introduced above is a kind of contact heating, which mainly heats the liquid flowing through the heating wire, and then further spreads to the surrounding liquid by means of the heat transfer of the fluid. This method has no heating efficiency. It can be used to the maximum; while ultrasonic oscillation atomization has the problems of small amount of atomization and insufficient energy utilization. Therefore, the purpose of the present invention is to provide an electronic cigarette that can implement ultra-fine space heating and atomization of liquid nicotine on the nanometer scale, and the liquid nicotine loaded in the pen-type cigarette rod can be nano-sized by microfluidic technology. Level-up control, the transmission channels where these solutions are located are equipped with miniaturized resistance screens, lasers, radio frequency, magnetic induction, infrared, ultrasound, microwaves and other devices with space heating effects. The electronic cigarette not only improves the atomization efficiency, but also has more comprehensive functions. Nano-scale fluid can achieve efficient atomization effect under the action of this kind of space heating, so it is easy to produce smoke characteristics similar to those of traditional cigarettes. When users inhale the resulting atomized nicotine, Get great satisfaction.
发明内容Contents of the invention
本发明的目的在于克服现有的电子烟雾化量小、充电缓慢、烟杆发烫、液体烟碱存在积碳或泄露、容纳烟碱的烟弹用后即弃对环境有污染、烟杆长度固定单一等不足,从而提供一种高效、微型、便于携带的电子烟。The purpose of the present invention is to overcome the problems of the existing electronic cigarettes, such as small amount of vaporization, slow charging, hot cigarette rod, carbon deposit or leakage of liquid nicotine, pollution of the environment caused by disposable cartridges containing nicotine, and the length of the cigarette rod. Fix the shortcomings such as singleness, so as to provide an electronic cigarette with high efficiency, miniature size and portability.
实现本发明目的的实施方案如下:The embodiment that realizes the object of the present invention is as follows:
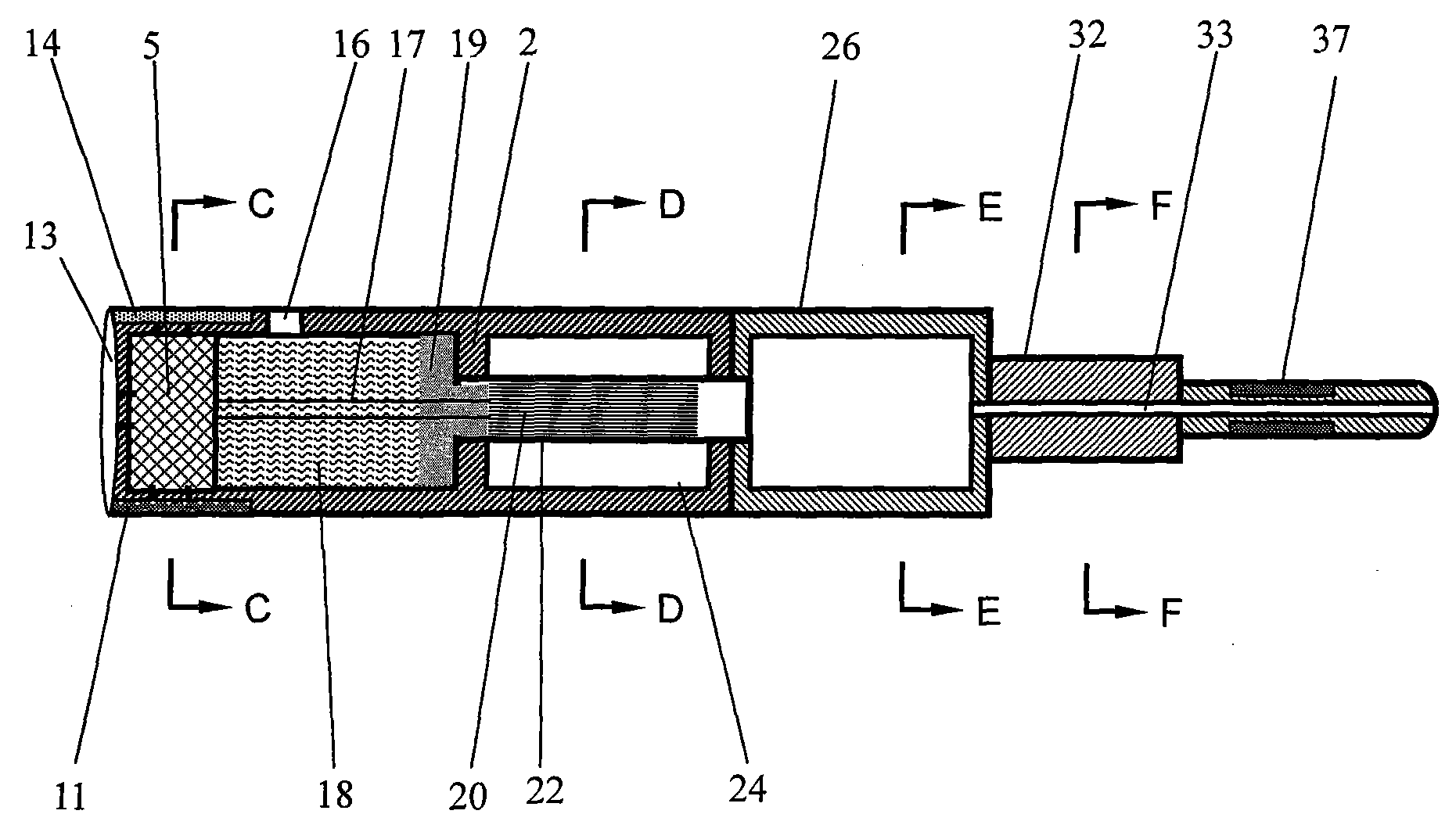
本发明提供的对烟碱溶液进行纳米尺度超精细空间加热雾化的电子烟,包括:烟杆部分2,和连接于所述烟杆部分2前端的烟嘴部分32;其特征在于,所述的烟杆部分2为后端焊接有堵头的空心杆状烟杆;该空心杆状烟杆2的内腔中依次装有可充电电池5、用于贮存烟碱溶液的储液箱18,装于储液箱18前端并与所述烟碱溶液相接触的吸液芯19和装在位于烟杆部分2前部加热腔24之内的具有空间加热雾化效应的加热器20;与所述储液箱18相对应的烟杆杆壁上设有与所述储液箱18相通的加液口16,所述烟杆部分2的杆壁任意处装有电加热开关17;The electronic cigarette provided by the present invention for heating and atomizing the nicotine solution in a nanoscale ultra-fine space includes: a
所述烟嘴部分32的中心处设有伸进烟杆部分2内的空心导管33;所述烟嘴部分32前部壁面上装有压电传感器37或更多形变传感器;The center of the
所述烟杆部分2后端设有通过外电源对可充电电池5进行充电的充电用连接器件13;The rear end of the
所述的压电传感器37与可充电电池5呈始终连通状态;所述电加热开关17、传感器37和可充电电池5构成一个电路回路。The
所述的具有空间加热雾化效应的加热器为具有空间加热雾化效应的电阻式加热器,该电阻式加热器为一与可充电电池5电连接的电阻;所述电阻为轴向微纳米管束组成的轴向微纳米管束电阻,或者为由丝网堆叠在一起以形成纳米级微孔道的丝网式电阻;或者为带有轴向微纳米管道的轴向微纳米管道电阻。The heater with space heating atomization effect is a resistance heater with space heating atomization effect, and the resistance heater is a resistance electrically connected to the
所述的加热腔24内设有对具有空间加热雾化效应的加热器20实施加热的微型射频加热器、磁感应加热器、微型超声加热器、微型红外加热器或微型微波辐射加热器。The
所述的可充电电池5为钮扣镍镉、镍氢、锂电池、干电池、温差电池、光电池、超级电容电池或核电池。The
所述烟杆部分2和烟嘴部分32之间连接其长短具有伸缩功能的空心腔体连接件26。A
所述烟杆部分2后部杆壁上装有与可充电电池5电连接的指示灯14或/和和模拟传统抽烟过程中烟丝燃烧发出的“咝咝”声音的蜂鸣器11。An
本发明的优点在于:The advantages of the present invention are:
1、本发明的对烟碱溶液进行纳米尺度超精细空间加热雾化的电子烟,引入了具有空间加热效应的纳米级加热器件和纳米级烟液供应流道,可对纳米级烟碱溶液实施空间加热,加热迅速,烟碱溶液雾化量大,能量集中使用效率高,电源维持时间长;1. The electronic cigarette of the present invention that conducts nanoscale ultra-fine space heating and atomization of nicotine solution introduces a nanoscale heating device with a space heating effect and a nanoscale smoke liquid supply flow channel, which can implement nanoscale nicotine solution Space heating, rapid heating, large amount of nicotine solution atomization, high efficiency of concentrated energy use, and long power supply time;
2、本发明的对烟碱溶液进行纳米尺度超精细空间加热雾化的电子烟,采用了可充电电池电源,充电迅速,为使用者带来极大方便;2. The electronic cigarette of the present invention, which conducts nanoscale ultra-fine space heating and atomization of nicotine solution, adopts a rechargeable battery power supply, which can be charged quickly and brings great convenience to users;
3、本发明的对烟碱溶液进行纳米尺度超精细空间加热雾化的电子烟,在烟杆结构上采用了具有轴向伸缩折叠功能的连接件,可组装成粗细长短不一的电子烟,既可与普通香烟尺寸相当,也可调整成不同形状大小的结构,满足不同用户在不同场合下的个性化和抽烟习惯的需求,使用起来更加灵活生动;3. The electronic cigarette of the present invention, which conducts nanoscale ultra-fine space heating and atomization of nicotine solution, adopts connectors with axial telescopic and folding functions in the structure of the cigarette rod, and can be assembled into electronic cigarettes of different thicknesses and lengths. It can be the same size as ordinary cigarettes, and can also be adjusted into structures of different shapes and sizes to meet the individual needs of different users and smoking habits in different occasions, and it is more flexible and vivid to use;
4、本发明的对烟碱溶液进行纳米尺度超精细空间加热雾化的电子烟,设置有可模拟传统抽烟过程中烟丝因燃烧而发出的“咝咝”声音的蜂鸣器,使得吸烟效果更加逼真,一改传统香烟以及部分已商业化的电子烟相对安静的特点,使产品在消费过程中显得更有趣味;4. The electronic cigarette of the present invention, which conducts nano-scale ultra-fine space heating and atomization of nicotine solution, is equipped with a buzzer that can simulate the "sizzling" sound of shredded tobacco due to combustion in the traditional smoking process, making the smoking effect more effective. Realistic, changing the relatively quiet characteristics of traditional cigarettes and some commercialized electronic cigarettes, making the product more interesting in the consumption process;
5、本发明的对烟碱溶液进行纳米尺度超精细空间加热雾化的电子烟,烟碱溶液封装于烟杆内,并通过微流道结构的吸液芯以纳升量级供给到具有空间加热雾化效应的电阻加热器上,不存在泄露问题,使用及携带方便;由于加热器设置于烟杆中心,烟杆外壁不存在发烫问题;5. In the electronic cigarette of the present invention, which heats and atomizes the nicotine solution in a nanometer-scale ultra-fine space, the nicotine solution is packaged in the cigarette rod, and is supplied to the space with a nanoliter level through the liquid-absorbing core of the micro-channel structure. On the resistance heater with heating atomization effect, there is no leakage problem, and it is easy to use and carry; since the heater is set in the center of the tobacco rod, there is no problem of heating the outer wall of the tobacco rod;
6、本发明的对烟碱溶液进行纳米尺度超精细空间加热雾化的电子烟,烟碱溶液可直接加封装到设置于烟杆内的容器中,无须引入承载液体的烟液芯材料,因而不存在烟弹用完即弃的问题,降低了加工及使用成本,也消除了随意丢弃烟头对环境造成的污染;而且,由于雾化对象是液体烟碱,长期使用时不会在烟杆内出现积碳问题;6. In the electronic cigarette of the present invention that conducts nanoscale ultra-fine space heating and atomization of the nicotine solution, the nicotine solution can be directly packaged into a container set in the tobacco rod without introducing a liquid-carrying liquid-carrying core material, thus There is no problem of disposable cartridges, which reduces the cost of processing and use, and eliminates the environmental pollution caused by random discarding of cigarette butts; moreover, since the object of atomization is liquid nicotine, it will not be in the cigarette stick during long-term use Carbon build-up problem occurs;
7、本发明的对烟碱溶液进行纳米尺度超精细空间加热雾化的电子烟,可根据用户人群的需求,制成成本不一的产品,易于推广,从而满足不同收入水平的戒烟人群的需求;7. The electronic cigarette of the present invention that conducts nanoscale ultra-fine space heating and atomization of nicotine solution can be made into products with different costs according to the needs of user groups, and is easy to promote, so as to meet the needs of smoking cessation groups with different income levels ;
8、本发明的基于烟碱溶液的纳米尺度超精细空间加热雾化的电子烟,由于采用烟碱溶液,用户还可直接利用提供的纳米添加剂在其中自行添加,从而调制出不同口味的液体烟碱,满足自身的特殊需求;8. The nano-scale ultra-fine space heating and atomizing electronic cigarette based on nicotine solution of the present invention, due to the use of nicotine solution, users can also directly use the provided nano-additives to add in it, thereby preparing liquid cigarettes with different tastes Alkali, to meet their own special needs;
9、本发明的对烟碱溶液进行纳米尺度超精细空间加热雾化的电子烟,烟嘴和烟盒可采用抗菌材料制成,因而提升了使用过程中的卫生水平。9. The mouthpiece and the cigarette case of the electronic cigarette of the present invention that conducts nanoscale ultra-fine space heating and atomization of nicotine solution can be made of antibacterial materials, thus improving the hygiene level during use.
综上所述,本发明的对烟碱溶液进行纳米尺度超精细空间加热雾化的电子烟,其核心在于提供了空间加热及纳米液体输运的技术。可帮助烟民尽量降低日常使用中的传统吸烟方式带来的危害,也避免了对周围环境人群的干扰。本发明采用的基于纳米尺度超精细空间加热雾化的电子烟可以有多种组合形式;电子烟外观也并不仅限于笔式,其他组合形式如平面、环状、不规则形等也均可采用。不过为简单起见,如下仅以基于纳米尺度超精细空间加热雾化的笔式电子烟为例阐述本发明的技术路线。To sum up, the core of the electronic cigarette of the present invention, which performs nanoscale ultra-fine space heating and atomization of nicotine solution, is to provide space heating and nano-liquid transport technologies. It can help smokers minimize the harm caused by traditional smoking in daily use, and also avoid interference with the surrounding environment. The electronic cigarette based on nanoscale ultra-fine space heating and atomization used in the present invention can have various combinations; the appearance of the electronic cigarette is not limited to the pen type, and other combination forms such as plane, ring, and irregular shapes can also be used . However, for the sake of simplicity, the technical route of the present invention will only be described below by taking the pen-type electronic cigarette based on nanoscale ultra-fine space heating and atomization as an example.
附图说明Description of drawings
图1为本发明一实施例的结构图;Fig. 1 is a structural diagram of an embodiment of the present invention;
图1-1、图1-2、图1-3和图1-4分别为图1的C-C、D-D、E-E和F-F剖面示意图;Figure 1-1, Figure 1-2, Figure 1-3, and Figure 1-4 are schematic cross-sectional views of C-C, D-D, E-E, and F-F of Figure 1, respectively;
图2为本发明又一实施例的结构图;Fig. 2 is a structural diagram of another embodiment of the present invention;
图3为图2的A-A剖面示意图。FIG. 3 is a schematic cross-sectional view along line A-A of FIG. 2 .
图4为传感器37、电加热开关17和充电电池5之间的电路图。FIG. 4 is a circuit diagram among the
具体实施方式Detailed ways
下面结合附图和具体实施方式对本发明作进一步详细描述:Below in conjunction with accompanying drawing and specific embodiment the present invention is described in further detail:
实施例1:Example 1:
图1为本发明一实施例的结构图;图1-1、图1-2、图1-3和图1-4分别为图1的C-C、D-D、E-E和F-F剖面示意图;图2为本发明又一实施例的结构图;图3为图2的A-A剖面示意图。图4为传感器37、电加热开关17和充电电池5之间的电路图。Fig. 1 is a structural diagram of an embodiment of the present invention; Fig. 1-1, Fig. 1-2, Fig. 1-3 and Fig. 1-4 are respectively C-C, D-D, E-E and F-F sectional schematic diagrams of Fig. 1; Fig. 2 is this A structural diagram of another embodiment of the invention; FIG. 3 is a schematic cross-sectional view of A-A in FIG. 2 . FIG. 4 is a circuit diagram among the
由图可知,在本实施例的对烟碱溶液进行纳米尺度超精细空间加热雾化的电子烟,包括:烟杆部分2和连接于所述烟杆部分2前端的烟嘴部分32;烟杆部分2为空心杆状烟杆2,其后端焊有堵头,烟杆部分2的空心内腔中依次装有可充电电池5、用于贮存烟碱溶液的储液箱18,装于储液箱18前端并与烟碱溶液相接触的吸液芯19和装在位于烟杆部分2前部加热腔24之内的具有空间加热雾化效应的加热器20;与所述储液箱18相对应的烟杆杆壁上设有与所述储液箱18相通的加液口16,烟杆部分2的杆壁上任意处装有电加热开关17;It can be seen from the figure that in this embodiment, the electronic cigarette for heating and atomizing the nicotine solution in a nanometer-scale ultra-fine space includes: the
烟嘴部分32的中心处设有伸进烟杆部分2内的空心导管33;烟嘴部分32前部壁面上装有压电传感器37;烟杆部分2后端还设有通过外电源对所述可充电电池5进行充电的充电用连接器件13;如图4所示,压电传感器37与可充电电池5呈始终连通状态;所述电加热开关17、压电传感器37和可充电电池5构成一个电路回路。The center of the
本发明的电子烟不用时,可以装在一烟盒内;烟盒内可根据美观及便于携带要求设计成方形、圆筒形或其它形状;烟盒内部可以根据组件各部分尺寸大小分成数个隔间,用以放置充电器、烟杆及其部件、烟液存储容器等;烟盒本身可以根据不同档次采用金属、塑料、泡沫或木料等制成,但需要防止灰尘沉积及细菌污染;烟杆部分2后端设有通过外电源对可充电电池5进行充电的充电用连接器件13,插入充电器即可对烟杆部分2内的可充电电池5实施充电。When the electronic cigarette of the present invention is not in use, it can be packed in a cigarette case; the interior of the cigarette case can be designed into a square, cylindrical or other shape according to the requirements of aesthetics and portability; the inside of the cigarette case can be divided into several parts according to the size of each part The compartment is used to place chargers, cigarette rods and their parts, storage containers for e-liquid, etc.; the cigarette case itself can be made of metal, plastic, foam or wood according to different grades, but it needs to prevent dust deposition and bacterial contamination; The rear end of the
压电传感器37设置于烟嘴部分32前部的壁面上,并与烟杆部分2内的可充电电池5实现电连接,用于对抽吸动作感应以控制电加热开关17的开启和关闭;使用者在抽吸过程中,嘴唇作用导致的压电传感器37变形被压电传感器37感知,将感知信号传到电加热开关17,并打开电阻加热器开关17的开关,从而对具有空间加热雾化效应的加热器20进行加热,雾化烟杆部分2内的装于储液箱18的烟碱溶液;所述的烟嘴部分32与口型相适应,与口腔易于接触,采用高分子医用硅橡胶浇注,外形可做成各种装饰品,并可添加具有抗菌功能的材料如银粉等,甚至描绘有各种各样的图案,以满足使用者多方面的需求。The
烟杆部分2的长度在20毫米到500毫米之间,直径在1毫米到100毫米之间;烟杆部分可选用与人体相容的材料,如ABS、聚酰亚氨等制成的医用塑料以及不锈钢等制做,还可根据个人喜好选择不同颜色;此外,所述烟杆部分2还可带有一个具有轴向(长短)伸缩功能的空心腔体连接件26,以构成加长型折叠烟杆部分,该结构可以根据需要从烟杆部分2上拆卸或安装上去,使用者可根据个人嗜好自由选择,用以提供用户较多的个性化选择。空心腔体连接件26由于内部呈中空状态,可根据需要设置流道来调整流速,以改变烟雾蒸汽的过滤或流通状况;该长短可伸缩的空心腔体连接件26相当于传统上的水烟筒,抽吸过程中可为使用者增加吸烟的乐趣,所以由此制成的电子烟相当于微型化后的电子水烟筒;空心腔体连接件26的表面应采用无毒,不至引起皮肤感染,不散发有毒气体,不易老化,而且易于清洗消毒的材料制成。根据需要,还可在整个烟杆部分的表面涂覆具有电磁屏蔽功能的材料。The length of the
本实施例中,对烟碱溶液进行纳米尺度超精细空间加热雾化关键部件是具有空间加热雾化效应的加热器20;该具有空间加热雾化效应的加热器20为具有空间加热雾化效应的电阻式加热器;该电阻式加热器为一与可充电电池5电连接的电阻;该电阻为轴向微纳米管束组成的轴向微纳米管束电阻,其电阻值在0.01Ω到100Ω范围。该电阻或者为由丝网堆叠在一起以形成纳米级微孔道的丝网式电阻(采用金属如不锈钢或多晶硅的丝网堆叠制成,堆叠在一起形成纳米级流动空间,供液态或汽态的烟碱流通,由于该部分流通空间尺寸极小,可确保在加热腔内获得纳升级液体烟碱;该不锈钢或多晶硅丝网具有特定的电阻抗特性,并与可充电电池5电连接,于是在通电情况下,烟碱溶液在流通于丝网堆叠而形成的纳米级微孔道的过程中,由于纳米级微孔道自身的发热比表面积巨大,因而可达到对烟碱溶液的空间加热,使之快速雾化形成液体蒸汽,从而高效持续地释放出烟蒸汽而被人体鼻腔吸入;在其通过鼻腔进入肺部,烟碱蒸汽迅速又回落成液体微滴,从而被肺部表面的毛细血管迅速吸收,而进入血液循环,从而给使用者带来抽烟的快感);该电阻或者为带有轴向微纳米管道的轴向微纳米管道电阻(通过MEMS或纳米加工技术在金属如不锈钢或多晶硅载体22上加工出直径在10-1000nm量级,长度在10nm到100mm的轴向微纳米管道电阻)。In this embodiment, the key component for nanoscale ultra-fine space heating atomization of nicotine solution is the
为了强化具有空间加热雾化效应的电阻式加热器的加热效果,还可以在烟杆部分2的加热腔24内设有对具有空间加热雾化效应的加热器20实施加热的微型射频加热器、磁感应加热器、微型超声加热器、微型红外加热器或微型微波辐射加热器。In order to strengthen the heating effect of the resistive heater with the space heating atomization effect, a micro-radio frequency heater, Magnetic induction heaters, miniature ultrasonic heaters, miniature infrared heaters or miniature microwave radiant heaters.
本发明的加热腔24、烟杆部分2、烟嘴部分32等均采用有一定生物相容性的材料制成,液体容器腔18可采用普通金属材料如不锈钢,或透明塑料做成,其上开有可关闭或打开的起到添加烟碱溶液和观察功能的加液口16;透明塑料由于具有可观察性,允许从外界观察液体烟碱箱18中烟碱的多少,有利于及时添加烟碱溶液。烟杆2不用的时候存放于烟盒中,以避免外界污染。封装在加热腔24左端的烟碱溶液箱18通过吸液芯19的毛细作用,连续不断地将烟碱溶液抽吸到加热器的纳米量级流道中,使之在此处承受空间加热;加装烟碱溶液的时侯先打开加液口16的盖子,烟碱溶液即可顺着吸液芯19进入微流道中,通过使用者的抽吸动作,可轻轻排放出来,于是会有纳升量级的一小股液体烟碱喷到加热腔24中;加热腔24和储液箱18通过吸液芯(19)的控制,可使每次通过具有空间加热雾化效应的加热器20的烟碱溶液只有很少量,因而可对烟碱溶液加热后迅速产生蒸汽,从而达到灵活快速而节省电能的目的,这好比通过发热元件加热一大锅水极其困难,但若仅加热一个小水滴使之蒸,则变得相当容易一样。加热腔24采用金属,如不锈钢、磁性金属制作;加热腔24两端分别固定在烟杆上,在中间留有一些环状孔隙,由于空气导热比较弱,这种结构可以避免热量传至烟杆外部手握处,这就有效的减少了对外界的散热,大大降低了电子烟杆的表面温度,使用者手部不会有热的感觉,也提高了电源的利用效率,延长了一次充电的电子烟使用时间。加热腔24内装有精细的具有空间加热雾化效应的加热器20(具有微流道),沿烟杆的轴向方向布置,同时受电加热开关17控制。正常情况下抽烟过程中,接通电源(可充电电池)指示灯14即可发光,通过具有空间加热雾化效应的加热器20将来自储液箱18内的烟碱溶液加热成蒸汽,由于来流液体体积小,在纳升或微升量级,因而可确保完全被加热变成蒸汽。由此产生的烟碱蒸汽最后从空心导管33释放出,进入使用者口腔。使用中可随时观察储液箱18内烟碱溶液的数量,以便判断是否需要添加烟碱溶液,如果加液口16的盖子设置为透明状,也可以通过直接观察储液箱18来决定。The
压电传感器37、电加热开关17和可充电电池5通过导线形成一电连接回路;压电传感器37与可充电电池5始终呈连通状态;根据压电传感器37接收的信号打开或关闭电加热开关17,还可以在上述电加热开关内加入控制器控制烟碱溶液的加热过程,相应的控制器可采用微型嵌入式PLC可编程逻辑控制器等;通过对可编程逻辑控制器的编程操作,来实现控制器所要预期得到的功能;所述的压电传感器37可从市场上直接购买。The
本发明的对烟碱溶液进行纳米尺度超精细空间加热雾化的电子烟,还可于烟杆部分2后部的烟杆杆壁上装有模拟传统抽烟过程中烟丝燃烧发出的“咝咝”声音的蜂鸣器11;使用者在抽烟过程中,蜂鸣器11发出适当声音,通过音量大小表明烟雾已生成及强弱,从而可大大提升产品使用过程中的乐趣。所述的蜂鸣器11与所述的空充电电池5电连接。In the electronic cigarette of the present invention, which heats and atomizes the nicotine solution in a nanometer-scale ultra-fine space, the wall of the tobacco rod at the rear of the
在本实施例中,所述空充电电池5可以是钮扣电池、镍镉/镍氢电池、锂电池、干电池、温差电池、光电池、超级电容,甚至是核电池。In this embodiment, the empty
上述技术方案使用的充电器,可采用为满足各类需求的旅行充电器、座式充电器、维护型充电器、燃料电池充电器、人工充电器、太阳能充电器甚至是无线充电器。充电器可对烟杆内的可充电电池实施无线或有线方式的充电;可充电电池与烟杆外壁提供的充电口电连接,由此通过外界电源予以充电;充电有多种方式,包括有线方式和无线方式,当采用有线方式时,直接借助烟杆外壁提供的充电口进行;当采用无线充电方式时,可通过电磁耦合、射频等方式实现。The chargers used in the above technical solutions can be travel chargers, seat chargers, maintenance chargers, fuel cell chargers, manual chargers, solar chargers or even wireless chargers to meet various needs. The charger can charge the rechargeable battery in the device wirelessly or wiredly; the rechargeable battery is electrically connected to the charging port provided on the outer wall of the device, so that it can be charged through an external power source; there are many ways to charge, including wired methods And the wireless method, when using the wired method, directly use the charging port provided on the outer wall of the device; when using the wireless charging method, it can be realized through electromagnetic coupling, radio frequency and other methods.
实施例2:Example 2:
本实施例中,为了强化对加热器的加热效果,在加热腔24内设置对所述具有空间加热雾化效应的加热器20实施加热的微型激光加热器25,如图3所示,微型激光器25所发射的激光束通过光纤传到加热器的载有烟碱溶液的微流道中,使流经该处烟碱溶液迅速进行纳米升量雾化,产生蒸汽进入口腔,实现抽吸过程。所述的激光器25采用易于微型化的激光体,如半导体激光、染料激光器、气体激光器和二极管激光器等,功率在1mW到5W之间。此类微型激光加热器25技术成熟,可从市场购买或委托专业生产企业设计制造。In this embodiment, in order to strengthen the heating effect of the heater, a
本实施例中,除微型激光加热器25外的其他部件,已在实施例1中做了详细的解释说明,因此在本实施例中不再详细说明。In this embodiment, other components except the
实施例3:Example 3:
本实施例中,本实施例中,为了强化对加热器的加热效果,在加热腔24内设置对所述具有空间加热雾化效应的加热器20实施加热的微型射频加热器;只需将实施例2中的微型激光加热器25替换为微型射频加热器即可;该微型射频加热器功率在1mW到5W之间;此类器件技术成熟,可从市场购买或委托专业生产企业设计制造。In this embodiment, in this embodiment, in order to strengthen the heating effect on the heater, a micro-radio frequency heater that heats the
实施例4:Example 4:
本实施例中,本实施例中,为了强化对加热器的加热效果,在加热腔24内设置对所述具有空间加热雾化效应的加热器20实施加热的微型磁感应加热器;只需将实施例2中的微型激光加热器25替换为微型射频加热器即可;该微型射频加热器功率在1mW到5W之间;此类器件技术成熟,可从市场购买或委托专业生产企业设计制造。In this embodiment, in this embodiment, in order to strengthen the heating effect on the heater, a miniature magnetic induction heater for heating the
实施例5:Example 5:
本实施例中,本实施例中,为了强化对加热器的加热效果,在加热腔24内设置对所述具有空间加热雾化效应的加热器20实施加热的微型红外加热器;只需将实施例2中的微型激光加热器25替换为微型红外加热器即可;该微型红外加热器功率在1mW到5W之间;此类器件技术成熟,可从市场购买或委托专业生产企业设计制造。In this embodiment, in this embodiment, in order to strengthen the heating effect of the heater, a miniature infrared heater for heating the
实施例6:Embodiment 6:
本实施例中,本实施例中,为了强化对加热器的加热效果,在加热腔24内设置对所述具有空间加热雾化效应的加热器20实施加热的微型微波辐射加热器;只需将实施例2中的微型激光加热器25替换为微型微波辐射加热器即可;该微型微波辐射加热器功率在1mW到5W之间;此类器件技术成熟,可从市场购买或委托专业生产企业设计制造。In this embodiment, in this embodiment, in order to strengthen the heating effect on the heater, a miniature microwave radiation heater for heating the
实施例7:Embodiment 7:
本实施例中,本实施例中,为了强化对加热器的加热效果,在加热腔24内设置对所述具有空间加热雾化效应的加热器20实施加热的微型超声加热器;只需将实施例2中的微型激光加热器25替换为微型超声加热器即可;该微型超声加热器功率在1mW到5W之间;此类器件技术成熟,可从市场购买或委托专业生产企业设计制造。In this embodiment, in this embodiment, in order to strengthen the heating effect of the heater, a micro-ultrasonic heater for heating the
Claims (6)
Priority Applications (1)
| Application Number | Priority Date | Filing Date | Title |
|---|---|---|---|
| CN200710121524A CN100593982C (en) | 2007-09-07 | 2007-09-07 | Electronic cigarette with nanoscale ultra-fine space heating atomization function |
Applications Claiming Priority (1)
| Application Number | Priority Date | Filing Date | Title |
|---|---|---|---|
| CN200710121524A CN100593982C (en) | 2007-09-07 | 2007-09-07 | Electronic cigarette with nanoscale ultra-fine space heating atomization function |
Publications (2)
| Publication Number | Publication Date |
|---|---|
| CN101116542A true CN101116542A (en) | 2008-02-06 |
| CN100593982C CN100593982C (en) | 2010-03-17 |
Family
ID=39052932
Family Applications (1)
| Application Number | Title | Priority Date | Filing Date |
|---|---|---|---|
| CN200710121524A Active CN100593982C (en) | 2007-09-07 | 2007-09-07 | Electronic cigarette with nanoscale ultra-fine space heating atomization function |
Country Status (1)
| Country | Link |
|---|---|
| CN (1) | CN100593982C (en) |
Cited By (204)
| Publication number | Priority date | Publication date | Assignee | Title |
|---|---|---|---|---|
| WO2010091593A1 (en) * | 2009-02-11 | 2010-08-19 | Hon Lik | Improved atomizing electronic cigarette |
| WO2010118644A1 (en) * | 2009-04-15 | 2010-10-21 | 中国科学院理化技术研究所 | Heating atomization electronic-cigarette adopting capacitor for power supply |
| CN102551217A (en) * | 2008-03-25 | 2012-07-11 | 菲利普莫里斯生产公司 | Method for controlling the formation of smoke constituents in an electrical aerosol generation system |
| WO2012100430A1 (en) * | 2011-01-28 | 2012-08-02 | Xiang Zhiyong | Electronic cigarette and wireless charging device thereof |
| US8365742B2 (en) | 2006-05-16 | 2013-02-05 | Ruyan Investment (Holdings) Limited | Aerosol electronic cigarette |
| US8393331B2 (en) | 2004-04-14 | 2013-03-12 | Ruyan Investment (Holdings) Limited | Electronic atomization cigarette |
| US8511318B2 (en) | 2003-04-29 | 2013-08-20 | Ruyan Investment (Holdings) Limited | Electronic cigarette |
| US8511327B2 (en) | 2011-08-15 | 2013-08-20 | Min Li Sun | Anti-wind eccentric umbrella |
| CN103271449A (en) * | 2013-06-08 | 2013-09-04 | 广东中烟工业有限责任公司 | Snuff-type electronic cigarette |
| CN103271447A (en) * | 2013-05-23 | 2013-09-04 | 红云红河烟草(集团)有限责任公司 | Novel carbon heating electron cigarette |
| CN103315404A (en) * | 2013-07-17 | 2013-09-25 | 中国烟草总公司郑州烟草研究院 | Non-combustion-type tobacco smoking device based on microwave heating |
| CN103519351A (en) * | 2013-10-31 | 2014-01-22 | 红塔烟草(集团)有限责任公司 | Electrical heating cigarette |
| WO2014032280A1 (en) * | 2012-08-31 | 2014-03-06 | Liu Qiuming | Electronic cigarette |
| WO2014040294A1 (en) * | 2012-09-17 | 2014-03-20 | Liu Qiuming | Electronic hookah |
| CN104068476A (en) * | 2014-07-01 | 2014-10-01 | 深圳市康尔科技有限公司 | Heating assembly for electronic cigarette |
| US8881737B2 (en) | 2012-09-04 | 2014-11-11 | R.J. Reynolds Tobacco Company | Electronic smoking article comprising one or more microheaters |
| CN104146354A (en) * | 2014-09-01 | 2014-11-19 | 新乡东方工业科技有限公司 | Electronic cigarette for smoking cessation |
| CN104203018A (en) * | 2012-04-03 | 2014-12-10 | 朴善顺 | Electronic cigarette |
| US8910639B2 (en) | 2012-09-05 | 2014-12-16 | R. J. Reynolds Tobacco Company | Single-use connector and cartridge for a smoking article and related method |
| US8910640B2 (en) | 2013-01-30 | 2014-12-16 | R.J. Reynolds Tobacco Company | Wick suitable for use in an electronic smoking article |
| CN104223369A (en) * | 2014-09-30 | 2014-12-24 | 川渝中烟工业有限责任公司 | Ultrasonic atomization type electronic cigarette aspirator |
| CN104351950A (en) * | 2014-11-12 | 2015-02-18 | 湖南中烟工业有限责任公司 | Electronic cigarette atomizer |
| US8997753B2 (en) | 2012-01-31 | 2015-04-07 | Altria Client Services Inc. | Electronic smoking article |
| CN104489931A (en) * | 2014-11-26 | 2015-04-08 | 深圳市卓力能电子有限公司 | Novel electronic cigarette with lip-inductive driving device |
| CN104544575A (en) * | 2015-01-20 | 2015-04-29 | 卓尔悦(常州)电子科技有限公司 | Nebulizer and electronic cigarette with same |
| CN104643290A (en) * | 2013-11-19 | 2015-05-27 | 王彦宸 | Laser atomization device |
| US9078473B2 (en) | 2011-08-09 | 2015-07-14 | R.J. Reynolds Tobacco Company | Smoking articles and use thereof for yielding inhalation materials |
| CN104770892A (en) * | 2015-03-04 | 2015-07-15 | 云南中烟工业有限责任公司 | Smoking set of electronic cigarettes |
| WO2015109618A1 (en) * | 2014-01-24 | 2015-07-30 | 吉瑞高新科技股份有限公司 | Electronic cigarette |
| US9095175B2 (en) | 2010-05-15 | 2015-08-04 | R. J. Reynolds Tobacco Company | Data logging personal vaporizing inhaler |
| CN104872822A (en) * | 2015-04-07 | 2015-09-02 | 深圳市麦克韦尔科技有限公司 | Electronic cigarette and nebulizing device thereof |
| WO2015139217A1 (en) * | 2014-03-19 | 2015-09-24 | 吉瑞高新科技股份有限公司 | Electronic cigarette |
| US9220302B2 (en) | 2013-03-15 | 2015-12-29 | R.J. Reynolds Tobacco Company | Cartridge for an aerosol delivery device and method for assembling a cartridge for a smoking article |
| WO2016000141A1 (en) * | 2014-06-30 | 2016-01-07 | 吉瑞高新科技股份有限公司 | Control circuit, electronic cigarette and method for controlling electronic cigarette |
| CN105307525A (en) * | 2014-05-21 | 2016-02-03 | 菲利普莫里斯生产公司 | Aerosol-forming substrate and aerosol-delivery system |
| CN105307523A (en) * | 2014-05-21 | 2016-02-03 | 菲利普莫里斯生产公司 | An aerosol-generating system comprising a mesh susceptor |
| US9259035B2 (en) | 2010-05-15 | 2016-02-16 | R. J. Reynolds Tobacco Company | Solderless personal vaporizing inhaler |
| US9277770B2 (en) | 2013-03-14 | 2016-03-08 | R. J. Reynolds Tobacco Company | Atomizer for an aerosol delivery device formed from a continuously extending wire and related input, cartridge, and method |
| CN105407748A (en) * | 2013-05-21 | 2016-03-16 | 菲利普莫里斯生产公司 | Electrically heated aerosol delivery system |
| CN105520199A (en) * | 2016-01-29 | 2016-04-27 | 广西中烟工业有限责任公司 | Electronic cigarette with sterilization, deodorization and sealing protection functions |
| US9352288B2 (en) | 2010-05-15 | 2016-05-31 | Rai Strategic Holdings, Inc. | Vaporizer assembly and cartridge |
| CN105852220A (en) * | 2016-06-02 | 2016-08-17 | 常州聚为智能科技有限公司 | Atomizer and electronic cigarette with same |
| US9423152B2 (en) | 2013-03-15 | 2016-08-23 | R. J. Reynolds Tobacco Company | Heating control arrangement for an electronic smoking article and associated system and method |
| CN105935155A (en) * | 2016-06-08 | 2016-09-14 | 卓尔悦(常州)电子科技有限公司 | Electronic cigarette |
| CN105942584A (en) * | 2016-07-07 | 2016-09-21 | 深圳科劳德莱科技有限公司 | Combustion type electronic cigarette |
| US9451791B2 (en) | 2014-02-05 | 2016-09-27 | Rai Strategic Holdings, Inc. | Aerosol delivery device with an illuminated outer surface and related method |
| CN105982360A (en) * | 2015-02-26 | 2016-10-05 | 上海烟草集团有限责任公司 | Electronic cigarette |
| US9491974B2 (en) | 2013-03-15 | 2016-11-15 | Rai Strategic Holdings, Inc. | Heating elements formed from a sheet of a material and inputs and methods for the production of atomizers |
| US9532597B2 (en) | 2012-02-22 | 2017-01-03 | Altria Client Services Llc | Electronic smoking article |
| CN106455699A (en) * | 2014-06-16 | 2017-02-22 | 吉瑞高新科技股份有限公司 | Electronic cigarette |
| US9597466B2 (en) | 2014-03-12 | 2017-03-21 | R. J. Reynolds Tobacco Company | Aerosol delivery system and related method, apparatus, and computer program product for providing control information to an aerosol delivery device via a cartridge |
| CN106510005A (en) * | 2008-04-30 | 2017-03-22 | 菲利普莫里斯生产公司 | An electrically heated smoking system having a liquid storage portion |
| US9609893B2 (en) | 2013-03-15 | 2017-04-04 | Rai Strategic Holdings, Inc. | Cartridge and control body of an aerosol delivery device including anti-rotation mechanism and related method |
| US9609895B2 (en) | 2014-08-21 | 2017-04-04 | Rai Strategic Holdings, Inc. | System and related methods, apparatuses, and computer program products for testing components of an aerosol delivery device |
| US9717276B2 (en) | 2013-10-31 | 2017-08-01 | Rai Strategic Holdings, Inc. | Aerosol delivery device including a positive displacement aerosol delivery mechanism |
| CN106993821A (en) * | 2017-05-24 | 2017-08-01 | 刘永刚 | liquid snuff and preparation method |
| CN107078512A (en) * | 2014-01-24 | 2017-08-18 | 惠州市吉瑞科技有限公司深圳分公司 | A kind of wireless charging system of electronic cigarette |
| US9743691B2 (en) | 2010-05-15 | 2017-08-29 | Rai Strategic Holdings, Inc. | Vaporizer configuration, control, and reporting |
| US9833019B2 (en) | 2014-02-13 | 2017-12-05 | Rai Strategic Holdings, Inc. | Method for assembling a cartridge for a smoking article |
| US9839237B2 (en) | 2013-11-22 | 2017-12-12 | Rai Strategic Holdings, Inc. | Reservoir housing for an electronic smoking article |
| US9839238B2 (en) | 2014-02-28 | 2017-12-12 | Rai Strategic Holdings, Inc. | Control body for an electronic smoking article |
| US9848645B2 (en) | 2013-07-24 | 2017-12-26 | Sis Resources Ltd. | Cartomizer structure for automated assembly |
| US9854841B2 (en) | 2012-10-08 | 2018-01-02 | Rai Strategic Holdings, Inc. | Electronic smoking article and associated method |
| CN107529825A (en) * | 2015-04-30 | 2018-01-02 | 菲利普莫里斯生产公司 | Cartridges for aerosol generating systems |
| US9864947B1 (en) | 2016-11-15 | 2018-01-09 | Rai Strategic Holdings, Inc. | Near field communication for a tobacco-based article or package therefor |
| US9877510B2 (en) | 2014-04-04 | 2018-01-30 | Rai Strategic Holdings, Inc. | Sensor for an aerosol delivery device |
| US9913493B2 (en) | 2014-08-21 | 2018-03-13 | Rai Strategic Holdings, Inc. | Aerosol delivery device including a moveable cartridge and related assembly method |
| CN107809920A (en) * | 2015-08-17 | 2018-03-16 | 菲利普莫里斯生产公司 | Aerosol-generating systems and aerosol-generating articles for such systems |
| US9918495B2 (en) | 2014-02-28 | 2018-03-20 | Rai Strategic Holdings, Inc. | Atomizer for an aerosol delivery device and related input, aerosol production assembly, cartridge, and method |
| US9924741B2 (en) | 2014-05-05 | 2018-03-27 | Rai Strategic Holdings, Inc. | Method of preparing an aerosol delivery device |
| US9936733B2 (en) | 2016-03-09 | 2018-04-10 | Rai Strategic Holdings, Inc. | Accessory configured to charge an aerosol delivery device and related method |
| US9955733B2 (en) | 2015-12-07 | 2018-05-01 | Rai Strategic Holdings, Inc. | Camera for an aerosol delivery device |
| US9955726B2 (en) | 2014-05-23 | 2018-05-01 | Rai Strategic Holdings, Inc. | Sealed cartridge for an aerosol delivery device and related assembly method |
| US9974334B2 (en) | 2014-01-17 | 2018-05-22 | Rai Strategic Holdings, Inc. | Electronic smoking article with improved storage of aerosol precursor compositions |
| US9980516B2 (en) | 2015-03-09 | 2018-05-29 | Rai Strategic Holdings, Inc. | Aerosol delivery device including a wave guide and related method |
| CN108135274A (en) * | 2015-11-02 | 2018-06-08 | 菲利普莫里斯生产公司 | Including can vibrating elements aerosol generate system |
| US9999250B2 (en) | 2010-05-15 | 2018-06-19 | Rai Strategic Holdings, Inc. | Vaporizer related systems, methods, and apparatus |
| US10004259B2 (en) | 2012-06-28 | 2018-06-26 | Rai Strategic Holdings, Inc. | Reservoir and heater system for controllable delivery of multiple aerosolizable materials in an electronic smoking article |
| US10015987B2 (en) | 2015-07-24 | 2018-07-10 | Rai Strategic Holdings Inc. | Trigger-based wireless broadcasting for aerosol delivery devices |
| US10015989B2 (en) | 2016-01-27 | 2018-07-10 | Rai Strategic Holdings, Inc. | One-way valve for refilling an aerosol delivery device |
| US10027016B2 (en) | 2015-03-04 | 2018-07-17 | Rai Strategic Holdings Inc. | Antenna for an aerosol delivery device |
| US10028534B2 (en) | 2016-04-20 | 2018-07-24 | Rai Strategic Holdings, Inc. | Aerosol delivery device, and associated apparatus and method of formation thereof |
| US10031183B2 (en) | 2013-03-07 | 2018-07-24 | Rai Strategic Holdings, Inc. | Spent cartridge detection method and system for an electronic smoking article |
| US10028535B2 (en) | 2014-05-21 | 2018-07-24 | Philip Morris Products S.A. | Aerosol-generating system comprising a planar induction coil |
| US10051891B2 (en) | 2016-01-05 | 2018-08-21 | Rai Strategic Holdings, Inc. | Capacitive sensing input device for an aerosol delivery device |
| US10058125B2 (en) | 2015-10-13 | 2018-08-28 | Rai Strategic Holdings, Inc. | Method for assembling an aerosol delivery device |
| US10058123B2 (en) | 2014-07-11 | 2018-08-28 | R. J. Reynolds Tobacco Company | Heater for an aerosol delivery device and methods of formation thereof |
| US10080387B2 (en) | 2016-09-23 | 2018-09-25 | Rai Strategic Holdings, Inc. | Aerosol delivery device with replaceable wick and heater assembly |
| US10085485B2 (en) | 2016-07-06 | 2018-10-02 | Rai Strategic Holdings, Inc. | Aerosol delivery device with a reservoir housing and a vaporizer assembly |
| US10092036B2 (en) | 2015-12-28 | 2018-10-09 | Rai Strategic Holdings, Inc. | Aerosol delivery device including a housing and a coupler |
| US10092713B2 (en) | 2010-05-15 | 2018-10-09 | Rai Strategic Holdings, Inc. | Personal vaporizing inhaler with translucent window |
| CN108685200A (en) * | 2018-08-03 | 2018-10-23 | 电子科技大学中山学院 | Microwave electron smog spinning disk atomiser |
| US10104912B2 (en) | 2016-01-20 | 2018-10-23 | Rai Strategic Holdings, Inc. | Control for an induction-based aerosol delivery device |
| US10117460B2 (en) | 2012-10-08 | 2018-11-06 | Rai Strategic Holdings, Inc. | Electronic smoking article and associated method |
| CN108777893A (en) * | 2018-06-26 | 2018-11-09 | 东莞市国研电热材料有限公司 | Microwave heating device for electronic cigarette |
| US10136672B2 (en) | 2010-05-15 | 2018-11-27 | Rai Strategic Holdings, Inc. | Solderless directly written heating elements |
| CN108991603A (en) * | 2018-05-03 | 2018-12-14 | 武汉市昱宸峰科技有限公司 | A kind of multistage electromagnetic induction heating system of low temperature tobacco |
| US10159278B2 (en) | 2010-05-15 | 2018-12-25 | Rai Strategic Holdings, Inc. | Assembly directed airflow |
| US10172388B2 (en) | 2015-03-10 | 2019-01-08 | Rai Strategic Holdings, Inc. | Aerosol delivery device with microfluidic delivery component |
| US10172392B2 (en) | 2016-11-18 | 2019-01-08 | Rai Strategic Holdings, Inc. | Humidity sensing for an aerosol delivery device |
| US10172387B2 (en) | 2013-08-28 | 2019-01-08 | Rai Strategic Holdings, Inc. | Carbon conductive substrate for electronic smoking article |
| US10194694B2 (en) | 2016-01-05 | 2019-02-05 | Rai Strategic Holdings, Inc. | Aerosol delivery device with improved fluid transport |
| US10201187B2 (en) | 2015-11-02 | 2019-02-12 | Rai Strategic Holdings, Inc. | User interface for an aerosol delivery device |
| US10206429B2 (en) | 2015-07-24 | 2019-02-19 | Rai Strategic Holdings, Inc. | Aerosol delivery device with radiant heating |
| US10206431B2 (en) | 2016-11-18 | 2019-02-19 | Rai Strategic Holdings, Inc. | Charger for an aerosol delivery device |
| US10231485B2 (en) | 2016-07-08 | 2019-03-19 | Rai Strategic Holdings, Inc. | Radio frequency to direct current converter for an aerosol delivery device |
| US10238145B2 (en) | 2015-05-19 | 2019-03-26 | Rai Strategic Holdings, Inc. | Assembly substation for assembling a cartridge for a smoking article |
| US10258086B2 (en) | 2016-01-12 | 2019-04-16 | Rai Strategic Holdings, Inc. | Hall effect current sensor for an aerosol delivery device |
| CN109714989A (en) * | 2016-09-09 | 2019-05-03 | 莱战略控股公司 | Fluid Control for Aerosol Delivery Devices |
| US10292435B2 (en) | 2016-06-08 | 2019-05-21 | Joyetech Europe Holding Gmbh | Electronic cigarette |
| CN109864345A (en) * | 2017-12-04 | 2019-06-11 | 效益蒸汽有限公司 | Miniature vaporizer with plurality of liquid |
| US10314340B2 (en) | 2017-04-21 | 2019-06-11 | Rai Strategic Holdings, Inc. | Refillable aerosol delivery device and related method |
| US10321711B2 (en) | 2015-01-29 | 2019-06-18 | Rai Strategic Holdings, Inc. | Proximity detection for an aerosol delivery device |
| US10333339B2 (en) | 2016-04-12 | 2019-06-25 | Rai Strategic Holdings, Inc. | Charger for an aerosol delivery device |
| CN105578910B (en) * | 2013-09-25 | 2019-06-28 | 吉瑞高新科技股份有限公司 | A battery rod assembly, electronic cigarette and electronic cigarette charging device |
| US10334887B1 (en) | 2016-06-08 | 2019-07-02 | Joyetech Europe Holding Gmbh | Atomizer and electronic cigarette |
| US10334880B2 (en) | 2016-03-25 | 2019-07-02 | Rai Strategic Holdings, Inc. | Aerosol delivery device including connector comprising extension and receptacle |
| US10349674B2 (en) | 2017-07-17 | 2019-07-16 | Rai Strategic Holdings, Inc. | No-heat, no-burn smoking article |
| US10357060B2 (en) | 2016-03-11 | 2019-07-23 | Altria Client Services Llc | E-vaping device cartridge holder |
| US10368581B2 (en) | 2016-03-11 | 2019-08-06 | Altria Client Services Llc | Multiple dispersion generator e-vaping device |
| US10368580B2 (en) | 2016-03-08 | 2019-08-06 | Altria Client Services Llc | Combined cartridge for electronic vaping device |
| US10375994B2 (en) | 2014-05-21 | 2019-08-13 | Philip Morris Products S.A. | Aerosol-generating system comprising a fluid permeable susceptor element |
| EP2645890B1 (en) | 2010-12-03 | 2019-08-21 | Philip Morris Products S.a.s. | An aerosol generating system with leakage prevention |
| CN110200323A (en) * | 2019-06-11 | 2019-09-06 | 深圳市新宜康科技股份有限公司 | Heat not burner |
| US10405581B2 (en) | 2016-07-08 | 2019-09-10 | Rai Strategic Holdings, Inc. | Gas sensing for an aerosol delivery device |
| US10405579B2 (en) | 2016-04-29 | 2019-09-10 | Rai Strategic Holdings, Inc. | Methods for assembling a cartridge for an aerosol delivery device, and associated systems and apparatuses |
| US10433580B2 (en) | 2016-03-03 | 2019-10-08 | Altria Client Services Llc | Methods to add menthol, botanic materials, and/or non-botanic materials to a cartridge, and/or an electronic vaping device including the cartridge |
| US10440992B2 (en) | 2015-12-07 | 2019-10-15 | Rai Strategic Holdings, Inc. | Motion sensing for an aerosol delivery device |
| US10455863B2 (en) | 2016-03-03 | 2019-10-29 | Altria Client Services Llc | Cartridge for electronic vaping device |
| US10463078B2 (en) | 2016-07-08 | 2019-11-05 | Rai Strategic Holdings, Inc. | Aerosol delivery device with condensing and non-condensing vaporization |
| US10470495B2 (en) | 2015-10-21 | 2019-11-12 | Rai Strategic Holdings, Inc. | Lithium-ion battery with linear regulation for an aerosol delivery device |
| US10477896B2 (en) | 2016-10-12 | 2019-11-19 | Rai Strategic Holdings, Inc. | Photodetector for measuring aerosol precursor composition in an aerosol delivery device |
| CN110477462A (en) * | 2014-05-13 | 2019-11-22 | 富特姆4有限公司 | Method, system and apparatus for controlling the charging of a battery in an electronic cigarette |
| US10492530B2 (en) | 2016-11-15 | 2019-12-03 | Rai Strategic Holdings, Inc. | Two-wire authentication system for an aerosol delivery device |
| US10500600B2 (en) | 2014-12-09 | 2019-12-10 | Rai Strategic Holdings, Inc. | Gesture recognition user interface for an aerosol delivery device |
| US10505383B2 (en) | 2017-09-19 | 2019-12-10 | Rai Strategic Holdings, Inc. | Intelligent charger for an aerosol delivery device |
| US10517330B2 (en) | 2017-05-23 | 2019-12-31 | RAI Stategic Holdings, Inc. | Heart rate monitor for an aerosol delivery device |
| US10517332B2 (en) | 2017-10-31 | 2019-12-31 | Rai Strategic Holdings, Inc. | Induction heated aerosol delivery device |
| US10517326B2 (en) | 2017-01-27 | 2019-12-31 | Rai Strategic Holdings, Inc. | Secondary battery for an aerosol delivery device |
| US10524509B2 (en) | 2016-11-18 | 2020-01-07 | Rai Strategic Holdings, Inc. | Pressure sensing for an aerosol delivery device |
| US10524508B2 (en) | 2016-11-15 | 2020-01-07 | Rai Strategic Holdings, Inc. | Induction-based aerosol delivery device |
| US10537137B2 (en) | 2016-11-22 | 2020-01-21 | Rai Strategic Holdings, Inc. | Rechargeable lithium-ion battery for an aerosol delivery device |
| EP3599912A2 (en) * | 2017-03-24 | 2020-02-05 | RAI Strategic Holdings, Inc. | An aerosol delivery device and a related method |
| WO2020024155A1 (en) * | 2018-08-01 | 2020-02-06 | Fontem Holdings 1 B.V. | Electronic vaporizing device with thin film heating member |
| US10555558B2 (en) | 2017-12-29 | 2020-02-11 | Rai Strategic Holdings, Inc. | Aerosol delivery device providing flavor control |
| US10575558B2 (en) | 2014-02-03 | 2020-03-03 | Rai Strategic Holdings, Inc. | Aerosol delivery device comprising multiple outer bodies and related assembly method |
| CN110859321A (en) * | 2018-08-08 | 2020-03-06 | 北京航天雷特机电工程有限公司 | Cigarette bullet and electron cigarette |
| US10582726B2 (en) | 2015-10-21 | 2020-03-10 | Rai Strategic Holdings, Inc. | Induction charging for an aerosol delivery device |
| CN110893013A (en) * | 2018-09-07 | 2020-03-20 | 深圳市赛尔美电子科技有限公司 | Heating device and be equipped with its electron cigarette |
| US10602775B2 (en) | 2016-07-21 | 2020-03-31 | Rai Strategic Holdings, Inc. | Aerosol delivery device with a unitary reservoir and liquid transport element comprising a porous monolith and related method |
| US10617151B2 (en) | 2016-07-21 | 2020-04-14 | Rai Strategic Holdings, Inc. | Aerosol delivery device with a liquid transport element comprising a porous monolith and related method |
| US10653183B2 (en) | 2016-11-18 | 2020-05-19 | Rai Strategic Holdings, Inc. | Power source for an aerosol delivery device |
| US10660370B2 (en) | 2017-10-12 | 2020-05-26 | Rai Strategic Holdings, Inc. | Aerosol delivery device including a control body, an atomizer body, and a cartridge and related methods |
| CN111387563A (en) * | 2018-12-29 | 2020-07-10 | 云南恒罡科技有限公司 | Smoking set suitable for honeycomb-shaped heating non-combustion cartridge |
| CN111418895A (en) * | 2014-02-10 | 2020-07-17 | 菲利普莫里斯生产公司 | Aerosol-generating system and cartridge for an aerosol-generating system |
| US10765144B2 (en) | 2014-08-21 | 2020-09-08 | Rai Strategic Holdings, Inc. | Aerosol delivery device including a moveable cartridge and related assembly method |
| US10765146B2 (en) | 2016-08-08 | 2020-09-08 | Rai Strategic Holdings, Inc. | Boost converter for an aerosol delivery device |
| US10806181B2 (en) | 2017-12-08 | 2020-10-20 | Rai Strategic Holdings, Inc. | Quasi-resonant flyback converter for an induction-based aerosol delivery device |
| US10820630B2 (en) | 2015-11-06 | 2020-11-03 | Rai Strategic Holdings, Inc. | Aerosol delivery device including a wirelessly-heated atomizer and related method |
| US10827783B2 (en) | 2017-02-27 | 2020-11-10 | Rai Strategic Holdings, Inc. | Digital compass for an aerosol delivery device |
| US10842197B2 (en) | 2017-07-12 | 2020-11-24 | Rai Strategic Holdings, Inc. | Detachable container for aerosol delivery having pierceable membrane |
| US10888119B2 (en) | 2014-07-10 | 2021-01-12 | Rai Strategic Holdings, Inc. | System and related methods, apparatuses, and computer program products for controlling operation of a device based on a read request |
| US20210037883A1 (en) * | 2018-03-07 | 2021-02-11 | Fontem Holdings 1 B.V. | Electronic smoking device with liquid pump |
| US10918134B2 (en) | 2015-10-21 | 2021-02-16 | Rai Strategic Holdings, Inc. | Power supply for an aerosol delivery device |
| US10945462B2 (en) | 2016-04-12 | 2021-03-16 | Rai Strategic Holdings, Inc. | Detachable power source for an aerosol delivery device |
| CN112566519A (en) * | 2018-03-16 | 2021-03-26 | 邦德街制造有限责任公司 | Vaporizable tobacco wax composition and container therefor |
| US10959458B2 (en) | 2016-06-20 | 2021-03-30 | Rai Strategic Holdings, Inc. | Aerosol delivery device including an electrical generator assembly |
| US10966460B2 (en) | 2015-07-17 | 2021-04-06 | Rai Strategic Holdings, Inc. | Load-based detection of an aerosol delivery device in an assembled arrangement |
| US11000069B2 (en) | 2015-05-15 | 2021-05-11 | Rai Strategic Holdings, Inc. | Aerosol delivery device and methods of formation thereof |
| US11013266B2 (en) | 2016-12-09 | 2021-05-25 | Rai Strategic Holdings, Inc. | Aerosol delivery device sensory system including an infrared sensor and related method |
| US11019850B2 (en) | 2018-02-26 | 2021-06-01 | Rai Strategic Holdings, Inc. | Heat conducting substrate for electrically heated aerosol delivery device |
| US11019847B2 (en) | 2016-07-28 | 2021-06-01 | Rai Strategic Holdings, Inc. | Aerosol delivery devices including a selector and related methods |
| US11033054B2 (en) | 2015-07-24 | 2021-06-15 | Rai Strategic Holdings, Inc. | Radio-frequency identification (RFID) authentication system for aerosol delivery devices |
| US11039645B2 (en) | 2017-09-19 | 2021-06-22 | Rai Strategic Holdings, Inc. | Differential pressure sensor for an aerosol delivery device |
| US11051554B2 (en) | 2014-11-12 | 2021-07-06 | Rai Strategic Holdings, Inc. | MEMS-based sensor for an aerosol delivery device |
| US11103012B2 (en) | 2016-11-17 | 2021-08-31 | Rai Strategic Holdings, Inc. | Satellite navigation for an aerosol delivery device |
| US11134544B2 (en) | 2015-07-24 | 2021-09-28 | Rai Strategic Holdings, Inc. | Aerosol delivery device with radiant heating |
| US11207478B2 (en) | 2016-03-25 | 2021-12-28 | Rai Strategic Holdings, Inc. | Aerosol production assembly including surface with micro-pattern |
| US11229239B2 (en) | 2013-07-19 | 2022-01-25 | Rai Strategic Holdings, Inc. | Electronic smoking article with haptic feedback |
| CN114025630A (en) * | 2019-06-06 | 2022-02-08 | Nvx实验室有限公司 | Microwave heating unit and method |
| US11246344B2 (en) | 2012-03-28 | 2022-02-15 | Rai Strategic Holdings, Inc. | Smoking article incorporating a conductive substrate |
| US11291252B2 (en) | 2015-12-18 | 2022-04-05 | Rai Strategic Holdings, Inc. | Proximity sensing for an aerosol delivery device |
| US11297876B2 (en) | 2017-05-17 | 2022-04-12 | Rai Strategic Holdings, Inc. | Aerosol delivery device |
| US11337456B2 (en) | 2017-07-17 | 2022-05-24 | Rai Strategic Holdings, Inc. | Video analytics camera system for an aerosol delivery device |
| US11412781B2 (en) | 2016-02-12 | 2022-08-16 | Rai Strategic Holdings, Inc. | Adapters for refilling an aerosol delivery device |
| US11504489B2 (en) | 2015-07-17 | 2022-11-22 | Rai Strategic Holdings, Inc. | Contained liquid system for refilling aerosol delivery devices |
| US11589621B2 (en) | 2017-05-23 | 2023-02-28 | Rai Strategic Holdings, Inc. | Heart rate monitor for an aerosol delivery device |
| EP3732938B1 (en) | 2017-12-28 | 2023-04-26 | JT International SA | Induction heating assembly for a vapour generating device |
| US11641871B2 (en) | 2006-10-18 | 2023-05-09 | Rai Strategic Holdings, Inc. | Tobacco-containing smoking article |
| US11666098B2 (en) | 2014-02-07 | 2023-06-06 | Rai Strategic Holdings, Inc. | Charging accessory device for an aerosol delivery device and related system, method, apparatus, and computer program product for providing interactive services for aerosol delivery devices |
| US11696604B2 (en) | 2014-03-13 | 2023-07-11 | Rai Strategic Holdings, Inc. | Aerosol delivery device and related method and computer program product for controlling an aerosol delivery device based on input characteristics |
| EP3941262B1 (en) | 2019-03-22 | 2023-11-01 | Imperial Tobacco Limited | Smoking substitute system |
| RU2807309C2 (en) * | 2015-08-31 | 2023-11-14 | Никовенчерс Трейдинг Лимитед | Cartridge intended for being used in device for heating of smoking material |
| CN118304520A (en) * | 2024-04-26 | 2024-07-09 | 深圳市富迪康科技有限公司 | Temperature control type compression atomizer |
| US12042809B2 (en) | 2015-11-02 | 2024-07-23 | Altria Client Services Llc | Aerosol-generating system comprising a vibratable element |
| EP4026440B1 (en) | 2008-10-23 | 2024-07-24 | Nicoventures Trading Limited | Inhaler |
| US12168094B2 (en) | 2016-02-23 | 2024-12-17 | Fontem Ventures B.V. | High frequency polarization aerosol generator |
| US12285042B2 (en) | 2013-03-12 | 2025-04-29 | Rai Strategic Holdings, Inc. | Electronic smoking article having a vapor-enhancing apparatus and associated method |
| US12369632B2 (en) | 2013-03-14 | 2025-07-29 | Rai Strategic Holdings, Inc. | Electronic smoking article with improved storage and transport of aerosol precursor compositions |
| US12439962B2 (en) | 2016-03-11 | 2025-10-14 | Altria Client Services Llc | Multiple dispersion generator e-vaping device |
| US12472316B2 (en) | 2016-09-09 | 2025-11-18 | Rai Strategic Holdings, Inc. | Analog control component for an aerosol delivery device |
| US12478112B2 (en) | 2018-10-30 | 2025-11-25 | R.J. Reynolds Tobacco Company | Smoking article cartridge |
| US12501942B2 (en) | 2019-03-22 | 2025-12-23 | Imperial Tobacco Limited | Smoking substitute system |
| US12514294B2 (en) | 2020-07-01 | 2026-01-06 | Nicoventures Trading Limited | 3D-printed substrate for aerosol delivery device |
Families Citing this family (10)
| Publication number | Priority date | Publication date | Assignee | Title |
|---|---|---|---|---|
| US11647783B2 (en) | 2005-07-19 | 2023-05-16 | Juul Labs, Inc. | Devices for vaporization of a substance |
| CN204275207U (en) | 2011-08-16 | 2015-04-22 | Pax实验室公司 | Can the device of Inhaled Aerosol for generating |
| CN203776160U (en) * | 2012-06-20 | 2014-08-20 | 惠州市吉瑞科技有限公司 | Electronic cigarette and electronic cigarette device |
| WO2014040221A1 (en) * | 2012-09-11 | 2014-03-20 | Liu Qiuming | Electronic cigarette |
| US10039321B2 (en) | 2013-11-12 | 2018-08-07 | Vmr Products Llc | Vaporizer |
| US12279646B2 (en) | 2014-02-06 | 2025-04-22 | Juul Labs, Inc. | Cartridge of vaporization device systems having unequal transverse cartridge dimensions |
| UA118776C2 (en) | 2014-02-10 | 2019-03-11 | Філіп Морріс Продактс С.А. | An aerosol-generating system having a fluid-permeable heater assembly |
| CN203986094U (en) * | 2014-03-06 | 2014-12-10 | 惠州市吉瑞科技有限公司 | A kind of electronic cigarette |
| US20150272218A1 (en) * | 2014-03-27 | 2015-10-01 | Shenzhen Smoore Technology Limited | Electronic cigarette |
| KR20170074898A (en) | 2014-10-02 | 2017-06-30 | 디지레츠 인코포레이티드 | Disposable tank electronic cigarette, method of manufacture and method of use |
Family Cites Families (3)
| Publication number | Priority date | Publication date | Assignee | Title |
|---|---|---|---|---|
| CN2719043Y (en) * | 2004-04-14 | 2005-08-24 | 韩力 | Atomized electronic cigarette |
| CN2777995Y (en) * | 2005-03-30 | 2006-05-10 | 韩力 | atomizing electronic pipe |
| CN201088138Y (en) * | 2007-09-07 | 2008-07-23 | 中国科学院理化技术研究所 | Electronic cigarette with nanoscale ultra-fine space heating atomization function |
-
2007
- 2007-09-07 CN CN200710121524A patent/CN100593982C/en active Active
Cited By (462)
| Publication number | Priority date | Publication date | Assignee | Title |
|---|---|---|---|---|
| US8910641B2 (en) | 2003-04-20 | 2014-12-16 | Fontem Holdings 1 B.V. | Electronic cigarette |
| US8511318B2 (en) | 2003-04-29 | 2013-08-20 | Ruyan Investment (Holdings) Limited | Electronic cigarette |
| USRE47573E1 (en) | 2003-04-29 | 2019-08-20 | Fontem Holdings 1 B.V. | Electronic cigarette |
| US8393331B2 (en) | 2004-04-14 | 2013-03-12 | Ruyan Investment (Holdings) Limited | Electronic atomization cigarette |
| US8893726B2 (en) | 2004-04-14 | 2014-11-25 | Fontem Holdings 1 B.V. | Electronic cigarette |
| US8490628B2 (en) | 2004-04-14 | 2013-07-23 | Ruyan Investment (Holdings) Limited; | Electronic atomization cigarette |
| US11083222B2 (en) | 2006-05-16 | 2021-08-10 | Fontem Holdings 1 B.V. | Electronic cigarette having a liquid storage component and a shared central longtiduinal axis among stacked components of a housing, a hollow porous component and a heating coil |
| US10893705B2 (en) | 2006-05-16 | 2021-01-19 | Fontem Holdings 1 B.V. | Electronic cigarette |
| US9370205B2 (en) | 2006-05-16 | 2016-06-21 | Fontem Holdings 1 B.V. | Electronic cigarette |
| US12150478B2 (en) | 2006-05-16 | 2024-11-26 | Fontem Ventures B.V. | Electronic cigarette |
| US9808034B2 (en) | 2006-05-16 | 2017-11-07 | Fontem Holdings 1 B.V. | Electronic cigarette |
| US9456632B2 (en) | 2006-05-16 | 2016-10-04 | Fontem Holdings 1 B.V. | Electronic cigarette |
| US8365742B2 (en) | 2006-05-16 | 2013-02-05 | Ruyan Investment (Holdings) Limited | Aerosol electronic cigarette |
| US8863752B2 (en) | 2006-05-16 | 2014-10-21 | Fontem Holdings 1 B.V. | Electronic Cigarette |
| US9326548B2 (en) | 2006-05-16 | 2016-05-03 | Fontem Holdings 1 B.V. | Electronic cigarette |
| US11647781B2 (en) | 2006-10-18 | 2023-05-16 | Rai Strategic Holdings, Inc. | Tobacco-containing smoking article |
| US11785978B2 (en) | 2006-10-18 | 2023-10-17 | Rai Strategic Holdings, Inc. | Tobacco-containing smoking article |
| US11758936B2 (en) | 2006-10-18 | 2023-09-19 | Rai Strategic Holdings, Inc. | Tobacco-containing smoking article |
| US11925202B2 (en) | 2006-10-18 | 2024-03-12 | Rai Strategic Holdings, Inc. | Tobacco-containing smoking article |
| US11805806B2 (en) | 2006-10-18 | 2023-11-07 | Rai Strategic Holdings, Inc. | Tobacco-containing smoking article |
| US11986009B2 (en) | 2006-10-18 | 2024-05-21 | Rai Strategic Holdings, Inc. | Tobacco-containing smoking article |
| US11980220B2 (en) | 2006-10-18 | 2024-05-14 | Rai Strategic Holdings, Inc. | Tobacco-containing smoking article |
| US11641871B2 (en) | 2006-10-18 | 2023-05-09 | Rai Strategic Holdings, Inc. | Tobacco-containing smoking article |
| CN102551217B (en) * | 2008-03-25 | 2015-04-01 | 菲利普莫里斯生产公司 | Method for controlling the formation of smoke constituents in an electrical aerosol generation system |
| CN102551217A (en) * | 2008-03-25 | 2012-07-11 | 菲利普莫里斯生产公司 | Method for controlling the formation of smoke constituents in an electrical aerosol generation system |
| CN106510005B (en) * | 2008-04-30 | 2020-01-03 | 菲利普莫里斯生产公司 | Electrically heated smoking system with liquid storage portion |
| CN106510005A (en) * | 2008-04-30 | 2017-03-22 | 菲利普莫里斯生产公司 | An electrically heated smoking system having a liquid storage portion |
| EP2712511B1 (en) | 2008-04-30 | 2021-06-09 | Philip Morris Products S.A. | An electrically heated smoking system having a liquid storage portion |
| US10966464B2 (en) | 2008-04-30 | 2021-04-06 | Philip Morris Usa Inc. | Electrically heated smoking system having a liquid storage portion |
| US11974599B2 (en) | 2008-04-30 | 2024-05-07 | Philip Morris Usa Inc. | Electrically heated smoking system having a liquid storage portion |
| US12447290B2 (en) | 2008-10-23 | 2025-10-21 | Nicoventures Trading Limited | Inhaler |
| EP4026440B1 (en) | 2008-10-23 | 2024-07-24 | Nicoventures Trading Limited | Inhaler |
| US10477898B2 (en) | 2009-02-11 | 2019-11-19 | Fontem Holdings 1 B.V. | Electronic cigarette |
| US10383366B2 (en) | 2009-02-11 | 2019-08-20 | Fontem Holdings 1 B.V. | Electronic cigarette |
| US8689805B2 (en) | 2009-02-11 | 2014-04-08 | Fontem Holdings 1 B.V. | Electronic cigarette |
| WO2010091593A1 (en) * | 2009-02-11 | 2010-08-19 | Hon Lik | Improved atomizing electronic cigarette |
| US10588353B2 (en) | 2009-02-11 | 2020-03-17 | Fontem Holdings 1 B.V. | Electronic cigarette |
| JP2023160994A (en) * | 2009-02-11 | 2023-11-02 | フォンテム ホールディングス 1 ビー. ブイ. | Improved atomizing e-cigarette |
| EA024396B1 (en) * | 2009-02-11 | 2016-09-30 | Фонтем Холдингс 1 Б.В. | Improved atomizing electronic cigarette |
| US11044944B2 (en) | 2009-02-11 | 2021-06-29 | Fontem Holdings 1 B.V. | Electronic cigarette |
| JP2012517229A (en) * | 2009-02-11 | 2012-08-02 | 力 韓 | Improved spray electronic cigarette |
| US11805816B2 (en) | 2009-02-11 | 2023-11-07 | Fontem Ventures B.V. | Electronic cigarette |
| JP7660799B2 (en) | 2009-02-11 | 2025-04-14 | フォンテム ベンチャーズ ビー.ブイ. | Improved aerosol e-cigarettes |
| EP2404515B1 (en) | 2009-02-11 | 2015-09-09 | Fontem Holdings 1 B.V. | Improved atomizing electronic cigarette |
| CN102387719A (en) * | 2009-02-11 | 2012-03-21 | 韩力 | Improved atomizing electronic cigarette |
| WO2010118644A1 (en) * | 2009-04-15 | 2010-10-21 | 中国科学院理化技术研究所 | Heating atomization electronic-cigarette adopting capacitor for power supply |
| US9095175B2 (en) | 2010-05-15 | 2015-08-04 | R. J. Reynolds Tobacco Company | Data logging personal vaporizing inhaler |
| US9427711B2 (en) | 2010-05-15 | 2016-08-30 | Rai Strategic Holdings, Inc. | Distal end inserted personal vaporizing inhaler cartridge |
| US10159278B2 (en) | 2010-05-15 | 2018-12-25 | Rai Strategic Holdings, Inc. | Assembly directed airflow |
| US9259035B2 (en) | 2010-05-15 | 2016-02-16 | R. J. Reynolds Tobacco Company | Solderless personal vaporizing inhaler |
| US9555203B2 (en) | 2010-05-15 | 2017-01-31 | Rai Strategic Holdings, Inc. | Personal vaporizing inhaler assembly |
| US9743691B2 (en) | 2010-05-15 | 2017-08-29 | Rai Strategic Holdings, Inc. | Vaporizer configuration, control, and reporting |
| US10092713B2 (en) | 2010-05-15 | 2018-10-09 | Rai Strategic Holdings, Inc. | Personal vaporizing inhaler with translucent window |
| US9999250B2 (en) | 2010-05-15 | 2018-06-19 | Rai Strategic Holdings, Inc. | Vaporizer related systems, methods, and apparatus |
| US10136672B2 (en) | 2010-05-15 | 2018-11-27 | Rai Strategic Holdings, Inc. | Solderless directly written heating elements |
| US9352288B2 (en) | 2010-05-15 | 2016-05-31 | Rai Strategic Holdings, Inc. | Vaporizer assembly and cartridge |
| US9861773B2 (en) | 2010-05-15 | 2018-01-09 | Rai Strategic Holdings, Inc. | Communication between personal vaporizing inhaler assemblies |
| US9861772B2 (en) | 2010-05-15 | 2018-01-09 | Rai Strategic Holdings, Inc. | Personal vaporizing inhaler cartridge |
| EP2645890B1 (en) | 2010-12-03 | 2019-08-21 | Philip Morris Products S.a.s. | An aerosol generating system with leakage prevention |
| EP2645890B2 (en) † | 2010-12-03 | 2025-05-07 | Philip Morris Products S.A. | An aerosol generating system with leakage prevention |
| US8928277B2 (en) | 2011-01-28 | 2015-01-06 | Kimree Hi-Tech Inc | Electronic cigarette and a wireless charging device for the same |
| WO2012100430A1 (en) * | 2011-01-28 | 2012-08-02 | Xiang Zhiyong | Electronic cigarette and wireless charging device thereof |
| CN102883631A (en) * | 2011-01-28 | 2013-01-16 | 向智勇 | An electronic cigarette and its wireless charging device |
| US11779051B2 (en) | 2011-08-09 | 2023-10-10 | Rai Strategic Holdings, Inc. | Smoking articles and use thereof for yielding inhalation materials |
| US9078473B2 (en) | 2011-08-09 | 2015-07-14 | R.J. Reynolds Tobacco Company | Smoking articles and use thereof for yielding inhalation materials |
| US10588355B2 (en) | 2011-08-09 | 2020-03-17 | Rai Strategic Holdings, Inc. | Smoking articles and use thereof for yielding inhalation materials |
| US9930915B2 (en) | 2011-08-09 | 2018-04-03 | Rai Strategic Holdings, Inc. | Smoking articles and use thereof for yielding inhalation materials |
| US10492542B1 (en) | 2011-08-09 | 2019-12-03 | Rai Strategic Holdings, Inc. | Smoking articles and use thereof for yielding inhalation materials |
| US12016384B2 (en) | 2011-08-09 | 2024-06-25 | Rai Strategic Holdings, Inc. | Smoking articles and use thereof for yielding inhalation materials |
| US10362809B2 (en) | 2011-08-09 | 2019-07-30 | Rai Strategic Holdings, Inc. | Smoking articles and use thereof for yielding inhalation materials |
| US8511327B2 (en) | 2011-08-15 | 2013-08-20 | Min Li Sun | Anti-wind eccentric umbrella |
| US10092037B2 (en) | 2012-01-31 | 2018-10-09 | Altria Client Services Llc | Electronic cigarette |
| US11478593B2 (en) | 2012-01-31 | 2022-10-25 | Altria Client Services Llc | Electronic vaping device |
| US10123566B2 (en) | 2012-01-31 | 2018-11-13 | Altria Client Services Llc | Electronic cigarette |
| US12364826B2 (en) | 2012-01-31 | 2025-07-22 | Altria Client Services Llc | Electronic cigarette |
| US10098386B2 (en) | 2012-01-31 | 2018-10-16 | Altria Client Services Llc | Electronic cigarette |
| US9004073B2 (en) | 2012-01-31 | 2015-04-14 | Altria Client Services Inc. | Electronic cigarette |
| US9668523B2 (en) | 2012-01-31 | 2017-06-06 | Altria Client Services Llc | Electronic cigarette |
| US11511058B2 (en) | 2012-01-31 | 2022-11-29 | Altria Client Services Llc | Electronic cigarette |
| US8997754B2 (en) | 2012-01-31 | 2015-04-07 | Altria Client Services Inc. | Electronic cigarette |
| US8997753B2 (en) | 2012-01-31 | 2015-04-07 | Altria Client Services Inc. | Electronic smoking article |
| US12263300B2 (en) | 2012-01-31 | 2025-04-01 | Altria Client Services Llc | Electronic cigarette |
| US12296091B2 (en) | 2012-01-31 | 2025-05-13 | Altria Client Services Llc | Electronic vaping device |
| US11975143B2 (en) | 2012-01-31 | 2024-05-07 | Altria Client Services Llc | Electronic cigarette |
| US10716903B2 (en) | 2012-01-31 | 2020-07-21 | Altria Client Services Llc | Electronic cigarette |
| US10780236B2 (en) | 2012-01-31 | 2020-09-22 | Altria Client Services Llc | Electronic cigarette and method |
| US10405583B2 (en) | 2012-01-31 | 2019-09-10 | Altria Client Services Llc | Electronic cigarette |
| US10881814B2 (en) | 2012-01-31 | 2021-01-05 | Altria Client Services Llc | Electronic vaping device |
| US9848656B2 (en) | 2012-01-31 | 2017-12-26 | Altria Client Services Llc | Electronic cigarette |
| US11730901B2 (en) | 2012-01-31 | 2023-08-22 | Altria Client Services Llc | Electronic cigarette |
| US10980953B2 (en) | 2012-01-31 | 2021-04-20 | Altria Client Services Llc | Electronic cigarette |
| US9961941B2 (en) | 2012-02-22 | 2018-05-08 | Altria Client Services Llc | Electronic smoking article |
| US9532597B2 (en) | 2012-02-22 | 2017-01-03 | Altria Client Services Llc | Electronic smoking article |
| US10299516B2 (en) | 2012-02-22 | 2019-05-28 | Altria Client Services Llc | Electronic article |
| US11246344B2 (en) | 2012-03-28 | 2022-02-15 | Rai Strategic Holdings, Inc. | Smoking article incorporating a conductive substrate |
| US11602175B2 (en) | 2012-03-28 | 2023-03-14 | Rai Strategic Holdings, Inc. | Smoking article incorporating a conductive substrate |
| CN104203018B (en) * | 2012-04-03 | 2018-04-13 | 朴善顺 | Electronic cigarette |
| CN104203018A (en) * | 2012-04-03 | 2014-12-10 | 朴善顺 | Electronic cigarette |
| US12114706B2 (en) | 2012-06-28 | 2024-10-15 | Rai Strategic Holdings, Inc. | Reservoir and heater system for controllable delivery of multiple aerosolizable materials in an electronic smoking article |
| US11140921B2 (en) | 2012-06-28 | 2021-10-12 | Rai Strategic Holdings, Inc. | Reservoir and heater system for controllable delivery of multiple aerosolizable materials in an electronic smoking article |
| US10004259B2 (en) | 2012-06-28 | 2018-06-26 | Rai Strategic Holdings, Inc. | Reservoir and heater system for controllable delivery of multiple aerosolizable materials in an electronic smoking article |
| US10524512B2 (en) | 2012-06-28 | 2020-01-07 | Rai Strategic Holdings, Inc. | Reservoir and heater system for controllable delivery of multiple aerosolizable materials in an electronic smoking article |
| WO2014032280A1 (en) * | 2012-08-31 | 2014-03-06 | Liu Qiuming | Electronic cigarette |
| US11825567B2 (en) | 2012-09-04 | 2023-11-21 | Rai Strategic Holdings, Inc. | Electronic smoking article comprising one or more microheaters |
| US12484116B2 (en) | 2012-09-04 | 2025-11-25 | Rai Strategic Holdings, Inc. | Electronic smoking article comprising one or more microheaters |
| US11044950B2 (en) | 2012-09-04 | 2021-06-29 | Rai Strategic Holdings, Inc. | Electronic smoking article comprising one or more microheaters |
| US9980512B2 (en) | 2012-09-04 | 2018-05-29 | Rai Strategic Holdings, Inc. | Electronic smoking article comprising one or more microheaters |
| US8881737B2 (en) | 2012-09-04 | 2014-11-11 | R.J. Reynolds Tobacco Company | Electronic smoking article comprising one or more microheaters |
| US9949508B2 (en) | 2012-09-05 | 2018-04-24 | Rai Strategic Holdings, Inc. | Single-use connector and cartridge for a smoking article and related method |
| US8910639B2 (en) | 2012-09-05 | 2014-12-16 | R. J. Reynolds Tobacco Company | Single-use connector and cartridge for a smoking article and related method |
| WO2014040294A1 (en) * | 2012-09-17 | 2014-03-20 | Liu Qiuming | Electronic hookah |
| US9854841B2 (en) | 2012-10-08 | 2018-01-02 | Rai Strategic Holdings, Inc. | Electronic smoking article and associated method |
| US11019852B2 (en) | 2012-10-08 | 2021-06-01 | Rai Strategic Holdings, Inc. | Electronic smoking article and associated method |
| US10117460B2 (en) | 2012-10-08 | 2018-11-06 | Rai Strategic Holdings, Inc. | Electronic smoking article and associated method |
| US10531691B2 (en) | 2012-10-08 | 2020-01-14 | Rai Strategic Holdings, Inc. | Aerosol delivery device |
| US10881150B2 (en) | 2012-10-08 | 2021-01-05 | Rai Strategic Holdings, Inc. | Aerosol delivery device |
| US11856997B2 (en) | 2012-10-08 | 2024-01-02 | Rai Strategic Holdings, Inc. | Electronic smoking article and associated method |
| US8910640B2 (en) | 2013-01-30 | 2014-12-16 | R.J. Reynolds Tobacco Company | Wick suitable for use in an electronic smoking article |
| US10258089B2 (en) | 2013-01-30 | 2019-04-16 | Rai Strategic Holdings, Inc. | Wick suitable for use in an electronic smoking article |
| US9854847B2 (en) | 2013-01-30 | 2018-01-02 | Rai Strategic Holdings, Inc. | Wick suitable for use in an electronic smoking article |
| US12174255B2 (en) | 2013-03-07 | 2024-12-24 | Rai Strategic Holdings, Inc. | Aerosol delivery device |
| US10031183B2 (en) | 2013-03-07 | 2018-07-24 | Rai Strategic Holdings, Inc. | Spent cartridge detection method and system for an electronic smoking article |
| US11428738B2 (en) | 2013-03-07 | 2022-08-30 | Rai Strategic Holdings, Inc. | Aerosol delivery device |
| US10753974B2 (en) | 2013-03-07 | 2020-08-25 | Rai Strategic Holdings, Inc. | Aerosol delivery device |
| US10274539B2 (en) | 2013-03-07 | 2019-04-30 | Rai Strategic Holdings, Inc. | Aerosol delivery device |
| US12285042B2 (en) | 2013-03-12 | 2025-04-29 | Rai Strategic Holdings, Inc. | Electronic smoking article having a vapor-enhancing apparatus and associated method |
| US12369632B2 (en) | 2013-03-14 | 2025-07-29 | Rai Strategic Holdings, Inc. | Electronic smoking article with improved storage and transport of aerosol precursor compositions |
| US10306924B2 (en) | 2013-03-14 | 2019-06-04 | Rai Strategic Holdings, Inc. | Atomizer for an aerosol delivery device formed from a continuously extending wire and related input, cartridge, and method |
| US9277770B2 (en) | 2013-03-14 | 2016-03-08 | R. J. Reynolds Tobacco Company | Atomizer for an aerosol delivery device formed from a continuously extending wire and related input, cartridge, and method |
| US9423152B2 (en) | 2013-03-15 | 2016-08-23 | R. J. Reynolds Tobacco Company | Heating control arrangement for an electronic smoking article and associated system and method |
| US11871484B2 (en) | 2013-03-15 | 2024-01-09 | Rai Strategic Holdings, Inc. | Aerosol delivery device |
| US9609893B2 (en) | 2013-03-15 | 2017-04-04 | Rai Strategic Holdings, Inc. | Cartridge and control body of an aerosol delivery device including anti-rotation mechanism and related method |
| US10426200B2 (en) | 2013-03-15 | 2019-10-01 | Rai Strategic Holdings, Inc. | Aerosol delivery device |
| US9491974B2 (en) | 2013-03-15 | 2016-11-15 | Rai Strategic Holdings, Inc. | Heating elements formed from a sheet of a material and inputs and methods for the production of atomizers |
| US12426632B2 (en) | 2013-03-15 | 2025-09-30 | R.J. Reynolds Tobacco Company | Heating elements formed from a sheet of a material and inputs and methods for the production of atomizers |
| US11247006B2 (en) | 2013-03-15 | 2022-02-15 | Rai Strategic Holdings, Inc. | Cartridge and control body of an aerosol delivery device including anti-rotation mechanism and related method |
| US11785990B2 (en) | 2013-03-15 | 2023-10-17 | Rai Strategic Holdings, Inc. | Heating elements formed from a sheet of a material and inputs and methods for the production of atomizers |
| US10595561B2 (en) | 2013-03-15 | 2020-03-24 | Rai Strategic Holdings, Inc. | Heating elements formed from a sheet of a material and inputs and methods for the production of atomizers |
| US9220302B2 (en) | 2013-03-15 | 2015-12-29 | R.J. Reynolds Tobacco Company | Cartridge for an aerosol delivery device and method for assembling a cartridge for a smoking article |
| US10143236B2 (en) | 2013-03-15 | 2018-12-04 | Rai Strategic Holdings, Inc. | Cartridge for an aerosol delivery device and method for assembling a cartridge for a smoking article |
| US11000075B2 (en) | 2013-03-15 | 2021-05-11 | Rai Strategic Holdings, Inc. | Aerosol delivery device |
| US10492532B2 (en) | 2013-03-15 | 2019-12-03 | Rai Strategic Holdings, Inc. | Cartridge and control body of an aerosol delivery device including anti-rotation mechanism and related method |
| CN105407748A (en) * | 2013-05-21 | 2016-03-16 | 菲利普莫里斯生产公司 | Electrically heated aerosol delivery system |
| US10721963B2 (en) | 2013-05-21 | 2020-07-28 | Philip Morris Products S.A. | Electrically heated aerosol delivery system |
| TWI697288B (en) * | 2013-05-21 | 2020-07-01 | 瑞士商菲利浦莫里斯製品股份有限公司 | Cartridge, device configured to receive a cartridge, aerosol delivery system and method of delivering aerosolised medicament-containing particles to a user |
| CN103271447A (en) * | 2013-05-23 | 2013-09-04 | 红云红河烟草(集团)有限责任公司 | Novel carbon heating electron cigarette |
| CN103271449A (en) * | 2013-06-08 | 2013-09-04 | 广东中烟工业有限责任公司 | Snuff-type electronic cigarette |
| CN103271449B (en) * | 2013-06-08 | 2016-03-30 | 广东中烟工业有限责任公司 | A kind of Snuff-type electronic cigarette |
| CN103315404A (en) * | 2013-07-17 | 2013-09-25 | 中国烟草总公司郑州烟草研究院 | Non-combustion-type tobacco smoking device based on microwave heating |
| US11229239B2 (en) | 2013-07-19 | 2022-01-25 | Rai Strategic Holdings, Inc. | Electronic smoking article with haptic feedback |
| US10653177B2 (en) | 2013-07-24 | 2020-05-19 | Nu Mark Innovations Ltd | Cartomizer structure for automated assembly |
| US9848645B2 (en) | 2013-07-24 | 2017-12-26 | Sis Resources Ltd. | Cartomizer structure for automated assembly |
| US10701979B2 (en) | 2013-08-28 | 2020-07-07 | Rai Strategic Holdings, Inc. | Carbon conductive substrate for electronic smoking article |
| US10667562B2 (en) | 2013-08-28 | 2020-06-02 | Rai Strategic Holdings, Inc. | Carbon conductive substrate for electronic smoking article |
| US10172387B2 (en) | 2013-08-28 | 2019-01-08 | Rai Strategic Holdings, Inc. | Carbon conductive substrate for electronic smoking article |
| CN105578910B (en) * | 2013-09-25 | 2019-06-28 | 吉瑞高新科技股份有限公司 | A battery rod assembly, electronic cigarette and electronic cigarette charging device |
| CN103519351B (en) * | 2013-10-31 | 2017-02-15 | 红塔烟草(集团)有限责任公司 | Electrical heating cigarette |
| US10548351B2 (en) | 2013-10-31 | 2020-02-04 | Rai Strategic Holdings, Inc. | Aerosol delivery device including a bubble jet head and related method |
| US9717276B2 (en) | 2013-10-31 | 2017-08-01 | Rai Strategic Holdings, Inc. | Aerosol delivery device including a positive displacement aerosol delivery mechanism |
| US10292424B2 (en) | 2013-10-31 | 2019-05-21 | Rai Strategic Holdings, Inc. | Aerosol delivery device including a pressure-based aerosol delivery mechanism |
| CN103519351A (en) * | 2013-10-31 | 2014-01-22 | 红塔烟草(集团)有限责任公司 | Electrical heating cigarette |
| US11458265B2 (en) | 2013-10-31 | 2022-10-04 | Rai Strategic Holdings, Inc. | Aerosol delivery device including a bubble jet head and related method |
| US12128179B2 (en) | 2013-10-31 | 2024-10-29 | Rai Strategic Holdings, Inc. | Aerosol delivery device including a bubble jet head and related method |
| CN104643290A (en) * | 2013-11-19 | 2015-05-27 | 王彦宸 | Laser atomization device |
| US10653184B2 (en) | 2013-11-22 | 2020-05-19 | Rai Strategic Holdings, Inc. | Reservoir housing for an electronic smoking article |
| US9839237B2 (en) | 2013-11-22 | 2017-12-12 | Rai Strategic Holdings, Inc. | Reservoir housing for an electronic smoking article |
| US9974334B2 (en) | 2014-01-17 | 2018-05-22 | Rai Strategic Holdings, Inc. | Electronic smoking article with improved storage of aerosol precursor compositions |
| US11357260B2 (en) | 2014-01-17 | 2022-06-14 | RAI Srategic Holdings, Inc. | Electronic smoking article with improved storage of aerosol precursor compositions |
| US10531690B2 (en) | 2014-01-17 | 2020-01-14 | Rai Strategic Holdings, Inc. | Electronic smoking article with improved storage of aerosol precursor compositions |
| US10721968B2 (en) | 2014-01-17 | 2020-07-28 | Rai Strategic Holdings, Inc. | Electronic smoking article with improved storage of aerosol precursor compositions |
| CN107078512A (en) * | 2014-01-24 | 2017-08-18 | 惠州市吉瑞科技有限公司深圳分公司 | A kind of wireless charging system of electronic cigarette |
| WO2015109618A1 (en) * | 2014-01-24 | 2015-07-30 | 吉瑞高新科技股份有限公司 | Electronic cigarette |
| US10575558B2 (en) | 2014-02-03 | 2020-03-03 | Rai Strategic Holdings, Inc. | Aerosol delivery device comprising multiple outer bodies and related assembly method |
| US9451791B2 (en) | 2014-02-05 | 2016-09-27 | Rai Strategic Holdings, Inc. | Aerosol delivery device with an illuminated outer surface and related method |
| US11666098B2 (en) | 2014-02-07 | 2023-06-06 | Rai Strategic Holdings, Inc. | Charging accessory device for an aerosol delivery device and related system, method, apparatus, and computer program product for providing interactive services for aerosol delivery devices |
| CN111418895A (en) * | 2014-02-10 | 2020-07-17 | 菲利普莫里斯生产公司 | Aerosol-generating system and cartridge for an aerosol-generating system |
| CN111418895B (en) * | 2014-02-10 | 2023-09-08 | 菲利普莫里斯生产公司 | Aerosol generating systems and cartridges for aerosol generating systems |
| US11602602B2 (en) | 2014-02-10 | 2023-03-14 | Philip Morris Products S.A. | Aerosol-generating system having a heater assembly and a cartridge for an aerosol-generating system having a fluid permeable heater assembly |
| US12090269B2 (en) | 2014-02-10 | 2024-09-17 | Philip Morris Products S.A. | Aerosol-generating system having a heater assembly and a cartridge for an aerosol-generating system having a fluid permeable heater assembly |
| US9833019B2 (en) | 2014-02-13 | 2017-12-05 | Rai Strategic Holdings, Inc. | Method for assembling a cartridge for a smoking article |
| US10856570B2 (en) | 2014-02-13 | 2020-12-08 | Rai Strategic Holdings, Inc. | Method for assembling a cartridge for a smoking article |
| US11083857B2 (en) | 2014-02-13 | 2021-08-10 | Rai Strategic Holdings, Inc. | Method for assembling a cartridge for a smoking article |
| US10470497B2 (en) | 2014-02-13 | 2019-11-12 | Rai Strategic Holdings, Inc. | Method for assembling a cartridge for a smoking article |
| US12495840B2 (en) | 2014-02-13 | 2025-12-16 | Rai Strategic Holdings, Inc. | Method for assembling a cartridge for a smoking article |
| US10588352B2 (en) | 2014-02-13 | 2020-03-17 | Rai Strategic Holdings, Inc. | Method for assembling a cartridge for a smoking article |
| US10609961B2 (en) | 2014-02-13 | 2020-04-07 | Rai Strategic Holdings, Inc. | Method for assembling a cartridge for a smoking article |
| US9839238B2 (en) | 2014-02-28 | 2017-12-12 | Rai Strategic Holdings, Inc. | Control body for an electronic smoking article |
| US9918495B2 (en) | 2014-02-28 | 2018-03-20 | Rai Strategic Holdings, Inc. | Atomizer for an aerosol delivery device and related input, aerosol production assembly, cartridge, and method |
| US10524511B2 (en) | 2014-02-28 | 2020-01-07 | Rai Strategic Holdings, Inc. | Control body for an electronic smoking article |
| US11659868B2 (en) | 2014-02-28 | 2023-05-30 | Rai Strategic Holdings, Inc. | Control body for an electronic smoking article |
| US11234463B2 (en) | 2014-02-28 | 2022-02-01 | Rai Strategic Holdings, Inc. | Atomizer for an aerosol delivery device and related input, aerosol production assembly, cartridge, and method |
| US11864584B2 (en) | 2014-02-28 | 2024-01-09 | Rai Strategic Holdings, Inc. | Control body for an electronic smoking article |
| US9597466B2 (en) | 2014-03-12 | 2017-03-21 | R. J. Reynolds Tobacco Company | Aerosol delivery system and related method, apparatus, and computer program product for providing control information to an aerosol delivery device via a cartridge |
| US11696604B2 (en) | 2014-03-13 | 2023-07-11 | Rai Strategic Holdings, Inc. | Aerosol delivery device and related method and computer program product for controlling an aerosol delivery device based on input characteristics |
| WO2015139217A1 (en) * | 2014-03-19 | 2015-09-24 | 吉瑞高新科技股份有限公司 | Electronic cigarette |
| US10568359B2 (en) | 2014-04-04 | 2020-02-25 | Rai Strategic Holdings, Inc. | Sensor for an aerosol delivery device |
| US9877510B2 (en) | 2014-04-04 | 2018-01-30 | Rai Strategic Holdings, Inc. | Sensor for an aerosol delivery device |
| US10645974B2 (en) | 2014-05-05 | 2020-05-12 | Rai Strategic Holdings, Inc. | Method of preparing an aerosol delivery device |
| US9924741B2 (en) | 2014-05-05 | 2018-03-27 | Rai Strategic Holdings, Inc. | Method of preparing an aerosol delivery device |
| CN110477462A (en) * | 2014-05-13 | 2019-11-22 | 富特姆4有限公司 | Method, system and apparatus for controlling the charging of a battery in an electronic cigarette |
| CN110477462B (en) * | 2014-05-13 | 2022-08-09 | 富特姆4有限公司 | Method, system and apparatus for controlling charging of a battery in an electronic cigarette |
| US9820512B2 (en) | 2014-05-21 | 2017-11-21 | Philip Morris Products S.A. | Aerosol-generating system comprising a mesh susceptor |
| CN105307525A (en) * | 2014-05-21 | 2016-02-03 | 菲利普莫里斯生产公司 | Aerosol-forming substrate and aerosol-delivery system |
| US11606979B2 (en) | 2014-05-21 | 2023-03-21 | Philip Morris Products S.A. | Aerosol-generating system comprising a fluid permeable susceptor element |
| US10028535B2 (en) | 2014-05-21 | 2018-07-24 | Philip Morris Products S.A. | Aerosol-generating system comprising a planar induction coil |
| US10856576B2 (en) | 2014-05-21 | 2020-12-08 | Philip Morris Products S.A. | Aerosol-generating system comprising a mesh susceptor |
| US11856993B2 (en) | 2014-05-21 | 2024-01-02 | Philip Morris Products S.A. | Aerosol-generating system comprising a fluid permeable susceptor element |
| US11617396B2 (en) | 2014-05-21 | 2023-04-04 | Philip Morris Products S.A. | Aerosol-generating system comprising a mesh susceptor |
| US10834972B2 (en) | 2014-05-21 | 2020-11-17 | Philip Morris Products S.A. | Aerosol-generating system comprising a fluid permeable susceptor element |
| US10375994B2 (en) | 2014-05-21 | 2019-08-13 | Philip Morris Products S.A. | Aerosol-generating system comprising a fluid permeable susceptor element |
| US12439971B2 (en) | 2014-05-21 | 2025-10-14 | Philip Morris Products S.A. | Aerosol-generating system comprising a fluid permeable susceptor element |
| CN105307523A (en) * | 2014-05-21 | 2016-02-03 | 菲利普莫里斯生产公司 | An aerosol-generating system comprising a mesh susceptor |
| US11311051B2 (en) | 2014-05-21 | 2022-04-26 | Philip Morris Products S.A. | Aerosol-generating system comprising a fluid permeable susceptor element |
| CN105307525B (en) * | 2014-05-21 | 2016-12-14 | 菲利普莫里斯生产公司 | Aerosol-forming substrates and aerosol delivery systems |
| US12285051B2 (en) | 2014-05-21 | 2025-04-29 | Philip Morris Products S.A. | Aerosol-generating system comprising a mesh susceptor |
| US10561178B2 (en) | 2014-05-23 | 2020-02-18 | Rai Strategic Holdings, Inc. | Sealed cartridge for an aerosol delivery device and related assembly method |
| US10292434B2 (en) | 2014-05-23 | 2019-05-21 | Rai Strategic Holdings, Inc. | Sealed cartridge for an aerosol delivery device and related assembly method |
| US9955726B2 (en) | 2014-05-23 | 2018-05-01 | Rai Strategic Holdings, Inc. | Sealed cartridge for an aerosol delivery device and related assembly method |
| CN106455699A (en) * | 2014-06-16 | 2017-02-22 | 吉瑞高新科技股份有限公司 | Electronic cigarette |
| US10004269B2 (en) | 2014-06-30 | 2018-06-26 | Huizhou Kimree Technology Co., Ltd. Shenzhen Branch | Control circuit, electronic cigarette and method for controlling electronic cigarette |
| WO2016000141A1 (en) * | 2014-06-30 | 2016-01-07 | 吉瑞高新科技股份有限公司 | Control circuit, electronic cigarette and method for controlling electronic cigarette |
| CN104068476A (en) * | 2014-07-01 | 2014-10-01 | 深圳市康尔科技有限公司 | Heating assembly for electronic cigarette |
| US10888119B2 (en) | 2014-07-10 | 2021-01-12 | Rai Strategic Holdings, Inc. | System and related methods, apparatuses, and computer program products for controlling operation of a device based on a read request |
| US10888115B2 (en) | 2014-07-11 | 2021-01-12 | R. J. Reynolds Tobacco Company | Heater for an aerosol delivery device and methods of formation thereof |
| US10058123B2 (en) | 2014-07-11 | 2018-08-28 | R. J. Reynolds Tobacco Company | Heater for an aerosol delivery device and methods of formation thereof |
| US9913497B2 (en) | 2014-08-21 | 2018-03-13 | Rai Strategic Holdings, Inc. | Apparatuses and methods for testing components of an aerosol delivery device |
| US12419360B2 (en) | 2014-08-21 | 2025-09-23 | Rai Strategic Holdings, Inc. | Aerosol delivery device including a moveable cartridge and related assembly method |
| US9609895B2 (en) | 2014-08-21 | 2017-04-04 | Rai Strategic Holdings, Inc. | System and related methods, apparatuses, and computer program products for testing components of an aerosol delivery device |
| US10765144B2 (en) | 2014-08-21 | 2020-09-08 | Rai Strategic Holdings, Inc. | Aerosol delivery device including a moveable cartridge and related assembly method |
| US10750778B2 (en) | 2014-08-21 | 2020-08-25 | Rai Strategic Holdings, Inc. | Aerosol delivery device including a moveable cartridge and related assembly method |
| US9913493B2 (en) | 2014-08-21 | 2018-03-13 | Rai Strategic Holdings, Inc. | Aerosol delivery device including a moveable cartridge and related assembly method |
| US11291254B2 (en) | 2014-08-21 | 2022-04-05 | Rai Strategic Holdings, Inc. | Aerosol delivery device including a moveable cartridge and related assembly method |
| CN104146354A (en) * | 2014-09-01 | 2014-11-19 | 新乡东方工业科技有限公司 | Electronic cigarette for smoking cessation |
| CN104223369B (en) * | 2014-09-30 | 2017-02-15 | 四川中烟工业有限责任公司 | Ultrasonic atomization type electronic cigarette aspirator |
| CN104223369A (en) * | 2014-09-30 | 2014-12-24 | 川渝中烟工业有限责任公司 | Ultrasonic atomization type electronic cigarette aspirator |
| US12433343B2 (en) | 2014-11-12 | 2025-10-07 | Rai Strategic Holdings, Inc. | MEMS-based sensor for an aerosol delivery device |
| US11051554B2 (en) | 2014-11-12 | 2021-07-06 | Rai Strategic Holdings, Inc. | MEMS-based sensor for an aerosol delivery device |
| US12059039B2 (en) | 2014-11-12 | 2024-08-13 | Rai Strategic Holdings, Inc. | MEMS-based sensor for an aerosol delivery device |
| CN104351950A (en) * | 2014-11-12 | 2015-02-18 | 湖南中烟工业有限责任公司 | Electronic cigarette atomizer |
| CN104489931A (en) * | 2014-11-26 | 2015-04-08 | 深圳市卓力能电子有限公司 | Novel electronic cigarette with lip-inductive driving device |
| US10500600B2 (en) | 2014-12-09 | 2019-12-10 | Rai Strategic Holdings, Inc. | Gesture recognition user interface for an aerosol delivery device |
| CN104544575A (en) * | 2015-01-20 | 2015-04-29 | 卓尔悦(常州)电子科技有限公司 | Nebulizer and electronic cigarette with same |
| US11475759B2 (en) | 2015-01-29 | 2022-10-18 | Rai Strategic Holdings, Inc. | Proximity detection for an aerosol delivery device |
| US10321711B2 (en) | 2015-01-29 | 2019-06-18 | Rai Strategic Holdings, Inc. | Proximity detection for an aerosol delivery device |
| CN105982360A (en) * | 2015-02-26 | 2016-10-05 | 上海烟草集团有限责任公司 | Electronic cigarette |
| US10027016B2 (en) | 2015-03-04 | 2018-07-17 | Rai Strategic Holdings Inc. | Antenna for an aerosol delivery device |
| CN104770892A (en) * | 2015-03-04 | 2015-07-15 | 云南中烟工业有限责任公司 | Smoking set of electronic cigarettes |
| US10743588B2 (en) | 2015-03-09 | 2020-08-18 | Rai Strategic Holdings, Inc. | Aerosol delivery device including a wave guide and related method |
| US9980516B2 (en) | 2015-03-09 | 2018-05-29 | Rai Strategic Holdings, Inc. | Aerosol delivery device including a wave guide and related method |
| US11160939B2 (en) | 2015-03-10 | 2021-11-02 | Rai Strategic Holdings, Inc. | Aerosol delivery device with microfluidic delivery component |
| US10172388B2 (en) | 2015-03-10 | 2019-01-08 | Rai Strategic Holdings, Inc. | Aerosol delivery device with microfluidic delivery component |
| US12318535B2 (en) | 2015-03-10 | 2025-06-03 | Rai Strategic Holdings, Inc. | Aerosol delivery device with microfluidic delivery component |
| CN104872822B (en) * | 2015-04-07 | 2018-01-12 | 深圳麦克韦尔股份有限公司 | Electronic cigarette and its atomising device |
| CN104872822A (en) * | 2015-04-07 | 2015-09-02 | 深圳市麦克韦尔科技有限公司 | Electronic cigarette and nebulizing device thereof |
| US12310403B2 (en) | 2015-04-30 | 2025-05-27 | Philip Morris Products S.A. | Cartridge for an aerosol-generating system |
| US12011039B2 (en) | 2015-04-30 | 2024-06-18 | Philip Morris Products S.A. | Cartridge for an aerosol-generating system |
| US11839237B2 (en) | 2015-04-30 | 2023-12-12 | Philip Morris Products S.A. | Cartridge for an aerosol-generating system |
| US11382355B2 (en) | 2015-04-30 | 2022-07-12 | Philip Morris Products S.A. | Cartridge for an aerosol-generating system |
| CN107529825A (en) * | 2015-04-30 | 2018-01-02 | 菲利普莫里斯生产公司 | Cartridges for aerosol generating systems |
| US10779572B2 (en) | 2015-04-30 | 2020-09-22 | Philip Morris Products S.A. | Cartridge for an aerosol-generating system |
| US11064737B2 (en) | 2015-04-30 | 2021-07-20 | Philip Morris Products S.A. | Cartridge for an aerosol-generating system |
| US11000069B2 (en) | 2015-05-15 | 2021-05-11 | Rai Strategic Holdings, Inc. | Aerosol delivery device and methods of formation thereof |
| US12076482B2 (en) | 2015-05-15 | 2024-09-03 | Rai Strategic Holdings, Inc. | Aerosol delivery device and methods of formation thereof |
| US11607759B2 (en) | 2015-05-19 | 2023-03-21 | Rai Strategic Holdings, Inc. | Assembly substation for assembling a cartridge for a smoking article and related method |
| US11065727B2 (en) | 2015-05-19 | 2021-07-20 | Rai Strategic Holdings, Inc. | System for assembling a cartridge for a smoking article and associated method |
| US11135690B2 (en) | 2015-05-19 | 2021-10-05 | Rai Strategic Holdings, Inc. | Method for assembling a cartridge for a smoking article |
| US10238145B2 (en) | 2015-05-19 | 2019-03-26 | Rai Strategic Holdings, Inc. | Assembly substation for assembling a cartridge for a smoking article |
| US11006674B2 (en) | 2015-05-19 | 2021-05-18 | Rai Strategic Holdings, Inc. | Assembly substation for assembling a cartridge for a smoking article and related method |
| US12434023B2 (en) | 2015-07-17 | 2025-10-07 | Rai Strategic Holdings, Inc. | Contained liquid system for refilling aerosol delivery devices |
| US11504489B2 (en) | 2015-07-17 | 2022-11-22 | Rai Strategic Holdings, Inc. | Contained liquid system for refilling aerosol delivery devices |
| US11998686B2 (en) | 2015-07-17 | 2024-06-04 | Rai Strategic Holdings, Inc. | Contained liquid system for refilling aerosol delivery devices |
| US12263301B2 (en) | 2015-07-17 | 2025-04-01 | Rai Strategic Holdings, Inc. | Load-based detection of an aerosol delivery device in an assembled arrangement |
| US10966460B2 (en) | 2015-07-17 | 2021-04-06 | Rai Strategic Holdings, Inc. | Load-based detection of an aerosol delivery device in an assembled arrangement |
| US11684732B2 (en) | 2015-07-17 | 2023-06-27 | Rai Strategic Holdings, Inc. | Load-based detection of an aerosol delivery device in an assembled arrangement |
| US11134544B2 (en) | 2015-07-24 | 2021-09-28 | Rai Strategic Holdings, Inc. | Aerosol delivery device with radiant heating |
| US10206429B2 (en) | 2015-07-24 | 2019-02-19 | Rai Strategic Holdings, Inc. | Aerosol delivery device with radiant heating |
| US12233208B2 (en) | 2015-07-24 | 2025-02-25 | Rai Strategic Holdings, Inc. | Radio-frequency identification (RFID) authentication system for aerosol delivery devices |
| US10015987B2 (en) | 2015-07-24 | 2018-07-10 | Rai Strategic Holdings Inc. | Trigger-based wireless broadcasting for aerosol delivery devices |
| US11033054B2 (en) | 2015-07-24 | 2021-06-15 | Rai Strategic Holdings, Inc. | Radio-frequency identification (RFID) authentication system for aerosol delivery devices |
| CN107809920A (en) * | 2015-08-17 | 2018-03-16 | 菲利普莫里斯生产公司 | Aerosol-generating systems and aerosol-generating articles for such systems |
| RU2807309C2 (en) * | 2015-08-31 | 2023-11-14 | Никовенчерс Трейдинг Лимитед | Cartridge intended for being used in device for heating of smoking material |
| US10058125B2 (en) | 2015-10-13 | 2018-08-28 | Rai Strategic Holdings, Inc. | Method for assembling an aerosol delivery device |
| US10939706B2 (en) | 2015-10-13 | 2021-03-09 | Rai Strategic Holdings, Inc. | Aerosol delivery device including a moveable cartridge and related assembly method |
| US11992607B2 (en) | 2015-10-13 | 2024-05-28 | Rai Strategic Holdings, Inc. | Aerosol delivery device including a moveable cartridge and related assembly method |
| US10582726B2 (en) | 2015-10-21 | 2020-03-10 | Rai Strategic Holdings, Inc. | Induction charging for an aerosol delivery device |
| US10918134B2 (en) | 2015-10-21 | 2021-02-16 | Rai Strategic Holdings, Inc. | Power supply for an aerosol delivery device |
| US10470495B2 (en) | 2015-10-21 | 2019-11-12 | Rai Strategic Holdings, Inc. | Lithium-ion battery with linear regulation for an aerosol delivery device |
| US11806471B2 (en) | 2015-10-21 | 2023-11-07 | Rai Strategic Holdings, Inc. | Power supply for an aerosol delivery device |
| US11812790B2 (en) | 2015-11-02 | 2023-11-14 | R.J. Reynolds Tobacco Company | User interface for an aerosol delivery device |
| CN108135274A (en) * | 2015-11-02 | 2018-06-08 | 菲利普莫里斯生产公司 | Including can vibrating elements aerosol generate system |
| US11464259B2 (en) | 2015-11-02 | 2022-10-11 | R.J. Reynolds Tobacco Company | User interface for an aerosol delivery device |
| US10729185B2 (en) | 2015-11-02 | 2020-08-04 | Rai Strategic Holdings, Inc. | User interface for an aerosol delivery device |
| CN108135274B (en) * | 2015-11-02 | 2022-01-07 | 菲利普莫里斯生产公司 | Aerosol-generating system comprising a vibratable element |
| US10201187B2 (en) | 2015-11-02 | 2019-02-12 | Rai Strategic Holdings, Inc. | User interface for an aerosol delivery device |
| US12042809B2 (en) | 2015-11-02 | 2024-07-23 | Altria Client Services Llc | Aerosol-generating system comprising a vibratable element |
| US12011043B2 (en) | 2015-11-06 | 2024-06-18 | Rai Strategic Holdings, Inc. | Aerosol delivery device including a wirelessly-heated atomizer and related method |
| US12419353B2 (en) | 2015-11-06 | 2025-09-23 | Rai Strategic Holdings, Inc. | Aerosol delivery device including a wirelessly-heated atomizer and related method |
| US10820630B2 (en) | 2015-11-06 | 2020-11-03 | Rai Strategic Holdings, Inc. | Aerosol delivery device including a wirelessly-heated atomizer and related method |
| US10440992B2 (en) | 2015-12-07 | 2019-10-15 | Rai Strategic Holdings, Inc. | Motion sensing for an aerosol delivery device |
| US9955733B2 (en) | 2015-12-07 | 2018-05-01 | Rai Strategic Holdings, Inc. | Camera for an aerosol delivery device |
| US11291252B2 (en) | 2015-12-18 | 2022-04-05 | Rai Strategic Holdings, Inc. | Proximity sensing for an aerosol delivery device |
| US11311688B2 (en) | 2015-12-28 | 2022-04-26 | Rai Strategic Holdings, Inc. | Aerosol delivery device including a housing and a coupler |
| US10092036B2 (en) | 2015-12-28 | 2018-10-09 | Rai Strategic Holdings, Inc. | Aerosol delivery device including a housing and a coupler |
| US12465702B2 (en) | 2015-12-28 | 2025-11-11 | Rai Strategic Holdings, Inc. | Aerosol delivery device including a housing and a coupler |
| US10051891B2 (en) | 2016-01-05 | 2018-08-21 | Rai Strategic Holdings, Inc. | Capacitive sensing input device for an aerosol delivery device |
| US10194694B2 (en) | 2016-01-05 | 2019-02-05 | Rai Strategic Holdings, Inc. | Aerosol delivery device with improved fluid transport |
| US12156539B2 (en) | 2016-01-05 | 2024-12-03 | Rai Strategic Holdings, Inc. | Aerosol delivery device with improved fluid transport |
| US10258086B2 (en) | 2016-01-12 | 2019-04-16 | Rai Strategic Holdings, Inc. | Hall effect current sensor for an aerosol delivery device |
| US10104912B2 (en) | 2016-01-20 | 2018-10-23 | Rai Strategic Holdings, Inc. | Control for an induction-based aerosol delivery device |
| US10015989B2 (en) | 2016-01-27 | 2018-07-10 | Rai Strategic Holdings, Inc. | One-way valve for refilling an aerosol delivery device |
| CN105520199A (en) * | 2016-01-29 | 2016-04-27 | 广西中烟工业有限责任公司 | Electronic cigarette with sterilization, deodorization and sealing protection functions |
| CN105520199B (en) * | 2016-01-29 | 2018-11-02 | 广西中烟工业有限责任公司 | A kind of electronic cigarette with degerming deodorization seal protection |
| US11412781B2 (en) | 2016-02-12 | 2022-08-16 | Rai Strategic Holdings, Inc. | Adapters for refilling an aerosol delivery device |
| US12168094B2 (en) | 2016-02-23 | 2024-12-17 | Fontem Ventures B.V. | High frequency polarization aerosol generator |
| US10433580B2 (en) | 2016-03-03 | 2019-10-08 | Altria Client Services Llc | Methods to add menthol, botanic materials, and/or non-botanic materials to a cartridge, and/or an electronic vaping device including the cartridge |
| US12420034B2 (en) | 2016-03-03 | 2025-09-23 | Altria Client Services Llc | Cartridge for electronic vaping device |
| US12446613B2 (en) | 2016-03-03 | 2025-10-21 | Altria Client Services Llc | Methods to add menthol, botanic materials, and/or non-botanic materials to a cartridge, and/or an electronic vaping device including the cartridge |
| US12178234B2 (en) | 2016-03-03 | 2024-12-31 | Altria Client Services Llc | Methods to add menthol, botanic materials, and/or non-botanic materials to a cartridge, and/or an electronic vaping device including the cartridge |
| US20200008494A1 (en) | 2016-03-03 | 2020-01-09 | Altria Client Services Llc | Cartridge for electronic vaping device |
| US10455863B2 (en) | 2016-03-03 | 2019-10-29 | Altria Client Services Llc | Cartridge for electronic vaping device |
| US12171262B2 (en) | 2016-03-08 | 2024-12-24 | Altria Client Services Llc | Combined cartridge for electronic vaping device |
| US10368580B2 (en) | 2016-03-08 | 2019-08-06 | Altria Client Services Llc | Combined cartridge for electronic vaping device |
| US20210219611A1 (en) | 2016-03-08 | 2021-07-22 | Altria Client Services Llc | Combined cartridge for electronic vaping device |
| US12245632B2 (en) | 2016-03-08 | 2025-03-11 | Altria Client Services Llc | Combined cartridge for electronic vaping device |
| US12446622B2 (en) | 2016-03-08 | 2025-10-21 | Altria Client Services Llc | Combined cartridge for electronic vaping device |
| US9936733B2 (en) | 2016-03-09 | 2018-04-10 | Rai Strategic Holdings, Inc. | Accessory configured to charge an aerosol delivery device and related method |
| US12438608B2 (en) | 2016-03-11 | 2025-10-07 | Altria Client Services Llc | E-vaping device cartridge holder |
| US10357060B2 (en) | 2016-03-11 | 2019-07-23 | Altria Client Services Llc | E-vaping device cartridge holder |
| US12501928B2 (en) | 2016-03-11 | 2025-12-23 | Altria Client Services Llc | Multiple dispersion generating e-vaping device having a dual piston cylinder, configured to reduce a transmission of a pressure force from a carbon dioxide capsule to a tank configured to store a pre-aerosol formulation |
| US10368581B2 (en) | 2016-03-11 | 2019-08-06 | Altria Client Services Llc | Multiple dispersion generator e-vaping device |
| US12439962B2 (en) | 2016-03-11 | 2025-10-14 | Altria Client Services Llc | Multiple dispersion generator e-vaping device |
| US12178256B2 (en) | 2016-03-11 | 2024-12-31 | Altria Client Services Llc | Multiple dispersion generator e-vaping device |
| US12453379B2 (en) | 2016-03-11 | 2025-10-28 | Altria Client Services Llc | Multiple dispersion generator e-vaping device |
| US10334880B2 (en) | 2016-03-25 | 2019-07-02 | Rai Strategic Holdings, Inc. | Aerosol delivery device including connector comprising extension and receptacle |
| US11911561B2 (en) | 2016-03-25 | 2024-02-27 | Rai Strategic Holdings, Inc. | Aerosol production assembly including surface with micro-pattern |
| US12413031B2 (en) | 2016-03-25 | 2025-09-09 | Rai Strategic Holdings, Inc. | Aerosol delivery device including connector comprising extension and receptacle |
| US11207478B2 (en) | 2016-03-25 | 2021-12-28 | Rai Strategic Holdings, Inc. | Aerosol production assembly including surface with micro-pattern |
| US10945462B2 (en) | 2016-04-12 | 2021-03-16 | Rai Strategic Holdings, Inc. | Detachable power source for an aerosol delivery device |
| US10333339B2 (en) | 2016-04-12 | 2019-06-25 | Rai Strategic Holdings, Inc. | Charger for an aerosol delivery device |
| US11844152B2 (en) | 2016-04-12 | 2023-12-12 | Rai Strategic Holdings, Inc. | Detachable power source for an aerosol delivery device |
| US11589421B2 (en) | 2016-04-12 | 2023-02-21 | Rai Strategic Holdings, Inc. | Detachable power source for an aerosol delivery device |
| US10028534B2 (en) | 2016-04-20 | 2018-07-24 | Rai Strategic Holdings, Inc. | Aerosol delivery device, and associated apparatus and method of formation thereof |
| US12035749B2 (en) | 2016-04-20 | 2024-07-16 | Rai Strategic Holdings, Inc. | Aerosol delivery device, and associated apparatus and method of formation thereof |
| US10945457B2 (en) | 2016-04-20 | 2021-03-16 | Rai Strategic Holdings, Inc. | Aerosol delivery device, and associated apparatus and method of formation thereof |
| US10405579B2 (en) | 2016-04-29 | 2019-09-10 | Rai Strategic Holdings, Inc. | Methods for assembling a cartridge for an aerosol delivery device, and associated systems and apparatuses |
| US12005184B2 (en) | 2016-04-29 | 2024-06-11 | Rai Strategic Holdings, Inc. | Methods for assembling a cartridge for an aerosol delivery device, and associated systems and apparatuses |
| US11278686B2 (en) | 2016-04-29 | 2022-03-22 | Rai Strategic Holdings, Inc. | Methods for assembling a cartridge for an aerosol delivery device, and associated systems and apparatuses |
| CN105852220A (en) * | 2016-06-02 | 2016-08-17 | 常州聚为智能科技有限公司 | Atomizer and electronic cigarette with same |
| US10334887B1 (en) | 2016-06-08 | 2019-07-02 | Joyetech Europe Holding Gmbh | Atomizer and electronic cigarette |
| US10292435B2 (en) | 2016-06-08 | 2019-05-21 | Joyetech Europe Holding Gmbh | Electronic cigarette |
| CN105935155A (en) * | 2016-06-08 | 2016-09-14 | 卓尔悦(常州)电子科技有限公司 | Electronic cigarette |
| CN105935155B (en) * | 2016-06-08 | 2021-02-12 | 卓尔悦欧洲控股有限公司 | Electronic cigarette |
| WO2017210968A1 (en) * | 2016-06-08 | 2017-12-14 | 卓尔悦(常州)电子科技有限公司 | Electronic cigarette |
| US11682946B2 (en) | 2016-06-20 | 2023-06-20 | Rai Strategic Holdings, Inc. | Aerosol delivery device including an electrical generator assembly |
| US10959458B2 (en) | 2016-06-20 | 2021-03-30 | Rai Strategic Holdings, Inc. | Aerosol delivery device including an electrical generator assembly |
| US12057759B2 (en) | 2016-06-20 | 2024-08-06 | Rai Strategic Holdings, Inc. | Aerosol delivery device including an electrical generator assembly |
| US11759584B2 (en) | 2016-07-06 | 2023-09-19 | Rai Strategic Holdings, Inc. | Aerosol delivery device with a reservoir housing and a vaporizer assembly |
| US12403273B2 (en) | 2016-07-06 | 2025-09-02 | Rai Strategic Holdings, Inc. | Aerosol delivery device with a reservoir housing and a vaporizer assembly |
| US10085485B2 (en) | 2016-07-06 | 2018-10-02 | Rai Strategic Holdings, Inc. | Aerosol delivery device with a reservoir housing and a vaporizer assembly |
| US11684731B2 (en) | 2016-07-06 | 2023-06-27 | Rai Strategic Holdings, Inc. | Aerosol delivery device with a reservoir housing and a vaporizer assembly |
| US10798974B2 (en) | 2016-07-06 | 2020-10-13 | Rai Strategic Holdings, Inc. | Aerosol delivery device with a reservoir housing and a vaporizer assembly |
| CN105942584B (en) * | 2016-07-07 | 2019-02-05 | 深圳科劳德莱科技有限公司 | A kind of burning type electronic cigarette |
| CN105942584A (en) * | 2016-07-07 | 2016-09-21 | 深圳科劳德莱科技有限公司 | Combustion type electronic cigarette |
| US10405581B2 (en) | 2016-07-08 | 2019-09-10 | Rai Strategic Holdings, Inc. | Gas sensing for an aerosol delivery device |
| US12251507B2 (en) | 2016-07-08 | 2025-03-18 | Rai Strategic Holdings, Inc. | Aerosol delivery device with condensing and non-condensing vaporization |
| US10463078B2 (en) | 2016-07-08 | 2019-11-05 | Rai Strategic Holdings, Inc. | Aerosol delivery device with condensing and non-condensing vaporization |
| US10231485B2 (en) | 2016-07-08 | 2019-03-19 | Rai Strategic Holdings, Inc. | Radio frequency to direct current converter for an aerosol delivery device |
| US11964098B2 (en) | 2016-07-21 | 2024-04-23 | Rai Strategic Holdings, Inc. | Aerosol delivery device with a liquid transport element comprising a porous monolith and related method |
| US10602775B2 (en) | 2016-07-21 | 2020-03-31 | Rai Strategic Holdings, Inc. | Aerosol delivery device with a unitary reservoir and liquid transport element comprising a porous monolith and related method |
| US10617151B2 (en) | 2016-07-21 | 2020-04-14 | Rai Strategic Holdings, Inc. | Aerosol delivery device with a liquid transport element comprising a porous monolith and related method |
| US11019847B2 (en) | 2016-07-28 | 2021-06-01 | Rai Strategic Holdings, Inc. | Aerosol delivery devices including a selector and related methods |
| US10765146B2 (en) | 2016-08-08 | 2020-09-08 | Rai Strategic Holdings, Inc. | Boost converter for an aerosol delivery device |
| US12472316B2 (en) | 2016-09-09 | 2025-11-18 | Rai Strategic Holdings, Inc. | Analog control component for an aerosol delivery device |
| CN109714989A (en) * | 2016-09-09 | 2019-05-03 | 莱战略控股公司 | Fluid Control for Aerosol Delivery Devices |
| US11937647B2 (en) | 2016-09-09 | 2024-03-26 | Rai Strategic Holdings, Inc. | Fluidic control for an aerosol delivery device |
| US10080387B2 (en) | 2016-09-23 | 2018-09-25 | Rai Strategic Holdings, Inc. | Aerosol delivery device with replaceable wick and heater assembly |
| US10477896B2 (en) | 2016-10-12 | 2019-11-19 | Rai Strategic Holdings, Inc. | Photodetector for measuring aerosol precursor composition in an aerosol delivery device |
| US11588350B2 (en) | 2016-11-15 | 2023-02-21 | Rai Strategic Holdings, Inc. | Induction-based aerosol delivery device |
| US10524508B2 (en) | 2016-11-15 | 2020-01-07 | Rai Strategic Holdings, Inc. | Induction-based aerosol delivery device |
| US10492530B2 (en) | 2016-11-15 | 2019-12-03 | Rai Strategic Holdings, Inc. | Two-wire authentication system for an aerosol delivery device |
| US12027879B2 (en) | 2016-11-15 | 2024-07-02 | Rai Strategic Holdings, Inc. | Induction-based aerosol delivery device |
| US11484066B2 (en) | 2016-11-15 | 2022-11-01 | Rai Strategic Holdings, Inc. | Two-wire authentication system for an aerosol delivery device |
| US12004572B2 (en) | 2016-11-15 | 2024-06-11 | Rai Strategic Holdings, Inc. | Two-wire authentication system for an aerosol delivery device |
| US9864947B1 (en) | 2016-11-15 | 2018-01-09 | Rai Strategic Holdings, Inc. | Near field communication for a tobacco-based article or package therefor |
| US11103012B2 (en) | 2016-11-17 | 2021-08-31 | Rai Strategic Holdings, Inc. | Satellite navigation for an aerosol delivery device |
| US10172392B2 (en) | 2016-11-18 | 2019-01-08 | Rai Strategic Holdings, Inc. | Humidity sensing for an aerosol delivery device |
| US10653183B2 (en) | 2016-11-18 | 2020-05-19 | Rai Strategic Holdings, Inc. | Power source for an aerosol delivery device |
| US10524509B2 (en) | 2016-11-18 | 2020-01-07 | Rai Strategic Holdings, Inc. | Pressure sensing for an aerosol delivery device |
| US10206431B2 (en) | 2016-11-18 | 2019-02-19 | Rai Strategic Holdings, Inc. | Charger for an aerosol delivery device |
| US11517053B2 (en) | 2016-11-18 | 2022-12-06 | Rai Strategic Holdings, Inc. | Pressure sensing for an aerosol delivery device |
| US10537137B2 (en) | 2016-11-22 | 2020-01-21 | Rai Strategic Holdings, Inc. | Rechargeable lithium-ion battery for an aerosol delivery device |
| US11013266B2 (en) | 2016-12-09 | 2021-05-25 | Rai Strategic Holdings, Inc. | Aerosol delivery device sensory system including an infrared sensor and related method |
| US10517326B2 (en) | 2017-01-27 | 2019-12-31 | Rai Strategic Holdings, Inc. | Secondary battery for an aerosol delivery device |
| US10827783B2 (en) | 2017-02-27 | 2020-11-10 | Rai Strategic Holdings, Inc. | Digital compass for an aerosol delivery device |
| EP3599912A2 (en) * | 2017-03-24 | 2020-02-05 | RAI Strategic Holdings, Inc. | An aerosol delivery device and a related method |
| JP2024170605A (en) * | 2017-03-24 | 2024-12-10 | アール・エイ・アイ・ストラテジック・ホールディングス・インコーポレイテッド | Aerosol delivery devices and related methods |
| US10806187B2 (en) | 2017-04-21 | 2020-10-20 | Rai Strategic Holdings, Inc. | Refillable aerosol delivery device and related method |
| US12178253B2 (en) | 2017-04-21 | 2024-12-31 | Rai Strategic Holdings, Inc. | Refillable aerosol delivery device and related method |
| US10314340B2 (en) | 2017-04-21 | 2019-06-11 | Rai Strategic Holdings, Inc. | Refillable aerosol delivery device and related method |
| US11297876B2 (en) | 2017-05-17 | 2022-04-12 | Rai Strategic Holdings, Inc. | Aerosol delivery device |
| US11992061B2 (en) | 2017-05-23 | 2024-05-28 | Rai Strategic Holdings, Inc. | Heart rate monitor for an aerosol delivery device |
| US11589621B2 (en) | 2017-05-23 | 2023-02-28 | Rai Strategic Holdings, Inc. | Heart rate monitor for an aerosol delivery device |
| US10517330B2 (en) | 2017-05-23 | 2019-12-31 | RAI Stategic Holdings, Inc. | Heart rate monitor for an aerosol delivery device |
| CN106993821A (en) * | 2017-05-24 | 2017-08-01 | 刘永刚 | liquid snuff and preparation method |
| US10842197B2 (en) | 2017-07-12 | 2020-11-24 | Rai Strategic Holdings, Inc. | Detachable container for aerosol delivery having pierceable membrane |
| US12213519B2 (en) | 2017-07-12 | 2025-02-04 | Rai Strategic Holdings, Inc. | Detachable container for aerosol delivery having pierceable membrane |
| US10548349B2 (en) | 2017-07-17 | 2020-02-04 | Rai Strategic Holdings, Inc. | No heat, no-burn smoking article |
| US11883579B2 (en) | 2017-07-17 | 2024-01-30 | Rai Strategic Holdings, Inc. | No-heat, no-burn smoking article |
| US10349674B2 (en) | 2017-07-17 | 2019-07-16 | Rai Strategic Holdings, Inc. | No-heat, no-burn smoking article |
| US11337456B2 (en) | 2017-07-17 | 2022-05-24 | Rai Strategic Holdings, Inc. | Video analytics camera system for an aerosol delivery device |
| US10856572B2 (en) | 2017-07-17 | 2020-12-08 | Rai Strategic Holdings, Inc. | No-heat, no-burn smoking article |
| US11606971B2 (en) | 2017-07-17 | 2023-03-21 | Rai Strategic Holdings, Inc. | Video analytics camera system for an aerosol delivery device |
| US10505383B2 (en) | 2017-09-19 | 2019-12-10 | Rai Strategic Holdings, Inc. | Intelligent charger for an aerosol delivery device |
| US11039645B2 (en) | 2017-09-19 | 2021-06-22 | Rai Strategic Holdings, Inc. | Differential pressure sensor for an aerosol delivery device |
| US11819609B2 (en) | 2017-09-19 | 2023-11-21 | Rai Strategic Holdings, Inc. | Differential pressure sensor for an aerosol delivery device |
| US12194235B2 (en) | 2017-09-19 | 2025-01-14 | Rai Strategic Holdings, Inc. | Differential pressure sensor for an aerosol delivery device |
| US11986012B2 (en) | 2017-10-12 | 2024-05-21 | Rai Strategic Holdings, Inc. | Aerosol delivery device including a control body, an atomizer body, and a cartridge and related methods |
| US12439959B2 (en) | 2017-10-12 | 2025-10-14 | Rai Strategic Holdings, Inc. | Aerosol delivery device including a control body, an atomizer body, and a cartridge and related methods |
| US10660370B2 (en) | 2017-10-12 | 2020-05-26 | Rai Strategic Holdings, Inc. | Aerosol delivery device including a control body, an atomizer body, and a cartridge and related methods |
| US11266178B2 (en) | 2017-10-12 | 2022-03-08 | Rai Strategic Holdings, Inc. | Aerosol delivery device including a control body, an atomizer body, and a cartridge and related methods |
| US10517332B2 (en) | 2017-10-31 | 2019-12-31 | Rai Strategic Holdings, Inc. | Induction heated aerosol delivery device |
| US12120777B2 (en) | 2017-10-31 | 2024-10-15 | Rai Strategic Holdings, Inc. | Aerosol delivery device having a resonant transmitter |
| US12408236B2 (en) | 2017-10-31 | 2025-09-02 | Rai Strategic Holdings, Inc. | Aerosol delivery device having a resonant transmitter |
| US11265970B2 (en) | 2017-10-31 | 2022-03-01 | Rai Strategic Holdings, Inc. | Aerosol delivery device having a resonant transmitter |
| US11553562B2 (en) | 2017-10-31 | 2023-01-10 | Rai Strategic Holdings, Inc. | Aerosol delivery device having a resonant transmitter |
| CN109864345A (en) * | 2017-12-04 | 2019-06-11 | 效益蒸汽有限公司 | Miniature vaporizer with plurality of liquid |
| US11241034B2 (en) | 2017-12-04 | 2022-02-08 | Blackship Technologies Development Llc | Micro-vaporizer with multiple liquids |
| US12261534B2 (en) | 2017-12-08 | 2025-03-25 | Rai Strategic Holdings, Inc. | Quasi-resonant flyback converter for an induction-based aerosol delivery device |
| US10806181B2 (en) | 2017-12-08 | 2020-10-20 | Rai Strategic Holdings, Inc. | Quasi-resonant flyback converter for an induction-based aerosol delivery device |
| US11764687B2 (en) | 2017-12-08 | 2023-09-19 | Rai Strategic Holdings, Inc. | Quasi-resonant flyback converter for an induction-based aerosol delivery device |
| US11264912B2 (en) | 2017-12-08 | 2022-03-01 | Rai Strategic Holdings, Inc. | Quasi-resonant flyback converter for an induction-based aerosol delivery device |
| US12200847B2 (en) | 2017-12-28 | 2025-01-14 | Jt International Sa | Induction heating assembly for a vapour generating device |
| EP3732938B1 (en) | 2017-12-28 | 2023-04-26 | JT International SA | Induction heating assembly for a vapour generating device |
| EP4216668B1 (en) | 2017-12-28 | 2024-02-07 | JT International SA | Induction heating assembly for a vapour generating device |
| EP4224991B1 (en) | 2017-12-28 | 2024-10-02 | JT International SA | Induction heating assembly for a vapour generating device |
| US10555558B2 (en) | 2017-12-29 | 2020-02-11 | Rai Strategic Holdings, Inc. | Aerosol delivery device providing flavor control |
| US10791769B2 (en) | 2017-12-29 | 2020-10-06 | Rai Strategic Holdings, Inc. | Aerosol delivery device providing flavor control |
| US12279641B2 (en) | 2018-02-26 | 2025-04-22 | Rai Strategic Holdings, Inc. | Heat conducting substrate for electrically heated aerosol delivery device |
| US11882867B2 (en) | 2018-02-26 | 2024-01-30 | Rai Strategic Holdings, Inc. | Heat conducting substrate for electrically heated aerosol delivery device |
| US11019850B2 (en) | 2018-02-26 | 2021-06-01 | Rai Strategic Holdings, Inc. | Heat conducting substrate for electrically heated aerosol delivery device |
| US12262729B2 (en) | 2018-02-26 | 2025-04-01 | Rai Strategic Holdings, Inc. | Heat conducting substrate for electrically heated aerosol delivery device |
| US12290105B2 (en) * | 2018-03-07 | 2025-05-06 | Fontem Ventures B.V. | Electronic smoking device with liquid pump |
| US20210037883A1 (en) * | 2018-03-07 | 2021-02-11 | Fontem Holdings 1 B.V. | Electronic smoking device with liquid pump |
| CN112566519A (en) * | 2018-03-16 | 2021-03-26 | 邦德街制造有限责任公司 | Vaporizable tobacco wax composition and container therefor |
| CN108991603A (en) * | 2018-05-03 | 2018-12-14 | 武汉市昱宸峰科技有限公司 | A kind of multistage electromagnetic induction heating system of low temperature tobacco |
| CN108777893A (en) * | 2018-06-26 | 2018-11-09 | 东莞市国研电热材料有限公司 | Microwave heating device for electronic cigarette |
| WO2020024155A1 (en) * | 2018-08-01 | 2020-02-06 | Fontem Holdings 1 B.V. | Electronic vaporizing device with thin film heating member |
| CN108685200A (en) * | 2018-08-03 | 2018-10-23 | 电子科技大学中山学院 | Microwave electron smog spinning disk atomiser |
| CN110859321A (en) * | 2018-08-08 | 2020-03-06 | 北京航天雷特机电工程有限公司 | Cigarette bullet and electron cigarette |
| CN110893013A (en) * | 2018-09-07 | 2020-03-20 | 深圳市赛尔美电子科技有限公司 | Heating device and be equipped with its electron cigarette |
| US12478112B2 (en) | 2018-10-30 | 2025-11-25 | R.J. Reynolds Tobacco Company | Smoking article cartridge |
| CN111387563A (en) * | 2018-12-29 | 2020-07-10 | 云南恒罡科技有限公司 | Smoking set suitable for honeycomb-shaped heating non-combustion cartridge |
| CN111387563B (en) * | 2018-12-29 | 2022-11-11 | 云南喜科科技有限公司 | Smoking set suitable for honeycomb-shaped heating non-combustion cartridge |
| EP3941262B1 (en) | 2019-03-22 | 2023-11-01 | Imperial Tobacco Limited | Smoking substitute system |
| US12501942B2 (en) | 2019-03-22 | 2025-12-23 | Imperial Tobacco Limited | Smoking substitute system |
| CN114025630A (en) * | 2019-06-06 | 2022-02-08 | Nvx实验室有限公司 | Microwave heating unit and method |
| CN110200323B (en) * | 2019-06-11 | 2024-04-16 | 深圳市新宜康科技股份有限公司 | Heat not burn appliances |
| CN110200323A (en) * | 2019-06-11 | 2019-09-06 | 深圳市新宜康科技股份有限公司 | Heat not burner |
| US12514294B2 (en) | 2020-07-01 | 2026-01-06 | Nicoventures Trading Limited | 3D-printed substrate for aerosol delivery device |
| US12550229B2 (en) | 2023-11-17 | 2026-02-10 | Rai Strategic Holdings, Inc. | Cartridge for an aerosol delivery device |
| CN118304520A (en) * | 2024-04-26 | 2024-07-09 | 深圳市富迪康科技有限公司 | Temperature control type compression atomizer |
| CN118304520B (en) * | 2024-04-26 | 2024-10-18 | 深圳市富迪康科技有限公司 | Temperature control type compression atomizer |
Also Published As
| Publication number | Publication date |
|---|---|
| CN100593982C (en) | 2010-03-17 |
Similar Documents
| Publication | Publication Date | Title |
|---|---|---|
| CN201088138Y (en) | Electronic cigarette with nanoscale ultra-fine space heating atomization function | |
| CN100593982C (en) | Electronic cigarette with nanoscale ultra-fine space heating atomization function | |
| CN201375023Y (en) | A heating and atomizing electronic cigarette powered by a capacitor | |
| CN208875406U (en) | Atomizer and electronic cigarette | |
| EP3370553B1 (en) | Aerosol delivery device including a wirelessly-heated atomizer and related method | |
| US10104912B2 (en) | Control for an induction-based aerosol delivery device | |
| JP7396767B2 (en) | Cartridge and aerosol generation device including the same | |
| CN105636467B (en) | Carbon Conductive Substrates for Electronic Cigarette Articles | |
| ES2551779T3 (en) | Enhanced atomizer electronic cigarette | |
| CN108968154A (en) | A kind of cigarette apparatus and its working method | |
| AU2022283694B2 (en) | Flow directing member for a vapour provision system | |
| CN114504134A (en) | Induction-based aerosol delivery device | |
| CN117397871A (en) | Quasi-resonant flyback converter for induction-based aerosol delivery devices | |
| WO2015043134A1 (en) | Electronic cigarette | |
| CN208798698U (en) | A kind of microwave resonance causes the electronic cigarette of atomization | |
| CN109805447B (en) | Magnetic induction composite suction device | |
| CN209573229U (en) | A kind of cigarette apparatus | |
| CN220859458U (en) | Double-heating module atomizing device and electronic cigarette | |
| CN208875415U (en) | Heat generating component, atomization core, atomizer and electronic cigarette | |
| CA3132118C (en) | Flow directing member for a vapour provision system | |
| CN207444284U (en) | A kind of solid-state electronic cigarette | |
| CA3255787A1 (en) | Flow directing member for a vapour provision system | |
| HK40032743A (en) | Control for an induction-based aerosol delivery device | |
| HK1251961B (en) | Aerosol delivery device including a wirelessly-heated atomizer and related method | |
| HK1256952A1 (en) | Control for an induction-based aerosol delivery device |
Legal Events
| Date | Code | Title | Description |
|---|---|---|---|
| C06 | Publication | ||
| PB01 | Publication | ||
| C10 | Entry into substantive examination | ||
| SE01 | Entry into force of request for substantive examination | ||
| C14 | Grant of patent or utility model | ||
| GR01 | Patent grant |
