CN100478956C - Method and corresponding system for creating and obtaining report forms - Google Patents
Method and corresponding system for creating and obtaining report forms Download PDFInfo
- Publication number
- CN100478956C CN100478956C CNB2007100075027A CN200710007502A CN100478956C CN 100478956 C CN100478956 C CN 100478956C CN B2007100075027 A CNB2007100075027 A CN B2007100075027A CN 200710007502 A CN200710007502 A CN 200710007502A CN 100478956 C CN100478956 C CN 100478956C
- Authority
- CN
- China
- Prior art keywords
- report
- database system
- data
- reports
- generating
- Prior art date
- Legal status (The legal status is an assumption and is not a legal conclusion. Google has not performed a legal analysis and makes no representation as to the accuracy of the status listed.)
- Expired - Fee Related
Links
Images
Landscapes
- Management, Administration, Business Operations System, And Electronic Commerce (AREA)
Abstract
本发明公开了生成和获取报表的方法,用于实现不需要报表生成软件即可生成和获取报表。所述生成报表的方法为:数据库系统根据预定义的报表业务规则,在数据库中查找生成报表需要的原始数据;所述数据库系统执行报表模板源码生成报表,并在生成报表过程中将所述原始数据的相关数据插入到报表中。所述获取报表的方法为:接收获取报表的请求;根据预定义的报表命名规则从所述请求中获取相关信息生成报表标识,并根据该报表标识查询对应的报表,其中,所述报表由数据库系统根据预定义的报表业务规则获得生成报表需要的原始数据并通过执行报表模板源码生成;输出查询结果。本发明还公开了生成和获取报表的装置。
The invention discloses a method for generating and obtaining reports, which is used to realize generating and obtaining reports without software for generating reports. The method for generating the report is as follows: the database system searches the database for the original data needed to generate the report according to the predefined report business rules; the database system executes the source code of the report template to generate the report, and converts the original Data related data is inserted into the report. The method for obtaining a report is: receiving a request for obtaining a report; obtaining relevant information from the request to generate a report identifier according to a predefined report naming rule, and querying a corresponding report according to the report identifier, wherein the report is provided by the database The system obtains the raw data needed to generate the report according to the predefined report business rules and generates it by executing the source code of the report template; outputs the query result. The invention also discloses a device for generating and acquiring reports.
Description
技术领域 technical field
本发明涉及统计机及数据库领域,特别是生成和获取报表的方法及相应的系统。The invention relates to the field of statistical machines and databases, in particular to a method for generating and obtaining reports and a corresponding system.
背景技术 Background technique
报表是一种常用的信息管理策略。它是一种经过对信息进行筛选、汇总等处理后以表格形式显示出来的结果,能直观的反映人们所关注的信息。在自动化应用领域中,报表通常是借助统计机与信息管理系统来生成的。Reporting is a common information management strategy. It is a result displayed in tabular form after screening and summarizing information, which can intuitively reflect the information that people care about. In the field of automation applications, reports are usually generated with the help of statistical machines and information management systems.
目前现有技术中,用于处理报表的信息管理系统通常由数据库系统和报表生成软件组成,并且必须由报表生成软件生成报表。报表生成软件在收到外部指令时,通过直接访问数据库的方式获取数据来产生报表。当有n个用户查询一张有m条记录的报表时,数据库需要返回n×m条记录。In the current prior art, an information management system for processing reports usually consists of a database system and report generating software, and the report must be generated by the report generating software. When the report generation software receives external instructions, it obtains data by directly accessing the database to generate reports. When n users query a report with m records, the database needs to return n×m records.
可见,现有技术在生成报表时需要数据库系统和报表生成软件两套系统,而且只能由报表生成软件生成报表,增加了生成报表的开发成本。每当有用户需要获得报表时,报表生成软件都要访问数据库,并且指示数据库系统查询数据。若大量用户需要获取同一张报表,那么数据库将会做大量重复性的工作,给数据库带来沉重的负担。在庞大查询结果集、庞大用户量的情况下,数据库系统性能高度依赖于统计机硬件设备,不利于降低系统建设成本,如果统计机的硬件设备无法支持这样的需求时,数据库系统将会瘫痪。It can be seen that in the prior art, two systems, a database system and a report generating software, are required to generate reports, and reports can only be generated by the report generating software, which increases the development cost of generating reports. Whenever a user needs a report, the report generation software accesses the database and instructs the database system to query the data. If a large number of users need to obtain the same report, the database will do a lot of repetitive work, which will bring a heavy burden to the database. In the case of a large query result set and a large number of users, the performance of the database system is highly dependent on the hardware of the statistical machine, which is not conducive to reducing the cost of system construction. If the hardware of the statistical machine cannot support such requirements, the database system will be paralyzed.
发明内容 Contents of the invention
本实施例提供生成和获取报表的方法及相应的系统,用于实现不需要报表生成软件即可生成和获取报表。This embodiment provides a method for generating and obtaining a report and a corresponding system, which are used to generate and obtain a report without using report generating software.
一种生成报表的方法,包括以下步骤:A method for generating a report, comprising the steps of:
数据库系统根据预定义的报表业务规则,在数据库中查找生成报表需要的原始数据;The database system searches the database for the original data needed to generate the report according to the predefined report business rules;
所述数据库系统执行报表模板源码生成报表,并在生成报表过程中将所述原始数据的相关数据插入到报表中,所述报表模板源码与原始数据存在于数据库系统;The database system executes the report template source code to generate a report, and inserts the relevant data of the original data into the report during the report generation process, and the report template source code and original data exist in the database system;
数据库系统存储所述生成的报表。A database system stores the generated reports.
一种获取报表的方法,包括以下步骤:A method for obtaining a report, comprising the steps of:
接收获取报表的请求;Receive requests to obtain reports;
根据预定义的报表命名规则从所述请求中获取相关信息生成报表标识,并根据该报表标识查询对应的报表,其中,所述报表由数据库系统根据预定义的报表业务规则获得生成报表需要的原始数据并在通过执行报表模板源码生成后保存,所述报表模板源码与原始数据存在于数据库系统;Obtain relevant information from the request according to the predefined report naming rules to generate a report identifier, and query the corresponding report according to the report identifier, wherein the database system obtains the original data required for generating the report according to the predefined report business rules The data is saved after being generated by executing the source code of the report template, and the source code and original data of the report template exist in the database system;
输出查询结果。Output query results.
一种生成报表的系统,包括:A system for generating reports, comprising:
存储模块,用于存储原始数据和报表模板源码;Storage module, used to store raw data and report template source code;
预处理模块,用于根据预定义的报表业务规则,在存储模块中查找生成报表需要的原始数据;The preprocessing module is used to search the storage module for the raw data needed to generate the report according to the predefined report business rules;
报表生成模块,用于执行报表模板源码生成报表,并在生成报表过程中将所述原始数据的相关数据插入到报表中,所述报表模板源码与原始数据存在于数据库系统;The report generation module is used to execute the source code of the report template to generate the report, and insert the relevant data of the original data into the report during the report generation process, and the source code and the original data of the report template exist in the database system;
报表存储模块,用于存储数据库系统生成的报表。The report storage module is used for storing reports generated by the database system.
一种获取报表的系统,包括:A system for obtaining reports, comprising:
数据库系统,用于根据预定义的报表业务规则获得生成报表需要的原始数据并在通过执行报表模板源码生成报表后存储于存储装置,所述报表模板源码与原始数据存在于数据库系统;The database system is used to obtain the original data needed to generate the report according to the predefined report business rules and store it in the storage device after the report is generated by executing the source code of the report template, and the source code and original data of the report template exist in the database system;
存储装置,用于存储所述数据库系统生成的报表;a storage device for storing the reports generated by the database system;
用户装置,用于发送获取报表的请求以及输出请求的结果;The user device is used to send a request for obtaining the report and output the result of the request;
下载装置,用于接收用户装置发送的请求,并根据预定义的报表命名规则从所述请求中获取相关信息生成报表标识,并根据该报表标识到所述存储装置中查询对应的报表。The downloading device is used to receive the request sent by the user device, obtain relevant information from the request according to the predefined report naming rules to generate a report identifier, and query the corresponding report in the storage device according to the report identifier.
本实施例中由数据库系统生成报表,在报表生成过程中不再需要报表生成软件,节省了生成报表的成本。In this embodiment, the report is generated by the database system, and the report generation software is no longer needed in the report generation process, which saves the cost of generating the report.
本实施例中由数据库系统生成报表,当用户获取报表时也不再需要报表生成软件,而且用户从报表存储模块获得报表,不需访问数据库系统,大幅度减轻了数据库系统的负荷。In this embodiment, the report is generated by the database system, and the report generation software is no longer needed when the user obtains the report, and the user obtains the report from the report storage module without accessing the database system, which greatly reduces the load on the database system.
附图说明 Description of drawings
图1为本发明实施例中数据库系统的结构图;Fig. 1 is the structural diagram of database system in the embodiment of the present invention;
图2为本发明实施例中生成报表的系统结构图;Fig. 2 is the system structural diagram of report generation in the embodiment of the present invention;
图3为本发明实施例中数据库系统对原始数据统计后根据统计结果生成报表的方法流程图;Fig. 3 is a flow chart of a method for generating a report according to statistical results after the database system counts raw data in an embodiment of the present invention;
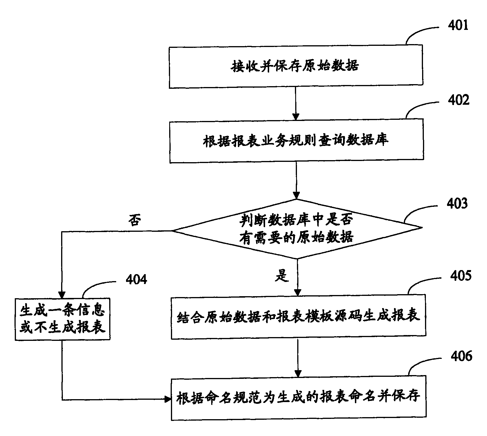
图4为本发明实施例中数据库系统根据原始数据生成报表的方法流程图;Fig. 4 is the flow chart of the method that database system generates report according to raw data in the embodiment of the present invention;
图5为本发明实施例中获取报表的系统结构图;Fig. 5 is the system structural diagram of obtaining report form in the embodiment of the present invention;
图6为本发明实施例中用户模块与下载模块属于一个系统时获取报表的方法流程图;6 is a flowchart of a method for obtaining reports when the user module and the download module belong to the same system in an embodiment of the present invention;
图7为本发明实施例中用户模块与下载模块属于不同系统时获取报表的方法流程图。FIG. 7 is a flowchart of a method for obtaining reports when the user module and the download module belong to different systems in the embodiment of the present invention.
具体实施方式 Detailed ways
为了实现不需要报表生成软件即可生成和获取报表,本实施例中由数据库系统根据本地存储的数据和报表模板源码生成报表,并进一步将报表存储在报表存储模块中,用户从报表存储模块获取需要的报表,不再需要访问数据库。In order to realize that reports can be generated and obtained without report generation software, in this embodiment, the database system generates reports according to locally stored data and source codes of report templates, and further stores the reports in the report storage module, and the user obtains them from the report storage module. The reports that are needed, no longer need to access the database.
参见图1,本实施例中生成报表的数据库系统包括接口模块101、存储模块102、预处理模块103、报表生成模块104。其中,存储模块102还包括报表存储模块105。Referring to FIG. 1 , the database system for generating reports in this embodiment includes an
接口模块101提供数据库系统与外部系统之间的数据交互。存储模块102包含存储原始数据的数据表、存储报表模板源码的报表文件格式模板数据表和存储预处理结果的数据表等;其中,报表模板源码是包含报表模板信息的脚本代码,有易于修改和更新等特点。预处理模块103接受数据库系统中预处理作业的周期性调度,根据报表业务规则执行报表预处理存储过程,从存储模块102中查找需要的原始数据,进一步对原始数据进行相应的统计,并将统计结果存于相应的数据表中。报表生成模块104接受数据库系统中报表生成作业的周期性调度,执行报表生成存储过程,将原始数据和报表模板源码结合,或者将数据表中的统计结果和报表模板源码结合,生成报表,并将报表存于报表存储模块105,该报表存储模块105属于存储模块102。The
本实施例提供一种较佳的方式,报表生成模块104通过接口模块101将生成的报表存储在报表存储模块105中,该报表存储模块105独立于数据库系统,参见图2所示。用户在获取报表时不需访问数据库系统,这样可以大幅度减轻数据库系统的负载。This embodiment provides a better way. The
本实施例以电信业务为例,特别是以话费查询业务为例进行说明。In this embodiment, the telecommunication service is taken as an example, especially the call fee query service is taken as an example for illustration.
参见图3,本实施例中数据库系统根据报表业务规则对原始数据进行统计后生成报表的方法流程如下:Referring to FIG. 3 , in this embodiment, the database system performs statistics on raw data according to the business rules of the report and generates a report as follows:
步骤301:数据库系统将接收到的原始数据保存在本地。Step 301: The database system saves the received original data locally.
步骤302:数据库系统中的预处理作业根据报表业务规则和时间参数启动,触发报表预处理存储过程,执行报表预处理任务,到数据库中查找相应的原始数据。Step 302: The preprocessing job in the database system starts according to the report business rules and time parameters, triggers the report preprocessing stored procedure, executes the report preprocessing task, and searches the corresponding original data in the database.
例如,根据报表业务规则需要在每月的第二天对上个月的通话记录进行统计并统计出通话费用(简称话费)。数据库系统根据预先设定的时间参数2和0,在2日的0点根据报表业务规则查询本地存储的上个月每个用户的通话记录。For example, according to the business rules of the report, it is necessary to make statistics on the call records of the previous month on the second day of each month and calculate the call charges (abbreviated as call charges). According to the preset time parameters 2 and 0, the database system queries the locally stored call records of each user in the last month at 0 o'clock on the 2nd according to the report business rules.
步骤303:数据库系统判断数据库中是否有相应的原始数据,若是,则进行步骤305,否则继续步骤304。Step 303: The database system judges whether there is corresponding original data in the database, if yes, proceed to
步骤304:数据库系统判断数据库中没有相应的原始数据时有多种处理方式,处理结束后继续步骤306。本实施例提供多种处理方式,可以如第一种方式:不对数据表进行操作,保留空的数据表。如表1所示:Step 304: When the database system judges that there is no corresponding original data in the database, there are multiple processing methods, and step 306 is continued after the processing is completed. This embodiment provides multiple processing methods, which can be like the first method: no operation is performed on the data table, and an empty data table is reserved. As shown in Table 1:
表1Table 1
或者,如第二种方式是将数据表中与原始数据有关的字段的内容置为空,填写其它相应的数据,如表2所示:Or, as in the second method, the contents of the fields related to the original data in the data table are blanked out, and other corresponding data are filled in, as shown in Table 2:
表2Table 2
或者,如第三种方式是将数据表中与原始数据有关的字段的内容置为0,并填写其它相应的数据,如表3所示:Or, the third way is to set the content of the field related to the original data in the data table to 0, and fill in other corresponding data, as shown in Table 3:
表3table 3
步骤305:数据库系统判断数据库中存在相应的原始数据时读取该原始数据,并根据报表业务规则对原始数据进行相应的统计,将统计结果存储到相应的数据表中,继续步骤306。Step 305: When the database system judges that there is corresponding raw data in the database, it reads the raw data, performs corresponding statistics on the raw data according to the report business rules, stores the statistical results in the corresponding data table, and continues to step 306.
以一个用户为例,该用户在上月共有30条通话记录,根据报表业务规则,根据每条记录的通话时间和相应的费用单价统计出每个通话发生的费用,并将30个话费求和,得到上月总共发生的话费。然后将统计结果存储到相应的数据表中,一个数据表的实例如下:Take a user as an example. The user has 30 call records in the last month. According to the report business rules, the cost of each call is calculated according to the call time of each record and the corresponding cost unit price, and the 30 call charges are summed. , to get the total call charges incurred last month. Then store the statistical results in the corresponding data table. An example of a data table is as follows:
表4Table 4
步骤306:数据库系统中的报表预处理作业根据预先设定的时间参数2和1启动,触发报表生成存储过程执行报表生成任务,在2日的1点根据报表业务规则查询存有统计结果的数据表,并从该数据表中读取需要的数据,数据库系统执行报表模板源码,生成相应的文件类型源码,形成报表,并在生成报表的过程中将读取到的数据插入到报表中。可根据报表业务的需要设定相应的周期。本实施例是以话费业务为例进行说明,不同的业务可以使用同一个报表模板源码,根据实际情况而定。Step 306: The report preprocessing job in the database system starts according to the preset time parameters 2 and 1, triggers the report generation stored procedure to execute the report generation task, and queries the data with statistical results according to the report business rules at 1:00 on the 2nd Table, and read the required data from the data table, the database system executes the source code of the report template, generates the source code of the corresponding file type, forms a report, and inserts the read data into the report during the process of generating the report. The corresponding cycle can be set according to the needs of the report business. In this embodiment, the call service is taken as an example for illustration. Different services may use the same report template source code, depending on the actual situation.
数据库系统根据数据表中存储数据的情况生成相应的报表,如表1,由于表1中未存储任何信息,所以生成的报表只是一条信息如“未检索到数据”或者不生成报表;如表2,由于表2中未存储与原始数据有关的信息,所以数据库系统从数据表中读取与用户有关的信息并结合报表模板源码生成报表,如表5所示:The database system generates corresponding reports according to the data stored in the data table, as shown in Table 1. Since no information is stored in Table 1, the generated report is only a message such as "no data retrieved" or no report is generated; as shown in Table 2 , since the information related to the original data is not stored in Table 2, the database system reads the information related to the user from the data table and combines the source code of the report template to generate a report, as shown in Table 5:
表5table 5
或者数据库系统根据表3生成报表,如表6所示:Or the database system generates a report according to Table 3, as shown in Table 6:
表6Table 6
或者数据库系统根据表4生成报表,如表7所示:Or the database system generates a report according to Table 4, as shown in Table 7:
表7Table 7
在步骤305中,数据库系统可以在将统计结果存入相应的数据表时,删除该数据表中已有的数据。或者,在步骤306中,数据库系统可以在从相应的数据表中读取统计结果时删除该数据表中已读取的数据,达到节省存储空间的目的。In
步骤307:数据库系统根据用户相关信息和命名规范为该报表命名,用户相关信息包括用户标识、目的时间和查询的业务类型等,命名规范如:用户标识统计时间业务类型.文件类型。本实施例中用户标识为移动通信号码,报表名称的实例为:13800000000_20061201_fee.xls,表示该报表中存有13800000000用户在2006年11月发生的所有话费;如果该报表是放在http://www.aaa.com/上,则定位到以下地址即可下载报表:Step 307: The database system names the report according to user-related information and naming conventions. User-related information includes user ID, destination time, and business type inquired, etc., and the naming convention is: user ID statistical time business type.file type. In the present embodiment, the user identification is a mobile communication number, and the example of the report name is: 13800000000_20061201_fee.xls, which means that there are all telephone charges that 13800000000 users took place in November 2006 in the report; if the report is placed on http://www .aaa.com/, locate the following address to download the report:
http://www.aaa.com/13800000000_20061201_fee.xlshttp://www.aaa.com/13800000000_20061201_fee.xls
报表名称也可以是如13800000000_fee.xls,表示该报表中存有13800000000用户在最近一年内发生的所有话费;如13800000000_20061201.xls表示该报表中存有13800000000用户在2006年11月发生的所有费用(包括话费和短信费等);如13800000000.xls表示该报表中存有13800000000用户在最近一年内发生的所有费用。The name of the report can also be such as 13800000000_fee.xls, indicating that the report contains all the charges incurred by 13800000000 users in the last year; such as 13800000000_20061201.xls indicates that the report contains all the charges incurred by 13800000000 users in November 2006 (including Call charges and SMS charges, etc.); for example, 13800000000.xls indicates that all expenses incurred by 13800000000 users in the latest year are stored in the report.
步骤306和步骤307的执行顺序可以互换。The execution order of
步骤308:数据库系统将报表存储到报表存储模块105,一种较佳的方式是该报表存储模块105独立于数据库系统,可减轻数据库系统的负荷。数据库系统还可以根据报表业务规则定期对报表存储模块105中存储的报表进行更新、修改、删除等操作,例如根据报表业务规则,数据库系统删除报表存储模块105中存储的1年前的报表。Step 308: The database system stores the report in the
为了更加具体的说明本实施例提供的生成报表方法,下面以话费统计业务为例做进一步说明。In order to more specifically describe the method for generating a report provided by this embodiment, the call charge statistics service is taken as an example below for further description.
根据话费统计业务,规定数据库系统在每月的1日对上个月的话费进行统计,此时用户只能获知其上个月的话费情况,为了方便用户的查询,在2日,数据库系统需要对1日发生的话费进行统计并生成报表,在3日需对1日和2日发生的话费进行统计并生成报表,以替换关于1日发生的话费所生成的报表,以此类推。这样,用户可以查询到本月发生的话费。According to the call charge statistics service, it is stipulated that the database system will count the call charges of the previous month on the 1st of each month. At this time, the user can only know the call charges of the previous month. In order to facilitate the user's query, on the 2nd, the database system needs Make statistics on the calls incurred on the 1st day and generate a report. On the 3rd day, you need to make statistics on the calls incurred on the 1st and 2nd day and generate a report to replace the report generated on the 1st day, and so on. In this way, the user can inquire about the call charges incurred this month.
上述流程是以数据库系统根据报表业务规则定期读取并对原始数据进行统计后生成报表的方法为例进行说明,数据库系统也可以根据报表业务规则直接将原始数据和报表模版源码节后生成报表,参见图4所示,本实施例中根据报表业务规则和原始数据直接生成报表的方法流程如下:The above process is illustrated by taking the method that the database system periodically reads and counts the original data according to the report business rules to generate reports as an example. The database system can also directly generate reports after the source code of the original data and report templates according to the report business rules. Referring to Fig. 4, the method flow of directly generating reports according to report business rules and raw data in this embodiment is as follows:
步骤401:数据库系统将接收到的原始数据保存在本地。Step 401: The database system saves the received original data locally.
步骤402:数据库系统根据报表业务规则和时间参数定期到本地数据库中查找相应的原始数据。Step 402: The database system regularly searches the local database for corresponding original data according to the report business rules and time parameters.
步骤403:数据库系统判断数据库中是否有相应的原始数据,若是,则进行步骤405,否则继续步骤404。Step 403: the database system judges whether there is corresponding original data in the database, if yes, proceed to step 405, otherwise proceed to step 404.
步骤404:数据库系统根据报表业务规则和本地存储的报表模板源码生成空报表,该报表不包含与用户通话记录有关的信息,或者数据库系统生成的报表包含如“未检索到数据”的信息,继续步骤406,或者不生成报表。Step 404: The database system generates an empty report according to the report business rules and the source code of the locally stored report template. The report does not contain information related to user call records, or the report generated by the database system contains information such as "no data retrieved", continue
步骤405:数据库系统根据报表业务规则从数据库中获取相应的原始数据,并结合本地存储的报表模板源码生成相应的文件类型源码,形成报表,继续步骤406。Step 405: The database system obtains the corresponding original data from the database according to the report business rules, and combines the locally stored report template source code to generate the corresponding file type source code to form a report, and proceed to step 406.
例如,报表模板源码为<td class=xl26 width=85 style=″width:64pt″x:num>%column1</td>,将数据1000放在%column1所在的位置,以替换%column1,生成文件类型的源码为<td class=xl26 width=85 style=″width:64pt″x:num>1000</td>。通过循环处理实现插入多条数据。For example, the source code of the report template is <td class=xl26 width=85 style=″width:64pt″x:num>%column1</td>, put the data 1000 in the position of %column1 to replace %column1, and generate the file The source code of the type is <td class=xl26 width=85 style=″width:64pt″x:num>1000</td>. Insert multiple pieces of data through loop processing.
文件类型可以是.xls、.txt和/或.html等,可通过配置文件指定生成的报表的文件类型。The file type can be .xls, .txt and/or .html, etc., and the file type of the generated report can be specified through the configuration file.
步骤406:数据库系统根据命名规范为该报表命名,并将其存储到报表存储模块105。Step 406: The database system names the report according to the naming specification, and stores it in the
在步骤404和步骤405中,数据库系统可以将查询数据库得到的结果存储在数据表中,再根据数据表中的数据生成报表。具体实施方式可参考步骤304和步骤305所述。In
参见图5,本实施例中获取报表的系统包括数据库系统501、报表存储模块502、下载模块503和用户模块504。该系统结构是一种较佳的方式,提高了获取报表系统的安全性。下载模块503也可以属于用户模块504。Referring to FIG. 5 , the system for obtaining reports in this embodiment includes a database system 501 , a report storage module 502 , a download module 503 and a user module 504 . This system structure is a better way, which improves the security of the system for obtaining reports. The download module 503 may also belong to the user module 504 .
数据库系统501根据本地预定义的报表业务规则定期从数据库中读取相应的原始数据,并根据所述原始数据和报表模板源码生成报表,以及将报表存储到报表存储模块502。报表存储模块502存储数据库系统501生成的报表,一种较佳的方式是报表存储模块502与数据库系统501相互独立,并且报表存储模块502与数据库系统501可以属于同一个设备实体或不同的设备实体。下载模块503根据用户模块504发送的请求从报表存储模块502上下载需要的报表。用户模块504提供给用户查询报表的操作平台,并根据用户的需要通过下载模块503从报表存储模块502上下载相应的报表,然后将该报表输出给用户。The database system 501 periodically reads the corresponding original data from the database according to the local predefined report business rules, generates a report according to the original data and the source code of the report template, and stores the report in the report storage module 502 . The report storage module 502 stores the reports generated by the database system 501. A preferred method is that the report storage module 502 and the database system 501 are independent of each other, and the report storage module 502 and the database system 501 can belong to the same equipment entity or different equipment entities . The download module 503 downloads required reports from the report storage module 502 according to the request sent by the user module 504 . The user module 504 provides an operating platform for the user to query the report, and downloads the corresponding report from the report storage module 502 through the download module 503 according to the user's needs, and then outputs the report to the user.
参见图6,本实施例中用户模块504与下载模块503属于一个系统时获取报表的方法流程如下:Referring to FIG. 6, the method flow for obtaining reports when the user module 504 and the download module 503 belong to the same system in this embodiment is as follows:
步骤601:数据库系统501根据报表业务规则定期对相应的原始数据进行统计,并将统计结果存储到相应的数据表中,然后根据预先设定的时间参数和报表业务规则从数据表中获取相应的数据,并结合本地存储的报表模板源码生成报表。Step 601: The database system 501 periodically counts the corresponding raw data according to the report business rules, stores the statistical results in the corresponding data table, and then obtains the corresponding data from the data table according to the preset time parameters and report business rules. Data, combined with the locally stored report template source code to generate reports.
步骤602:数据库系统501根据预定义的命名规范为该报表命名,并将其存储到报表存储模块502。Step 602: The database system 501 names the report according to a predefined naming convention, and stores it in the report storage module 502.
步骤603:用户通过其所在的用户模块504请求获取报表,例如,该用户希望获知其11月份的话费总额,那么请求中用户的相关信息包括用户的标识如13800000000、目的时间如2006年11月和业务类型如话费。Step 603: The user requests to obtain the report form through the user module 504 where it is located. For example, the user wishes to know the total amount of calls in November, and the relevant information of the user in the request includes the user's identification such as 13800000000, the destination time such as November 2006 and Service type such as call charges.
步骤604:用户模块504通知本地的下载模块503有获取报表的请求,下载模块503根据预定义的命名规范从请求中获得需要的信息(13800000000、2006.11和fee)生成报表标识,如13800000000_20061201_fee,根据该报表标识到报表存储模块502的http://www.aaa.com/中查找与13800000000_20061201_fee完全匹配的报表名。Step 604: the user module 504 notifies the local download module 503 that there is a request for obtaining the report, and the download module 503 obtains the required information (13800000000, 2006.11 and fee) from the request according to the predefined naming convention to generate a report identification, such as 13800000000_20061201_fee, according to the The report identifier searches http://www.aaa.com/ of the report storage module 502 for a report name that exactly matches 13800000000_20061201_fee.
报表存储模块502属于数据库系统501时,下载模块503需要通过数据库系统501访问报表存储模块502。When the report storage module 502 belongs to the database system 501 , the download module 503 needs to access the report storage module 502 through the database system 501 .
步骤605:下载模块503将生成的报表标识与报表存储模块502中的报表的标识进行完全匹配,判断报表存储模块502中是否存有报表标识为13800000000_20061201_fee的报表,若是,则继续步骤607,否则进行步骤606。Step 605: The download module 503 completely matches the generated report identifier with the report identifier in the report storage module 502, and judges whether there is a report whose report identifier is 13800000000_20061201_fee in the report storage module 502, if so, continue to step 607, otherwise proceed to Step 606.
步骤606:下载模块503获得未查询到报表的结果。用户模块504通过下载模块503获得该结果,并将结果输出给用户,如“未检索到数据”。Step 606: The download module 503 obtains the result of the unqueried report. The user module 504 obtains the result through the download module 503, and outputs the result to the user, such as "data not retrieved".
步骤607:下载模块503从报表存储模块502上下载匹配成功的报表名所对应的报表。用户模块504通过下载模块503获得该报表,并将其输出给该用户。获得的报表实例如下:Step 607: The downloading module 503 downloads the report corresponding to the successfully matched report name from the report storage module 502. The user module 504 obtains the report through the download module 503, and outputs it to the user. The obtained report example is as follows:
表7Table 7
当请求中只包括用户标识,或者进一步包括目的时间或业务类型时,在步骤604中生成的报表标识为13800000000、13800000000_20061201或13800000000_fee。以13800000000_20061201为例,在步骤605中根据报表标识13800000000_20061201到报表存储模块502中查找与其完全匹配的报表名,如果查找失败,则继续查找与其部分匹配的报表名,查找到多个报表时,如查找到13800000000_20061201_fee.xls和13800000000_20061201_message.xls,下载模块503下载这两个报表,并由用户模块504输出两个报表中的内容。When the request only includes the user ID, or further includes the destination time or business type, the report ID generated in step 604 is 13800000000, 13800000000_20061201 or 13800000000_fee. Taking 13800000000_20061201 as an example, in step 605, according to the report identifier 13800000000_20061201, go to the report storage module 502 to find the report name that exactly matches it. If the search fails, continue to search for the report name that partially matches it. When multiple reports are found, for example, find To 13800000000_20061201_fee.xls and 13800000000_20061201_message.xls, the download module 503 downloads these two reports, and the user module 504 outputs the contents in the two reports.
在步骤604中生成的报表标识可以还包括文件类型,如.xls、.txt或.html等,根据需要指定一种文件类型,从报表存储模块502中下载相匹配的报表。如果未指定下载的报表的文件类型,则采用默认的文件类型,如.xls。The report identifier generated in step 604 may further include a file type, such as .xls, .txt or .html, etc., specify a file type as required, and download a matching report from the report storage module 502 . If the file type of the downloaded report is not specified, the default file type, such as .xls, is used.
上述方法是下载模块503属于用户模块504的情况,所以用户模块504可根据已知的命名规范从报表存储模块502上下载需要的报表。下面介绍一种下载模块503与用户模块504分别属于不同的系统时用户获取报表的方法。The above method is the case that the download module 503 belongs to the user module 504, so the user module 504 can download the required reports from the report storage module 502 according to the known naming convention. A method for the user to obtain reports when the download module 503 and the user module 504 belong to different systems is introduced below.
参见图7,本实施例中用户模块504与下载模块503属于不同系统时获取报表的方法流程如下:Referring to FIG. 7 , the flow of the method for obtaining reports when the user module 504 and the download module 503 belong to different systems in this embodiment is as follows:
步骤701:数据库系统501根据报表业务规则定期对相应的原始数据进行统计,并将统计结果存储到相应的数据表中,然后根据预先设定的时间参数和报表业务规则从数据表中获取相应的数据,并结合本地存储的报表模板源码生成报表。Step 701: The database system 501 periodically counts the corresponding raw data according to the report business rules, stores the statistical results in the corresponding data table, and then obtains the corresponding data from the data table according to the preset time parameters and report business rules. Data, combined with the locally stored report template source code to generate reports.
步骤702:数据库系统501根据预定义的命名规范为该报表命名,并将其存储到报表存储模块502。Step 702: The database system 501 names the report according to a predefined naming convention, and stores it in the report storage module 502.
步骤703:用户通过其所在的用户模块504登录到下载模块503,并向下载模块503发送获取报表的请求,例如,该用户希望获知其11月份的话费总额。Step 703: The user logs in to the download module 503 through the user module 504 where the user is located, and sends a request to the download module 503 to obtain a statement. For example, the user wishes to know the total amount of his phone charges in November.
步骤704:下载模块503根据预定义的命名规范,从获取报表的请求中得到需要的相关信息和该用户的登录信息(包括账户名和密码等),并生成报表标识,根据该报表标识到报表存储模块502上查找相应的报表,将生成的报表标识如13800000000_20061201_fee.xls与报表存储模块502中的报表的报表名进行完全匹配或部分匹配。Step 704: The download module 503 obtains the required relevant information and the user's login information (including account name and password, etc.) from the request for obtaining the report according to the predefined naming convention, and generates a report identifier, and stores the report according to the report identifier. The corresponding report is searched on the module 502, and the generated report identifier such as 13800000000_20061201_fee.xls is fully or partially matched with the report name of the report in the report storage module 502.
步骤705:下载模块503判断报表存储模块502中是否存有匹配成功的报表名所对应的报表,若是,则继续步骤707,否则进行步骤706。Step 705: The download module 503 judges whether there is a report corresponding to the successfully matched report name stored in the report storage module 502, if yes, proceed to step 707, otherwise proceed to step 706.
步骤706:下载模块503获得未查询到报表的结果,如“未检索到数据”,并将该结果返回给用户模块504,继续步骤708。Step 706: The download module 503 obtains the result of the report not found, such as "no data retrieved", and returns the result to the user module 504, and continues to step 708.
步骤707:下载模块503根据预定义的命名规范从报表存储模块502上下载匹配成功的报表名所对应的报表,并将该报表发送给用户模块504,继续步骤708。Step 707: The download module 503 downloads the report corresponding to the successfully matched report name from the report storage module 502 according to the predefined naming specification, and sends the report to the user module 504, and continues to step 708.
步骤708:用户模块504将获得的报表或如“未检索到数据”的信息输出给该用户。Step 708: The user module 504 outputs the obtained report or information such as "no data retrieved" to the user.
本实施例中由数据库系统生成报表,在报表生成过程中不再需要报表生成软件,节省了报表生成的成本。并且,数据库系统将生成的报表存于报表存储模块,该报表存储模块独立于数据库系统,当用户获取报表时也不再需要报表生成软件,而且用户直接从报表存储模块获得报表,不需访问数据库系统,大幅度减轻了数据库系统的负荷,大大的提升系统的运作能力,并且可以避免突发性的大规模访问造成的系统接口拥塞以及系统瘫痪。同时,数据库系统还可以对各存储模块中的内容进行更新或删除等操作,既可以满足用户的查询需要,又可以节省存储空间。In this embodiment, the report is generated by the database system, and the report generation software is no longer needed in the report generation process, which saves the cost of report generation. Moreover, the database system stores the generated reports in the report storage module. The report storage module is independent of the database system. When the user obtains the report, the report generation software is no longer needed, and the user directly obtains the report from the report storage module without accessing the database. system, greatly reducing the load on the database system, greatly improving the system's operational capabilities, and avoiding system interface congestion and system failure caused by sudden large-scale access. At the same time, the database system can also perform operations such as updating or deleting the content in each storage module, which can not only meet the query needs of users, but also save storage space.
本实施例还提供下载模块,用户登录到下载模块并通过下载模块获得报表,增强了整个系统的安全性。另外,本实施例提供多种报表文件类型,具有灵活的报表定制能力,用户可根据需要进行选择。This embodiment also provides a download module, the user logs in to the download module and obtains a report through the download module, which enhances the security of the entire system. In addition, this embodiment provides multiple types of report files, and has flexible report customization capabilities, and users can choose according to needs.
显然,本领域的技术人员可以对本发明进行各种改动和变型而不脱离本发明的精神和范围。这样,倘若对本发明的这些修改和变型属于本发明权利要求及其等同技术的范围之内,则本发明也意图包含这些改动和变型在内。Obviously, those skilled in the art can make various changes and modifications to the present invention without departing from the spirit and scope of the present invention. Thus, if these modifications and variations of the present invention fall within the scope of the claims of the present invention and equivalent technologies, the present invention also intends to include these modifications and variations.
Claims (18)
Priority Applications (1)
| Application Number | Priority Date | Filing Date | Title |
|---|---|---|---|
| CNB2007100075027A CN100478956C (en) | 2007-01-26 | 2007-01-26 | Method and corresponding system for creating and obtaining report forms |
Applications Claiming Priority (1)
| Application Number | Priority Date | Filing Date | Title |
|---|---|---|---|
| CNB2007100075027A CN100478956C (en) | 2007-01-26 | 2007-01-26 | Method and corresponding system for creating and obtaining report forms |
Publications (2)
| Publication Number | Publication Date |
|---|---|
| CN101004758A CN101004758A (en) | 2007-07-25 |
| CN100478956C true CN100478956C (en) | 2009-04-15 |
Family
ID=38703895
Family Applications (1)
| Application Number | Title | Priority Date | Filing Date |
|---|---|---|---|
| CNB2007100075027A Expired - Fee Related CN100478956C (en) | 2007-01-26 | 2007-01-26 | Method and corresponding system for creating and obtaining report forms |
Country Status (1)
| Country | Link |
|---|---|
| CN (1) | CN100478956C (en) |
Families Citing this family (26)
| Publication number | Priority date | Publication date | Assignee | Title |
|---|---|---|---|---|
| CN101431760B (en) * | 2007-11-07 | 2010-12-01 | 中兴通讯股份有限公司 | Method and system for realizing business report |
| CN101541021B (en) * | 2008-03-18 | 2010-07-21 | 中国移动通信集团天津有限公司 | A method for automatic generation of capacity warning report |
| CN102148833A (en) * | 2011-04-18 | 2011-08-10 | 中国工商银行股份有限公司 | Method for transmitting data report, server, client and system |
| CN103023687A (en) * | 2012-05-31 | 2013-04-03 | 珠海市君天电子科技有限公司 | Statistical method and device associated with access request |
| CN103020158B (en) * | 2012-11-26 | 2016-09-07 | 中兴通讯股份有限公司 | A kind of report form creation, device and system |
| CN103020032B (en) * | 2012-12-28 | 2016-09-14 | 无锡城市云计算中心有限公司 | Report form generation method in cloud computing system |
| CN103279863A (en) * | 2013-06-08 | 2013-09-04 | 北京创腾科技有限公司 | Automatic generation method and system of report file |
| CN103399844B (en) * | 2013-08-16 | 2017-02-08 | 无锡城市云计算中心有限公司 | Report generation method and generation device |
| CN103699557B (en) * | 2013-09-04 | 2017-10-10 | 中国四维测绘技术有限公司 | report processing method and system |
| CN103530394A (en) * | 2013-10-22 | 2014-01-22 | 金蝶软件(中国)有限公司 | Method and device for report data expansion |
| CN104636393A (en) * | 2013-11-13 | 2015-05-20 | 航天信息股份有限公司 | Self-adaptation report form establishing method based on user self-definition behavior analysis |
| CN103646049B (en) * | 2013-11-26 | 2016-08-17 | 中国银行股份有限公司 | The method and system of automatically generated data form |
| CN104408085A (en) * | 2014-11-12 | 2015-03-11 | 国云科技股份有限公司 | A Method of Quickly Viewing Reports |
| CN105808538A (en) * | 2014-12-29 | 2016-07-27 | 深圳云之家网络有限公司 | Method and device for generating mobile report form |
| CN105139186A (en) * | 2015-08-14 | 2015-12-09 | 广东建邦计算机软件有限公司 | Community management report generation method and system |
| CN105118005B (en) * | 2015-08-19 | 2019-07-26 | 广东建邦计算机软件股份有限公司 | Communities ' Integrated management system |
| CN106649226A (en) * | 2015-10-29 | 2017-05-10 | 北京国双科技有限公司 | Report generation method and device |
| CN106547835B (en) * | 2016-08-04 | 2019-12-17 | 贵阳朗玛信息技术股份有限公司 | Method and device for calling database storage process |
| CN106658445B (en) * | 2016-12-28 | 2018-05-29 | 中卓信(北京)科技有限公司 | Report display method, apparatus and system |
| CN108268517B (en) * | 2016-12-30 | 2021-11-26 | 希姆通信息技术(上海)有限公司 | Method and system for managing labels in database |
| CN108491367B (en) * | 2018-02-11 | 2020-06-12 | 苏州朗动网络科技有限公司 | Report document generation method and device, computer equipment and storage medium |
| CN109308296A (en) * | 2018-09-30 | 2019-02-05 | 税友软件集团股份有限公司 | A kind of generation method, device and the computer readable storage medium of business datum table |
| CN109657222A (en) * | 2018-12-14 | 2019-04-19 | 泰康保险集团股份有限公司 | For generating the method and system of report |
| CN110119414A (en) * | 2019-05-11 | 2019-08-13 | 成都银光软件有限公司 | Dining room information report management system and method |
| CN111177256A (en) * | 2019-12-11 | 2020-05-19 | 贵阳语玩科技有限公司 | Database system and method for realizing multi-region data statistics |
| CN115374761A (en) * | 2022-07-15 | 2022-11-22 | 中银金融科技有限公司 | Report generation method, report generation device, electronic equipment and storage medium |
-
2007
- 2007-01-26 CN CNB2007100075027A patent/CN100478956C/en not_active Expired - Fee Related
Also Published As
| Publication number | Publication date |
|---|---|
| CN101004758A (en) | 2007-07-25 |
Similar Documents
| Publication | Publication Date | Title |
|---|---|---|
| CN100478956C (en) | Method and corresponding system for creating and obtaining report forms | |
| CN103092608B (en) | The generation of the client of collecting device information and operation method, server and equipment | |
| CN112148679A (en) | Data interaction method, system, device and storage medium based on multiple data platforms | |
| CN109032663A (en) | Generation method, device, computer equipment and the storage medium of interface document | |
| US20110167093A1 (en) | Address list system and implementation method thereof | |
| CN110245116A (en) | Reconciliation data processing method, device, equipment and computer-readable storage medium | |
| CN113204558B (en) | Automatic data table structure updating method and device | |
| US8620946B2 (en) | Storage and searching of temporal entity information | |
| CN110888842A (en) | File storage method, file query method, file storage device, file query device and file query equipment | |
| CN1886976B (en) | Method and apparatus for performing actions on a wireless device using action lists and versioning | |
| CN111090803A (en) | Data processing method and device, electronic equipment and storage medium | |
| CN113377289A (en) | Cache management method, system, computing device and readable storage medium | |
| WO2021076290A1 (en) | Bi-directional data sync between a client device and an application server | |
| CN104636395A (en) | Count processing method and device | |
| CN103077214B (en) | File memory method and device | |
| CN106294708A (en) | A kind of cluster accounting management method and system based on Torque | |
| CN113448990A (en) | Quasi-real-time multi-dimensional data query method and device for unitized system | |
| CN102571381B (en) | A kind of information storage means and information-storing device | |
| CN109670796B (en) | Engineering data management method and system | |
| JPWO2006001507A1 (en) | Information providing system, information providing server, portable terminal, information providing control program, and portable terminal control program | |
| CN112241474B (en) | Information processing method, device and storage medium | |
| CN101610531A (en) | Ticket information performance statistical method and device thereof | |
| WO2025112911A1 (en) | Energy consumption limiting method, nef network element, communication system and storage medium | |
| CN101944209A (en) | Method and device for customizing metadata | |
| CN101964816A (en) | Method and system for browsing data in browser/server (B/S) framework software system |
Legal Events
| Date | Code | Title | Description |
|---|---|---|---|
| C06 | Publication | ||
| PB01 | Publication | ||
| C10 | Entry into substantive examination | ||
| SE01 | Entry into force of request for substantive examination | ||
| C14 | Grant of patent or utility model | ||
| GR01 | Patent grant | ||
| CF01 | Termination of patent right due to non-payment of annual fee | ||
| CF01 | Termination of patent right due to non-payment of annual fee |
Granted publication date: 20090415 Termination date: 20130126 |
