AU2013381874B2 - A facemask having one or more nanofiber layers - Google Patents
A facemask having one or more nanofiber layers Download PDFInfo
- Publication number
- AU2013381874B2 AU2013381874B2 AU2013381874A AU2013381874A AU2013381874B2 AU 2013381874 B2 AU2013381874 B2 AU 2013381874B2 AU 2013381874 A AU2013381874 A AU 2013381874A AU 2013381874 A AU2013381874 A AU 2013381874A AU 2013381874 B2 AU2013381874 B2 AU 2013381874B2
- Authority
- AU
- Australia
- Prior art keywords
- facemask
- layer
- mask
- wearer
- nanofiber
- Prior art date
- Legal status (The legal status is an assumption and is not a legal conclusion. Google has not performed a legal analysis and makes no representation as to the accuracy of the status listed.)
- Ceased
Links
Classifications
-
- A—HUMAN NECESSITIES
- A41—WEARING APPAREL
- A41D—OUTERWEAR; PROTECTIVE GARMENTS; ACCESSORIES
- A41D13/00—Professional, industrial or sporting protective garments, e.g. surgeons' gowns or garments protecting against blows or punches
- A41D13/05—Professional, industrial or sporting protective garments, e.g. surgeons' gowns or garments protecting against blows or punches protecting only a particular body part
- A41D13/11—Protective face masks, e.g. for surgical use, or for use in foul atmospheres
- A41D13/1107—Protective face masks, e.g. for surgical use, or for use in foul atmospheres characterised by their shape
- A41D13/1115—Protective face masks, e.g. for surgical use, or for use in foul atmospheres characterised by their shape with a horizontal pleated pocket
-
- A—HUMAN NECESSITIES
- A41—WEARING APPAREL
- A41D—OUTERWEAR; PROTECTIVE GARMENTS; ACCESSORIES
- A41D13/00—Professional, industrial or sporting protective garments, e.g. surgeons' gowns or garments protecting against blows or punches
- A41D13/05—Professional, industrial or sporting protective garments, e.g. surgeons' gowns or garments protecting against blows or punches protecting only a particular body part
- A41D13/11—Protective face masks, e.g. for surgical use, or for use in foul atmospheres
- A41D13/1192—Protective face masks, e.g. for surgical use, or for use in foul atmospheres with antimicrobial agent
-
- A—HUMAN NECESSITIES
- A62—LIFE-SAVING; FIRE-FIGHTING
- A62B—DEVICES, APPARATUS OR METHODS FOR LIFE-SAVING
- A62B23/00—Filters for breathing-protection purposes
- A62B23/02—Filters for breathing-protection purposes for respirators
- A62B23/025—Filters for breathing-protection purposes for respirators the filter having substantially the shape of a mask
Landscapes
- Health & Medical Sciences (AREA)
- General Health & Medical Sciences (AREA)
- Physical Education & Sports Medicine (AREA)
- Engineering & Computer Science (AREA)
- Textile Engineering (AREA)
- Business, Economics & Management (AREA)
- Emergency Management (AREA)
- Respiratory Apparatuses And Protective Means (AREA)
- Nonwoven Fabrics (AREA)
Abstract
Facemasks and methods utilizing nanofibers are provided. The facemask and methods provided reduce pressure drop and enhance filtration of airborne particles. In one embodiment there is a facemask, comprising: an inner layer comprising nonwoven fiber material configured to contact a wearer's nose and mouth; a middle layer disposed on the inner layer and comprising a nanofiber material; an outer layer disposed on the middle layer and comprising nonwoven fiber material, the facemask having upper and lower edges and at least one pleat configured to fit over a chin of the wearer when unfolded, the at least one pleat configured for folding and unfolding the facemask such that when folded the facemask is configured to assume a generally flat storage configuration and when unfolded the facemask is configured to cover at least the nose and mouth of the wearer.
Description
WIPOIPCT wo 2014/143039 Al lllllllllllllllllllllllllllllllllllllllllllllllli (12) INTERNATIONAL APPLICATION PUBLISHED UNDER THE PATENT COOPERATION TREATY (PCT) (19) World Intellectual Property Organization
International Bureau (43) International Publication Date 18 September 2014 (18.09.2014)
(10) International Publication Number
WO 2014/143039 Al (51) International Patent Classification:
A62B 18/02 (2006.01) (21) International Application Number:
PCT/US2013/032518 (22) International Filing Date:
March 2013 (15.03.2013) (25) Filing Uanguage: English (26) Publication Uanguage: English (71) Applicant: CROSSTEX INTERNATIONAL, INC.
[US/US]; 10 Ranick Road, Hauppauge, NY 11788 (US).
(72) Inventor; and (71) Applicant : CONUON, Matthew [US/US]; 44 Overlook Road, Caldwell, NJ 07066 (US).
(74) Agents: SCHMIDT, William, D. et al.; Sorell, Lenna & Schmidt, LLP, 99 Smithtown Bypass, 2nd Floor Suite, Hauppauge, NY 11788 (US).
(81) Designated States (unless otherwise indicated, for every kind of national protection available)·. AE, AG, AL, AM, AO, AT, AU, AZ, BA, BB, BG, BH, BN, BR, BW, BY,
BZ, CA, CH, CL, CN, CO, CR, CU, CZ, DE, DK, DM, DO, DZ, EC, EE, EG, ES, FI, GB, GD, GE, GH, GM, GT, HN, HR, HU, ID, IL, IN, IS, JP, KE, KG, KM, KN, KP, KR, KZ, LA, LC, LK, LR, LS, LT, LU, LY, MA, MD, ME, MG, MK, MN, MW, MX, MY, MZ, NA, NG, NI, NO, NZ, OM, PA, PE, PG, PH, PL, PT, QA, RO, RS, RU, RW, SC, SD, SE, SG, SK, SL, SM, ST, SV, SY, TH, TJ, TM, TN, TR, TT, TZ, UA, UG, US, UZ, VC, VN, ZA, ZM, ZW.
(84) Designated States (unless otherwise indicated, for every kind of regional protection available)·. ARIPO (BW, GH, GM, KE, LR, LS, MW, MZ, NA, RW, SD, SL, SZ, TZ, UG, ZM, ZW), Eurasian (AM, AZ, BY, KG, KZ, RU, TJ, TM), European (AL, AT, BE, BG, CH, CY, CZ, DE, DK, EE, ES, FI, FR, GB, GR, HR, HU, IE, IS, ΓΓ, LT, LU, LV, MC, MK, MT, NL, NO, PL, PT, RO, RS, SE, SI, SK, SM, TR), OAPI (BF, BJ, CF, CG, CI, CM, GA, GN, GQ, GW, ML, MR, NE, SN, TD, TG).
Published:
— with international search report (Art. 21(3)) (54) Title: A FACEMASK HAVING ONE OR MORE NANOFIBER LAYERS
(57) Abstract: Facemasks and methods utilizing nanofibers are provided. The facemask and methods provided reduce pressure drop and enhance filtration of airborne particles. In one embodiment there is a facemask, comprising: an inner layer comprising nonwoven fiber material configured to contact a wearer's nose and mouth; a middle layer disposed on the inner layer and comprising a nanofiber material; an outer layer disposed on the middle layer and comprising nonwoven fiber material, the facemask having upper and lower edges and at least one pleat configured to fit over a chin of the wearer when unfolded, the at least one pleat configured for folding and unfolding the facemask such that when folded the facemask is configured to assume a generally flat storage configuration and when unfolded the facemask is configured to cover at least the nose and mouth of the wearer.
WO 2014/143039
PCT/US2013/032518
2013381874 02 Nov 2017
A FACEMASK HAVING ONE OR MORE NANOFIBER LAYERS
BACKGROUND [0001] Recently, there has been great interest in different ways to reduce the risk of infection not only in nursing homes, hospitals and hospices throughout the nation, but also in the doctor’s and dentist’s office, as well as in non-healthcare settings such as businesses, offices, schools and other places where people congregate. The healthcare and non-healthcare environments contain a diverse population of microorganisms, which can cause infection. Microorganisms (e.g., bacteria, fungi, yeast, molds and viruses) in air and water, on surfaces, on skin, in bodily fluid (e.g., blood, saliva, secretions, wound exudate, etc.), and other sources tend to be the biggest players in the spread of infection. Not only are patients at risk of developing infection, but also are the visitors, nurses, doctors, or other healthcare and non-healthcare workers that come into contact with these infectious sources.
[0002] Medical knowledge and public awareness of ways in which infections are transmitted is helping to reduce spread of infections. Infection prevention and control procedures involving universal precautions such as hand washing, wearing gloves, gowns, facemasks and other protective equipment and covering open wounds has also helped reduce the spread of infections.
[0003] Unfortunately, when it comes to medical facemasks, healthcare and non-healthcare workers often do not wear the mask properly on the nose, cheek, lower jaw and chin areas. Sometimes the healthcare and non-healthcare workers will even wear the mask inside out or upside down, which results in a poor fit and gaps in die facemask leading to potential risk of exposure for themselves and others to microorganisms that cause infections.
[0004] Many healthcare and non-health care workers alike at times complain that conventional facemasks are uncomfortable and often do not remain in position during use. This may lead to a poor fit and further discomfort to the wearer.
[0005] Further, present medical facemasks have a high pressure drop between the interior and exterior of the mask because the filter materi al prohibits the passage of air. This high
WO 2014/143039
PCT/US2013/032518 pressure drop is uncomfortable for the wearer because the interior of the mask increases in temperature. Also, a large portion of the exhaled air of the wearer is forced to deflect above and below the wearers face without passing through the facemask. The more exhaled air that deflects out of the facemask instead of passing through the facemask results in a surrounding environment having more pathogens, which originate from the wearer’s exhaled breath.
[0006] Formal government guidelines encourage the use of face masks on sick patients, when/if tolerated, as a means to decrease spread of respiratory-generated infection. Evidence shows intolerance of sick patients to wear standard surgical masks in order to limit, through filtration, the potential spread of their illness to the environment and others. Intolerance is related to discomfort and perception of limited breathing ability.
[0007] Therefore, there is a need for a medical face mask which overcomes the problems of conventional medical face mask and provides for a comfortable and better fit over a wider range of facial sizes and shapes. Medical face masks that help the user properly wear the mask and to reduce potential risk of contamination to the wearer and others are still needed.
SUMMARY [0008] By including one or more discrete nanofiber layers on or in place of the middle layer, the facemask provided allows for reduced deflection of inhaled or exhaled air, which enhances filtration efficiency for air that passes through the mask. In some embodiments, the facemask provided allows consistent pressure and comfortable and consistent temperatures within the mask for the user when the mask is worn.
[0009] In some embodiments, the facemask comprises a bend portion (e.g., crimp, concave portion, etc.) in a malleable stiffening member (e.g., metal strip) of the facemasks, so that the user can properly identify the front, back, nose and cheek area of the mask, and properly wear the mask to reduce potential risk of contamination and effectively filter either inhaled or exhaled air from the nostrils or the mouth of the wearer.
[0010] In some embodiments, by including a malleable stiffening member (e.g., metal strip) in the nose portion and the chin portion of the facemask, the user can pinch the
2013381874 07 Feb 2018 malleable stiffening members to obtain a secure and comfortable fit to the mask and, therefore, have the mask custom fit to his/her face.
[0011] In some embodiments, there is a facemask, comprising: an inner layer comprising nonwoven fiber material configured to contact a wearer’s nose and mouth; a middle layer disposed on or attached to the inside of the outer layer or on the inner layer and comprising a nanofiber material; an outer layer disposed on the middle layer and comprising nonwoven fiber material, the outer layer configured to contact an external environment, the facemask having upper and lower edges and at least one pleat disposed between at least the upper and lower edges and configured to fit over a chin on the wearer when unfolded, the at least one pleat configured for folding and unfolding the facemask such that when folded the facemask is configured to assume a generally flat storage configuration and when unfolded the facemask is configured to cover at least the nose and mouth of the wearer, wherein the facemask comprises a first malleable stiffening member attached to or within the facemask proximate to the upper edge, the first malleable stiffening member configured to conform the inner layer to at least a nose portion and a cheek portion of the face of the wearer, the facemask also comprising a second malleable stiffening member attached to or within a lower edge of the facemask, the second malleable stiffening member being smaller in length than the first malleable stiffening member, wherein the second malleable stiffening member is configured to be pinched under the chin or jaw area to form a projection, wherein the nanofiber material is electrospun to create a gradient that increases in hydrophilicity in a direction from the inner layer to the middle layer.
[0012] Preferably, the nanofiber material of the middle layer is coated on the inner layer and/or outer layer in one or more discrete coatings. Suitably the nanofiber material is disposed on a nonwoven, spunbond fiber layer of the middle layer. Preferably, each nanofiber of the nanofiber material has a diameter comprising at least about 150 times smaller than the diameter of each fiber of nonwoven fiber material. Suitably, the nanofibers layer comprises a metal organic framework disposed on the nanofiber layer, wherein the facemask comprises an antimicrobial disposed in or on one or more layers. The nanofiber material may be hydrophilic or hydrophobic and desirably draws moisture away from the inner and/or outer layer such that it enhances filtration efficiency of airborne particulates.
2013381874 07 Feb 2018 [0013] The facemask suitably reduces the pressure differential in the facemask. Preferably, the moisture concentration gradient is formed between the inner layer and middle layer with the inner layer having the least moisture and the middle layer having the most moisture when the mask is worn.
[0014] Suitably, the first malleable stiffening member comprises a bend portion indicating at least the inner layer and the nose portion of the facemask by having a portion of the facemask elevated when the facemask is in the folded storage configuration and the facemask comprises a means for securing the facemask to the wearer's face. If required, the second malleable member comprises a bend portion indicating at least the inner layer and the chin and/or jaw portion of the facemask by having a portion of the facemask elevated when the facemask is in the folded storage configuration. Preferably, the first malleable stiffening member is pre-crimped to conform to the nose and cheek portion of the wearer, and the second malleable stiffening member is pre-crimped to conform to the chin and jaw portion of the face of the wearer.
[0015] Preferably, the facemask comprises a temperature, moisture, and/or pathogen collector disposed on the outer, inner, or middle layer, wherein the collector comprises a removable nanofiber strip. Suitably, each facemask is stackable so that each malleable stiffening member is stacked substantially parallel to each other so that the inner layer of the facemasks all face in the same direction. Preferably, the nanofiber material has a fiber diameter range from 10 nm to 1000 nm and has a packing density from about 0.03 gsm to 60 gsm.
[0016] In some embodiments, there is a facemask, comprising: an inner layer comprising nonwoven fiber material configured to contact a wearer’s nose and mouth; a middle layer disposed on the inner layer and comprising a nanofiber material; and outer layer disposed on the middle layer and comprising nonwoven fiber material, the outer layer configured to contact an external environment, the facemask having upper and lower edges and at least
WO 2014/143039
PCT/US2013/032518 one pleat disposed between at least the upper and lower edges and configured to fit over a chin of the wearer when unfolded, the at least one pleat configured for folding and unfolding the facemask such that when folded the facemask is configured to assume a generally flat storage configuration and when unfolded the facemask is configured to cover at least the nose and mouth of the wearer.
[0017] Additional features and advantages of various embodiments will be set forth in part in the description that follows, and in part will be apparent from the description, or may be learned by practice of various embodiments. The objectives and other advantages of various embodiments will be realized and attained by means of the elements and combinations particularly pointed out in the description and appended claims.
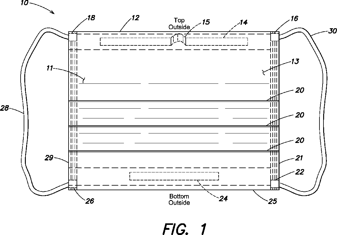
BRIEF DESCRIPTION OF THE DRAWINGS [0018] Figure 1 illustrates an embodiment of an outside sectional view of the facemask in a folded configuration prior to the facemask being installed upon a wearer's face. The bend portion or crimp causes a projection, convex projection, or peak visible from the outside of the mask and a recesses or trough visible from the inside of the mask that the wearer places against the face. In this embodiment, the rest of the facemask is flat.
[0019] Figure 2A illustrates an embodiment of a top view of the malleable stiffening member (e.g., metal strip) having a bend portion shown as a crimp, concave recess, or crease that causes a recess or trough or cavity visible from the inside of the mask in the nose section.
[0020] Figure 2B illustrates an embodiment of a top view of the malleable stiffening member (e.g., metal strip) having a bend portion shown as it would bend further around the nose if the facemask was unfolded and the user pinched the malleable stiffening member.
[0021] Figure 3 illustrates a cross-sectional exploded view of an embodiment of a facemask installed upon a wearer's face.
WO 2014/143039
PCT/US2013/032518 [0022] Figure 4 illustrates a perspective view of an embodiment of a facemask installed upon a wearer's face.
[0023] Figure 5 illustrates an embodiment of the inner surface of a facemask.
[0024] Figure 6 illustrates an embodiment of the outer surface of the facemask as the mask is installed upon a wearer's face and having a visual indicator of temperature, moisture, and/or if a pathogen contacts the mask.
[0025] Figure 7 illustrates an embodiment of the indicator as a strip.
Figure 8 is a graphic illustration showing different mask filtration. The nanofiber masks had greater filtration than other masks.
[0026] Figure 9 is a graphic illustration showing different pressure differentials with various masks. The pressure differentials were lower with the nanofiber masks indicating reduced deflection and better filtration.
[0027] It is to be understood that the figures are not drawn to scale. Further, the relation between objects in a figure may not be to scale, and may in fact have a reverse relationship as to size. The figures are intended to bring understanding and clarity to the structure of each object shown, and thus, some features may be exaggerated in order to illustrate a specific feature of a structure.
DETAILED DESCRIPTION [0028] For the purposes of this specification and appended claims, unless otherwise indicated, all numbers expressing quantities of ingredients, percentages or proportions of materials, reaction conditions, and other numerical values used in the specification and claims, are to be understood as being modified in all instances by the term “about.” Accordingly, unless indicated to the contrary, the numerical parameters set forth in the following specification and attached claims are approximations that may vary depending upon the desired properties sought to be obtained by the present invention. At the very least, and not as an attempt to limit the application of the doctrine of equivalents to the
WO 2014/143039
PCT/US2013/032518 scope of the claims, each numerical parameter should at least be construed in light of the number of reported significant digits and by applying ordinary rounding techniques.
[0029] Notwithstanding that the numerical ranges and parameters setting forth the broad scope of the invention are approximations, the numerical values set forth in the specific examples are reported as precisely as possible. Any numerical value, however, inherently contains certain errors necessarily resulting from the standard deviation found in their respective testing measurements. Moreover, all ranges disclosed herein are to be understood to encompass any and all subranges subsumed therein. For example, a range of “1 to 10” includes any and all subranges between (and including) the minimum value of 1 and the maximum value of 10, that is, any and all subranges having a minimum value of equal to or greater than 1 and a maximum value of equal to or less than 10, e.g., 5.5 to 10.
[0030] It is noted that, as used in this specification and the appended claims, the singular forms “a,” “an,” and “the,” include plural referents unless expressly and unequivocally limited to one referent. Thus, for example, reference to “a layer” includes one, two or more layer(s).
[0031] Reference will now be made in detail to certain embodiments of the invention, examples of which are illustrated in the accompanying drawings. While the invention will be described in conjunction with the illustrated embodiments, it will be understood that they are not intended to limit the invention to those embodiments. On the contrary, the invention is intended to cover all alternatives, modifications, and equivalents, which may be included within the invention as defined by the appended claims.
[0032] The headings below are not meant to limit the disclosure in any way; embodiments under any one heading may be used in conjunction with embodiments under any other heading.
Face mask [0033] The present disclosure includes a face mask containing nanofiber material. By including one or more discrete nanofiber layers on or in place of the standard polypropylene filtration layer, the facemask provided allows for reduced airflow resistance
WO 2014/143039
PCT/US2013/032518 and thereby reduced deflection of inhaled or exhaled air and associated particles, which enhances filtration efficiency for airborne particles that pass through the mask. In some embodiments, the face mask provided allows consistent pressure and comfortable and consistent temperatures within the mask for the user when the mask is worn. In some embodiments, the materials to make the mask comprise hydrophobic materials, e.g., hydrophobic polymers, hydrophobic fluoropolymers, or polymers having a hydrophobic surfactants, or the like. Suitable hydrophobic materials include polyolefins (polyethylene, polypropylene and combinations thereof) or polyesters that are free of hydrophilic materials. In some embodiments, the hydrophobic polymer can comprise fluoro surfactants. Examples of fluoro surfactants are the perfluoroalkyl acrylic copolymers sold under the tradename Zonyl 8300 or Zonyl 7040, supplied by Ciba Geigy.
[0034] In some embodiments, the face mask provided allows for reduced pressure differential (internal to ambient air) and enhanced filtration of airborne particles. The face mask provided improves filtration and/or reduces breathing resistance (e.g., provides wearer comfort) while protecting the wearer from airborne particles as small as 0.05 microns (e.g., including viruses, bacteria, spores, mold, dust and diffuse airborne chemical pollutants, etc.). In some embodiments, the face mask can be comfortably worn by the source of the airborne contaminants (e.g., patient).
[0035] Nanofiber filtration media will enable high filtration and limit differential pressure within the mask allowing for greater comfort and perceived breathability. This discomfort level may also be measured by temperature readings within the worn mask. Nanofiber masks show low temperature reading within the space between the mask and the wearer; an indication of greater comfort. Likewise, healthcare personnel are required to wear masks in clinical settings to either protect themselves from large airborne droplets or to protect other patients from their potentially infectious respiratory emissions. Nanofiber masks will contribute to higher mask-wearing compliance as well as the wearing of masks with more proper fit. In association with MOF (Metal Organic Frameworks) chemistries, nanofiber masks may also serve to protect the wearer from specific airborne gaseous chemical threats.
[0036] Discrete integrated or detachable nanofiber strips placed within the nanofiber masks may enable the capture of exhaled particles for subsequent analysis and detection of
WO 2014/143039
PCT/US2013/032518 wearer illness/infection. Including a discrete nanofiber layer between two discrete nonwoven fiber layers provides for enhanced filtration of airborne particles, such as, for example, pathogens, and reduced pressure drop.
[0037] Figure 1 illustrates an embodiment of an outside sectional view of the face mask 10 in a folded configuration 11 prior to the facemask being installed upon a wearer's face. In the view shown, this side of the facemask 10 would face the outside environment and not touch the wearer’s nose, cheeks, jaw and/or chin. The facemask 10 may have application in healthcare, industrial, domestic, public, or other settings. The embodiment shown is an N95 respirator, which is a lightweight, nose-and-mouth respirator that provides protection for the wearer from microorganisms {e.g., bacteria, fungi, yeast, molds and viruses).
[0038] The facemask 10 is generally configured so as to provide a secure fit which reduces or prevents gaps and passage of material between the nostrils and mouth and the surrounding environment except through the filter material 13. The makeup of the filter material 13, and the pleating 20 used in connection with the facemask 10 will be explained in detail shortly. The facemask 10 has the particular advantage of allowing a secure fit to be created and to be maintained upon installation of the facemask 10 on the face with the use of two ear loops 28 and 30.
[0039] The facemask 10 may be constructed of a wide variety of materials and is preferably disposable. The inner, outer, and filtration materials 13 used to fabricate the facemask 10 may vary according to the particular application of the facemask 10. For example, when the facemask 10 is to be used in a medical application, such as on members of a surgical team, it is common to use a three layer filter material that will provide blood (or other) fluid resistance to prevent penetration of fluids to the inner lining of the mask. However, appropriate inner, outer, and filtration materials may be of a single or multiple layer design. Multi-layer material may be readily purchased in a precollated form, that is with the three layers already arranged, or the materials may be obtained separately and the filter material 13 formed in part of the process for forming the facemask 10.
WO 2014/143039
PCT/US2013/032518 [0040] Generally, a three or four layer filter medium might include an outer layer of a relatively porous paper-like or spunbond polypropylene material which provides durability and resistance against abrasion and/or fluid penetration. The outer layer may also be generally stiffer than the other layers. By using a stiffer outer layer, the effectiveness of the various pleating arrangements is increased. The pleats 20 are disposed between the upper edge 12 and lower edge 25 and side edges 21 and 29 and may be incorporated in the body of the filter material 13 to hold the facemask 10 in a cup-like shape when installed. The inner layer or layers of the filter material generally contain polyethylene or polypropylene, or other material, which exhibits the proper filtration characteristics. In the embodiment shown, the middle layer comprises nanofiber material that is coated onto either the outer side of the inner layer or the inner side of the outer layer. Glass fiber based materials may also have applications as the middle filtration layer. The innermost layer of the filter material is to be worn next to or against the face and generally comprises a soft material for providing a soft, non-irritating surface against which the facial skin will make contact.
[0041] In medical, dental and/or surgical applications, it is generally important that the combined mask materials 13 also provide bacterial filtration efficiency (BFE) in accord. The BFE of a filter material is generally determined by the percentage of bacteria, such as Staphylococcus aureus or Bacillus stearothermophilus, that is able to migrate through the filter material under normal conditions. The fewer bacteria which are able to pass through the filter material 13, the higher the BFE. Of course, a BFE of 100% is desirable; however, efficiencies of as low as 25% are not uncommon among some types of prior art disposable facemasks. However, materials are available which provide BFE's of between 90 and 99%. Thus, in a medical, dental and/or surgical environment it is generally desirable to utilize a filter material having as high a BFE as possible so as to prevent release of nasopharyngeal organisms into the environment. In general, the considerations that provide for a high BFE are the same considerations which provide that a filter material would be desirable in applications in industry and domestic use. For example, a filter material which inhibits the migration of nearly all bacteria would generally also prevent inhalation of dust and dirt particles in industrial applications. Furthermore, it has generally been found that those materials providing a high BFE are often also those materials which provide the least resistance to passage of gases through the filter material.
WO 2014/143039
PCT/US2013/032518 [0042] The easy passage of gases through the filter material is important in maintaining the comfort of the wearer and reduce or inhibit deflection of air and the particles it carries out of any openings created by imperfect sealing of the face mask to the face, thereby bypassing the particle filtration process intended. It should be realized by one of ordinary skill in the art, however, that many applications might require greater or lesser standards of filtration than is commonly required in the medical environment. Therefore, while filter materials having an efficiency suitable for use with the present application available in the art, the best filter material is of little use if the air inhaled and exhaled by the wearer is allowed or facilitated to escape the face mask 10 without passing through the filter material 13. Indeed, the lack of a secure fit across a wide variety of facial sizes and shapes in the face masks available in the prior art is important to the design and fabrication of face masks. Therefore, the present application provides a unique secure fit which reduces or prevents inhaled and exhaled air from leaking around the edges 12, 25, 21, and 29 of the facemask 10 by finding the combination of air flow patterns caused by pressure differentials, and an route of escape, all while providing a superior fit on a wider range of facial sizes and shapes. The maintenance of such a secure fit greatly improves the overall efficiency of the face mask 10.
[0043] The structure of the face mask 10 is generally prepared as a rectangular piece of flat filter material 13. However, it will be understood by those of ordinary skill in the art that other shapes of the face mask can be made in order to cover additionally both the eyes, hair, and throat of the user. As such, the present application includes face masks 10 that cover areas above and beyond simply the nose and mouth of the user. The facemask may also incorporate any combination of known face mask 10 features, such as visors or shields, sealing films, beard covers, etc. In some embodiments, the face mask 10 may be from about 5.5 inches to 7 inches across in length to cover the user’s nose and mouth. In Figure 1, the mask is shown as it would be packaged in its folded and flat configuration, except for the convex outside by the malleable stiffening member 14, where the outside surface is viewed.
[0044] The facemask 10 comprises a malleable stiffening member 14 attached to or imbedded in the mask material 13 at the masks upper edge 12. The malleable stiffening member 14 is configured to conform the filter material 13 to at least a nose portion and a cheek portion of the face of the wearer. It will cause a portion of the mask to be convex
WO 2014/143039
PCT/US2013/032518 and have, in some embodiments a curved projection on the outer layer to indicate the nose and cheek area.
[0045] A second malleable stiffening member 24 is attached to or within lower edge 25 of the filter material 13, as illustrated in Figure 1. The second malleable stiffening member is configured to conform the mask material to at least a chin portion and a jaw portion of the face of the wearer. In some embodiments, the second malleable member does not include a bend portion. In other embodiments, it can include a bend portion that is different from the bend portion 15 in the nose and cheek portion of the mask provided that they can be distinguished (e.g., the bend portion 15 at the nose section can be creased at a larger angle than the optional bend portion in the chin piece). The portion of the mask that has the second malleable stiffening member will also have, in some embodiments, a convex projection on the outer layer.
[0046] It should be understood that the use of the term malleable stiffener or “malleable stiffening member” herein is meant to include the use of both malleable and flexible stiffeners. It is preferred that the malleable stiffeners 14 and 24 be placed adjacent to the upper 12 and lower edges 25 of the mask material 13, respectively. Alternatively, the malleable stiffeners 14, and 24 may be placed somewhere along the upper 12 and lower edges 25 of the mask material 13. The important property of the malleable stiffeners 14 and 24 is that the material be pliant enough to be bent to a shape that conforms to the face of the wearer, and then retain that shape. In this regard, it is important that the malleable stiffeners 14 and 24 not be too stiff so as to make it difficult for the wearer to conform the face mask 10 upon installation. The face mask 10 also has ear loop 30 attached to edges of the mask at attachment points 16 and 22 and ear loop 28 to edges of the mask at attachment points 18 and 26 used in donning the mask. In the embodiment shown in Figure 1, the ear loops are attached to the outside surface of the mask. However, it will be understood by those of ordinary skill in the art that the loops can be attached to the inside surface of the mask.
[0047]In some embodiments, the mask can be a mask that is not folded, e.g., a cone shaped mask that has the nanofiber disposed on the inner layer or the inside of the outer layer.
WO 2014/143039
PCT/US2013/032518 [0048] In some embodiments, the mask of the current application is not an N95 mask, but other mask type like a cone-shaped mask.
[0049] Generally, as used herein, the upper portion of the facemask 10 will refer to that portion which contacts the nose and cheek areas of the wearer while the lower portion of the facemask 10 will be that portion which is in proximity to the lower jaw and chin of the wearer. The malleable stiffeners 14 and 24 can comprise any pliant material, such as a malleable metal or alloy, plastic, or the like. In some embodiments, the malleable stiffeners comprise aluminum or other binding material which exhibits stiffening characteristics.
[0050] The malleable stiffeners 14 and 24 can be attached to or imbedded within the inside or outside surface of the filter material. In some embodiments, the malleable stiffening members can be attached to the facemask and then covered with the same or different material used to make the mask. For example, the malleable stiffening members can be attached to the mask by covering it with spunbonded polypropylene and ultrasonically sealing it to the outer surface of the mask. In some embodiments, the malleable stiffening members can be attached to the mask by adhesive or other means for holding the malleable stiffening members to the mask.
[0051] In some embodiments, first malleable stiffener 14 used for the nose portion of the mask may be from about 3 to 6 inches in length and from about 0.025 or 0.125 or 0.25 or 0.5 inches in height and from about 0.01 or 0.02 or 0.05 or 0.125 or 0.25 inches thick.
[0052] In some embodiments, second malleable stiffener 24 used for the chin portion of the mask may be from about 1.5 to 5 inches in length and from about 0.025 or 0.125 or 0.25 or 0.5 inches in height and from about 0.01 or 0.02 or 0.05 or 0.125 or 0.25 inches thick. In some embodiments, the first malleable stiffener 14 used in the nose portion is a length that is larger or the same size as the length of second malleable stiffener 24 that is used in the chin portion of the facemask. In some embodiments, the second malleable stiffener 24 is smaller than the first malleable stiffener 14.
WO 2014/143039
PCT/US2013/032518
Bend Portion [0053] The malleable stiffening member 14 has a bend portion 15 indicating at least the inner surface, outer surface, center and/or the nose portion of the facemask. The bend portion or crimp includes an angular or rounded shape made by pinching, folding, punching or bending the malleable stiffening member 14 to cause a cavity, indentation, recess, crease, concave recess, or trough on the inside surface of the mask (not shown) and a projection, convex projection, peak, protrusion, elevation or ridge on the outside surface of the mask (shown). At these portions of the facemask, it will not be flat on storage. In some embodiments, the bend portion 15 includes making a ridge or fold by pinching the malleable stiffening member 14 by hand or machine. Although the bend portion 15 is shown generally in the center of the malleable stiffening member 14, it will be understood that the bend portion 15 can be disposed to the left, or right of center.
[0054] The bend portion 15 or crimp may be located by the nose portion of the mask on the outer or inner surface and be angled or crimped in the direction away from the nose so that the user can bend it further for a custom fit around the nose and check area. In this way, the bend portion can be “pre-bent” or “pre-crimped” by the manufacturer. Accordingly, the bend portion will cause the inner surface of the mask that is to be placed against the user’s nose to have a cavity, indentation, recess, crease, or trough on the inside surface of the mask and as the malleable stiffening member 14 is further pinched, bent or folded (as shown by the arrows in Figure 2A), a cavity, indentation, recess, crease, or trough becomes larger to accommodate the nose. In this way, the user will have a visual indication of where the top of the mask is, where the nose section of the mask is and/or where the center of the mask is for those embodiments where the bend portion is disposed within the center or generally within the center of the malleable stiffening member 14. In some embodiments, the bend portion 15 allows the user to identify the outside of the mask, the inside of the mask, top of the mask, and/or center of the mask. In some embodiments, the bend portion 15 is packaged (not shown) at least partially bent so that the cavity, indentation, recess, crease, or trough is visible on the interior of the mask.
[0055] The bend portion 15 or crimp is typically formed from the same material as the malleable stiffening member. However, the same or different material may be used as long as the bend portion will cause a crease or fold in the filter material and allow the user to identify the top, center, inside and/or outside of the mask. The bend portion may be
WO 2014/143039
PCT/US2013/032518 formed from any suitable material, such as an elastic material (e.g., a polymer), inelastic material, a nonwoven, knit, ribbon, cloth, wire, metal or the like.
[0056] In some embodiments, the bend portion may be bent before use by the manufacturer by about 1 to about 5 degrees, by about 1 to about 10 degrees, or by about 5 to about 20 degrees. In some embodiments, the bend portion may be bent before use by the manufacturer so that the bend portion projects out of the inner or outer surface of the mask by about 0.25 mm to about 0.5 mm, or by about 1 mm to about 5 mm or by about 1 mm to about 10mm or by about 5 mm to about 20 mm, or by about 10 mm to about 30 mm or by about 35 mm to about 60 mm. Therefore, the facemask will not be flat when stored or in the package as a stack before it is worn. In some embodiments, the bend portion is designed for easy bending around the ridge of the nose. In some embodiments, the bend portion, like the malleable stiffening member, may be substantially deformable so that a wearer is able to bend, pinch or fold the bend portion and/or the malleable stiffening member between two or more fingers when gripping it as it is put around the ridge of the nose.
[0057] The bend portion 15, since it provides space between adjacent masks, allows the facemask 10 to be stacked for easy packaging and dispensing of a plurality of masks. In one embodiment, there is a stack of facemasks, each face mask comprising: an inner layer comprising nonwoven fiber material configured to contact a wearer’s nose and mouth; a middle layer disposed on the inner layer and comprising a nanofiber material; an outer layer disposed on the middle layer and comprising nonwoven fiber material, the outer layer configured to contact an external environment, the facemask having upper and lower edges and at least one pleat disposed between at least the upper and lower edges and configured to fit over a chin of the wearer when unfolded, the at least one pleat configured for folding and unfolding the facemask such that when folded the facemask is configured to assume a generally flat storage configuration and when unfolded the facemask is configured to cover at least the nose and mouth of the wearer. The facemasks are positioned in a nestled relation to one another (e.g., masks that are close or one on top of the other in the package), the inner surface of at least one mask being apposed to the outside surface of an adjacent mask, thereby forming a stack. Likewise, when the facemask comprises bent malleable stiffening members, the concave portions can be stacked one on top of the other and parallel to each other for ease of packaging.
WO 2014/143039
PCT/US2013/032518 [0058] Figure 2A illustrates a top side view of the malleable stiffening member 31 (e.g., metal strip) having a bend portion shown as a crimp or crease. The bend portion has a projection, peak, protrusion, elevation, convex surface or ridge 32A that extends out and is visible on the outside surface of the mask (not shown). The bend portion has a cavity, concave surface, indentation, recess, crease, or trough 32B on the inside of the mask that is visible on the inside surface of the mask. The stiffening member 31 would have this configuration when attached to the mask. The mask would be in a flat and/or folded configuration, except for the bend portion(s). In the embodiment shown, the bend portion, like the malleable stiffening member 31, may be substantially deformable so that a wearer is able to bend or fold the bend portion and/or the malleable stiffening member in the direction of the arrows shown using two or more fingers when gripping it as it is put around the ridge of the nose.
[0059] By employing a bend portion in the malleable stiffening member 31, which is placed in the center of the facemask, the wearer will see a projection, peak, protrusion, elevation, convex surface, or ridge or other marker visible on the outside surface of the mask, or a cavity, concave surface, indentation, recess, crease, or trough or other marker visible on the inside surface of the mask and know where the top inside or outside, and/or center of the mask is and where the nose portion of the mask is to be placed on the face. It will be understood by those of ordinary skill in the art that the bend portion can be any shape (e.g., circular, square, rectangular, regular, irregular, symmetrical or asymmetrical shape).
[0060] In some embodiments, the bend portion causes a projection, peak, protrusion, elevation, or ridge or other marker on the top front, outside and/or center portion of the mask so that the wearer will know these portions of the mask and know the right side of the mask should be facing the outside environment and not the wearer’s nose or face. In this way, the facemask of the present application reduces the risk that the wearer will wear the mask incorrectly.
[0061] Figure 2B illustrates a top view of the malleable stiffening member 31 having a bend portion shown as it would start to bend around the nose if the facemask (not shown) was unfolded. The bend portion has a projection, peak, protrusion, elevation or ridge 32A
WO 2014/143039
PCT/US2013/032518 that extends out and is visible on the outside surface of the mask (not shown). The projection increases as the malleable stiffening member 31 is further bent or pinched. The bend portion has a cavity, indentation, recess, crease, or trough 32B on the inside of the mask that is visible on the inside surface of the mask and gets bigger as the malleable stiffening member is further bent, pinched or folded. The stiffening member 31 would have this configuration when attached to or in the unfolded mask. In the embodiment shown, the bend portion, like the malleable stiffening member 31 may be substantially deformable so that a wearer is able to bend or fold the bend portion and/or the malleable stiffening member using two or more fingers when gripping it as it is put around the ridge of the nose. It will be understood that the one or more malleable members once bent will cause the mask to be elevated where the bend is, while the other portions of the mask that do not have a bend portion will remain flat.
[0062] In some embodiments, the bend is in a vertical direction relative to the one or more pleats. In some embodiments, the bend portion 32 is crimped, bent, creased, folded, or angled toward the inner surface or outer surface of the facemask by about 1 to 10 degrees or by 0.5 mm to about 50 mm. For example, the crimp can be from 1 mm, 10 mm, 15 mm, 20 mm, 30 mm, 35 mm, 40 mm, 45 mm, 50 mm, 55 mm, 60 mm, or 65 mm.
Securing Means [0063] The facemask may be attached to the user by a securing means that can attach the mask to the user. For example, the securing means may be a pair of manual tie straps that are wrapped around the head of the user and are connected to one another, or the securing means may be ear loops (28 and 30 in Figure 1), elastic bands wrapped around the head of the user, a hook and loop type fastener arrangement (e.g. VELCRO® fasteners), or a connection directly attaching the face mask to a hair cap.
[0064] In some embodiments, the ear loops (28 and 30 in Figure 1) can be attached to the inner or outer surface of the mask at upper edges 16 and 18 and lower edges 22 and 26. The attachment points may be in from the edge by, for example, from about 1/8* of an inch to 1 inch. The closer together the ear loops are, the tighter the fit and the mask will reduce gaps and leakage of inhaled and exhaled air. In some embodiments, the loop is positioned so as to be balanced in the wearer's hand, thereby stabilizing the mask for donning.
WO 2014/143039
PCT/US2013/032518 [0065] The loop may be formed from any suitable material, such as an elastic material (e.g. a polymer), inelastic material, a nonwoven, knit, ribbon, cloth, wire, and so forth. As used herein, the term elastic refers to the ability of a material to recover its size and shape after deformation. As used herein, the term inelastic refers to the inability of a material to recover its size and shape after deformation. In some embodiments, the loop is formed from the same material selected to form the outside surface of the mask. The loop may be bonded or otherwise affixed to the outside surface or inside surface of the mask. Examples of suitable techniques include adhesive bonding, thermal bonding, stitching, and so forth. As used herein, the term adhesive refers to the property of any material that allows the material to bond together substrates by surface attachment.
[0066] The loop is generally sized and positioned to facilitate gripping by a wearer, both prior to, during, and after donning. The loop 30 may be more or less than about 80 mm (0.08 m) in length as measured from the first end 16 to the second end 22 along the length of the loop. In other embodiments, the loop 30 may be less than about 60 mm (0.06 m) in length. In yet other embodiments, the loop 30 may be less than about 40 mm (0.04 m) in length. Where, in some embodiments, the loop is formed from an elastic material, the loop may have a fully extended length of 200 mm (0.200 m) or more. In some embodiments, the loop is from about 4 to 10 inches in length.
[0067] In some embodiments, the loop generally extends inwardly from the outside surface or inside surface a sufficient distance so that the wearer of the mask may grip the loop between two or more fingers of a single hand. In some embodiments, the loop may extend outwardly from the inside or outside surface at least 5 mm (0.005 m). In other embodiments, the loop may extend outwardly from the outside or inside surface at least about 8 mm (0.008 m). In yet other embodiments, the loop may extend outwardly from the outside or inside surface at least about 10 mm (0.01 m) from the outside surface.
Nanofibers [0068] Current medical masks incorporate filter materials that are made of non-woven cellulose and/or polypropylene materials. Fiber diameter and density is the main variable responsible for maintaining a balance between filtration efficiency and pressure differentials (inside the mask on the face in relation to ambient pressures outside the
WO 2014/143039
PCT/US2013/032518 mask). Greater diameter and density of fibers provide for less fiber surface area and thereby less space between fibers through which gaseous particles may pass. When such a dense-fiber mask is sealed to the face through a tight fit, upon wearer exhalation pressure within the mask is elevated creating a pressure differential between the inside of the mask and the ambient air. The pressurized gas will seek equivalence to ambient (lower) air pressures through the pathway of least resistance, namely any opening or unintended leak around the mask, rather than through the dense filtration material. This creates a condition whereby airflows are deflected off of the mask material (inner, and filter layers) rather than passing through it. Likewise, upon inhalation of a mask with high(er) density filtration material and a tight seal, inhalation will produce a negative pressure within the mask chamber. This pressure differential will resolve itself in the same fashion, namely, with higher ambient (external) air flows seeking entry into the mask via the path of least resistance; through any mask leaks, rather than through the filter material. In both exhalation and inhalation, greater effort is required to move air through the mask. For example, the use of N95 respirators, which generally contain higher density filtration materials, require medical clearance to ensure that the extra burden on the diaphragmatic muscles used for breathing don’t cause adverse health consequences to the wearer. The lower the resistance, or pressure differential, created by the mask filtration material, therefore, the lower the likelihood for air escape and filter by-pass in seeking pressure equilibrium within and external to the mask, and the lower “work” required for the wearer to move the air, through his/her breathing cycle, through the filter material. Mask fit, therefore, becomes less critical in achieving optimal filtration. Replacement of conventional filtration materials by nanofiber material with ~150x smaller diameter and far greater surface area will result in significant improvements in filtration efficiency, lower pressure differentials, and less mask leakage and filter bypass. Efficiency increases are attributed to the enormous specific surface of the nanofiber filter media. Less inward to outward leakage, higher filtration efficiency, and lower pressure differential will enhance the respiratory source control (inward to outward filtration/capture of potentially infectious particles) efficacy of the mask. Additionally, the nanofiber layer, while chemically inert, can be modified to incorporate specific functional characteristics. In some embodiments, the nanofiber can be modified with silver, copper, or gold nanoparticles for antimicrobial functionality or application of Metal Organic Frameworks (MOFs) that can be functionalized for capture of specific gaseous airborne threats. Additionally, these fibers can be tailored to be hydrophobic or hydrophilic.
WO 2014/143039
PCT/US2013/032518 [0069] The nanofibers can be any suitable type of nanofiber, including electrospun fibers, protein nanofibers, cellulose nanofibers, hollow nanofibers, bacterial nanofibers, inorganic nanofibers, hybrid nanofibers, splittable nanofibers or combinations thereof. In some embodiments, the nanofibers can be coated on or adhered to the inside of the outer layer, middle layer inside or outside of it, or on or adhered to the inside or outside of the inner layer of the mask.
[0070] As used herein, the term “nanofibers” refers to very small diameter fibers having an average diameter not greater than about 1500 nanometers (nm). Nanofibers are generally understood to have a fiber diameter range of about 10 to about 1500 nm, more specifically from about 10 to about 1000 nm, more specifically still from about 20 to about 500 nm, and most specifically from about 20 to about 400 nm. Other exemplary ranges include from about 50 to about 500 nm, from about 100 to 500 nm, or about 40 to about 200 nm. In instances where particulates are present and heterogeneously distributed on nanofibers, the average diameter of a nanofiber can be measured using known techniques (e.g., image analysis tools coupled with electro microscopy), but excluding the portions of a fiber that are substantially enlarged by the presence of added particles relative to the particle free portions of the fiber.
[0071] Nanofibers ranging from 10 nm to 1000 nm can be used in filtration medium to capture submicron particles below 1000 nm. The ability of nanofibers to capture particles is believed to be due to a combination of interception of submicron particles by the fibers as well as the Brownian motion or random walk of submicron particles, both of which facilitate the particles to be captured by the large surface/mass ratio of the nanofibers. Further increase of capture capability may be obtained by increasing the nanofiber surface area such as by reducing the fiber diameter and/or by increasing the packing density of the nanofibers, as measured in terms of grams of nanofibers per square meter.
[0072] In some embodiments, the facemask configuration of the present application may offer many advantages: the nanofibers may maintain a low solid volume fraction (or equivalently a higher porosity) in each nanofiber layer, the total thickness of the nanofiber layers in the filter may well exceed the single nanofiber layer having the same total polymer packing density (i.e. same grams per square meter or gsm), a high particle
WO 2014/143039
PCT/US2013/032518 capture efficiency may be attained with submicron particles, a lower pressure drop may be achieved when compared to the single layer with the same packing density (i.e. same gsm), the substrate layer may act as a support providing mechanical stress (tensile) for the filtration medium, and the substrate layer may serve as a filter medium.
[0073] In some embodiments, the nanofibers can be in a discrete layer(s) sandwiched between the outer and inner layer. In some embodiments, the nanofibers can make up the middle layer or can be disposed on the middle layer of the facemask. In some embodiments, the nanofiber can be disposed on the inner, middle and/or outer layer by electrospinning.
[0074] As used herein, the term electrospinning refers to a technology which produces nano-sized fibers referred to as electrospun fibers from a solution using interactions between fluid dynamics and charged surfaces. In general, formation of the electrospun fiber involves providing a solution to an orifice in a body in electric communication with a voltage source, wherein electric forces assist in forming fine fibers that are deposited on a surface that may be grounded or otherwise at a lower voltage than the body. In electrospinning, a polymer solution or melt provided from one or more needles, slots or other orifices is charged to a high voltage relative to a collection grid. Electrical forces overcome surface tension and cause a fine jet of the polymer solution or melt to move towards the grounded or oppositely charged collection grid. The jet can splay into even finer fiber streams before reaching the target and is collected as an interconnected web of small fibers. The dried or solidified fibers can have diameters of about 40 nm, or from about 10 to about 100 nm, although 100 to 500 nm fibers are commonly observed. Various forms of electrospun nanofibers include branched nanofibers, tubes, ribbons and split nanofibers, nanofiber yarns, surface-coated nanofibers (e.g., with carbon, metals, etc.), nanofibers produced in a vacuum, and so forth. The production of electrospun fibers is illustrated in many publication and patents, including, for example, P. W. Gibson et al, Electrospun Fiber Mats: Transport Properties, AIChE Journal, 45(1): 190-195 (January 1999), which is hereby incorporated by reference.
[0075] The nanofibers can be in the mask to create a gradient in the mask. The gradient can be a multi-component material in which nano-sized fibers of at least two different types which have been produced by electrospinning are present and non-uniformly
WO 2014/143039
PCT/US2013/032518 distributed to create one or more gradients or heterogeneity in one or more directions. The gradient in a gradient electrospun material provides discrete areas having measurable differences in surface chemistry (e.g., wicking, contact angle, etc.) or other material properties, including, but not limited to, density, pore size, surface charge, zeta potential, and so forth, resulting from the presence of fibers of different types, i.e., of substantially different material composition.
[0076] In some embodiments, the nanofibers can be coated on the mask in the inner, middle and/or outer layer. In some embodiments, the inner layer is the most porous, the middle layer is less porous than the middle layer and the outer layer is the least porous. In some embodiments, the porosity of the inner and middle layer is the same and the outer layer is the least porous.
[0077] With reference to FIG. 3, which shows an exploded cross-sectional view of the medical facemask of the present disclosure, the medical facemask has a first discrete nonwoven fiber layer 33 (inner layer) disposed adjacent a wearer’s face. First layer 33 has an inner surface 34, which is at least partially contacting the wearer’s face. First layer also has an outer surface 35. A second discrete nonwoven fiber layer 36 (middle layer) is disposed adjacent to outer surface 35 of first layer 33. Second layer 36 can be spaced apart from first layer 33 or can be disposed in contact with first layer 33. Second layer 36 has an inner surface 37 facing direction A as shown in FIG. 3. Second layer 36 includes an outer surface 38 facing direction B as shown in FIG. 3 opposite inner surface 34. In one embodiment, a third discrete nonwoven fiber layer 39 is disposed adjacent second layer 36 such that second layer 36 is disposed between first and second layers 33, 36. Third layer 39 (outer layer) has an inner surface 40 facing direction A as shown in FIG. 3 disposed adjacent outer surface 38 of second layer 36. Third layer 39 (outer layer) also includes an outer surface 41 exposed to the surrounding environment opposite inner surface 40 of third layer 39.
[0078] Nanofiber material is layered or coated onto surfaces of first, second and/or third fiber layers 33 (inner layer), 36 (middle layer), 39 (outer layer). Alternatively, the nanofiber layer can replace the outer, middle, or inner layer. The nanofiber layers are discrete layers, separate from and coated on first, second and third fiber layers 33, 36, 39. The discrete nanofiber layers are not interwoven into the nonwoven fiber layers nor are
WO 2014/143039
PCT/US2013/032518 they composites of the nonwoven fiber layers. Discrete nanofiber layers can be coated on one or a plurality of the surfaces of the first, second and third fiber layers 33, 36, 39. In one embodiment, second layer 36 is replaced with a first discrete nanofiber layer 42 coated on outer surface 35 of first layer 33 and a second nanofiber layer 43 coated onto inner surface 40 of third layer 39. In one embodiment, discrete nanofiber layers are coated onto outer surface 35 of first layer 33, inner and outer surfaces 37, 38 of second layer 36, and inner surface 40 of third layer 39 forming a facemask having four discrete nanofiber layers for enhanced filtration of airborne pathogens. In one embodiment, a discrete nanofiber layer is coated on inner surface 34 of first layer 33 and/or inner surface 40 of third layer 39.
[0079] The nanofiber layer density and the combination of non-woven/nanofiber layers will vary according to specific performance objectives for each mask version. For example, one mask version may incorporate a more dense nanofiber layer as a replacement for the non-woven filtration layer in order to achieve similar filtration efficacy while reducing pressure differentials (increasing breathability). Another version may incorporate a less dense nanofiber layer onto an existing layer to achieve greater filtration efficiency. Additionally, the hydrophilic or hydrophilic nature of the incorporated nanofibers may vary. For example, a highly hydrophobic outer layer would be used to improve the fluid barrier properties of the mask. Conversely, a highly hydrophilic nanofiber layer may be used to draw moisture in (wick) towards a subsequent layer in order to draw moisture away from the wearer’s face and/or to draw potentially infectious moisture droplets toward an anti-microbial layer where the pathogen would be neutralized. It is envisioned that the nanofiber layers may incorporate antimicrobial nanoparticles, metal organic frameworks, moisture sensors and/or an integrated flu diagnostic nano-strip. In some embodiments, the materials to make the mask comprise hydrophobic materials, e.g., hydrophobic polymers, hydrophobic fluoropolymers, or polymers having a hydrophobic surfactants, or the like.
[0080] It is further contemplated that the facemask is a continuous loop of fabric that is stretched over the wearer’s head covering the neck. Approximately half of the fabric will comprise nano-filter material and the other half will comprise fabric having elastic properties. The front filter portion will be pulled over the bridge of the nose. It is contemplated that the facemask has a tear-away perforation for removal and safety
WO 2014/143039
PCT/US2013/032518 purposes, and will not require any metal pieces or ties in order to secure the facemask to the wearer.
[0081] In one embodiment, discrete nanofiber layer 42 is hydrophilic to draw moisture away from first layer 33. In a further embodiment, the discrete nanofiber layers increase in hydrophilicity from inner surface 34 of first layer 33 to inner surface 40 of third layer 39 such that a moisture concentration gradient is formed between first and third layers 33, 39. First layer 33 has the lowest moisture content and third layer 39 has the highest moisture content given that moisture will be constantly drawn away from the wearer’s face in direction B as shown in FIG. 3. Once moisture originating from the wearer’s breath passes from inner surface 34 of first layer 33 to outer surface 4f of third layer 39, the moisture will evaporate into the surrounding environment. The moisture concentration gradient reduces the amount of moisture in an interior cavity 27 of facemask fO, thus enhancing comfort for the wearer. In one embodiment, first, second and third layers 33, 36, 39 comprise material increasing in hydrophilicity, respectively.
[0082] Figure 4 illustrates a perspective view of an embodiment of a facemask 44 installed upon a wearer's face. The outer surface 58 of the facemask 44 is shown facing the outside or external environment that the wearer 64 is exposed to. The facemask 44 is shown in its unfolded position and secured to the wearer's face to provide the secure and comfortable fit by securing the ear loops (one shown as 62) around the wearer's ears. The ear loops are preferably formed of elastic such that they will secure the facemask 44 in the proper position on the wearer's face. Use of elastic ear loops allows the facemask 44 to be easily installed by the wearer and avoids the difficulty of tying a string tie behind the head. Furthermore, since the ear loops are elastic, there is not the risk of the ear loops becoming untied at an inopportune moment which accompanies the use of ordinary tie strings. Furthermore, the elasticity of the ear loops may be chosen so as to allow the facemask 44 to be easily repositioned on the face while only using one hand.
[0083] The facemask 44 comprises one or more pleats (shown in the unfolded position are three pleats that have been unfolded 48, 50 and 52). The one or more pleats are disposed between at least the upper, lower, and/or side edges of the mask. As used herein, the term pleat refers to a relatively flat double-fold formed in the facemask 44 when the facemask 20 is in the flat storage configuration (as illustrated in Figure 1). The pleats in the filter
WO 2014/143039
PCT/US2013/032518 material can be any known in the art and include, for example, Z shaped pleats, standard pleats, omega pleats, secondary pleats, reverse pleats or the like.
[0084] The one or more pleats are disposed between the upper, lower and side edges (60) of the mask. It will be understood by those of ordinary skill in the art that the mask may have one, two, three, four, five, six, seven, eight or more pleats, each of which can be the same or different sizes and/or shapes.
[0085] The facemask 44 comprises in its upper section, an upper malleable stiffener 46, which when pinched, folded or twisted pulls the filter material including its top and side edges against the nose and cheeks. The facemask also comprises lower malleable stiffener 54 in the lower section of the facemask, which when pinched, folded or twisted pulls the side and lower edges into the side of the face and lower jaw area to provide a secure facial fit. Furthermore, it can also be seen that the pleats 48, 50, and 52 allow the creation of a pocket-like shape by which the inner surface of the filter material is held tightly against the lower jaw area of the wearer. The upper and lower malleable stiffeners (46 and 54) are attached to or imbedded in the mask material, typically on or in the inside or outside of the mask. These malleable stiffeners increase the secure fit formed around the nose and cheek area and the chin and jaw portion of the face of the wearer.
[0086] By properly positioning the ear loops, the one or more pleats, and pinching, bending, folding or twisting the malleable stiffeners against the nose, cheek, chin and/or jaw areas upon installation of the facemask, a secure fit is provided not only along the upper and lower malleable stiffeners 46 and 54, but also along the side edges of the facemask 44 which contact the cheeks. This is due to the effect of the tension exerted because of the cooperation of the pleats, malleable stiffener(s) and the ear loops. Furthermore, the facemask 44 still allows for normal speech without significant difficulty while maintaining a secure fit.
[0087] Figure 5 illustrates an embodiment of the inner surface 68 of a facemask that the wearer would place against his/her face. The mask is shown in the unfolded or partially unfolded position. The upper malleable stiffener 67 imbedded or attached to the mask has been folded, crimped, pinched, bent, creased, and/or angled around the wearer’s nose and/or cheek area and causes a cavity 66 in the filter material that conforms and pulls it
WO 2014/143039
PCT/US2013/032518 closer to a portion of the nose and/or cheek. The lower malleable stiffener 70 imbedded or attached to the mask has been crimped, bent, creased, folded, pinched, and/or angled around or under the wearer’s chin and/or jaw area and causes a cavity 69 in the filter material that conforms and pulls it closer to a portion of the wearer’s chin and/or jaw area. In some embodiments, the cavity 69 will be located under the chin so that the user can rest it on it. The mask provides a secure and comfortable fit for the user by simply pinching the malleable stiffeners. It will be understood by those of ordinary skill in the art that the cavities in the inside of the mask 66 and 69 can be aligned vertically with each other or be substantially parallel to each other so that projection 66 and 69 line up.
[0088] Figure 6 illustrates an embodiment of the outer surface 73 of the facemask installed upon a wearer's face. The mask is shown in the unfolded or partially unfolded position. The upper malleable stiffener 71 imbedded or attached to the mask has been folded, crimped, pinched, bent, creased, and/or angled around the wearer’s nose and/or cheek area and causes a projection 72 in the filter material that conforms it to a portion of the nose and/or cheek. The lower malleable stiffener 74 imbedded or attached to the mask has been crimped, bent, creased, folded, pinched, and/or angled around or under the wearer’s chin and/or jaw area and causes a projection 75 in the filter material that conforms to a portion of the wearer’s chin and/or jaw area. In some embodiments, the projection 75 will be located under the chin so that the user can rest it on it. The mask provides a secure and comfortable fit for the user by simply pinching the malleable stiffeners. In this way, the mask reduces leakage of material around the top, bottom and edges of the masks. It will be understood by those of ordinary skill in the art that the projections in the outside of the mask 72 and 75 can be aligned vertically with each other or be substantially parallel to each other so that projection 72 and 75 line up and the masks can be stacked one on top of the other.
[0089] In some embodiments, individuals who wear eyeglasses also are plagued by the problem of fogging of their glasses due to condensation of warm, vapor laden exhaled air on the colder surface of their eyeglasses. Ensuring a secure fit along the upper edge of the facemask helps to reduce fogging of eyeglasses due to the condensation of vapor laden air. The nanofibers can be combined with FogFree® face masks, some with fog free strips, available from CrossTex (Hauppauge, NY).
WO 2014/143039
PCT/US2013/032518 [0090] In some embodiments, for easy grasping, the facemask may be thermally molded or heat set to increase stiffness. In other embodiments, binder chemicals may be added to the materials prior to formation of the mask. The facemask can be disposable and/or for single use.
Indicator [0091] In Figure 6, the outer surface 73 of the facemask comprises a temperature, moisture, and/or pathogen indicator. Although shown on the outer surface, it will be understood by those of ordinary skill in the art that this indicator can be disposed on or in the outer, inner, and/or middle layer.
[0092] The indicator provides a visual indication when a certain temperature, and/or moisture is reached and/or when a pathogen is detected.
[0093] The indicator can have for example, a thermochromic dye, such as for example, that disclosed in U.S. Pat. No. 4,826,550, the entire disclosure is herein incorporated by reference, to provide the indication of a temperature change in the mask. When the temperature threshold is reached, it results in a visual indication. For example, at temperatures above 60° F, above 70° F, above 85° F, above 87° F, or above 97° F, the indicator will change color. Desirably, the visual indication of a change in temperature threshold is a change in color. This can signal the user to change the mask.
[0094] In some embodiments, the indicator can be a label, strip, film, and/or tape that can change between two colors, or between a colored condition and colorless condition. A thermochromic material can have an activation temperature, which is the temperature at which the material has reached its final color (or clear) state. For example, a thermochromic material can be provided in the form of microcapsules which contain crystal violet lactone, a weak acid, and a dissociable salt dissolved in a non-polar or slightly polar solvent liquid crystal solvent such as dodecanol or another suitable liquid crystal solvent. When the temperature is room tempertaure, the dye exists in its lactone leuco form. However, when the temperature increases, the liquid crystal solvent melts, the salt dissociates, the pH inside the microcapsule lowers (making protons readily available), the dye becomes protonated, and the lactone ring opens causing its absorption spectrum to shift, absorbing in the visible spectrum, such as a deeply violet color for crystal violet
WO 2014/143039
PCT/US2013/032518 lactone. Suitable thermochromic dyes can be based on mixtures of leucodyes with suitable other chemicals, which display a color change (usually between a colorless leuco form and the colored form of the dye) dependent on the temperature.
[0095] Thermochromic materials which can be used in the current application also include, but are not limited to, spirolactones, fluorans, spiropyrans, or fulgides. Weak acids that can be used as proton donors include bisphenol A, parabens, 1,2,3-triazole derivatives, and 4-hydroxycoumarin. These weak acids can function as a proton donor to cause a dye molecule to change between its leuco form and its protonated colored form. Stronger Bronsted acids (better proton donors) can also be used but they tend to make the color change irreversible. Other thermosensitive dyes that can be used include an oxazinebased leuco thermosensitive dye (such as that sold under the trade mark CSB-12 by Hodogaya Chemicals Co), a spiropyran-based leuco thermosensitive dye (such as that sold under the trade mark CSR-13 by Hodogaya Chemicals Co), a quinoline-based thermosensitive dye (such as that sold under the trade mark CSY-13 by Hodogaya Chemicals Co) or the like.
[0096] Specific thermosensitive dyes that can be used in the thermochromic material are non-toxic and are known to activate at temperatures in the range of 21 to 51 °C and which are available from SICPA Securink Corporation of Springfield, Va. These dyes include 744020TC (thermochromic blue), 744010TC (thermochromic turquoise), 744027TC (thermochromic yellow), 734010TC (thermochromic rose), 724010TC (thermochromic orange), 754027TC (thermochromic green). There are also thermochromic dyes which lose color when heated, so that they change from a color towards clear. These dyes include 178002TC (black/clear) which is active at 80 to 97 degrees C and 128001TC (orange/clear), 1384175TC (rose/clear), 150015TC (green/clear), 148003TC (blue/clear), 17800TC (black/clear), 14001TCBR (blue/red), or 128001TCY (orange/yellow), or combinations thereof.
[0097] In some embodiments, for moisture detection, the indicator can comprise an agent that changes colors based on pH such as, for example, bromophenol blue. For example, as moisture from respiration or sweat occurs in the mask, the pH will decrease and the color will be indicated so the user can change the mask.
WO 2014/143039
PCT/US2013/032518 [0098] Figure 7 illustrates an embodiment of the indicator shown as a strip 77. The strip at one end has a section 81 that can be held and used to pull the strip from the mask. This embodiment is useful for example when the strip is going to be used to test a pathogen. The strip can be pulled from the mask and the strip can be cultured to see what pathogen can grow (bacteria, virus, mold, etc.). The strip can be attached to the mask by velcro, adhesive, glue, or other attachment means. In some embodiments, the strip comprises an indicator region 83 disposed on the strip that gives a visual indication (certain color, color change, or turn colorless, etc.) when a certain threshold temperature, moisture, and/or pathogen is present so that the mask can be changed or used only for a certain period of time. The strip can comprise a region 85 that does not contain any visual indication. In some embodiments, the strip can comprise the same material as the mask, for example, nanofibers and non-nanofibers.
[0099] In some embodiments, the indicator comprises a collector that can capture microbes and they can be sent to the laboratory for identification or in some embodiments, the collector can capture the microbe and have an indicator to identify the microbe (e.g., gram positive or gram negative bacteria, etc.). The collector allows immobilization of the microbes that can be sent to the lab.
[00100] In some embodiments, the mask can have certain colors for the malleable member (e.g., strip) so the user can know how to wear the mask. For example, the nose piece can be a certain color of the malleable member and the malleable member of the chin piece can be a different color than the nose piece. Alternatively, the outside of the mask can be marked with a different color to indicate the part of the mask to be worn on the nose and that part of the mask to be worn on the mouth.
Methods of Making [00101] The facemask may be formed from a variety of materials and fabrics, such as woven reusable fabrics and nonwoven disposable fabrics or webs. As used herein, the term nonwoven fabric or nonwoven web or nonwoven material means a web having a structure of individual fibers or threads that are randomly interlaid, but not in an identifiable manner or pattern as in a knitted fabric. Nonwoven fabrics or webs have been
WO 2014/143039
PCT/US2013/032518 formed from many processes, for example, meltblowing processes, spunbonding processes, and bonded carded web processes.
[00102] As used herein, the term spunbond or spunbond fibers or spunbonded fibers refers to small diameter fibers that are formed by extruding molten thermoplastic material as filaments from a plurality of fine, usually circular capillaries of a spinneret with the diameter of the extruded filaments then being rapidly reduced, for example, as in U.S. Pat. No. 4,340,563 to Appel et al., and U.S. Pat. No. 3,692,618 to Dorschner et al., U.S. Pat. No. 3,802,817 to Matsuki et al., U.S. Pat. Nos. 3,338,992 and 3,341,394 to Kinney, U.S. Pat. No. 3,502,763 to Hartman, and U.S. Pat. No. 3,542,615 to Dobo et al.
[00103] As used herein, the term meltblown or meltblown fibers means fibers formed by extruding a molten thermoplastic material through a plurality of fine, usually circular, die capillaries as molten threads or filaments into converging high velocity, usually hot, gas (e.g. air) streams that attenuate the filaments of molten thermoplastic material to reduce their diameter, which may be to microfiber diameter. Thereafter, the meltblown fibers are carried by the high velocity gas stream and are deposited on a collecting surface to form a web of randomly disbursed meltblown fibers. Such a process is disclosed, for example, in U.S. Pat. No. 3,849,241 to Butin et al.
[00104] The facemask may be formed from a single layer or multiple layers of material or a composite of multiple layers. In the case of multiple layers, the layers are generally positioned in a juxtaposed or surface-to-surface relationship and all or a portion of the layers may be bound to adjacent layers. The multiple layers of a composite may be joined to form a multilayer laminate by various methods, including but not limited to adhesive bonding, thermal bonding, or ultrasonic bonding.
[00105] One composite material suitable for use with the present application is a spunbond/meltblown/spunbond (SMS) laminate. An SMS laminate may be made by sequentially depositing onto a moving forming belt first a spunbond fabric layer, then a meltblown fabric layer and last another spunbond layer and then bonding the laminate in a manner described below. Alternatively, the fabric layers may be made individually, collected in rolls, and combined in a separate bonding step. Multilayer laminates may have multiple meltblown layers or multiple spunbond layers in many different
WO 2014/143039
PCT/US2013/032518 configurations and may include materials other than nonwovens. Examples of such other materials include wovens, films, foam/film laminates and combinations thereof, for example, a spunbond/film/spunbond (SFS) laminate. Examples of other composite materials suitable for use in the present invention include, but are not limited to, those described in U.S. Pat. No. 4,041,203 to Brock et al., U.S. Pat. No. 5,169,706 to Collier, et al., U.S. Pat. No. 5,145,727 to Potts et al., U.S. Pat. No. 5,178,931 to Perkins et al., U.S. Pat. No. 4,374,888 to Bomslaeqer, and U.S. Pat. No. 5,188,885 to Timmons et al., which are all incorporated herein by reference.
[00106] The facemask of the present application may include a layer of material, for example, a nonwoven material, suitable for filtration. The filtration material may be made from a meltblown nonwoven web and, in some embodiments, may be subject to electret treating. As used herein, the term electret or electret treating refers to a treatment that imparts a charge to a dielectric material, such as a polyolefin. The charge includes layers of positive or negative charges trapped at or near the surface of the polymer, or charge clouds stored in the bulk of the polymer. The charge also includes polarization charges that are frozen in alignment of the dipoles of the molecules. Methods of subjecting a material to electret treating are well known by those skilled in the art. These methods include, for example, thermal, liquid-contact, electron beam, and corona discharge methods. One particular technique of subjecting a material to electret treating is disclosed in U.S. Pat. No. 5,401,466, the contents of which are herein incorporated in its entirety by reference. This technique involves subjecting a material to a pair of electrical fields wherein the electrical fields have opposite polarities. Electret treatment results in a charge being applied to the filtration medium that further increases filtration efficiency by drawing particles to be filtered toward the filter by virtue of their electrical charge. Electret treatment can be carried out by a number of different techniques. One technique is described in U.S. Pat. No. 5,401,446 to Tsai and incorporated herein by reference in its entirety. Other methods of electret treatment are known in the art, such as that described in U.S. Pat. No. 4,215,682 to Kubik et al., U.S. Pat. No. 4,375,718 to Wadsworth, U.S. Pat. No. 4,592,815 to Nakao and U.S. Pat. No. 4,874,659 to Ando, incorporated herein by reference in their entirety.
[00107] Alternatively, the mask may include a layer of expanded polytetrafluoroethylene (PTFE) membrane for filtration, such as those manufactured by W. L. Gore & Associates.
WO 2014/143039
PCT/US2013/032518
A more complete description of the construction and operation of such materials can be found in U.S. Pat. No. 3,953,566 to Gore and U.S. Pat. No. 4,187,390 to Gore, incorporated herein by reference in their entirety.
[00108] In some embodiments, the facemask comprises one or more layers individually or combined made of medical grade tissue, spun bound polypropylene, cellulose material, meltblown polypropylene, spun bound high density polyethylene, and/or low density polyethylene.
[00109] In some embodiments, one or more layers of the mask may be impervious or substantially impervious to liquid (e.g., spun bound polypropylene, and/or meltblown polypropylene layer(s)), which may cause liquid to bead on one or more surfaces or layers of the mask.
[00110] In some embodiments, the facemask can be made by providing the filter material and inserting or attaching the malleable stiffening members to the mask, where at least one malleable stiffening member is partially bent, crimped, creased, folded, and/or angled and attached to or in the nose portion of the mask, either on the inside of the mask or outside of it and then attaching a second malleable stiffening member to the lower portion of the mask for the chin and/or jaw area; and attaching securing members to the mask, either on the inside of the mask or outside of it.
[00111] In some embodiments, the bend portion is pinched, crimped, bent, creased, folded, or angled toward the inner surface or outer surface of the facemask by about 1 to 10 degrees or by 1 mm to about 20 mm by hand or machine, before, during or after it is attached or imbedded in the mask. These include crimping machines having stops, posts, or the like that allow the bend portion to be formed.
[00112] Having now generally described the invention, the same may be more readily understood through the following reference to the following examples, which are provided by way of illustration and are not intended to limit the present invention unless specified.
EXAMPLES [00113] Tables 1-3 below display the differential pressure or pressure drop between the interior of the facemask and the surrounding environment using a facemask of the present
WO 2014/143039
PCT/US2013/032518 disclosure having nanofiber layers. Tables 1-3 also display the differential pressures measured using a facemask without a discrete nanofiber layer and a three layer melt-blown nonwoven fiber facemask without a discrete nanofiber layer. Three separate trials runs were performed for each facemask as represented by Tables 1, 2 and 3, respectively. Air was directed through an inner surface of the mask representing the flow of a wearer’s breath during exhalation. Differential pressure drop was measured for air flows of 25, 125, 250 and 500 liters per minute. The results are displayed below.
Table 1
| Mask 1 | Differential Pressure | |||
| Air flow | ; Face mask | 3 layer | 3 layer | |
| liters/min | nanofiber | melt- | ||
| (1/m) | (nf) | blown | ||
| nonwoven | ||||
| fiber (mb) | ||||
| 25 | ; 8.47 | 0.46 | 8.14 | |
| 125 | ; 42.1 | 3.03 | 38.7 | |
| 250 | : 78.3 | 4.31 | 75.3 | |
| 500 | : 141 | 15.8 | 127 | |
| Table 2 | ||||
| Mask 2 | i Differential Pressure | |||
| Air Flow | ; Face mask | 3 layer nf | 3 layer mb | |
| (1/m) | ||||
| 25 | : 10 | 0.416 | 8.48 | |
| 125 | : 55.3 | 2.79 | 49.4 | |
| 250 | : 97.1 | 4.17 | 90.6 | |
| 500 | j 187 | 9.82 | 158 | |
| Table 3 | ||||
| Mask 3 : | Differential Pressure | |||
| Airflow j | Face mask | 3 layer nf | 3 layer mb | |
| (1/m) : | ||||
| 25 j | 11.2 | 0.548 | 12.3 | Cfm |
| 125 : | 57.9 | 2.82 | 62 | Cfm |
| 250 : | 116 | 5.81 | 116 | Cfm |
| 500 | 221 | 11.8 | 222 | cfm |
[00114] As shown in Tables 1-3, the differential pressures measured for the facemask of the present disclosure is as much as approximately 18 times lower than the differential pressures measured for facemasks without discrete nanofiber layers. The differential pressure is directly related to the amount of air that gets deflected above and below the
WO 2014/143039
PCT/US2013/032518 facemask. Therefore, a lower differential drop associated with the use of the facemask of the present disclosure results in a reduced amount of air deflection and an increased amount of air that passes through the facemask rather than around the facemask.
Facemasks without discrete nanofiber layer(s) demonstrated higher air deflection and therefore less airflow through the facemask.
[00115] The nanofiber coating can have a thickness from between 0.03 grams per square meter (gsm) to about 1.0 gsm, or 1-60 gsm. Further, each surface of the filter material can have multiple coatings of nanofiber layers to increase the thickness of the nanofiber coating. The length of each nanofiber can be below approximately 0.01 deniers.
[00116] Figure 8 is a graphic illustration showing different mask filtration. Those marked with “T” were taped to the face; those not marked with a T were not taped. The nanofiber masks had greater filtration than other masks.
[00117] Figure 9 is a graphic illustration showing different pressure differentials with various masks. The pressure differentials were lower with the nanofiber masks indicating reduced deflection and better filtration.
[00118] By having the nanofibers on the inside surface of the outer layer or on the middle layer or inner layer or in place of the middle layer, there is low pressure differential between layers and there is enhanced filtration efficiency. There is also enhanced bidirectional flow of air. In some embodiments, the nanofibers can be integrally adhered (e.g., applied) to the inside of the outer layer material.
[00119] It will be apparent to those skilled in the art that various modifications and variations can be made to various embodiments described herein without departing from the spirit or scope of the teachings herein. Thus, it is intended that various embodiments cover other modifications and variations of various embodiments within the scope of the present teachings.
2013381874 07 Feb 2018
Claims (14)
- CLAIMS:1. A facemask, comprising: an inner layer comprising nonwoven fiber material configured to contact a wearer's nose and mouth; a middle layer disposed on the inner side of an outer layer and comprising a nanofiber material; the outer layer disposed on the middle layer and comprising nonwoven fiber material, the outer layer configured to contact an external environment, the facemask having upper and lower edges and at least one pleat disposed between at least the upper and lower edges and configured to fit over a chin of the wearer when unfolded, the at least one pleat configured for folding and unfolding the facemask such that when folded the facemask is configured to assume a generally flat storage configuration and when unfolded the facemask is configured to cover at least the nose and mouth of the wearer, wherein the facemask comprises a first malleable stiffening member attached to or within the facemask proximate to the upper edge, the first malleable stiffening member configured to conform the inner layer to at least a nose portion and a cheek portion of the face of the wearer, the facemask also comprising a second malleable stiffening member attached to or within a lower edge of the facemask, the second malleable stiffening member being smaller in length than the first malleable stiffening member, wherein the second malleable stiffening member is configured to be pinched under the chin or jaw area to form a projection, wherein the nano fiber material is electrospun to create a gradient that increases in hydrophilicity in a direction from the inner layer to the middle layer.
- 2. A facemask according to claim 1, wherein the nanofiber material of the middle layer is coated on the inner layer and/or outer layer in one or more discrete coatings.
- 3. A facemask according to claim 1, wherein the nanofiber material is disposed on a nonwoven, spunbond fiber layer of the middle layer.
- 4. A facemask according to claim 1, wherein each nanofiber of the nano fiber material has a diameter comprising at least about 150 times smaller than the diameter of each fiber of nonwoven fiber material.2013381874 07 Feb 2018
- 5. A facemask according to claim 1, wherein the nanofibers layer comprises a metal organic framework disposed on the nanofiber layer, wherein the facemask comprises an antimicrobial disposed in or on one or more layers.
- 6. A facemask according to claim 1, wherein nanofiber material is hydrophilic or hydrophobic and draws moisture away from the inner and/or outer layer such that it enhances filtration efficiency of airborne particulates.
- 7. A facemask according to claim 1, wherein the facemask reduces the pressure differential in the facemask.
- 8. A facemask according to claim 1, wherein the moisture concentration gradient is formed between the inner layer and middle layer with the inner layer having the least moisture and the middle layer having the most moisture when the mask is worn.
- 9. A facemask according to claim 1, wherein the first malleable stiffening member comprises a bend portion indicating at least the inner layer and the nose portion of the facemask by having a portion of the facemask elevated when the facemask is in the folded storage configuration and the facemask comprises a means for securing the facemask to the wearer's face.
- 10. A facemask according to claim 1, wherein the second malleable member comprises a bend portion indicating at least the inner layer and the chin and/or jaw portion of the facemask by having a portion of the facemask elevated when the facemask is in the folded storage configuration.
- 11. A facemask according to claim 1, wherein the first malleable stiffening member is precrimped to conform to the nose and cheek portion of the wearer, and the second malleable stiffening member is pre-crimped to conform to the chin and jaw portion of the face of the wearer.
- 12. A facemask according to claim 1, wherein the facemask comprises a temperature, moisture, and/or pathogen collector disposed on the outer, inner, or middle layer, wherein the collector comprises a removable nanofiber strip.2013381874 07 Feb 2018
- 13. A facemask according to claim 1, wherein each facemask is stackable so that each malleable stiffening member is stacked substantially parallel to each other so that the inner layer of the facemasks all face in the same direction.
- 14. A facemask according to claim 1, wherein the nanofiber material has a fiber diameter range from 10 nm to 1000 nm and has a packing density from about 0.03 gsm to 60 gsm.WO 2014/143039PCT/US2013/0325181/9WO 2014/143039PCT/US2013/0325182/932AFIG. 3WO 2014/143039PCT/US2013/0325184/9FIG. 4WO 2014/143039PCT/US2013/0325185/9WO 2014/143039PCT/US2013/0325186/9FIG. 6WO 2014/143039PCT/US2013/032518LD mWO 2014/143039PCT/US2013/0325188/9TIDAL BREATHING: AeroTeeh II Filtration Data {Hospital Room - ISOcfm IN / ISOcfm OUT] [asjnos] paieyxg Aimtpy %FIG. 8WO 2014/143039PCT/US2013/0325189/9C2k*A ©g iCMITH ££ c<©Φ ctSmm* J**?fZLt *** * * &«* <© Λ -|υ» *·** 0 u. Q m ,j3WTH p $ j*SJ rrnmt <Λ us** cλ**XLΙΛ _iZΙΛΠ3CL, _QM—OCΠ3ΈTO σ·:· .C · · -CZ).· · +S £CO c tl » fr* h· % %> ¢, Y . O> %· Z4>zOrV / ΛZ fo, /v zv/ <h <ih o sh o m © th m m γμ c4 w w © »· K ♦ X ♦ ·* ♦ ♦OOOO OOO© tO H lu3l atnssay vFIG. 9
Applications Claiming Priority (1)
| Application Number | Priority Date | Filing Date | Title |
|---|---|---|---|
| PCT/US2013/032518 WO2014143039A1 (en) | 2013-03-15 | 2013-03-15 | A facemask having one or more nanofiber layers |
Publications (2)
| Publication Number | Publication Date |
|---|---|
| AU2013381874A1 AU2013381874A1 (en) | 2015-10-01 |
| AU2013381874B2 true AU2013381874B2 (en) | 2018-03-01 |
Family
ID=51537383
Family Applications (1)
| Application Number | Title | Priority Date | Filing Date |
|---|---|---|---|
| AU2013381874A Ceased AU2013381874B2 (en) | 2013-03-15 | 2013-03-15 | A facemask having one or more nanofiber layers |
Country Status (6)
| Country | Link |
|---|---|
| US (1) | US20160015098A1 (en) |
| EP (1) | EP2969040A4 (en) |
| CN (1) | CN105246552B (en) |
| AU (1) | AU2013381874B2 (en) |
| NZ (1) | NZ712238A (en) |
| WO (1) | WO2014143039A1 (en) |
Cited By (2)
| Publication number | Priority date | Publication date | Assignee | Title |
|---|---|---|---|---|
| WO2022003433A1 (en) * | 2020-06-29 | 2022-01-06 | Khalifa University of Science and Technology | Multifunctional filter materials |
| US12233290B2 (en) | 2020-04-06 | 2025-02-25 | NuGeneration Technologies, LLC | Multi-layer face mask |
Families Citing this family (115)
| Publication number | Priority date | Publication date | Assignee | Title |
|---|---|---|---|---|
| US9446547B2 (en) | 2012-10-05 | 2016-09-20 | Honeywell International Inc. | Nanofiber filtering material for disposable/reusable respirators |
| US9421707B2 (en) | 2012-10-05 | 2016-08-23 | Honeywell International Inc. | Nanofiber filtering material for disposable/reusable respirators |
| RU2013143795A (en) * | 2013-03-15 | 2015-04-10 | Кеннет Э. мл. КРОКЕТТ | CLOTHES WITH THERMOCHROME DYES FOR MONITORING AND OPTIMIZATION OF EXERCISE EXERCISES |
| US10195542B2 (en) * | 2014-05-15 | 2019-02-05 | Hollingsworth & Vose Company | Surface modified filter media |
| US10399024B2 (en) * | 2014-05-15 | 2019-09-03 | Hollingsworth & Vose Company | Surface modified filter media |
| CN204146394U (en) * | 2014-07-16 | 2015-02-11 | 北京富纳特创新科技有限公司 | PM2.5 mouth mask |
| KR101855683B1 (en) * | 2015-06-01 | 2018-05-09 | 주식회사 아모그린텍 | Mask having adsorption membrane |
| JP6836587B2 (en) * | 2015-10-09 | 2021-03-03 | オーワイ ハルトン グループ リミテッド | Filter device method and system |
| USD819800S1 (en) * | 2015-10-21 | 2018-06-05 | Ronald Tuan | Mask |
| US20170113076A1 (en) * | 2015-10-27 | 2017-04-27 | BioLx, Inc. | Clothing with built-in respiratory filter |
| WO2017091920A1 (en) * | 2015-12-03 | 2017-06-08 | Honeywell International Inc. | Annular unit for moisture management in respiratory mask |
| WO2017152118A1 (en) * | 2016-03-03 | 2017-09-08 | Board Of Regents, University Of Texas System | Usage of melt spun polyolefin fine fibers for skin regeneration and mesh implantation |
| RU2632636C2 (en) * | 2016-03-30 | 2017-10-06 | Алла Ивановна Вдовенко | Medical antimicrobial mask, method for its manufacture and applications |
| US20170281416A1 (en) | 2016-04-04 | 2017-10-05 | MDideaFactory | Apparatus and methods for ear protection and enhancement |
| USD803391S1 (en) * | 2016-07-07 | 2017-11-21 | Prestige Ameritech, Ltd. | Medical face mask |
| USD872256S1 (en) * | 2016-08-17 | 2020-01-07 | Masgick, Inc. | Strapless collapsible respiratory mask |
| CN106883821B (en) * | 2016-11-18 | 2019-02-15 | 北京健翔嘉业日用品有限责任公司 | The compound resistance dirt material of high cumulative and preparation method of modified dyskinetic dust and application |
| US10368601B2 (en) | 2016-11-29 | 2019-08-06 | Performance Apparel Corporation | Modular face mask |
| USD843692S1 (en) | 2016-11-29 | 2019-03-26 | Performance Apparel Corporation | Face mask |
| JP2018172806A (en) * | 2017-03-31 | 2018-11-08 | 興和株式会社 | mask |
| US10850141B2 (en) | 2017-05-11 | 2020-12-01 | Medline Industries, Inc. | Mask with self-adherent securement strap and methods therefor |
| USD837456S1 (en) * | 2017-05-11 | 2019-01-01 | Medline Industries, Inc. | Adjustable mask |
| USD849928S1 (en) * | 2017-05-15 | 2019-05-28 | Jonathan Grover | Facemask |
| CN108939335A (en) * | 2017-05-18 | 2018-12-07 | 中国石油化工股份有限公司 | Anti-poison respirator containing metal organic framework adsorbent material |
| US20180364207A1 (en) * | 2017-06-15 | 2018-12-20 | Accufiber Technologies Llc | Nanofiber-based sensors and apparatus for oxygen measurement, method of making and method of using the same |
| JP7066343B2 (en) * | 2017-06-30 | 2022-05-13 | 小林製薬株式会社 | mask |
| US10856591B2 (en) * | 2017-08-29 | 2020-12-08 | To2M Corporation | Breathable mask capable of transmitting sound |
| US11583448B1 (en) | 2017-08-31 | 2023-02-21 | Peter Arsenault | Eyewear accessory |
| KR200486022Y1 (en) * | 2017-09-08 | 2018-03-23 | 고광석 | Functional mask |
| US11408096B2 (en) | 2017-09-08 | 2022-08-09 | The Board Of Regents Of The University Of Texas System | Method of producing mechanoluminescent fibers |
| CN107594645B (en) * | 2017-10-29 | 2019-02-15 | 安徽省天助纺织科技集团股份有限公司 | Antibacterial anti-skid socks |
| EP3730122B1 (en) * | 2017-12-21 | 2025-02-26 | H&A Pharmachem Co., Ltd | Transdermal delivery complex using metal-organic framework and nanocellulose |
| US12150502B2 (en) | 2018-01-03 | 2024-11-26 | 3M Innovative Properties Company | Respirator including transversely-extending pleat and method of forming same |
| JP6399722B1 (en) * | 2018-01-26 | 2018-10-03 | Dr.C医薬株式会社 | Pharmaceutical preparations and medical devices |
| JP2020002483A (en) * | 2018-06-26 | 2020-01-09 | 王子ホールディングス株式会社 | Mask sheet and mask |
| CN109731483B (en) * | 2018-12-26 | 2020-12-18 | 中国科学院深圳先进技术研究院 | A kind of multi-dimensional hydrophilic and hydrophobic structure composite nanofiber membrane and preparation method thereof |
| USD892410S1 (en) * | 2018-12-27 | 2020-08-04 | Alexandru David | Dust mask |
| WO2020172207A1 (en) | 2019-02-20 | 2020-08-27 | Board Of Regents, University Of Texas System | Handheld/portable apparatus for the production of microfibers, submicron fibers and nanofibers |
| US20220132949A1 (en) * | 2019-03-12 | 2022-05-05 | Ga International | Nasal mask |
| JP7284608B2 (en) * | 2019-03-27 | 2023-05-31 | 大王製紙株式会社 | Mask and its manufacturing method |
| US11707380B2 (en) | 2019-04-15 | 2023-07-25 | Mdideafactory, Inc. | Ear apparatus and methods of use |
| CN110541244A (en) * | 2019-09-05 | 2019-12-06 | 韩建华 | Antibacterial non-woven fabric, preparation method thereof and mask with antibacterial non-woven fabric |
| TWI704000B (en) | 2020-01-31 | 2020-09-11 | 江國慶 | Facial mask and the method of forming the same |
| CN111227347A (en) * | 2020-02-23 | 2020-06-05 | 刘巍 | Special enrichment sampling medical mask for respiratory tract transmitted pathogens |
| CN111202924B (en) * | 2020-03-03 | 2021-02-19 | 青岛大学附属医院 | A medical protective mask |
| CN111349283B (en) * | 2020-03-16 | 2023-04-07 | 广州市聚赛龙工程塑料股份有限公司 | Application of inorganic filled polyolefin material in preparation of all-plastic nose bridge strip of disposable mask |
| CN111380917B (en) * | 2020-03-23 | 2022-11-04 | 艾感科技(广东)有限公司 | Air quality monitoring sensor and monitoring system based on nanofiber membrane |
| WO2021202820A1 (en) * | 2020-03-31 | 2021-10-07 | Matregenix, Inc. | Electrospun nanofibrous polymer membrane for use in personal protective equipment |
| US20230144786A1 (en) * | 2020-04-03 | 2023-05-11 | King's Flair Innovative Marketing Limited | Novel filter material, face mask comprising the same and method of making the same |
| US20210307429A1 (en) * | 2020-04-03 | 2021-10-07 | Nanotek Instruments Group, Llc | Graphene foam-based antiviral filtration element and filtration devices containing same |
| CN115697115A (en) * | 2020-04-09 | 2023-02-03 | 弗利亚水公司 | Article for preventing contamination of contaminant materials |
| US11534515B2 (en) * | 2020-04-15 | 2022-12-27 | Soclean Inc. | Sanitization device and adaptor for use with the same |
| US10973267B1 (en) | 2020-04-16 | 2021-04-13 | Reciprotect Llc | Personal protective and monitoring device |
| US20210324540A1 (en) * | 2020-04-21 | 2021-10-21 | Fermi Research Alliance, Llc | Methods and systems for fabricating nanofiber materials |
| US20230172292A1 (en) * | 2020-04-22 | 2023-06-08 | Kuprion Inc. | Protective coverings and dry wipes comprising metal nanoparticle agglomerates for infection control applications and formation and use thereof |
| CN111602881A (en) * | 2020-04-22 | 2020-09-01 | 苏州联畅特种纤维有限公司 | Gauze mask based on change is reminded to pH value |
| DE102020111137A1 (en) | 2020-04-23 | 2021-10-28 | Hahnemühle FineArt GmbH | Mouth and nose covering |
| US20210331107A1 (en) * | 2020-04-27 | 2021-10-28 | Ion Defense Technologies, LLC | Filtration article for personal protective equipment |
| US11052269B1 (en) * | 2020-05-01 | 2021-07-06 | II Michael D. Greenway | Protective face masks |
| US10966473B1 (en) * | 2020-05-05 | 2021-04-06 | Tri-State Media, Llc | Face mask and liner assembly, system, and methods |
| DE102020112288A1 (en) * | 2020-05-06 | 2021-11-11 | Falke Kgaa | Hygienic mask and method for producing a hygienic mask |
| PE20230022A1 (en) * | 2020-05-13 | 2023-01-09 | Berry Global Inc | FILTRATION MEDIA |
| US20210352983A1 (en) * | 2020-05-13 | 2021-11-18 | Daniel Francis Davidson | Bioactive filter for viral deactivation |
| USD906597S1 (en) * | 2020-05-14 | 2020-12-29 | Ralph Davis Wilson | Mask with tabs and snap |
| US20210354064A1 (en) * | 2020-05-16 | 2021-11-18 | Kenneth Herbert Keuchel | Antimicrobial and Antiviral Protective Barrier |
| US20240197294A2 (en) * | 2020-05-26 | 2024-06-20 | 3M Innovative Properties Company | Compositions, devices and methods for testing inanimate surfaces, groups and individuals for pathogen infection |
| CN111543700B (en) * | 2020-05-26 | 2022-07-26 | 丹阳市伟鹤祥线缆制造有限公司 | Nose bridge strip convenient for confirming direction |
| JP2023531766A (en) * | 2020-06-26 | 2023-07-25 | メソ スケール テクノロジーズ エルエルシー | Global biosurveillance and response system |
| CN112189914A (en) * | 2020-06-29 | 2021-01-08 | 吉祥三宝高科纺织有限公司 | Reusable sterilization and virus killing protective mask and preparation process thereof |
| USD910929S1 (en) * | 2020-06-30 | 2021-02-16 | Joseph Chi Won | Face mask |
| DE102020117359A1 (en) | 2020-07-01 | 2022-01-05 | Medical Ware GbR (vertretungsberechtigte Gesellschafter: Anna-Maria Dittmann, 35708 Haiger, Michael Bedenbender, 35708 Haiger) | Textile material for use as a particle filter in breathing masks, breathing masks comprising the textile material and processes for the production of the textile material |
| CN113951584A (en) * | 2020-07-17 | 2022-01-21 | 北京富纳特创新科技有限公司 | Mask with bacteria removing function |
| RU203648U1 (en) * | 2020-07-23 | 2021-04-14 | Игорь Владимирович Морозов | Four-layer FPP-15 half mask [RINIDI] |
| CN113966886A (en) * | 2020-07-23 | 2022-01-25 | 北京富纳特创新科技有限公司 | Electrostatic adsorption mask |
| US11707706B1 (en) * | 2020-07-30 | 2023-07-25 | Suresh Bhate | Corona disinfecting air filter systems |
| KR20220017163A (en) * | 2020-08-04 | 2022-02-11 | 박이빛 | Mask with ePTFE membrane |
| TW202205985A (en) * | 2020-08-10 | 2022-02-16 | 日商泰合意股份有限公司 | Sanitary mask allowing visual determination of body temperature of a subject |
| WO2022036303A1 (en) * | 2020-08-14 | 2022-02-17 | Taylor Keith H | Virus/biohazard indicating disposable face mask |
| US20230074044A1 (en) * | 2020-09-02 | 2023-03-09 | Michael C Grayson | G- mask |
| USD928936S1 (en) * | 2020-09-16 | 2021-08-24 | Yiwu Yaochun Network Technology Co., Ltd. | Face mask |
| TWI840621B (en) * | 2020-10-05 | 2024-05-01 | 林淨植 | Planar mask |
| US20220110385A1 (en) | 2020-10-08 | 2022-04-14 | Mdideafactory, Inc. | Personal protective equipment and methods |
| WO2022103816A1 (en) * | 2020-11-12 | 2022-05-19 | Milwaukee Electric Tool Corporation | Multilayer face-covering |
| US11064745B1 (en) * | 2020-11-12 | 2021-07-20 | United Arab Emirates University | Face mask with separate inhaling and exhaling portions |
| CN112471640A (en) * | 2020-11-27 | 2021-03-12 | 安徽信息工程学院 | Health monitoring mask |
| EP4176112A4 (en) * | 2020-11-30 | 2025-04-23 | Nanoshields Technology Limited | Formulation and method for producing fiber material with nanofibers and filter containing the fiber material |
| AU2021394480B2 (en) * | 2020-12-08 | 2025-06-05 | Patrice BARBEAU | Polypropylene and polytetrafluoroethylene combination face mask |
| CA3205073A1 (en) * | 2020-12-10 | 2022-06-16 | Claros Technologies Inc. | Antimicrobial and antiviral nanocomposites sheets |
| CN112568521A (en) * | 2020-12-22 | 2021-03-30 | 仙桃市兴荣防护用品有限公司 | Mask machine and mask made by same |
| CN112841770A (en) * | 2020-12-22 | 2021-05-28 | 仙桃市兴荣防护用品有限公司 | Method for producing mask |
| WO2022164977A1 (en) * | 2021-01-27 | 2022-08-04 | Lcp Medical Technologies, Inc. | Facepiece including airflow baffle with an antipathogen surface |
| IL280523B2 (en) * | 2021-01-31 | 2023-08-01 | Sion Biotext Medical Ltd | Filtration element and uses thereof |
| US20220264969A1 (en) * | 2021-02-23 | 2022-08-25 | Lighthouse Worldwide Solutions, Inc. | Fitted face mask apparatus |
| EP4301910A4 (en) | 2021-03-02 | 2024-08-14 | Board of Regents, The University of Texas System | PORTABLE/PORTABLE FINE FIBER MANUFACTURING DEVICE |
| US20220296941A1 (en) * | 2021-03-19 | 2022-09-22 | Brian Greene | Firefighter Respirator Mask Device |
| TWI750075B (en) * | 2021-04-01 | 2021-12-11 | 華森生技有限公司 | Structure of anti-fog mask |
| WO2022231848A1 (en) * | 2021-04-28 | 2022-11-03 | The Board Of Trustees Of The Leland Stanford Junior University | Wearable collector for noninvasive sampling of exhaled breath biomarkers, pathogens or viral loads |
| JP2023000652A (en) * | 2021-06-18 | 2023-01-04 | 株式会社リブドゥコーポレーション | mask |
| WO2023003866A1 (en) * | 2021-07-19 | 2023-01-26 | L&C Protec, Inc. d/b/a Cocoon, Inc. | Nanofiber filter material and respiratory system and air filtering article |
| JP2023016242A (en) * | 2021-07-21 | 2023-02-02 | エスパック株式会社 | sanitary mask |
| WO2023044021A1 (en) * | 2021-09-16 | 2023-03-23 | 3M Innovative Properties Company | Two compartment face mask |
| US20230093340A1 (en) * | 2021-09-20 | 2023-03-23 | The United States Of America, As Represented By The Secretary Of The Navy | Face Aerogel Cover Equipment |
| KR20240097855A (en) * | 2021-10-07 | 2024-06-27 | 메트레제닉스 인코퍼레이티드 | Electrospun nanofiber polymer membranes for use in air filtration applications |
| JP2025511959A (en) * | 2022-04-08 | 2025-04-16 | マティヴ ルクセンブルク | Filtration media and filters containing nanoparticles |
| AU2023249345A1 (en) | 2022-04-08 | 2024-09-12 | LMS Technologies, Inc. | Apertured polymer sheets incorporating nanoparticles |
| JP2025512337A (en) | 2022-04-08 | 2025-04-17 | マティヴ ルクセンブルク | Dual layer gas filters and systems and methods for making them - Patents.com |
| EP4504379A1 (en) | 2022-04-08 | 2025-02-12 | Mativ Luxembourg | Systems and methods for making fibrous materials |
| CN119278083A (en) | 2022-04-08 | 2025-01-07 | 马蒂夫卢森堡公司 | Mechanical and electrostatic filter media |
| US20230347189A1 (en) * | 2022-04-27 | 2023-11-02 | Unm Rainforest Innovations | Independent Control of Effective Pore Diameter and Porosity of Masking Material to Increase Particle Capture and Breathing Easiness |
| USD1104358S1 (en) * | 2022-06-24 | 2025-12-02 | Milo Matteo Mariani | Protective face mask with ear coverings |
| ES2946658A1 (en) * | 2023-01-27 | 2023-07-24 | Univ Valencia Politecnica | TEXTILE TOUCH SENSOR |
| US20250161724A1 (en) * | 2023-05-24 | 2025-05-22 | Breezlyte Llc | Face covering systems and methods of making same |
| USD1038530S1 (en) * | 2023-12-08 | 2024-08-06 | Brian J. Fortier | Protective face mask |
| USD1104359S1 (en) * | 2024-01-09 | 2025-12-02 | Daniel F. Halliday | Combination face mask and beard net |
| USD1044138S1 (en) * | 2024-01-30 | 2024-09-24 | Shirley Doloris Stradford | Nose mask |
Citations (7)
| Publication number | Priority date | Publication date | Assignee | Title |
|---|---|---|---|---|
| US20060094320A1 (en) * | 2004-11-02 | 2006-05-04 | Kimberly-Clark Worldwide, Inc. | Gradient nanofiber materials and methods for making same |
| US20080264258A1 (en) * | 2005-11-10 | 2008-10-30 | El-Marco, S.R.O. | Filter for Removing of Physical and/or Biological Impurities |
| US20080264259A1 (en) * | 2007-04-26 | 2008-10-30 | Leung Wallace W | Nanofiber filter facemasks and cabin filters |
| WO2011151314A1 (en) * | 2010-06-03 | 2011-12-08 | Dsm Ip Assets B.V. | Membrane suitable for blood filtration |
| WO2012030798A1 (en) * | 2010-08-31 | 2012-03-08 | Crosstex International, Inc. | A filter mask having one or more malleable stiffening members |
| WO2012097762A1 (en) * | 2011-01-17 | 2012-07-26 | Royal Natural Medicine, S.R.O. | Face mask and method of its production |
| US20120312734A1 (en) * | 2007-03-15 | 2012-12-13 | Donaldson Company, Inc. | Super absorbent containing web that can act as a filter, absorbent, reactive layer or fuel fuse |
Family Cites Families (18)
| Publication number | Priority date | Publication date | Assignee | Title |
|---|---|---|---|---|
| US5467765A (en) * | 1994-10-06 | 1995-11-21 | Maturaporn; Thawatchai | Disposable face mask with multiple liquid resistant layers |
| JP2003135612A (en) * | 2001-10-31 | 2003-05-13 | Hakugen:Kk | Filter for mask, and mask |
| US6763970B2 (en) * | 2002-11-21 | 2004-07-20 | Kimberly-Clark Worldwide, Inc. | Dispensing system for dispensing face masks from a stack |
| US7036507B2 (en) * | 2003-12-18 | 2006-05-02 | Alpha Pro Tech Inc. | Filter mask |
| US7390760B1 (en) * | 2004-11-02 | 2008-06-24 | Kimberly-Clark Worldwide, Inc. | Composite nanofiber materials and methods for making same |
| TW200704419A (en) * | 2005-07-29 | 2007-02-01 | Champak Entpr Company Ltd | 3D mask structure |
| US20070199567A1 (en) * | 2006-01-25 | 2007-08-30 | Kanzer Steve H | Droplet collection devices and methods to detect and control airborne communicable diseases utilizing rfid |
| TWM333909U (en) * | 2007-09-27 | 2008-06-11 | Ct Healthcare Technology Co Ltd | Gauze mask structure |
| US8061356B2 (en) * | 2008-02-19 | 2011-11-22 | Prestige Ameritech Ltd. | Directional flat face mask |
| KR20100004141A (en) * | 2008-07-03 | 2010-01-13 | 코오롱패션머티리얼 (주) | Dustproof mask |
| US8523971B2 (en) * | 2009-05-07 | 2013-09-03 | The Hong Kong Polytechnic University | Multilayer nanofiber filter |
| US8679218B2 (en) * | 2010-04-27 | 2014-03-25 | Hollingsworth & Vose Company | Filter media with a multi-layer structure |
| ES2759492T3 (en) * | 2010-05-07 | 2020-05-11 | Allegiance Corp | Mask |
| CN103313759A (en) * | 2010-11-05 | 2013-09-18 | 塞路特里斯有限责任合伙公司 | Ergonomic protective air filtration devices and methods for manufacturing the same |
| EP2457618B1 (en) * | 2010-11-26 | 2014-06-18 | Eurofilters N.V. | Face mask with powder absorption material attached to electrostatically charged stapled fibres |
| US20120272967A1 (en) * | 2011-03-02 | 2012-11-01 | Filligent Limited | Mask Structure and Compositions for Use in Decreasing the Transmission of Human Pathogens |
| CN102872654B (en) * | 2012-09-28 | 2015-05-27 | 上海交通大学 | Filtering material for mask and method for manufacturing filtering material |
| CN102872653B (en) * | 2012-09-28 | 2014-10-22 | 上海交通大学 | Antibacterial filtering material for mask and method for manufacturing antibacterial filtering material |
-
2013
- 2013-03-15 EP EP13878371.7A patent/EP2969040A4/en not_active Withdrawn
- 2013-03-15 CN CN201380075761.7A patent/CN105246552B/en not_active Expired - Fee Related
- 2013-03-15 NZ NZ712238A patent/NZ712238A/en not_active IP Right Cessation
- 2013-03-15 WO PCT/US2013/032518 patent/WO2014143039A1/en not_active Ceased
- 2013-03-15 US US14/775,420 patent/US20160015098A1/en not_active Abandoned
- 2013-03-15 AU AU2013381874A patent/AU2013381874B2/en not_active Ceased
Patent Citations (7)
| Publication number | Priority date | Publication date | Assignee | Title |
|---|---|---|---|---|
| US20060094320A1 (en) * | 2004-11-02 | 2006-05-04 | Kimberly-Clark Worldwide, Inc. | Gradient nanofiber materials and methods for making same |
| US20080264258A1 (en) * | 2005-11-10 | 2008-10-30 | El-Marco, S.R.O. | Filter for Removing of Physical and/or Biological Impurities |
| US20120312734A1 (en) * | 2007-03-15 | 2012-12-13 | Donaldson Company, Inc. | Super absorbent containing web that can act as a filter, absorbent, reactive layer or fuel fuse |
| US20080264259A1 (en) * | 2007-04-26 | 2008-10-30 | Leung Wallace W | Nanofiber filter facemasks and cabin filters |
| WO2011151314A1 (en) * | 2010-06-03 | 2011-12-08 | Dsm Ip Assets B.V. | Membrane suitable for blood filtration |
| WO2012030798A1 (en) * | 2010-08-31 | 2012-03-08 | Crosstex International, Inc. | A filter mask having one or more malleable stiffening members |
| WO2012097762A1 (en) * | 2011-01-17 | 2012-07-26 | Royal Natural Medicine, S.R.O. | Face mask and method of its production |
Cited By (2)
| Publication number | Priority date | Publication date | Assignee | Title |
|---|---|---|---|---|
| US12233290B2 (en) | 2020-04-06 | 2025-02-25 | NuGeneration Technologies, LLC | Multi-layer face mask |
| WO2022003433A1 (en) * | 2020-06-29 | 2022-01-06 | Khalifa University of Science and Technology | Multifunctional filter materials |
Also Published As
| Publication number | Publication date |
|---|---|
| US20160015098A1 (en) | 2016-01-21 |
| CN105246552B (en) | 2018-11-06 |
| EP2969040A4 (en) | 2016-11-09 |
| AU2013381874A1 (en) | 2015-10-01 |
| CN105246552A (en) | 2016-01-13 |
| WO2014143039A1 (en) | 2014-09-18 |
| NZ712238A (en) | 2017-12-22 |
| EP2969040A1 (en) | 2016-01-20 |
Similar Documents
| Publication | Publication Date | Title |
|---|---|---|
| AU2013381874B2 (en) | A facemask having one or more nanofiber layers | |
| US20240359041A1 (en) | Filter mask havine one or more malleable stiffening members | |
| US7802572B2 (en) | Face mask | |
| US7290545B2 (en) | Face mask with anti-fog folding | |
| RU2669747C2 (en) | Respirator containing contrast layer | |
| JP4510834B2 (en) | Facial mask with baffle layer for improved fluid resistance | |
| US11083231B1 (en) | Sanitizing face mask | |
| US20040055078A1 (en) | Easy gripping face mask | |
| US20040216744A1 (en) | Disposable face mask | |
| CN104519965A (en) | Conformable face mask | |
| WO2016025266A1 (en) | Strapless facemask with skin friendly adhesive perimeter | |
| JP2006500157A (en) | Easy-to-grip facial mask | |
| US20220062670A1 (en) | Multiple Layer Mask | |
| JP7251473B2 (en) | protective hood | |
| WO2022119866A1 (en) | Personal protective equipment face coverings with inherently ionic material | |
| KR102240451B1 (en) | Fever detection mask | |
| JP6293340B1 (en) | mask | |
| US20210307424A1 (en) | Filtering face-piece respirator | |
| KR20220117849A (en) | Transparent mask for easy face recognition with real-time body temperature measurement function | |
| ES1253989U (en) | FILTERING FACIAL MASK (Machine-translation by Google Translate, not legally binding) | |
| US12042676B2 (en) | Respirator mask | |
| US20250161724A1 (en) | Face covering systems and methods of making same |
Legal Events
| Date | Code | Title | Description |
|---|---|---|---|
| PC1 | Assignment before grant (sect. 113) |
Owner name: CROSSTEX INTERNATIONAL, INC. Free format text: FORMER APPLICANT(S): CONLON, MATTHEW; CROSSTEX INTERNATIONAL, INC. |
|
| FGA | Letters patent sealed or granted (standard patent) | ||
| MK14 | Patent ceased section 143(a) (annual fees not paid) or expired |

