AU2013305428B2 - Membrane support assembly for an energy exchanger - Google Patents
Membrane support assembly for an energy exchanger Download PDFInfo
- Publication number
- AU2013305428B2 AU2013305428B2 AU2013305428A AU2013305428A AU2013305428B2 AU 2013305428 B2 AU2013305428 B2 AU 2013305428B2 AU 2013305428 A AU2013305428 A AU 2013305428A AU 2013305428 A AU2013305428 A AU 2013305428A AU 2013305428 B2 AU2013305428 B2 AU 2013305428B2
- Authority
- AU
- Australia
- Prior art keywords
- fluid
- turbulence
- air
- membranes
- energy
- Prior art date
- Legal status (The legal status is an assumption and is not a legal conclusion. Google has not performed a legal analysis and makes no representation as to the accuracy of the status listed.)
- Active
Links
Classifications
-
- F—MECHANICAL ENGINEERING; LIGHTING; HEATING; WEAPONS; BLASTING
- F28—HEAT EXCHANGE IN GENERAL
- F28F—DETAILS OF HEAT-EXCHANGE AND HEAT-TRANSFER APPARATUS, OF GENERAL APPLICATION
- F28F9/00—Casings; Header boxes; Auxiliary supports for elements; Auxiliary members within casings
- F28F9/007—Auxiliary supports for elements
-
- F—MECHANICAL ENGINEERING; LIGHTING; HEATING; WEAPONS; BLASTING
- F24—HEATING; RANGES; VENTILATING
- F24F—AIR-CONDITIONING; AIR-HUMIDIFICATION; VENTILATION; USE OF AIR CURRENTS FOR SCREENING
- F24F3/00—Air-conditioning systems in which conditioned primary air is supplied from one or more central stations to distributing units in the rooms or spaces where it may receive secondary treatment; Apparatus specially designed for such systems
- F24F3/12—Air-conditioning systems in which conditioned primary air is supplied from one or more central stations to distributing units in the rooms or spaces where it may receive secondary treatment; Apparatus specially designed for such systems characterised by the treatment of the air otherwise than by heating and cooling
- F24F3/14—Air-conditioning systems in which conditioned primary air is supplied from one or more central stations to distributing units in the rooms or spaces where it may receive secondary treatment; Apparatus specially designed for such systems characterised by the treatment of the air otherwise than by heating and cooling by humidification; by dehumidification
- F24F3/1411—Air-conditioning systems in which conditioned primary air is supplied from one or more central stations to distributing units in the rooms or spaces where it may receive secondary treatment; Apparatus specially designed for such systems characterised by the treatment of the air otherwise than by heating and cooling by humidification; by dehumidification by absorbing or adsorbing water, e.g. using an hygroscopic desiccant
- F24F3/1417—Air-conditioning systems in which conditioned primary air is supplied from one or more central stations to distributing units in the rooms or spaces where it may receive secondary treatment; Apparatus specially designed for such systems characterised by the treatment of the air otherwise than by heating and cooling by humidification; by dehumidification by absorbing or adsorbing water, e.g. using an hygroscopic desiccant with liquid hygroscopic desiccants
-
- F—MECHANICAL ENGINEERING; LIGHTING; HEATING; WEAPONS; BLASTING
- F24—HEATING; RANGES; VENTILATING
- F24F—AIR-CONDITIONING; AIR-HUMIDIFICATION; VENTILATION; USE OF AIR CURRENTS FOR SCREENING
- F24F3/00—Air-conditioning systems in which conditioned primary air is supplied from one or more central stations to distributing units in the rooms or spaces where it may receive secondary treatment; Apparatus specially designed for such systems
- F24F3/12—Air-conditioning systems in which conditioned primary air is supplied from one or more central stations to distributing units in the rooms or spaces where it may receive secondary treatment; Apparatus specially designed for such systems characterised by the treatment of the air otherwise than by heating and cooling
- F24F3/14—Air-conditioning systems in which conditioned primary air is supplied from one or more central stations to distributing units in the rooms or spaces where it may receive secondary treatment; Apparatus specially designed for such systems characterised by the treatment of the air otherwise than by heating and cooling by humidification; by dehumidification
- F24F3/147—Air-conditioning systems in which conditioned primary air is supplied from one or more central stations to distributing units in the rooms or spaces where it may receive secondary treatment; Apparatus specially designed for such systems characterised by the treatment of the air otherwise than by heating and cooling by humidification; by dehumidification with both heat and humidity transfer between supplied and exhausted air
-
- F—MECHANICAL ENGINEERING; LIGHTING; HEATING; WEAPONS; BLASTING
- F28—HEAT EXCHANGE IN GENERAL
- F28D—HEAT-EXCHANGE APPARATUS, NOT PROVIDED FOR IN ANOTHER SUBCLASS, IN WHICH THE HEAT-EXCHANGE MEDIA DO NOT COME INTO DIRECT CONTACT
- F28D15/00—Heat-exchange apparatus with the intermediate heat-transfer medium in closed tubes passing into or through the conduit walls ; Heat-exchange apparatus employing intermediate heat-transfer medium or bodies
-
- F—MECHANICAL ENGINEERING; LIGHTING; HEATING; WEAPONS; BLASTING
- F28—HEAT EXCHANGE IN GENERAL
- F28D—HEAT-EXCHANGE APPARATUS, NOT PROVIDED FOR IN ANOTHER SUBCLASS, IN WHICH THE HEAT-EXCHANGE MEDIA DO NOT COME INTO DIRECT CONTACT
- F28D21/00—Heat-exchange apparatus not covered by any of the groups F28D1/00 - F28D20/00
- F28D21/0015—Heat and mass exchangers, e.g. with permeable walls
-
- F—MECHANICAL ENGINEERING; LIGHTING; HEATING; WEAPONS; BLASTING
- F28—HEAT EXCHANGE IN GENERAL
- F28F—DETAILS OF HEAT-EXCHANGE AND HEAT-TRANSFER APPARATUS, OF GENERAL APPLICATION
- F28F13/00—Arrangements for modifying heat-transfer, e.g. increasing, decreasing
- F28F13/06—Arrangements for modifying heat-transfer, e.g. increasing, decreasing by affecting the pattern of flow of the heat-exchange media
- F28F13/12—Arrangements for modifying heat-transfer, e.g. increasing, decreasing by affecting the pattern of flow of the heat-exchange media by creating turbulence, e.g. by stirring, by increasing the force of circulation
-
- F—MECHANICAL ENGINEERING; LIGHTING; HEATING; WEAPONS; BLASTING
- F24—HEATING; RANGES; VENTILATING
- F24F—AIR-CONDITIONING; AIR-HUMIDIFICATION; VENTILATION; USE OF AIR CURRENTS FOR SCREENING
- F24F3/00—Air-conditioning systems in which conditioned primary air is supplied from one or more central stations to distributing units in the rooms or spaces where it may receive secondary treatment; Apparatus specially designed for such systems
- F24F3/12—Air-conditioning systems in which conditioned primary air is supplied from one or more central stations to distributing units in the rooms or spaces where it may receive secondary treatment; Apparatus specially designed for such systems characterised by the treatment of the air otherwise than by heating and cooling
- F24F3/14—Air-conditioning systems in which conditioned primary air is supplied from one or more central stations to distributing units in the rooms or spaces where it may receive secondary treatment; Apparatus specially designed for such systems characterised by the treatment of the air otherwise than by heating and cooling by humidification; by dehumidification
- F24F2003/1435—Air-conditioning systems in which conditioned primary air is supplied from one or more central stations to distributing units in the rooms or spaces where it may receive secondary treatment; Apparatus specially designed for such systems characterised by the treatment of the air otherwise than by heating and cooling by humidification; by dehumidification comprising semi-permeable membrane
Landscapes
- Engineering & Computer Science (AREA)
- Mechanical Engineering (AREA)
- General Engineering & Computer Science (AREA)
- Physics & Mathematics (AREA)
- Thermal Sciences (AREA)
- Chemical & Material Sciences (AREA)
- Combustion & Propulsion (AREA)
- Drying Of Gases (AREA)
- Separation Using Semi-Permeable Membranes (AREA)
- Heat-Exchange Devices With Radiators And Conduit Assemblies (AREA)
Abstract
A membrane support assembly is configured to be used with an energy exchanger, and is configured to be positioned within a fluid channel between first and second membranes. The assembly may include at least one support member configured to span between the first and second membranes, wherein the support member(s) is configured to support the fluid channel, and at least one turbulence promoter connected to the support member(s). The turbulence promoter(s) is configured to promote fluid turbulence within the fluid channel. The fluid turbulence within the fluid channel enhances energy transfer between the fluid channel and the first and second membranes.
Description
F24F 12/00 (2006.01) F28F 9/007 (2006.01) (21) Application No: 2013305428 (22) Date of Filing: 2013.06.26 (87) WIPONo: W014/029004 (30) Priority Data
| (31) | Number 61/774,184 61/692,793 13/797,062 | (32) Date 2013.03.07 2012.08.24 2013.03.12 | (33) Country US US US |
| (43) | Publication Date: | 2014.02.27 | |
| (44) | Accepted Journal Date: | 2018.06.07 |
(71) Applicant(s)
Nortek Air Solutions Canada, Inc.
(72) Inventor(s)
Lepoudre, Phillip Paul;Erb, Blake Norman;Coutu, Kenneth (74) Agent / Attorney
WADESON, Level 27 101 Collins Street, MELBOURNE, VIC, 3000, AU (56) Related Art
WO 2011/161547 A2 US 5120445 A US 5387376 A US 7093649 B2 wo 2014/029004 Al IIIIIIIIIIIIIIIIIIIIIIIIIIIIIIIIIIIIIIIIIIIIIIIIIIIIIIIIIN (12) INTERNATIONAL APPLICATION PUBLISHED UNDER THE PATENT COOPERATION TREATY (PCT) (19) World Intellectual Property Organization
International Bureau (43) International Publication Date 27 February 2014 (27.02.2014)
(10) International Publication Number
WIPOIPCT
WO 2014/029004 Al (51) International Patent Classification:
F28F13/12 (2006.01) F28F 3/08 (2006.01)
F24F12/00 (2006.01) F28F 9/007 (2006.01) (21) International Application Number:
PCT/CA2013/000609 (22) International Filing Date:
June 2013 (26.06.2013) (25) Filing Language: English (26) Publication Language: English (30) Priority Data:
61/692,793 24 August 2012 (24.08.2012) US
61/774,184 7 March 2013 (07.03.2013) US
13/797,062 12 March 2013 (12.03.2013) US (71) Applicant: VENMAR CES INC. [CA/CA]; 1502 D. Quebec Ave., Saskatoon, Saskatchewan S7K 1V7 (CA).
(72) Inventors: LEPOUDRE, Phillip Paul; 153 Mount Allison Cres., Saskatoon, Saskatchewan S7H 4A4 (CA). ERB, Blake Norman; 301 Faldo Cres., Warman, Saskatchewan S0K 0A1 (CA). COUTU, Kenneth; 129 Saskatchewan Cres W, Saskatoon, Saskatchewan S7M 0A2 (CA).
(74) Agent: NEIL S. CLARK; Smart & Biggar, 2300-1055 West Georgia Street, Vancouver, British Columbia V6E 3P3 (CA).
(81) Designated States (unless otherwise indicated, for every kind of national protection available)·. AE, AG, AL, AM, AO, AT, AU, AZ, BA, BB, BG, BH, BN, BR, BW, BY, BZ, CA, CH, CL, CN, CO, CR, CU, CZ, DE, DK, DM, DO, DZ, EC, EE, EG, ES, FI, GB, GD, GE, GH, GM, GT, HN, HR, HU, ID, IL, IN, IS, JP, KE, KG, KN, KP, KR,
KZ, LA, LC, LK, LR, LS, LT, LU, LY, MA, MD, ME,
MG, MK, MN, MW, MX, MY, MZ, NA, NG, NI, NO, NZ, OM, PA, PE, PG, PH, PL, PT, QA, RO, RS, RU, RW, SC, SD, SE, SG, SK, SL, SM, ST, SV, SY, TH, TJ, TM, TN, TR, TT, TZ, UA, UG, US, UZ, VC, VN, ZA, ZM, ZW.
(84) Designated States (unless otherwise indicated, for every kind of regional protection available)·. ARIPO (BW, GH, GM, KE, LR, LS, MW, MZ, NA, RW, SD, SL, SZ, TZ, UG, ZM, ZW), Eurasian (AM, AZ, BY, KG, KZ, RU, TJ, TM), European (AL, AT, BE, BG, CH, CY, CZ, DE, DK, EE, ES, FI, FR, GB, GR, HR, HU, IE, IS, ΓΓ, LT, LU, LV, MC, MK, MT, NL, NO, PL, PT, RO, RS, SE, SI, SK, SM, TR), OAPI (BF, BJ, CF, CG, CI, CM, GA, GN, GQ, GW, KM, ML, MR, NE, SN, TD, TG).
Published:
— with international search report (Art. 21(3)) (54) Title: MEMBRANE SUPPORT ASSEMBLY FOR AN ENERGY EXCHANGER
FIG.1 x—WO
(57) Abstract: A membrane support assembly is configured to be used with an energy exchanger, and is configured to be positioned within a fluid channel between first and second membranes. The assembly may include at least one support member configured to span between the first and second membranes, wherein the support member(s) is configured to support the fluid channel, and at least one turbulence promoter connected to the support member(s). The turbulence promoters) is configured to promote fluid turbulence within the fluid channel. The fluid turbulence within the fluid channel enhances energy transfer between the fluid channel and the first and second membranes.
WO 2014/029004
PCT/CA2013/000609
MEMBRANE SUPPORT ASSEMBLY FOR AN ENERGY EXCHANGER
CROSS REFERENCE TO RELATED APPLICATION [0001] The present application is a Non-Provisional and claims priority from U.S. Provisional Application Serial No. 61/774,184 filed March 7, 2013, entitled “Membrane Support Assembly for an Energy Exchanger, which related and claims priority from U.S. Provisional Application Serial No. 61/692,793 filed August 24, 2012, entitled “Membrane Support Assembly for an Energy Exchanger,” which is hereby expressly incorporated by reference in its entirety.
BACKGROUND OF THE DISCLOSURE [0002] Embodiments of the present disclosure generally relate to an energy exchange system for conditioning air in an enclosed structure, and more particularly, to a membrane support assembly for an energy exchanger.
[0003] Enclosed structures, such as occupied buildings, factories and the like, generally include a heating/ventilation/air conditioning (HVAC) system for conditioning outdoor ventilated and/or recirculated air. The HVAC system typically includes a supply air flow path and an exhaust air flow path. The supply air flow path receives preconditioned air, for example outside air or outside air mixed with re-circulated air, and channels and distributes the pre-conditioned air into the enclosed structure. The preconditioned air is conditioned by the HVAC system to provide a desired temperature and humidity of supply air discharged into the enclosed structure. The exhaust air flow path discharges air back to the environment outside the structure. Without energy recovery, conditioning the supply air typically requires a significant amount of auxiliary energy, particularly in environments having extreme outside air conditions that are much different than the required supply air temperature and humidity. Accordingly, energy exchange or recovery systems are used to recover energy from the exhaust air flow path. Energy recovered from air in the exhaust flow path is utilized to reduce the energy required to condition the supply air.
WO 2014/029004
PCT/CA2013/000609 [0004] Conventional energy exchange systems may utilize energy recovery devices (for example, energy wheels and permeable plate exchangers) or heat exchange devices (for example, heat wheels, plate exchangers, heat-pipe exchangers and runaround heat exchangers) positioned in both the supply air flow path and the return air flow path. Liquid-to-air membrane energy exchangers (LAMEEs) may be fluidly coupled so that a desiccant liquid flows between the LAMEEs in a run-around loop, similar to run-around heat exchangers that typically use aqueous glycol as a coupling fluid.
[0005] In general, a LAMEE transfers heat and moisture between a liquid desiccant solution and air through a thin flexible membrane. A flat plate LAMEE includes a series of alternating liquid desiccant and air channels separated by the membrane. Typically, the pressure of the liquid within a liquid channel between membranes is higher than that of the air pressure outside of the membranes. As such, the flexible membranes tend to outwardly bow or bulge into the air channel(s).
[0006] In order to avoid excessive restriction of the air flow due to membrane bulge, air channels of a LAMEE are relatively wide compared to the liquid channels. Moreover, a support structure is generally provided between membranes to limit the amount of membrane bulge. However, the relatively wide air channels and support structures typically diminish the performance of the LAMEE. In short, resistance to heat and moisture transfer in the air channel is relatively high due to the large air channel width, and the support structure may block a significant amount of membrane transfer area. Accordingly, a large amount of membrane area is needed to meet performance objectives, which adds costs and results in a larger LAMEE. Moreover, the support structure within an air channel may produce an excessive pressure drop, which also adversely affects operating performance and efficiency of the LAMEE.
[0007] The transfer of heat from an air channel to membranes within a parallel plate LAMME is described by the following:
qs = h(Ts - Tm)
WO 2014/029004
PCT/CA2013/000609 where qs is the heat flux at the membrane per unit area, h is the local heat transfer coefficient, Ts is the local membrane temperature, and Tm is the local bulk mean temperature of the air. For a given temperature difference, (Ts - Tm), the rate at which heat is transferred to the membrane depends on the transfer coefficient h, which is related to the air channel width and air flow properties. The transfer of mass (for example, moisture) is governed by an analogous relationship. That is, the mass flux depends on a mass transfer coefficient hm, and the difference in concentration (for example, humidity) between the bulk air flow and the air at the surface. The coefficients h and hm are related to one another through the heat and mass transfer analogy for a given channel geometry and flow condition. The transfer coefficient is described by a dimensionless parameter referred to as the Nusselt number:
Nu = hDh/k where Dh is the hydraulic diameter of the air channel, which is equal to twice the air channel width for parallel plates, and k is the thermal conductivity of the air. A typical LAMEE creates laminar flow (that is, smooth, steady air flow with no turbulence) in the air channels [0008] A known LAMEE includes metal, glass, or plastic rods placed in the air channels to maintain the width of the air channel. Additionally metal screens are used as extra support structures between the membranes and the rods. The metal rods may be sandwiched within an air channel between metal screens, which, in turn, are sandwiched between the rods and the membranes. In general, the longitudinal axes of the rods are parallel to the air flow. Air flow through the air channel is typically laminar. However, the rods typically take up considerable space in the air channel. Additionally, it has been found that laminar air flow through the air channels produces relatively low heat and moisture transfer rates between the air channel and the membrane.
P1276AUPC
2013305428 15 May 2018
SUMMARY OF THE DISCLOSURE [0008a] One aspect of the invention provides an energy exchange system configured to exchange heat and moisture between a first fluid and a second fluid, the energy exchange system comprising:
first and second membranes;
a fluid channel having a width defined between the first and second membranes, the fluid channel configured to allow the first fluid to flow therethrough to contact the first and second membranes to exchange energy between the first fluid and the second fluid on an opposing side of each of the first and second membranes, and the first and second membranes separating the first fluid from the second fluid;
a membrane support assembly positioned within the fluid channel, the membrane support assembly comprising:
a plurality of planar struts, a width of at least one of the planar struts generally 15 equal to the width of the fluid channel, the planar struts configured to span between the first and second membranes and support the fluid channel; and a plurality of turbulence promoters connected to and integrally molded and formed with the plurality of planar struts as a single piece, wherein each of the plurality of turbulence promoters has a central longitudinal axis that is generally perpendicular to a central longitudinal axis of each planar strut, wherein a width of at least one of the turbulence promoters is less than the width of the fluid channel, wherein the plurality of turbulence promoters is configured to promote fluid turbulence within the fluid channel, and wherein the fluid turbulence within the fluid channel enhances transfer of heat and moisture between the fluid channel and the first and second membranes.
[0008b] Another aspect of the invention provides an energy exchange system configured to exchange energy between an air stream and a liquid, the energy exchange system comprising:
first and second membranes defining first and second liquid channels;
P1276AUPC
2013305428 15 May 2018 an air channel having a width defined between the first and second membranes, wherein the air channel is configured to allow air to pass therethrough, and wherein the air contacts the membranes to exchange energy between the air and liquid within the first and second liquid channels; and a membrane support assembly positioned within the air channel between the first and second membranes, the membrane support assembly comprising:
at least one support member comprising a plurality of planar struts spanning the width of the air channel; and a plurality of turbulence promoters connected to the plurality of planar struts, wherein each of the plurality of turbulence promoters has a central longitudinal axis that is generally perpendicular to a central longitudinal axis of each planar strut, wherein a width of at least one of the turbulence promoters is less than the width of the fluid channel, wherein the plurality of turbulence promoters is configured to promote airflow turbulence within the air channel, and wherein the airflow turbulence within the air channel enhances transfer of heat and moisture between the air channel and the first and second membranes.
[0008c] Another aspect of the invention provides an energy exchange system configured to exchange energy between first and second fluids, the energy exchange system comprising:
first and second membranes defining first and second first fluid channels;
a second fluid channel having a width defined between the first and second membranes, wherein the second fluid channel is configured to allow the second fluid to pass therethrough, and wherein the second fluid contacts the membranes to exchange energy between the second fluid and the first fluid within the first and second first fluid channels; and a membrane support assembly positioned within the second fluid channel between the first and second membranes, the membrane support assembly comprising:
a plurality of planar struts configured to span between the first and second membranes, wherein the plurality of planar struts is configured to support the second fluid channel, and a width of at least one of the planar struts is generally equal to the width of the second fluid channel; and
P1276AUPC
2013305428 15 May 2018
5a a plurality of turbulence promoters connected to and integrally molded and formed with the plurality of planar struts as a single piece, wherein each of the plurality of turbulence promoters has a central longitudinal axis that is generally perpendicular to a central longitudinal axis of each planar strut, wherein a width of at least one of the turbulence promoters is less than the width of the second fluid channel, wherein the plurality of turbulence promoters is configured to promote fluid turbulence within the second fluid channel, and wherein the fluid turbulence within the second channel enhances transfer of heat and moisture between the second channel and the first and second membranes.
[0009] Also disclosed is a membrane support assembly configured to be used with an energy exchanger, such as a liquid-to-air membrane energy exchanger, an air-to-air membrane exchanger, a liquid-to-liquid membrane energy exchanger, or even a non-membrane heat exchanger. The membrane support system is configured to be positioned within a fluid channel, such as an air or liquid channel, between first and second membranes. The membrane support assembly may include at least one support member configured to span between the first and second membranes. The support member(s) is configured to maintain the spacing of the fluid channel. The membrane support assembly may also include at least one turbulence promoter connected to the support structure(s). The turbulence promoter(s) is configured to promote fluid turbulence within the fluid channel. The fluid turbulence within the fluid channel enhances energy transfer between the fluid channel and the first and second membranes.
[0010] The turbulence promoter(s) may be perpendicular to the support member(s). The turbulence promoter(s) may be centered about a longitudinal axis of the support member(s). The turbulence promoter(s) may be offset with respect to a longitudinal axis of the support member(s).
The turbulence promoter(s) may connect to the support member(s) proximate a lateral edge of the support member(s). The support member(s) may include at least one planar support strut.
[0011] The turbulence promoter(s) may include a rounded leading end (such as a semielliptical shape) connected to a blunted end through an intermediate portion. Alternatively, the turbulence promoter(s) may include a cylindrical post, a block-shaped post, an elliptical-shaped post, a triangular-shaped post, and/or a perforated screen. The perforated screen may be parallel with a longitudinal axis of the support member(s).
P1276AUPC
2013305428 15 May 2018
5b [0012] The support member(s) may include a waved support member having rounded peaks and valleys. The support member(s) may include a scalloped support member having connection beams connected to connection joints that are wider than the connection beams. The support member(s) may include a plurality of openings formed therethrough.
[0013] The turbulence promoter(s) may include at least one turbulence-promoting connection joint. The support member(s) may include parallel support beams connected to the turbulencepromoting connection joint(s).
[0014] The turbulence promoter may include a perforated screen. The perforated screen may be parallel to a longitudinal axis of the support member(s). Further, the support member(s) may include a perforated screen positioned along at least a portion of the support member(s).
[0015] Also disclosed is an energy exchange system configured to exchange energy between a first fluid, such as an air stream or liquid stream, and a second fluid, such as an air stream or a liquid stream. The energy exchange system may include first and second membranes defining first and second liquid channels, an air channel defined between the first and second membranes, wherein the air channel is configured to allow air to pass therethrough, and wherein the air contacts the membranes to exchange energy between the air and liquid within the first and second liquid channels, and a membrane support assembly positioned within the air channel between the first and second membranes.
BRIEF DESCRIPTION OF THE DRAWINGS [0016] Figure 1 illustrates a schematic view of an energy exchange system, according to an embodiment of the present disclosure.
[0017] Figure 2 illustrates a side perspective view of a liquid-to-air membrane energy exchanger, according to an embodiment of the present disclosure.
[0018] Figure 3 illustrates a front view of panels within an energy exchange cavity of a liquidto-air membrane energy exchanger, according to an embodiment of the present disclosure.
WO 2014/029004
PCT/CA2013/000609 [0019] Figure 4 illustrates a front view of a membrane support assembly between membranes of a liquid-to-air membrane energy exchanger, according to an embodiment of the present disclosure.
[0020] Figure 5 illustrates an isometric view of a membrane support assembly, according to an embodiment of the present disclosure.
[0021] Figure 6 illustrates a front end view of a membrane support assembly, according to an embodiment of the present disclosure.
[0022] Figure 7 illustrates a top view of a membrane support assembly, according to an embodiment of the present disclosure.
[0023] Figure 8 illustrates a turbulence promoter, according to an embodiment of the present disclosure.
[0024] Figure 9 illustrates a turbulence promoter, according to an embodiment of the present disclosure.
[0025] Figure 10 illustrates a turbulence promoter, according to an embodiment of the present disclosure.
[0026] Figure 11 illustrates a turbulence promoter, according to an embodiment of the present disclosure.
[0027] Figure 12 illustrates a top view of a membrane support assembly, according to an embodiment of the present disclosure.
[0028] Figure 13 illustrates a top view of a membrane support assembly, according to an embodiment of the present disclosure.
[0029] Figure 14 illustrates an isometric view of a membrane support assembly, according to an embodiment of the present disclosure.
WO 2014/029004
PCT/CA2013/000609 [0030] Figure 15 illustrates an isometric view of a membrane support assembly, according to an embodiment of the present disclosure.
[0031] Figure 16 illustrates an isometric view of a membrane support assembly, according to an embodiment of the present disclosure.
[0032] Figure 17 illustrates an isometric view of a membrane support assembly, according to an embodiment of the present disclosure.
[0033] Figure 18 illustrates an isometric view of a membrane support assembly, according to an embodiment of the present disclosure.
[0034] Figure 19 illustrates an isometric view of a membrane support assembly, according to an embodiment of the present disclosure.
[0035] Figure 20 illustrates an isometric view of a membrane support assembly, according to an embodiment of the present disclosure.
[0036] Figure 21 illustrates an isometric view of a fluid-to-fluid membrane energy exchanger, according to an embodiment of the present disclosure.
DETAILED DESCRIPTION OF THE DRAWINGS [0037] The foregoing summary, as well as the following detailed description of certain embodiments will be better understood when read in conjunction with the appended drawings. As used herein, an element or step recited in the singular and proceeded with the word a or an should be understood as not excluding plural of said elements or steps, unless such exclusion is explicitly stated. Furthermore, references to one embodiment are not intended to be interpreted as excluding the existence of additional embodiments that also incorporate the recited features. Moreover, unless explicitly stated to the contrary, embodiments comprising or having an element or a plurality of elements having a particular property may include additional such elements not having that property.
WO 2014/029004
PCT/CA2013/000609 [0038] It has been found that heat and mass transfer coefficients can be substantially increased by using a transfer enhancement device, such as a turbulence promoter, within a fluid channel, such as an air channel, of an energy exchange system, such as a LAMEE, or various other fluid-to-fluid energy exchangers, such as an air-to-air energy exchanger, or liquid-to-liquid energy exchanger. In a LAMEE, for example, transfer enhancement can be accomplished through the creation of unsteady flow patterns, such as eddies, vortices, or other such turbulence, in the air flow. The production of turbulence in the air flow increases the transfer potential because eddies, vortices, and other such turbulence vigorously mix the air within an air channel toward a membrane of the LAMEE. A wide variety of solid shapes placed in the air channel can produce eddies and generate mixing in the air flow. An efficient and high performance transfer enhancement device produces a significant enhancement in transfer rates without creating an excessive pressure drop in the air flow. Excessive pressure drop may be detrimental to operating performance and efficiency because a greater amount of fan power may be needed to move air through the air channel. .
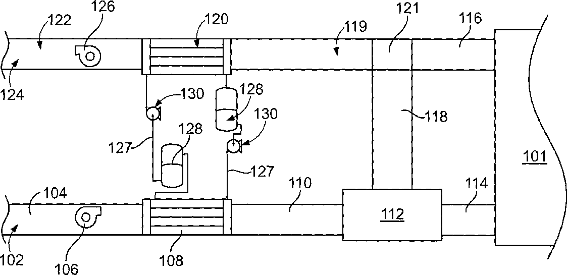
[0039] Figure 1 illustrates a schematic view of an energy exchange system 100, according to an embodiment of the present disclosure. The system 100 is configured to partly or fully condition air supplied to a structure 101. The system 100 may include an inlet 102 for a pre-conditioned air flow path 104. The pre-conditioned air flow path 104 may include outside air, air from a building adjacent to the enclosed structure 101, or air from a room within the enclosed structure 101. Airflow in the pre-conditioned air flow path 104 may be moved through the pre-conditioned air flow path 104 by a fan 106. The fan 106 directs the pre-conditioned air flow through path 104 to a supply air liquidto-air membrane energy exchanger (LAMEE) 108. The supply air LAMEE 108 conditions the pre-conditioned air flow in path 104 to generate a change in air temperature and humidity (for example, to partly or fully pre-condition the air) for a supply air flow condition to be discharged into the enclosed space 101. During a winter mode operation, the supply air LAMEE 108 may condition the pre-conditioned air flow path 104 by adding heat and moisture to the pre-conditioned air in flow path 104. In a summer mode operation, the supply air LAMEE 108 may condition the pre-conditioned
WO 2014/029004
PCT/CA2013/000609 air flow path 104 by removing heat and moisture from the pre-conditioned air in flow path 104. The pre-conditioned air 110 may be channeled to an HVAC system 112 of the enclosed structure 101. The HVAC system 112 may further condition the preconditioned air 110 to generate the desired temperature and humidity for the supply air 114 that is supplied to the enclosed structure 101.
[0040] As shown in Figure 1, one fan 106 may be located upstream of the TAMEE 108. Optionally, the pre-conditioned air flow path 104 may be moved by a down-stream fan and/or by multiple fans or a fan array or before and after each LAMEE in the system.
[0041] Return air 116 is channeled out of the enclosed structure 101. A mass flow rate portion 118 of the return air 116 may be returned to the HVAC system 112. Another mass flow rate portion 119 of the return air 116 may be channeled to a return air or regeneration LAMEE 120. The portions 118 and 119 may be separated with a damper
121 or the like. For example, 80% of the return air 116 may be channeled to the HVAC system 112 and 20% of the return air 116 may be channeled to the return air LAMEE 120. The return air LAMEE 120 exchanges energy between the portion 119 of the return air 116 and the preconditioned air 110 in the supply air LAMEE 108. During a winter mode operation, the return air LAMEE 120 collects heat and moisture from the portion 119 of the return air 116. During a summer mode operation, the return air LAMEE 120 discharges heat and moisture into the portion 119 of the return air 116. The return air LAMEE 120 generates exhaust air 122. The exhaust air 122 is discharged from the structure 101 through an outlet 124. A fan 126 may be provided to move the exhaust air
122 from the return air LAMEE 120. The system 100 may include multiple fans 126 or one or more fan arrays located either up-stream or down-stream (as in Figurel) of the return air LAMEE 120.
[0042] A desiccant fluid 127 flows between the supply air LAMEE 108 and the return air LAMEE 120. The desiccant fluid 127 transfers the heat and moisture between the supply air LAMEE 108 and the return air LAMEE 120. The system 100 may include desiccant storage tanks 128 in fluid communication between the supply air
WO 2014/029004
PCT/CA2013/000609
LAMEE 108 and the return air LAMEE 120. The storage tanks 128 store the desiccant fluid 127 as it is channeled between the supply air LAMEE 108 and the return air LAMEE 120. Optionally, the system 100 may not include both storage tanks 128 or may have more than two storage tanks. Pumps 130 are provided to move the desiccant fluid 127 from the storage tanks 128 to one of the supply air LAMEE 108 or the return air LAMEE 120. The illustrated embodiment includes two pumps 130. Optionally, the system 100 may be configured with as few as one pump 130 or more than two pumps 130. The desiccant fluid 127 flows between the supply air LAMEE 108 and the return air LAMEE 120 to transfer heat and moisture between the conditioned air 110 and the portion 118 of the return air 116.
[0043] Turbulent flow conditions are induced in the air and liquid flow channels of the LAMEEs by selecting a distribution and geometric shape for the air and liquid flow channel spacers in the LAMEE. The turbulence is used to enhance the heat and mass transfer convection coefficients in the air flow channels which may be used to increase the effectiveness and/or decrease the LAMEE size. In certain embodiments, turbulence in the liquid flow channels is facilitated to enhance the bulk mean flow distribution (and eliminate laminar flow fingering and mal-distributions) and increase the convective heat and moisture transfer coefficients (for example, decrease maldistributions in the liquid flows) because the physical effect increases the effectiveness of a given LAMEE.
[0044] Figure 2 illustrates a side perspective view of a LAMEE 300, according to an embodiment of the present disclosure. The LAMEE 300 may be used as the supply air LAMEE 108 and/or the return or exhaust air LAMEE 120 (shown in Figure 1). The LAMEE 300 includes a housing 302 having a body 304. The body 304 includes an air inlet end 306 and an air outlet end 308. A top 310 extends between the air inlet end 306 and the air outlet end 308. A stepped-down top 312 may be positioned at the air inlet end 306. The stepped-down top 312 may be stepped a distance 314 from the top 310. A bottom 316 extends between the air inlet end 306 and the air outlet end 308. A stepped-up bottom 318 may be positioned at the air outlet end 308. The stepped-up
WO 2014/029004
PCT/CA2013/000609 bottom 318 may be stepped a distance 320 from the bottom 316. In certain embodiments, the stepped-up bottom 318 or stepped-down top 312 sections may have different sizes of steps or no step at all. Alternatively, a stepped-up top may be positioned at the air inlet end or a stepped-down bottom may be positioned at the air outlet end.
[0045] An air inlet 322 is positioned at the air inlet end 306. An air outlet 324 is positioned at the air outlet end 308. Sides 326 extend between the air inlet 322 and the air outlet 324.
[0046] An energy exchange cavity 330 extends through the housing 302 of the LAMEE 300. The energy exchange cavity 330 extends from the air inlet end 306 to the air outlet end 308. An air stream 332 is received in the air inlet 322 and flows through the energy exchange cavity 330. The air stream 332 is discharged from the energy exchange cavity 330 at the air outlet 324. The energy exchange cavity 330 includes a plurality of panels 334.
[0047] A desiccant inlet reservoir 338 may be positioned on the stepped-up bottom 318. The desiccant inlet reservoir 338 may have a height 340 equal to the distance 320 between the bottom 316 and the stepped-up bottom 318. Alternatively, the liquid desiccant inlet reservoir 338 may have any height that meets a desired performance of the LAMEE 300. The desiccant inlet reservoir 338 extends a length 339 of the LAMEE body 304. The length 339 that is configured to meet a desired performance of the LAMEE 300. In an embodiment, the desiccant inlet reservoir 338 may extend no more than one fourth of the length 327 of the LAMEE body 304. Alternatively, the desiccant inlet reservoir 338 may extend along one fifth, for example, of the length 327 of the LAMEE body 304.
[0048] The liquid desiccant inlet reservoir 338 is configured to receive desiccant 341 from a storage tank 128 (shown in Figure 1). The desiccant inlet reservoir 338 includes an inlet 342 in flow communication with the storage tank 128. The desiccant 341 is received through the inlet 342. The desiccant inlet reservoir 338 includes an outlet that is in fluid communication with desiccant channels 376 in the
WO 2014/029004
PCT/CA2013/000609 energy exchange cavity 330. The liquid desiccant 341 flows through the outlet into the desiccant channels 376. The desiccant 341 flows along the panels 334 through the desiccant channels 376 to a desiccant outlet reservoir 346.
[0049] The desiccant outlet reservoir 346 may be positioned on the steppeddown top 312 of the housing 302. Alternatively, the desiccant outlet reservoir 346 may be positioned at any location along the top 312 of the LAMEE housing 302 or alternatively on the side of the reservoir with a flow path connected to all the panels. The desiccant outlet reservoir 346 has a height 348 that may be equal to the distance 314 between the top 310 and the stepped-down top 312. The desiccant outlet reservoir 346 extends along the top 312 of the LAMEE housing 302 for a length 350. In an embodiment, the length 350 may be no more than one fourth the length 327 of the flow panel exchange area length 302. In another embodiment, the length 350 may be one fifth, for example, the length 327 of the panel exchange area length 302.
[0050] The desiccant outlet reservoir 346 is configured to receive desiccant 341 from the desiccant channels 376 in the energy exchange cavity 330. The desiccant outlet reservoir 346 includes an inlet 352 in flow communication with the desiccant channels 376. The desiccant 341 is received from the desiccant channels 376 through the inlet 352. The desiccant outlet reservoir 346 includes an outlet 354 that is in fluid communication with a storage tank 128. The desiccant 341 flows through the outlet 354 to the storage tank 128 where the desiccant 341 is stored for use in another LAMEE 300. In an alternative embodiment, the desiccant outlet reservoir 346 may be positioned along the bottom 318 of the LAMEE housing 302 and the desiccant inlet reservoir 338 may be positioned along the top 310 of the housing 302.
[0051] As shown in Figure 2, the LAMEE 300 includes one liquid desiccant outlet reservoir 346 and one liquid desiccant inlet reservoir 338. Alternatively, the LAMEE 300 may include liquid desiccant outlet reservoirs 346 and liquid desiccant inlet reservoirs 338 on the top and bottom of each of each end of a LAMEE 300. A liquid flow controller may direct the liquid flow to either the top or bottom.
WO 2014/029004
PCT/CA2013/000609 [0052] Figure 3 illustrates a front view of the panels 334 within the energy exchange cavity 300 of the LAMEE 300, according to an embodiment of the present disclosure. The liquid flow panels 334 form a liquid desiccant channel 376 that may be confined by semi-permeable membranes 378 on either side and is configured to carry desiccant 341 therethrough. The semi-permeable membranes 378 are arranged in parallel to form air channels 336 with an average flow channel width of 337 and liquid desiccant channels 376 with an average flow channel width of 377. In an embodiment, the semipermeable membranes 378 are spaced to form uniform air channels 336 and liquid desiccant channels 376. The air stream 332 (shown in Figure 2) travels through the air channels 336 between the semi-permeable membranes 378. The desiccant 341 in each desiccant channel 376 exchanges heat and moisture with the air stream 332 in the air channels 336 through the semi-permeable membranes 378. The air channels 336 alternate with the liquid desiccant channels 376. Except for the two side panels of the energy exchange cavity, each air channel 336 may be positioned between adjacent liquid desiccant channels 376.
[0053] In order to minimize or otherwise eliminate the liquid desiccant channels 376 from outwardly bulging or bowing, membrane support assemblies may be positioned within the air channels 336. The membrane support assemblies are configured to support the membranes, as well as promote turbulent air flow between the air channels 336 and the membranes 378.
[0054] The LAMEE 300 may be a LAMEE as described in WO 2011/161547, entitled “Liquid-To-Air Membrane Energy Exchanger,” filed June 22, 2011, which is hereby incorporated by reference in its entirety. Liquid panel assemblies that may be used in the LAMEE 300 are described and shown in U.S. Application No. _, entitled “Liquid Panel Assembly,” filed __, which claims priority to U.S.
Provisional Application No. 61/692,798, entitled “Liquid Panel Assembly,” filed August 24, 2012, both of which are also incorporated by reference in their entireties.
[0055] It is to be understood that the embodiments shown and described with respect Figure 2 (and the entire application, in general) may also be used with respect to
WO 2014/029004
PCT/CA2013/000609 various types of fluid-to-fluid energy exchangers, such as gas-to-gas, liquid-to-liquid, or liquid-to-gas energy exchangers. For example, air channels may be used in place of desiccant channels.
[0056] Figure 4 illustrates a front view of a membrane support assembly 400 between membranes 378 of a LAMEE, according to an embodiment. Optionally, the membrane support assembly 400 may be positioned between membranes in an air-to-air membrane energy exchanger, or a liquid-to-liquid energy exchanger. For example, the membranes 378 may separate air channels, or liquid channels. While the membrane support assembly 400 is shown between membranes of a LAMEE, such as the LAMEE 300, the membrane support assembly 400 may be used with respect to any type of LAMEE or energy exchange system that uses membranes. The LAMEE 300 shown and described with respect to Figure 3 is merely exemplary. Embodiments, such as the membrane support assembly 400 and other membrane support assemblies described in the present application are in no way limited to use with the LAMEE 300.
[0057] The membrane support assembly 400 is positioned within an air channel 336 between neighboring membranes 378 of liquid desiccant channels 376. The membrane support assembly 400 includes support members, such as struts 402 connected to turbulence promoters 404. The turbulence promoters 404 may be perpendicular to the support struts 402. As shown in Figure 4, the support struts 402 may be horizontally oriented, while the eddy turbulence promoters 404 may be vertically oriented.
[0058] Each support strut 402 includes terminal ends 406 and 408 that abut into a membrane 378. In general, the support struts 402 span the width ws of the air channel 336.
[0059] Each turbulence promoter 404 may pass through a central plane C of each support strut 402. The widths wt of the turbulence promoters 404 are less than the widths ws of the support struts 402. The turbulence promoters 404 may be located about a central vertical plane X of the air channel 336. Further, the width wt of the turbulence promoters 404 may extend a short distance on either side of the central plane x.
WO 2014/029004
PCT/CA2013/000609 [0060] The membrane support assembly 400 may be integrally molded and formed as a single piece. For example, the membrane support assembly 400 may be integrally molded and formed of injection molded plastic. Optionally, the membrane support assembly 400 may be formed of metal. Alternatively, the support struts 402 and the turbulence promoters 404 may be separately formed and connected to one another. In an embodiment, the support struts 402 may be formed of metal, while the turbulence promoters 404 may be formed of plastic, or vice versa.
[0061] In operation, the support struts 402 provide bracing support between neighboring membranes 378, while the turbulence promoters 404 cause turbulence in the airflow within the air channel 336. Heat and mass transfer coefficients are substantially increased through the membrane support assembly 400 within the air channel 336. The turbulence promoters 404 generate turbulence, such as unsteady flow patterns, in the air flow, which enhances energy exchange between the air within the air channel 336 and the desiccant within the liquid desiccant channels 376. The turbulence in the air flow increases the transfer potential because eddy and vertical structures vigorously mix the air from the center x of the air channel 336 toward the membranes 378. The turbulence promoters 404 may be a wide variety of solid shapes, as explained below.
[0062] Figure 5 illustrates an isometric view of the membrane support assembly 400, according to an embodiment of the present disclosure. The membrane support assembly 400 may include three parallel support struts 402 and two spaced-apart turbulence promoters 404 that are perpendicular to the support struts 402. However, more or less support struts 402 and turbulence promoters 404 may be used. For example, the membrane support assembly 400 may include two support struts 402 and one turbulence promoter 404. Also, for example, the membrane support assembly 400 may include four support struts 402 and four turbulence promoters 404.
[0063] As shown in Figure 5, bottom ends 410 of the turbulence promoters
410 may extend downwardly past the lower support strut 402a. Similarly, upper ends
411 of the turbulence promoters 410 may extend upwardly past the upper support strut 402b. The lower and upper ends 410 and 411, respectively, of the turbulence promoters
WO 2014/029004
PCT/CA2013/000609
410 may abut against a base and upper wall, respectively, of a housing that defines an energy exchange cavity of a LAMEE. As such, the lower and upper ends 410 and 411 may stabilize and orient the membrane support assembly 400 within the energy exchange cavity of the LAMEE. Optionally, the lower and upper ends 410 and 411 of the turbulence promoters 404 may terminate at an interface with the lower and upper support struts 402a and 402b, respectively. In such an embodiment, the lower and upper support struts 402a and 402b stabilize and orient the membrane support assembly 400 within the energy exchange cavity of the LAMEE.
[0064] The membrane support assembly 400 is positioned and oriented within an air channel between membranes of a LAMEE so that air flow denoted by arrows A flows over and/or across the turbulence promoters 404. Air flow A encounters a leading, rounded (such as a semi-elliptical shape) end 412 of each turbulence promoter 404 and passes around an intermediate portion 414, and creates turbulence, such as eddies and/or vortices, as it passes around a straight-edge blunted end 416 (as shown in Figure 7, in particular). The support struts 402 provide structural support for the air channel, as shown in Figure 4, for example. The support struts 402 prevent neighboring membranes from outwardly bulging or bowing. The support struts 402 maintain the width of the air channel, and also provide support to the flexible membranes.
[0065] The turbulence promoters 404 generate unsteady airflow, eddies, vortices, and other such turbulence in the air stream, which enhances heat and moisture transfer rates between the air and the membranes that define the liquid desiccant channels. The turbulence promoters 404 generate vortex shedding, and the mixing of air (as opposed to laminar flow) increases the heat and moisture transfer rates to the membranes.
[0066] Figure 6 illustrates a front end view of the membrane support assembly 400, according to an embodiment of the present disclosure. The number of support struts 402, and the width distance ds between the support struts 402 may vary depending on a desired level of membrane and air channel support. As shown in Figure 6, as air flow A encounters the leading, rounded end 412 of the turbulence promoter 404,
WO 2014/029004
PCT/CA2013/000609 the air flow A separates around the turbulence promoter 404, and creates turbulence as it passes around and past the turbulence promoter 404.
[0067] Figure 7 illustrates a top view of the membrane support assembly 400, according to an embodiment of the present disclosure. As noted above, each turbulence promoter 404 includes a leading, rounded end 412 integrally connected to an intermediate portion 414, which, in turn, connects to a straight-edge blunted end 416. As the air flow A encounters the leading end 412, the air flow separates around the turbulence promoter 404 at area A’. As separated airflow passes around the intermediate portion 414 and the blunted end 416, the air flow mixes and creates vortices, eddies, and other such turbulence at area A”.
[0068] The leading, rounded end 412 and the straight-edge blunted end 416 provide an efficient shape for turbulence generation. Alternatively, the turbulence promoters 400 may be various other shapes configured to promote turbulence in airflow.
[0069] Figure 8 illustrates a turbulence promoter 500, according to an embodiment of the present disclosure. The turbulence promoter 500 may be connected to one or more support struts 502, as explained above. The turbulence promoter 500 may be a cylindrical post 504. The cylindrical turbulence promoter 500 may be used in place of any of the turbulence promoters described above. The cylindrical shape of the turbulence promoter 500 is a ubiquitous shape, and easy to manufacture.
[0070] Figure 9 illustrates a turbulence promoter 600, according to an embodiment of the present disclosure. The turbulence promoter 600 may be connected to one or more support struts 602, as explained above. The turbulence promoter 600 may be shaped as a square or rectangular member 604, such as a plate, panel, post, or the like. The turbulence promoter 600 may be used in place of any of the turbulence promoters described above. The turbulence promoter 600 may be efficiently formed through extrusion and punching operations.
[0071] Figure 10 illustrates a turbulence promoter 700, according to an embodiment of the present disclosure. The turbulence promoter 700 may be connected to
WO 2014/029004
PCT/CA2013/000609 one or more support struts 702, as explained above. The turbulence promoter 700 may be shaped as an elliptical member 704, such as a panel, plate, post, or the like. The turbulence promoter 600 may be used in place of any of the turbulence promoters described above. The elliptical turbulence promoter 700 is configured for low drag and low pressure drop with respect to the airflow.
[0072] Referring to Figures 8-10, the turbulence promoters may be various shapes and sizes that are not shown. The turbulence promoters are shaped and sized to promote turbulent, as opposed to laminar, airflow.
[0073] Figure 11 illustrates a turbulence promoter 800, according to an embodiment of the present disclosure. The turbulence promoter 800 may be connected to one or more support struts 802, as explained above. The turbulence promoter 800 includes a planar fin 804, such as a mesh screen, that is perpendicular to the support strut 802, and is aligned parallel to the longitudinal axis 806 of the support strut 802. The planar fin 804 may be formed of a metal, such as aluminum. The planar fin 804 may include multiple openings 808, such as holes, perforations, channels, cavities, or the like, formed therethrough. As airflow A passes into and around the turbulence promoter 800, the openings 808 cause the airflow A to swirl, mix, or otherwise pass therethrough, causing turbulence, such as eddies or vortices.
[0074] The openings 808 may be formed through a lattice 810. Alternatively, the openings 808 may be formed at various points in the planar fin 804. Additionally, alternatively, the planar fin 804 may not be parallel with the longitudinal axis 806. Instead, the planar fin 804 may be angled with respect to the longitudinal axis 806. For example, the planar fin 804 may be perpendicular to the longitudinal axis 806. In such an embodiment, the planar fin 804 may or may not span between neighboring membranes within a LAMEE.
[0075] The turbulence promoter 800 is configured to create shear layer destabilization. The turbulence promoter 800 may be used in place of any of the turbulence promoters described above.
WO 2014/029004
PCT/CA2013/000609 [0076] Figure 12 illustrates a top view of a membrane support assembly 900, according to an embodiment of the present disclosure. The membrane support assembly 900 includes support struts 902 connected to turbulence promoters 904. The membrane support assembly 900 is similar to the membrane support assembly shown in Figures 4-7, except that the turbulence promoters 904 may be offset with respect to a longitudinal axis 906 of each support strut 902. As shown, the turbulence promoters 904 alternately offset with respect to the longitudinal axis 906, such that the turbulence promoters 904a and 904c are above the longitudinal axis 906, while the turbulence promoters 904b and 904d are below the longitudinal axis 906. Alternatively, the turbulence promoters 904 may be offset in a non-alternating pattern. For example, the turbulence promoters 904a and 904b may both be above or below the longitudinal axis 906, while the turbulence promoters 904c and 904d may also both be above or below the longitudinal axis 906. Moreover, three of the four turbulence promoters 904 may be offset to one side of the longitudinal axis 906. When the turbulence promoters 904 are offset from the longitudinal axis 906, such that they are closer to a membrane, heat and moisture transfer between the air stream and the membranes may be increased (as compared to when the turbulence promoters are aligned along the longitudinal axis).
[0077] More or less turbulence promoters 904 than those shown may be used. The turbulence promoters 904 may be replaced with any of the turbulence promoters shown in Figures 8-10.
[0078] Figure 13 illustrates a top view of a membrane support assembly 1000, according to an embodiment of the present disclosure. The membrane support assembly 1000 includes support struts 1002 connected to turbulence promoters 1004. The turbulence promoters 1004 may be square posts, as shown. The turbulence promoters 1004 may be proximate lateral edges 1006 of the support struts 1002. In this manner, each turbulence promoters 1004 may directly abut into a membrane, thereby providing additional support to the membrane.
[0079] Neighboring turbulence promoters 1004 may be offset with respect to the longitudinal axis 1008 in an alternating fashion, as shown. Optionally, the turbulence
WO 2014/029004
PCT/CA2013/000609 promoters 1002 may not alternate in a regular repeating fashion. More or less turbulence promoters 1004 than those shown may be used. The turbulence promoters 1004 may be replaced with any of the turbulence promoters shown in Figures 4-10.
[0080] Figure 14 illustrates an isometric view of a membrane support assembly 1100, according to an embodiment of the present disclosure. The membrane support assembly 1100 includes support struts 1102 connected to turbulence promoters 1104. The membrane support assembly 1100 is similar to the membrane support assembly shown in Figures 4-7, except that the support struts 1102 may have a wave shape, with undulating, rounded peaks 1106 and valleys 1108. The waved support struts 1102 provide support to the membranes of a LAMEE over greater distances, as the effective support distance ranges from a peak 1106 to a valley 1108 of an individual support strut 1102. The waved support struts 1102 contact the membranes over a greater distance.
[0081] Any of the turbulence promoters shown in Figures 8-11 may be used in place of the turbulence promoters 1104.
[0082] Figure 15 illustrates an isometric view of a membrane support assembly 1200, according to an embodiment of the present disclosure. The membrane support assembly 1200 includes support struts 1202 connected to turbulence promoters 1204. The membrane support assembly 1200 is similar to the membrane support assembly shown in Figures 4-7, except that the support struts 1202 may be scalloped, with thin connection beams 1206 connected to wider connection joints 1208. The scalloped support struts 1202 are slimmer and lighter than the support struts shown in Figures 4-7, for example. Additionally, the thin connection beams 1206 provide space between the membranes, thereby providing additional space for turbulent airflow to impact the membranes.
[0083] Any of the turbulence promoters shown in Figures 8-11 may be used in place of the turbulence promoters 1204.
WO 2014/029004
PCT/CA2013/000609 [0084] Figure 16 illustrates an isometric view of a membrane support assembly 1300, according to an embodiment of the present disclosure. The membrane support assembly 1300 includes support struts 1302 connected to turbulence promoters 1304. The membrane support assembly 1300 is similar to the membrane support assembly shown in Figures 4-7, except that the support struts 1302 may have openings 1306, such as perforations, holes, channels, cavities, or the like formed therethrough. The openings 1306 promote additional heat and moisture transfer enhancement.
[0085] Openings, such as the openings 1306, may be formed in any of the support struts shown and described with respect to Figures 4-7 and 12-15. Further, any of the turbulence promoters shown in Figures 8-11 may be used in place of the turbulence promoters 1304.
[0086] Figure 17 illustrates an isometric view of a membrane support assembly 1400, according to an embodiment of the present disclosure. Instead of support struts, the membrane support assembly 1400 includes support members, such as horizontal beams 1402 and vertical beams 1404, which provide support to the assembly 1400, connected together and spaced apart through turbulence-promoting connection joints 1403, which may securely connect the support beams 1402 and 1404 together through a snap fit, latch members, or the like.
[0087] The connection joints 1403 and/or the beams 1402 and/or 1404 may promote turbulence. As such, the connection joints 1403, the beams 1402, and the beams 1404 may also be turbulence promoters. The connection joints 1403 and/or the beams 1402 and/or 1404 may be shaped similar to any of the turbulence promoters shown and described with respect to Figures 5-16, for example. The beams 1404 are located at either side of the turbulence-promoting connection joints 1403, and, along with the support beams 1402, may provide support to membranes of a LAMEE. Turbulent airflow may pass between and around the beams 1404, as well as between and around the turbulence-promoting connection joints 1403 and the support beams 1402. Because the support beams 1402 are separated from one another, air gaps 1408 exist between parallel
WO 2014/029004
PCT/CA2013/000609 support beams 1402. Air is able to pass into the air gaps 1408, thereby providing increased heat and moisture transfer between the air stream and the membranes.
[0088] The turbulence-promoting connection joints 1403 may be separate and distinct from the support beams 1402 and the support beams 1404. Alternatively, the connection joints 1403 may be integrally formed with either parallel support beams 1402, and/or parallel support beams 1404. Also, alternatively, the entire membrane support assembly 1400 may be molded and formed as an integral unit.
[0089] Any of the turbulence promoters shown in Figures 8-11 may be used in place of the turbulence promoters, such as the support beams 1402 and 1404 and/or the turbulence-promoting connection joints 1403.
[0090] Figure 18 illustrates an isometric view of a membrane support assembly 1500, according to an embodiment of the present disclosure. The membrane support assembly 1500 includes parallel support struts 1502 connected to turbulence promoters 1504. The turbulence promoters 1504 may be perforated screens having openings 1506 formed therethrough. The turbulence promoters 1504 may be perpendicular to the support struts 1502, and may be generally parallel to longitudinal axes 1508 of the support struts 1502. Alternatively, the turbulence promoters 1504 may be waved or angled with respect to the longitudinal axes 1508. Additionally, any of the turbulence promoters discussed above may be used in addition to the turbulence promoters 1504.
[0091] The turbulence promoters 1504, as perforated screens, create thin wakes or shear layers in the airflow, which may lead to flow instability and an early transition to turbulence. The turbulence promoters 1504 may be formed from rolled expanded screens.
[0092] The membrane support assembly 1500 may be formed of metal. Optionally, the membrane support assembly 1500 may be formed of plastic. Alternatively, the support struts 1502 may be metal or plastic, while the turbulence promoters 1504 may be formed of the other of metal or plastic.
WO 2014/029004
PCT/CA2013/000609 [0093] Figure 19 illustrates an isometric view of a membrane support assembly 1600, according to an embodiment of the present disclosure. The membrane support assembly 1600 includes support beams 1602 and 1604, such as shown in Figure 17 (but without connection joints), connected to turbulence promoters 1606, which may include perforated screens. The support beams 1602, 1604 and the turbulence promoters 1606 may be integrally molded and formed as a unit.
[0094] The perforated screens 1606 may span portions of parallel support beams 1602. The perforated screens 1606 have openings 1608 that promote turbulent airflow therethrough. The perforated screens 1606 may span an entire length of parallel support beams 1602. The perforated screens 1606 may be regularly spaced between portions of the parallel support beams 1602, as shown in Figure 19. The perforated screens may be integrally formed with parallel support struts 1602, thereby connecting the support struts 1602 together.
[0095] The perforated screens 1606 may be used in addition to, or in place of, any of the support struts shown in Figures 4-7 and 12-18. Additionally, any of the turbulence promoters shown in Figures 8-11 may be used with the assembly 1600.
[0096] Figure 20 illustrates an isometric view of a membrane support assembly 2000, according to an embodiment of the present disclosure. The membrane support assembly 2000 includes opposed brackets 2002 and 2004. Each bracket 2002 may be a planar member, such as a fin, plate, sheet, or the like, that includes one or more recesses 2004. Each recess 2004 is configured to receive and retain a securing member 2006, such as a tab, stud, post, column, or other such protuberance, extending from a membrane support 2008. The recesses 2004 are configured to securely lock onto the securing members 2006, thereby securely locking the membrane support 2008 between the opposed brackets 2002 and 2004. The opposed brackets 2002 and 2004 may be configured to be quickly and easily urged into a housing of an energy exchanger, such as a LAMEE, an air-to-air exchanger, or the like. The recesses 2004 and securing members 2006 cooperate to provide interlocking features that securely locks the membrane support 2008 in place. Alternatively, the membrane support 2008 may include the recesses, while
WO 2014/029004
PCT/CA2013/000609 the brackets 2002 and 2004 include the securing members. Also, alternatively, one of the brackets 2002 and 2004 may be integrally formed and molded with the membrane support 2008, while the other is removably secured to the membrane support 2008 through the interlocking features. The interlocking features shown and described with respect to Figure 20 may be used with any of the membrane support assemblies shown and described in the present application.
[0097] Figure 21 illustrates an isometric view of a fluid-to-fluid membrane energy exchanger 2100, according to an embodiment of the present disclosure. The energy exchanger 2100 may include a housing 2102 having a base 2102 connected to upstanding supports 2104, which, in turn, connect to an upper wall 2106. Fluid inlets 2108 and 2110 and fluid outlets 2112 and 2114 are defined between the upstanding supports 2104. As shown in Figure 21, the housing 2102 is formed as a cube, but may be formed as various other shapes.
[0098] A plurality of membranes 2120 are longitudinally aligned from the fluid inlet 2110 to the fluid outlet 2114, while a plurality of membranes 2122 are longitudinally aligned from the fluid inlet 2108 to the fluid outlet 2112. The membranes 2110 define fluid passages 2130 therebetween, while the membranes 2122 define fluid passages 2132 therebetween. The fluid passages 2130 are generally perpendicular to the fluid passages 2132. A fluid 2150, such as a gas (for example, air), passes through the fluid passages 2130 and exchanges sensible and latent energy with fluid 2152, such as a gas (for example, air), that passes through the fluid passages 2132 through the membranes 2120 and 2122. The membranes 2120 and 2122 may be supported with membrane support assemblies, such as any of the membrane support assemblies described above. The energy exchanger 2100 may be an air-to-air membrane energy exchanger, for example.
[0099] As shown and described with respect to Figures 1-21, embodiments of the present disclosure provide membrane support assemblies that create a pathway for air to flow over a surface of a membrane. The membrane support assemblies enhance heat and mass transfer rates within the air channels. The membrane support assemblies ensure
WO 2014/029004
PCT/CA2013/000609 that the air channels prevent the membranes from compressing the air channels, constrain the amount of membrane bulge, and support membrane seals to reduce the risk of leaks.
[00100] Embodiments may be used with various types of energy exchangers, such as liquid-to-air, air-to-air, or liquid-to-liquid membrane energy exchangers. For example, the membrane support assemblies described above may be positioned within an air or liquid channel between membranes, or within a membrane.
[00101] The membrane support assemblies described above allow for less membrane surface area within a LAMEE, for example, as the membrane support assemblies provide turbulent airflow that enhances heat and mass transfer between the air channels and the membranes. Consequently, because the membranes may be smaller, a cost savings is realized in that less material is used. Further, smaller membranes lead to more compact energy exchangers, thereby leading to less packaging volume, and greater system configuration and layout flexibility.
[00102] As explained above, embodiments provide membrane support assemblies that promote turbulent airflow through air channels between membranes. As such, embodiments provide increased heat and moisture transfer rates between the air channels and membranes, as compared to previously-known systems.
[00103] While various spatial and directional terms, such as top, bottom, lower, mid, lateral, horizontal, vertical, front and the like may be used to describe embodiments of the present disclosure, it is understood that such terms are merely used with respect to the orientations shown in the drawings. The orientations may be inverted, rotated, or otherwise changed, such that an upper portion is a lower portion, and vice versa, horizontal becomes vertical, and the like.
[00104] It is to be understood that the above description is intended to be illustrative, and not restrictive. For example, the above-described embodiments (and/or aspects thereof) may be used in combination with each other. In addition, many modifications may be made to adapt a particular situation or material to the teachings of the various embodiments of the disclosure without departing from their scope. While the
WO 2014/029004
PCT/CA2013/000609 dimensions and types of materials described herein are intended to define the parameters of the various embodiments of the disclosure, the embodiments are by no means limiting and are exemplary embodiments. Many other embodiments will be apparent to those of skill in the art upon reviewing the above description. The scope of the various embodiments of the disclosure should, therefore, be determined with reference to the appended claims, along with the full scope of equivalents to which such claims are entitled. In the appended claims, the terms including and in which are used as the plain-English equivalents of the respective terms comprising and wherein. Moreover, in the following claims, the terms first, second, and third, etc. are used merely as labels, and are not intended to impose numerical requirements on their objects. Further, the limitations of the following claims are not written in means-plus-function format and are not intended to be interpreted based on 35 U.S.C. § 112, sixth paragraph, unless and until such claim limitations expressly use the phrase “means for” followed by a statement of function void of further structure.
[00105] This written description uses examples to disclose the various embodiments of the disclosure, including the best mode, and also to enable any person skilled in the art to practice the various embodiments of the disclosure, including making and using any devices or systems and performing any incorporated methods. The patentable scope of the various embodiments of the disclosure is defined by the claims, and may include other examples that occur to those skilled in the art. Such other examples are intended to be within the scope of the claims if the examples have structural elements that do not differ from the literal language of the claims, or if the examples include equivalent structural elements with insubstantial differences from the literal languages of the claims.
P1276AUPC
2013305428 15 May 2018
Claims (6)
- CLAIMS:1. An energy exchange system configured to exchange heat and moisture between a first fluid and a second fluid, the energy exchange system comprising:first and second membranes;5 a fluid channel having a width defined between the first and second membranes, the fluid channel configured to allow the first fluid to flow therethrough to contact the first and second membranes to exchange energy between the first fluid and the second fluid on an opposing side of each of the first and second membranes, and the first and second membranes separating the first fluid from the second fluid;10 a membrane support assembly positioned within the fluid channel, the membrane support assembly comprising:a plurality of planar struts, a width of at least one of the planar struts generally equal to the width of the fluid channel, the planar struts configured to span between the first and second membranes and support the fluid channel; and15 a plurality of turbulence promoters connected to and integrally molded and formed with the plurality of planar struts as a single piece, wherein each of the plurality of turbulence promoters has a central longitudinal axis that is generally perpendicular to a central longitudinal axis of each planar strut, wherein a width of at least one of the turbulence promoters is less than the width of the fluid channel, wherein the plurality of20 turbulence promoters is configured to promote fluid turbulence within the fluid channel, and wherein the fluid turbulence within the fluid channel enhances transfer of heat and moisture between the fluid channel and the first and second membranes.
- 2. The energy exchange system of claim 1, wherein the turbulence promoters have an asymmetrical shape relative to the central longitudinal axis of the turbulence promoter, and the25 asymmetrical shape comprises a rounded leading end connected to a blunted end through an intermediate portion.
- 3. The energy exchange system of claim 1, wherein the turbulence promoters comprise an elliptical-shaped post.P1276AUPC2013305428 15 May 2018
- 4. The energy exchange system of claim 1, wherein the energy exchanger is a liquidto-gas membrane energy exchanger.
- 5. The energy exchange system of claim 1, wherein the energy exchanger is an air-toair membrane energy exchanger.5 6. The energy exchange system of claim 1, wherein the energy exchanger is a liquidto-liquid energy exchanger.7. An energy exchange system configured to exchange energy between an air stream and a liquid, the energy exchange system comprising:first and second membranes defining first and second liquid channels;10 an air channel having a width defined between the first and second membranes, wherein the air channel is configured to allow air to pass therethrough, and wherein the air contacts the membranes to exchange energy between the air and liquid within the first and second liquid channels; and a membrane support assembly positioned within the air channel between the first and15 second membranes, the membrane support assembly comprising:at least one support member comprising a plurality of planar struts spanning the width of the air channel; and a plurality of turbulence promoters connected to the plurality of planar struts, wherein each of the plurality of turbulence promoters has a central longitudinal axis that is20 generally perpendicular to a central longitudinal axis of each planar strut, wherein a width of at least one of the turbulence promoters is less than the width of the fluid channel, wherein the plurality of turbulence promoters is configured to promote airflow turbulence within the air channel, and wherein the airflow turbulence within the air channel enhances transfer of heat and moisture between the air channel and the first and second membranes.25 8. The energy exchange system of claim 7, wherein the turbulence promoters have an asymmetrical shape relative to the central longitudinal axis of the turbulence promoter, and the asymmetrical shape comprises a rounded leading end connected to a blunted end through an intermediate portion.P1276AUPC2013305428 15 May 20189. The energy exchange system of claim 7, wherein the turbulence promoters comprise an elliptical-shaped post.10. An energy exchange system configured to exchange energy between first and second fluids, the energy exchange system comprising:5 first and second membranes defining first and second first fluid channels;a second fluid channel having a width defined between the first and second membranes, wherein the second fluid channel is configured to allow the second fluid to pass therethrough, and wherein the second fluid contacts the membranes to exchange energy between the second fluid and the first fluid within the first and second first fluid channels; and10 a membrane support assembly positioned within the second fluid channel between the first and second membranes, the membrane support assembly comprising:a plurality of planar struts configured to span between the first and second membranes, wherein the plurality of planar struts is configured to support the second fluid channel, and a width of at least one of the planar struts is generally equal to the width of15 the second fluid channel; and a plurality of turbulence promoters connected to and integrally molded and formed with the plurality of planar struts as a single piece, wherein each of the plurality of turbulence promoters has a central longitudinal axis that is generally perpendicular to a central longitudinal axis of each planar strut, wherein a width of at least one of the20 turbulence promoters is less than the width of the second fluid channel, wherein the plurality of turbulence promoters is configured to promote fluid turbulence within the second fluid channel, and wherein the fluid turbulence within the second channel enhances transfer of heat and moisture between the second channel and the first and second membranes.25 11. The energy exchanger system of claim 10, wherein the first fluid includes a gas or liquid, and wherein the second fluid includes the gas or the liquid.12. The energy exchanger system of claim 10, wherein the first fluid includes a first gas or a first liquid, and where the second fluid includes a second gas or a second liquid.P1276AUPC2013305428 15 May 201813. The energy exchanger system of claim 10, wherein the first and second fluids include air.14. The energy exchanger system of claim 10, wherein the turbulence promoters comprise an asymmetrical shape relative to the central longitudinal axis of the turbulence promoter,5 the asymmetrical shape having a semi-elliptical shape at a leading end and a blunted shape at a trailing end.15. The energy exchanger system of claim 10, wherein the turbulence promoters comprise an elliptical shape.WO 2014/029004PCT/CA2013/0006091Z9100FIG. 1219FIG. 2WO 2014/029004PCT/CA2013/0006093303/9FIG. 3FIG. 4WO 2014/029004PCT/CA2013/0006094/9400402402FIG. 6FIG. 7WO 2014/029004PCT/CA2013/000609FIG. 9FIG. 10FIG. 8900904a904b904d1006FIG. 13WO 2014/029004PCT/CA2013/0006091100 6/9120012021204P-1204FIG. 15 W° 2°l4/029004 >o' o'1'Aft λδ?7 λ606 \ λτ λ\\............... /AYg><gb
- 6^ λWO 2014/029004PCT/CA2013/00060920009/9BUttziA ca ca ./7A.Λ2001Ί-ttttlPΓΖ τ2006200820022004FIG. 2021062130FIG. 212104
Priority Applications (1)
| Application Number | Priority Date | Filing Date | Title |
|---|---|---|---|
| AU2018226496A AU2018226496A1 (en) | 2012-08-24 | 2018-09-07 | Membrane support assembly for an energy exchanger |
Applications Claiming Priority (7)
| Application Number | Priority Date | Filing Date | Title |
|---|---|---|---|
| US201261692793P | 2012-08-24 | 2012-08-24 | |
| US61/692,793 | 2012-08-24 | ||
| US201361774184P | 2013-03-07 | 2013-03-07 | |
| US61/774,184 | 2013-03-07 | ||
| US13/797,062 | 2013-03-12 | ||
| US13/797,062 US20140054004A1 (en) | 2012-08-24 | 2013-03-12 | Membrane support assembly for an energy exchanger |
| PCT/CA2013/000609 WO2014029004A1 (en) | 2012-08-24 | 2013-06-26 | Membrane support assembly for an energy exchanger |
Related Child Applications (1)
| Application Number | Title | Priority Date | Filing Date |
|---|---|---|---|
| AU2018226496A Division AU2018226496A1 (en) | 2012-08-24 | 2018-09-07 | Membrane support assembly for an energy exchanger |
Publications (2)
| Publication Number | Publication Date |
|---|---|
| AU2013305428A1 AU2013305428A1 (en) | 2015-02-19 |
| AU2013305428B2 true AU2013305428B2 (en) | 2018-06-07 |
Family
ID=50146974
Family Applications (2)
| Application Number | Title | Priority Date | Filing Date |
|---|---|---|---|
| AU2013305428A Active AU2013305428B2 (en) | 2012-08-24 | 2013-06-26 | Membrane support assembly for an energy exchanger |
| AU2018226496A Abandoned AU2018226496A1 (en) | 2012-08-24 | 2018-09-07 | Membrane support assembly for an energy exchanger |
Family Applications After (1)
| Application Number | Title | Priority Date | Filing Date |
|---|---|---|---|
| AU2018226496A Abandoned AU2018226496A1 (en) | 2012-08-24 | 2018-09-07 | Membrane support assembly for an energy exchanger |
Country Status (8)
| Country | Link |
|---|---|
| US (1) | US20140054004A1 (en) |
| EP (2) | EP3421921B1 (en) |
| CN (2) | CN110345803A (en) |
| AU (2) | AU2013305428B2 (en) |
| CA (1) | CA2880353C (en) |
| DK (2) | DK2893284T3 (en) |
| IN (1) | IN2015DN00892A (en) |
| WO (1) | WO2014029004A1 (en) |
Cited By (11)
| Publication number | Priority date | Publication date | Assignee | Title |
|---|---|---|---|---|
| US10302317B2 (en) | 2010-06-24 | 2019-05-28 | Nortek Air Solutions Canada, Inc. | Liquid-to-air membrane energy exchanger |
| US10584884B2 (en) | 2013-03-15 | 2020-03-10 | Nortek Air Solutions Canada, Inc. | Control system and method for a liquid desiccant air delivery system |
| US10712024B2 (en) | 2014-08-19 | 2020-07-14 | Nortek Air Solutions Canada, Inc. | Liquid to air membrane energy exchangers |
| US10782045B2 (en) | 2015-05-15 | 2020-09-22 | Nortek Air Solutions Canada, Inc. | Systems and methods for managing conditions in enclosed space |
| US10928082B2 (en) | 2011-09-02 | 2021-02-23 | Nortek Air Solutions Canada, Inc. | Energy exchange system for conditioning air in an enclosed structure |
| US11300364B2 (en) | 2013-03-14 | 2022-04-12 | Nortek Air Solutions Canada, Ine. | Membrane-integrated energy exchange assembly |
| US11408681B2 (en) | 2013-03-15 | 2022-08-09 | Nortek Air Solations Canada, Iac. | Evaporative cooling system with liquid-to-air membrane energy exchanger |
| US11732972B2 (en) | 2012-08-24 | 2023-08-22 | Nortek Air Solutions Canada, Inc. | Liquid panel assembly |
| US11892193B2 (en) | 2017-04-18 | 2024-02-06 | Nortek Air Solutions Canada, Inc. | Desiccant enhanced evaporative cooling systems and methods |
| US12038198B2 (en) | 2015-05-15 | 2024-07-16 | Nortek Air Solutions Canada, Inc. | Systems and methods for providing cooling to a heat load |
| US12385654B2 (en) | 2017-04-18 | 2025-08-12 | Nortek Air Solutions Canada, Inc. | Systems and methods for managing conditions in enclosed space |
Families Citing this family (23)
| Publication number | Priority date | Publication date | Assignee | Title |
|---|---|---|---|---|
| US9130503B2 (en) | 2009-05-08 | 2015-09-08 | 7Ac Technologies, Inc. | Solar energy systems |
| ES2752069T3 (en) | 2010-05-25 | 2020-04-02 | 7Ac Tech Inc | Methods and systems using liquid desiccants for air conditioning and other processes |
| US9283518B2 (en) * | 2010-09-07 | 2016-03-15 | Dais Analytic Corporation | Fluid treatment systems and methods using selective transfer membranes |
| US8915092B2 (en) | 2011-01-19 | 2014-12-23 | Venmar Ces, Inc. | Heat pump system having a pre-processing module |
| EP3686538A1 (en) | 2012-06-11 | 2020-07-29 | 7AC Technologies, Inc. | Methods and systems for turbulent, corrosion resistant heat exchangers |
| US9506697B2 (en) | 2012-12-04 | 2016-11-29 | 7Ac Technologies, Inc. | Methods and systems for cooling buildings with large heat loads using desiccant chillers |
| WO2014134473A1 (en) | 2013-03-01 | 2014-09-04 | 7Ac Technologies, Inc. | Desiccant air conditioning methods and systems |
| US9109808B2 (en) | 2013-03-13 | 2015-08-18 | Venmar Ces, Inc. | Variable desiccant control energy exchange system and method |
| US9772124B2 (en) | 2013-03-13 | 2017-09-26 | Nortek Air Solutions Canada, Inc. | Heat pump defrosting system and method |
| WO2014152888A1 (en) | 2013-03-14 | 2014-09-25 | 7 Ac Technologies, Inc. | Methods and systems for liquid desiccant air conditioning system retrofit |
| US20140260399A1 (en) | 2013-03-14 | 2014-09-18 | 7Ac Technologies, Inc. | Methods and systems for mini-split liquid desiccant air conditioning |
| KR102302927B1 (en) | 2013-06-12 | 2021-09-17 | 에머슨 클리메이트 테크놀로지즈 인코퍼레이티드 | In-ceiling liquid desiccant air conditioning system |
| EP3120083B1 (en) | 2014-03-20 | 2020-07-01 | 7AC Technologies, Inc. | Rooftop liquid desiccant systems and methods |
| CN104006514B (en) * | 2014-05-13 | 2017-02-15 | 珠海格力电器股份有限公司 | High-molecular polymerization membrane assembly and air conditioning system |
| EP3667190A1 (en) | 2014-11-21 | 2020-06-17 | 7AC Technologies, Inc. | Methods and systems for mini-split liquid desiccant air conditioning |
| CN108027221B (en) | 2015-06-26 | 2021-03-09 | 北狄空气应对加拿大公司 | Three-fluid liquid-gas film energy exchanger |
| EP4510795A3 (en) * | 2016-03-08 | 2025-04-16 | Nortek Air Solutions Canada, Inc. | Systems and methods for providing cooling to a heat load |
| WO2017175137A1 (en) * | 2016-04-05 | 2017-10-12 | King Abdullah University Of Science And Technology | Fouling resistant membrane spacers |
| US10941948B2 (en) | 2017-11-01 | 2021-03-09 | 7Ac Technologies, Inc. | Tank system for liquid desiccant air conditioning system |
| WO2019089957A1 (en) | 2017-11-01 | 2019-05-09 | 7Ac Technologies, Inc. | Methods and apparatus for uniform distribution of liquid desiccant in membrane modules in liquid desiccant air-conditioning systems |
| US11022330B2 (en) | 2018-05-18 | 2021-06-01 | Emerson Climate Technologies, Inc. | Three-way heat exchangers for liquid desiccant air-conditioning systems and methods of manufacture |
| CN109539637A (en) * | 2018-11-01 | 2019-03-29 | 青岛海尔空调电子有限公司 | Film evaporative condenser |
| US20250067517A1 (en) * | 2023-08-21 | 2025-02-27 | Copeland Lp | Three-way heat exchange module having uniform fluid distribution |
Citations (4)
| Publication number | Priority date | Publication date | Assignee | Title |
|---|---|---|---|---|
| US5120445A (en) * | 1988-07-26 | 1992-06-09 | The British Petroleum Co. P.L.C. | Mixing apparatus and method |
| US5387376A (en) * | 1991-01-17 | 1995-02-07 | Galipag | Process and apparatus for mass transfer between liquid and gaseous media |
| US7093649B2 (en) * | 2004-02-10 | 2006-08-22 | Peter Dawson | Flat heat exchanger plate and bulk material heat exchanger using the same |
| WO2011161547A2 (en) * | 2010-06-24 | 2011-12-29 | Venmar, Ces Inc. | Liquid-to-air membrane energy exchanger |
Family Cites Families (18)
| Publication number | Priority date | Publication date | Assignee | Title |
|---|---|---|---|---|
| US1015831A (en) * | 1911-02-27 | 1912-01-30 | Eduard Pielock | Heat-exchanging device. |
| US3467072A (en) * | 1966-08-31 | 1969-09-16 | Energy Transform | Combustion optimizing devices and methods |
| DE3521914A1 (en) * | 1984-06-20 | 1986-01-02 | Showa Aluminum Corp., Sakai, Osaka | HEAT EXCHANGER IN WING PANEL DESIGN |
| US4941324A (en) * | 1989-09-12 | 1990-07-17 | Peterson John L | Hybrid vapor-compression/liquid desiccant air conditioner |
| US5351497A (en) * | 1992-12-17 | 1994-10-04 | Gas Research Institute | Low-flow internally-cooled liquid-desiccant absorber |
| CA2100734C (en) * | 1993-07-16 | 1998-05-26 | Normand Verret | Heat exchanger for dusty environment |
| TW255835B (en) * | 1994-01-07 | 1995-09-01 | Kubota Kk | Filtration membrane module |
| JP3322292B2 (en) * | 1995-10-23 | 2002-09-09 | 日立電線株式会社 | Heat transfer tube |
| US6820682B2 (en) * | 2000-12-19 | 2004-11-23 | Denso Corporation | Heat exchanger |
| EP1922137B1 (en) * | 2005-09-09 | 2017-07-26 | Tangenx Technology Corporation | Laminated cassette device |
| DE202006009464U1 (en) * | 2005-09-23 | 2006-09-14 | Pierburg Gmbh | Heat exchanger recovering waste heat from exhaust or flue gases, separates flows using wall covered with fins having sharp leading edges and blunt trailing edges |
| US20080066888A1 (en) * | 2006-09-08 | 2008-03-20 | Danaher Motion Stockholm Ab | Heat sink |
| WO2008037079A1 (en) * | 2006-09-29 | 2008-04-03 | Dpoint Technologies Inc. | Pleated heat and humidity exchanger with flow field elements |
| DE102008036222B3 (en) * | 2008-08-02 | 2009-08-06 | Pierburg Gmbh | Heat transfer unit for an internal combustion engine |
| ES2752069T3 (en) * | 2010-05-25 | 2020-04-02 | 7Ac Tech Inc | Methods and systems using liquid desiccants for air conditioning and other processes |
| CN201906567U (en) * | 2010-12-15 | 2011-07-27 | 厦门征成膜清洗科技有限公司 | Rolled membrane screen structure |
| US9605913B2 (en) * | 2011-05-25 | 2017-03-28 | Saudi Arabian Oil Company | Turbulence-inducing devices for tubular heat exchangers |
| CN202202899U (en) * | 2011-06-30 | 2012-04-25 | 中航商用航空发动机有限责任公司 | Turbine cooling blade and turbine thereof |
-
2013
- 2013-03-12 US US13/797,062 patent/US20140054004A1/en not_active Abandoned
- 2013-06-26 DK DK13830940.6T patent/DK2893284T3/en active
- 2013-06-26 AU AU2013305428A patent/AU2013305428B2/en active Active
- 2013-06-26 CN CN201910516006.7A patent/CN110345803A/en active Pending
- 2013-06-26 EP EP18153408.2A patent/EP3421921B1/en active Active
- 2013-06-26 CA CA2880353A patent/CA2880353C/en active Active
- 2013-06-26 EP EP13830940.6A patent/EP2893284B1/en active Active
- 2013-06-26 DK DK18153408.2T patent/DK3421921T3/en active
- 2013-06-26 CN CN201380042926.0A patent/CN104541122A/en active Pending
- 2013-06-26 IN IN892DEN2015 patent/IN2015DN00892A/en unknown
- 2013-06-26 WO PCT/CA2013/000609 patent/WO2014029004A1/en not_active Ceased
-
2018
- 2018-09-07 AU AU2018226496A patent/AU2018226496A1/en not_active Abandoned
Patent Citations (4)
| Publication number | Priority date | Publication date | Assignee | Title |
|---|---|---|---|---|
| US5120445A (en) * | 1988-07-26 | 1992-06-09 | The British Petroleum Co. P.L.C. | Mixing apparatus and method |
| US5387376A (en) * | 1991-01-17 | 1995-02-07 | Galipag | Process and apparatus for mass transfer between liquid and gaseous media |
| US7093649B2 (en) * | 2004-02-10 | 2006-08-22 | Peter Dawson | Flat heat exchanger plate and bulk material heat exchanger using the same |
| WO2011161547A2 (en) * | 2010-06-24 | 2011-12-29 | Venmar, Ces Inc. | Liquid-to-air membrane energy exchanger |
Cited By (17)
| Publication number | Priority date | Publication date | Assignee | Title |
|---|---|---|---|---|
| US12111072B2 (en) | 2010-06-24 | 2024-10-08 | Nortek Air Solutions Canada, Inc. | Liquid-to-air membrane energy exchanger |
| US10302317B2 (en) | 2010-06-24 | 2019-05-28 | Nortek Air Solutions Canada, Inc. | Liquid-to-air membrane energy exchanger |
| US11761645B2 (en) | 2011-09-02 | 2023-09-19 | Nortek Air Solutions Canada, Inc. | Energy exchange system for conditioning air in an enclosed structure |
| US10928082B2 (en) | 2011-09-02 | 2021-02-23 | Nortek Air Solutions Canada, Inc. | Energy exchange system for conditioning air in an enclosed structure |
| US11732972B2 (en) | 2012-08-24 | 2023-08-22 | Nortek Air Solutions Canada, Inc. | Liquid panel assembly |
| US11300364B2 (en) | 2013-03-14 | 2022-04-12 | Nortek Air Solutions Canada, Ine. | Membrane-integrated energy exchange assembly |
| US11598534B2 (en) | 2013-03-15 | 2023-03-07 | Nortek Air Solutions Canada, Inc. | Control system and method for a liquid desiccant air delivery system |
| US11408681B2 (en) | 2013-03-15 | 2022-08-09 | Nortek Air Solations Canada, Iac. | Evaporative cooling system with liquid-to-air membrane energy exchanger |
| US10584884B2 (en) | 2013-03-15 | 2020-03-10 | Nortek Air Solutions Canada, Inc. | Control system and method for a liquid desiccant air delivery system |
| US10712024B2 (en) | 2014-08-19 | 2020-07-14 | Nortek Air Solutions Canada, Inc. | Liquid to air membrane energy exchangers |
| US11143430B2 (en) | 2015-05-15 | 2021-10-12 | Nortek Air Solutions Canada, Inc. | Using liquid to air membrane energy exchanger for liquid cooling |
| US10782045B2 (en) | 2015-05-15 | 2020-09-22 | Nortek Air Solutions Canada, Inc. | Systems and methods for managing conditions in enclosed space |
| US11815283B2 (en) | 2015-05-15 | 2023-11-14 | Nortek Air Solutions Canada, Inc. | Using liquid to air membrane energy exchanger for liquid cooling |
| US12038198B2 (en) | 2015-05-15 | 2024-07-16 | Nortek Air Solutions Canada, Inc. | Systems and methods for providing cooling to a heat load |
| US12442558B2 (en) | 2015-05-15 | 2025-10-14 | Nortek Air Solutions Canada, Inc. | Using liquid to air membrane energy exchanger for liquid cooling |
| US11892193B2 (en) | 2017-04-18 | 2024-02-06 | Nortek Air Solutions Canada, Inc. | Desiccant enhanced evaporative cooling systems and methods |
| US12385654B2 (en) | 2017-04-18 | 2025-08-12 | Nortek Air Solutions Canada, Inc. | Systems and methods for managing conditions in enclosed space |
Also Published As
| Publication number | Publication date |
|---|---|
| EP3421921A1 (en) | 2019-01-02 |
| IN2015DN00892A (en) | 2015-06-12 |
| WO2014029004A1 (en) | 2014-02-27 |
| EP2893284B1 (en) | 2018-01-31 |
| US20140054004A1 (en) | 2014-02-27 |
| CN104541122A (en) | 2015-04-22 |
| DK2893284T3 (en) | 2018-05-22 |
| DK3421921T3 (en) | 2020-04-06 |
| CA2880353C (en) | 2020-09-08 |
| CA2880353A1 (en) | 2014-02-27 |
| AU2018226496A1 (en) | 2018-09-27 |
| AU2013305428A1 (en) | 2015-02-19 |
| CN110345803A (en) | 2019-10-18 |
| EP2893284A1 (en) | 2015-07-15 |
| EP2893284A4 (en) | 2016-08-03 |
| EP3421921B1 (en) | 2020-03-04 |
Similar Documents
| Publication | Publication Date | Title |
|---|---|---|
| AU2013305428B2 (en) | Membrane support assembly for an energy exchanger | |
| AU2013305427B2 (en) | Liquid panel assembly | |
| CA2825904C (en) | Planar plate core and method of assembly | |
| WO2016207864A1 (en) | Three-fluid liquid to air membrane energy exchanger | |
| CN101266109A (en) | Total heat exchanger and manufacturing method thereof | |
| US20170211826A1 (en) | Improved enthalpy exchanger | |
| CN207662252U (en) | Fin structure and heat exchanger comprising same | |
| JP2006250372A (en) | Total heat exchanger | |
| US10502501B1 (en) | Louvered elliptical tube micro-lattice heat exchangers | |
| JP2005291618A (en) | Total enthalpy heat exchange element and total enthalpy heat exchanger | |
| CN108885020A (en) | For installation into the installation elements in the device for the gas for needing humidification, cleaning and/or cooling liquid, especially such as air | |
| CN1745288A (en) | Air/water heat exchanger with partial water ways | |
| JP6897635B2 (en) | Water heat exchanger | |
| JP3250359U (en) | Heat exchangers and air conditioning units | |
| JP2006071150A (en) | Heat exchanging element | |
| CN217979100U (en) | Wet curtain structure and refrigeration structure with same | |
| CN216522487U (en) | Heat pump set capable of uniformly distributing air | |
| EP4211416B1 (en) | Recuperator module for ventilation systems | |
| CN112121552A (en) | Air filter assembly | |
| WO2025227266A1 (en) | Vortex generator for energy exchangers | |
| JPH04113176A (en) | Laminated heat exchanger | |
| JPH09196578A (en) | Heat exchanging element | |
| JPH09196577A (en) | Heat exchanging element |
Legal Events
| Date | Code | Title | Description |
|---|---|---|---|
| FGA | Letters patent sealed or granted (standard patent) |

