[go: up one dir, main page]

JP6045150B2 - Electronic devices, modules and systems - Google Patents

Electronic devices, modules and systems Download PDF

Info

Publication number
JP6045150B2
JP6045150B2 JP2011284610A JP2011284610A JP6045150B2 JP 6045150 B2 JP6045150 B2 JP 6045150B2 JP 2011284610 A JP2011284610 A JP 2011284610A JP 2011284610 A JP2011284610 A JP 2011284610A JP 6045150 B2 JP6045150 B2 JP 6045150B2
Authority
JP
Japan
Prior art keywords
circuit
impedance
electronic device
communication
switch
Prior art date
Legal status (The legal status is an assumption and is not a legal conclusion. Google has not performed a legal analysis and makes no representation as to the accuracy of the status listed.)
Expired - Fee Related
Application number
JP2011284610A
Other languages
Japanese (ja)
Other versions
JP2013135537A (en
Inventor
三品 浩一
浩一 三品
賢史 森
賢史 森
Current Assignee (The listed assignees may be inaccurate. Google has not performed a legal analysis and makes no representation or warranty as to the accuracy of the list.)
Tokin Corp
Original Assignee
NEC Tokin Corp
Priority date (The priority date is an assumption and is not a legal conclusion. Google has not performed a legal analysis and makes no representation as to the accuracy of the date listed.)
Filing date
Publication date
Application filed by NEC Tokin Corp filed Critical NEC Tokin Corp
Priority to JP2011284610A priority Critical patent/JP6045150B2/en
Publication of JP2013135537A publication Critical patent/JP2013135537A/en
Application granted granted Critical
Publication of JP6045150B2 publication Critical patent/JP6045150B2/en
Expired - Fee Related legal-status Critical Current
Anticipated expiration legal-status Critical

Links

Images

Landscapes

  • Charge And Discharge Circuits For Batteries Or The Like (AREA)

Description

本発明は、通信と非接触電力伝送における受電とに共用するアンテナを備える電子機器やモジュールに関する。また、本発明は、その電子機器やモジュールを備えるシステムに関する。   The present invention relates to an electronic device or module including an antenna shared for communication and power reception in non-contact power transmission. The present invention also relates to a system including the electronic device or module.

この種の電子機器を備えるシステムとしては例えば特許文献1に開示されたものがある。特許文献1における二次側機器において、一つのコイルからなるアンテナに対して無線通信部と電力受電部とがスイッチにより選択的に接続される。   An example of a system including this type of electronic device is disclosed in Patent Document 1. In the secondary device in Patent Document 1, the wireless communication unit and the power receiving unit are selectively connected to the antenna including one coil by a switch.

特開2010−130835号公報JP 2010-130835 A

本発明は、高い受信効率と高い受電効率を実現可能な電子機器やモジュールを提供することを目的とする。   An object of this invention is to provide the electronic device and module which can implement | achieve high receiving efficiency and high power receiving efficiency.

本発明は、第1の電子機器として、
通信と非接触電力伝送とに共用されるアンテナと、前記アンテナに接続されたインピーダンスを可変とするインピーダンス調整回路と、前記通信時と前記非接触電力伝送時とで前記インピーダンスを異ならせるよう前記インピーダンス調整回路を制御する制御回路とを備える電子機器を提供する。
The present invention provides the first electronic device as
An antenna shared for communication and non-contact power transmission, an impedance adjustment circuit for making the impedance connected to the antenna variable, and the impedance to make the impedance different between the communication and the non-contact power transmission Provided is an electronic device including a control circuit for controlling an adjustment circuit.

また、本発明は、第2の電子機器として、第1の電子機器であって、
前記インピーダンス調整回路は、2つの調整入力部と、2つの調整出力部と、前記調整入力部と前記調整出力部とをそれぞれ結ぶ2つのラインとを少なくとも有していると共に、前記2つのライン間に接続された並列コンデンサと、前記ライン上に設けられた直列コンデンサと、スイッチを有し且つ前記2つのライン間に接続された可変インピーダンス回路とを備えており、
前記制御回路は、前記通信時と前記非接触電力伝送時とで前記スイッチを切り替えて、前記可変インピーダンス回路により前記2つのライン間に付加される付加インピーダンスを変更する
電子機器を提供する。
Moreover, this invention is a 1st electronic device as a 2nd electronic device,
The impedance adjustment circuit includes at least two adjustment input units, two adjustment output units, and two lines respectively connecting the adjustment input unit and the adjustment output unit, and between the two lines. A parallel capacitor connected to the line, a series capacitor provided on the line, and a variable impedance circuit having a switch and connected between the two lines,
The control circuit provides an electronic device that changes the additional impedance added between the two lines by the variable impedance circuit by switching the switch between the communication and the non-contact power transmission.

また、本発明は、第3の電子機器として、第2の電子機器であって、
前記可変インピーダンス回路は、一端を前記2つのラインの一方に接続された第1インピーダンスと、一端を前記2つのラインの他方に接続された第2インピーダンスとを更に備えており、
前記スイッチは、前記第1インピーダンスの他端と前記第2インピーダンスの他端との間に接続されている
電子機器を提供する。
Moreover, this invention is a 2nd electronic device as a 3rd electronic device,
The variable impedance circuit further includes a first impedance having one end connected to one of the two lines, and a second impedance having one end connected to the other of the two lines,
The switch provides an electronic device connected between the other end of the first impedance and the other end of the second impedance.

また、本発明は、第4の電子機器として、第3の電子機器であって、
前記スイッチは、固定電位を供給されるセンタータップを有すると共に前記センタータップに対して対称な回路構造を有するものである
電子機器を提供する。
Moreover, this invention is a 3rd electronic device as a 4th electronic device,
The switch provides an electronic device having a center tap to which a fixed potential is supplied and having a circuit structure symmetrical to the center tap.

また、本発明は、第5の電子機器として、第4の電子機器であって、
前記スイッチは少なくとも2つのNchのFETを有しており、
前記2つのFETのゲートは前記制御回路に電気的に接続されており、
前記2つのFETのソースは互いに接続されており、
前記センタータップは、前記ソース間の接続点から引き出されており、グランドに接続されている
電子機器を提供する。
Moreover, this invention is a 4th electronic device as a 5th electronic device,
The switch has at least two Nch FETs,
The gates of the two FETs are electrically connected to the control circuit,
The sources of the two FETs are connected to each other,
The center tap is drawn from a connection point between the sources, and provides an electronic device connected to the ground.

また、本発明は、第6の電子機器として、第2乃至第5のいずれかの電子機器であって、
前記インピーダンス調整回路は、追加インピーダンスを有する追加インピーダンス回路を更に備えており、
前記電子機器は、前記負荷の状態をモニタしてモニタ結果に応じて前記追加インピーダンス回路に対して前記2つのライン間に前記追加インピーダンスを追加させるモニタ回路を備えている
電子機器を提供する。
Moreover, this invention is an electronic device in any one of 2nd thru | or 5 as a 6th electronic device,
The impedance adjustment circuit further includes an additional impedance circuit having an additional impedance,
The electronic apparatus provides an electronic apparatus including a monitor circuit that monitors the state of the load and adds the additional impedance between the two lines with respect to the additional impedance circuit according to a monitoring result.

また、本発明は、第7の電子機器として、第2乃至第6のいずれかの電子機器であって、
前記アンテナに接続され前記通信を行う通信系回路と、負荷を有すると共に前記アンテナに接続され前記負荷に給電を行う給電系回路とを備えており、
前記インピーダンス調整回路は、前記給電系回路に含まれている
電子機器を提供する。
Moreover, this invention is an electronic device in any one of 2nd thru | or 6 as a 7th electronic device,
A communication system circuit connected to the antenna for performing the communication and a power supply system circuit having a load and connected to the antenna for supplying power to the load;
The impedance adjustment circuit provides an electronic device included in the power feeding system circuit.

また、本発明は、第8の電子機器として、第7の電子機器であって、
前記給電系回路は、整流入力部と整流出力部とを有する整流回路を備えており、
前記整流入力部は、前記インピーダンス調整回路の前記調整出力部に接続されており、
前記制御回路は、前記整流出力部と前記スイッチとに接続され、前記整流回路の出力レベルに基づいて前記スイッチを切り替える
電子機器を提供する。
Moreover, this invention is a 7th electronic device as an 8th electronic device,
The power feeding system circuit includes a rectifier circuit having a rectification input unit and a rectification output unit,
The rectification input unit is connected to the adjustment output unit of the impedance adjustment circuit,
The control circuit is connected to the rectification output unit and the switch, and provides an electronic device that switches the switch based on an output level of the rectification circuit.

また、本発明は、第9の電子機器として、第8の電子機器であって、
前記整流回路は、単相ブリッジ整流回路である
電子機器を提供する。
Moreover, this invention is an 8th electronic device as a 9th electronic device,
The rectifier circuit provides an electronic device that is a single-phase bridge rectifier circuit.

また、本発明は、通信と非接触電力伝送とに共用されるアンテナと、前記アンテナに接続されたインピーダンスを可変とするインピーダンス調整回路と、前記通信時と前記非接触電力伝送時とで前記インピーダンスを異ならせるよう前記インピーダンス調整回路を制御する制御回路とを備えるモジュールを提供する。   In addition, the present invention provides an antenna shared for communication and non-contact power transmission, an impedance adjustment circuit that makes the impedance connected to the antenna variable, and the impedance between the communication and the non-contact power transmission. And a control circuit for controlling the impedance adjustment circuit so as to vary the impedance.

更に、本発明は、第1乃至第9のいずれかの電子機器と、前記電子機器に対して送電する回路と前記電子機器と通信する回路とを備える一次側機器とを備えるシステムを提供する。   Furthermore, the present invention provides a system including any one of the first to ninth electronic devices, and a primary device including a circuit that transmits power to the electronic devices and a circuit that communicates with the electronic devices.

本発明によれば、通信時か電力伝送時かによってその都度インピーダンスを変更することとしたため、通信時と電力伝送時の両方において最適なインピーダンス整合を図って高い受信効率と高い受電効率とを両立させることができる。   According to the present invention, since the impedance is changed each time depending on whether it is during communication or during power transmission, optimal impedance matching is achieved both during communication and during power transmission to achieve both high reception efficiency and high power reception efficiency. Can be made.

本発明の第1の実施の形態による一次側機器及び二次側機器(電子機器)を備えるシステムを概略的に示すブロック図である。1 is a block diagram schematically showing a system including a primary device and a secondary device (electronic device) according to a first embodiment of the present invention. 図1の二次側機器(電子機器)を概略的に示すブロック図である。It is a block diagram which shows roughly the secondary side apparatus (electronic device) of FIG. 図2のインピーダンス調整回路の具体的構成を示す図である。It is a figure which shows the specific structure of the impedance adjustment circuit of FIG. 図3のインピーダンス調整回路の変形例を示す図である。It is a figure which shows the modification of the impedance adjustment circuit of FIG. 図3のインピーダンス調整回路の他の変形例を示す図である。FIG. 10 is a diagram showing another modification of the impedance adjustment circuit of FIG. 3. 図3のインピーダンス調整回路の他の変形例を示す図である。FIG. 10 is a diagram showing another modification of the impedance adjustment circuit of FIG. 3. 図3のインピーダンス調整回路の他の変形例を示す図である。FIG. 10 is a diagram showing another modification of the impedance adjustment circuit of FIG. 3. 図3のインピーダンス調整回路の他の変形例を示す図である。FIG. 10 is a diagram showing another modification of the impedance adjustment circuit of FIG. 3. 図8のインピーダンス調整回路の具体的構成を示す図である。It is a figure which shows the specific structure of the impedance adjustment circuit of FIG. 図9の給電系回路に含まれる可変インピーダンス回路の変形例を示す図である。It is a figure which shows the modification of the variable impedance circuit contained in the electric power feeding system circuit of FIG. 図2の二次側機器(電子機器)における整流回路及び平滑回路の具体的構成を示す図である。It is a figure which shows the specific structure of the rectifier circuit and smoothing circuit in the secondary side apparatus (electronic device) of FIG. 本発明の第2の実施の形態による二次側機器(電子機器)を概略的に示すブロック図である。It is a block diagram which shows roughly the secondary side apparatus (electronic device) by the 2nd Embodiment of this invention. 図12のインピーダンス調整回路の具体的構成を示す図である。It is a figure which shows the specific structure of the impedance adjustment circuit of FIG.

(第1の実施の形態)
図1を参照すると本発明の第1の実施の形態によるシステムは、一次側機器10と、二次側機器(電子機器)20とを備えている。
(First embodiment)
Referring to FIG. 1, the system according to the first embodiment of the present invention includes a primary device 10 and a secondary device (electronic device) 20.

図1に示されるように、一次側機器10は、概略、通信/送電回路12と、アンテナ14とを備えている。通信/送電回路12は、通信と電力伝送とを任意に選択制御可能なものであり、通信時においてはアンテナ14を介して二次側機器20と通信する一方、電力伝送時においてはアンテナ14を介して二次側機器20に対して送電する。かかる通信/送電回路12は、例えば、通信部及び通信用整合回路を有する通信系回路と、送電部及び送電用整合回路を有する送電系回路と、少なくとも通信部及び送電部を制御する制御部とを備えている。アンテナ14は、一般的にはコイル(コイルアンテナ)で構成される。アンテナ14を構成するコイルは、通信系回路と送電系回路とで別個に設けることとしても良いし(即ち、コイルは2つ以上であっても良いし)、共用することとしても良い(コイルは1つのみであっても良い)。   As shown in FIG. 1, the primary device 10 generally includes a communication / power transmission circuit 12 and an antenna 14. The communication / power transmission circuit 12 can arbitrarily select and control communication and power transmission. During communication, the communication / power transmission circuit 12 communicates with the secondary device 20 via the antenna 14, while the power transmission circuit 12 controls the antenna 14 during power transmission. Power is transmitted to the secondary device 20 via the power supply. The communication / power transmission circuit 12 includes, for example, a communication system circuit including a communication unit and a communication matching circuit, a power transmission system circuit including a power transmission unit and a power transmission matching circuit, and a control unit that controls at least the communication unit and the power transmission unit. It has. The antenna 14 is generally composed of a coil (coil antenna). The coil constituting the antenna 14 may be provided separately for the communication system circuit and the power transmission system circuit (that is, two or more coils may be used), or may be shared (the coil is There may be only one).

本実施の形態においては、電力伝送における電力波の周波数と通信における搬送波の周波数は13.56MHz帯であり、互いに等しい。また、電力伝送時に送電される電力波の空中線電力は5W以上であり、通信時における空中線電力は1W以下である。即ち、電力伝送時に送電される電力波の空中線電力は、通信時における空中線電力よりも大きい。なお、電力伝送における搬送波周波数と通信における搬送波周波数とを異ならせることとしてもよいが、後述するように二次側機器20において一つのアンテナを通信と電力伝送とで簡易な制御で効率的に共用させることを考えると、本実施の形態のように、両搬送波周波数を等しくすることが好ましい。   In the present embodiment, the frequency of the power wave in power transmission and the frequency of the carrier wave in communication are 13.56 MHz bands, which are equal to each other. Moreover, the antenna power of the power wave transmitted during power transmission is 5 W or more, and the antenna power during communication is 1 W or less. That is, the antenna power of the power wave transmitted during power transmission is larger than the antenna power during communication. The carrier frequency in power transmission may be different from the carrier frequency in communication. However, as will be described later, in the secondary device 20, one antenna is efficiently shared by simple control for communication and power transmission. In view of this, it is preferable to make both carrier frequencies equal as in this embodiment.

図1に示されるように、本実施の形態による二次側機器20は、モジュール22と、モジュール22に接続される負荷24とを備えている。ここで、本実施の形態による負荷24は、具体的にはバッテリである。また、モジュール22は、概略、一次側機器10と通信する機能と、一次側機器10から電力を受電して負荷24に給電する(即ち、バッテリに充電する)機能とを有している。なお、本実施の形態においては、二次側機器20の組立時においてコネクタ等を用いて負荷24とモジュール22とを接続する形態を想定しているが、本発明はこれに限定されるわけではない。例えば、モジュール22の有する機能と同等の機能を実装した回路基板と負荷24と直接的に接続して二次側機器20を構成することとしても良い。   As shown in FIG. 1, the secondary device 20 according to the present embodiment includes a module 22 and a load 24 connected to the module 22. Here, the load 24 according to the present embodiment is specifically a battery. The module 22 generally has a function of communicating with the primary device 10 and a function of receiving power from the primary device 10 and supplying power to the load 24 (that is, charging the battery). In the present embodiment, it is assumed that the load 24 and the module 22 are connected using a connector or the like when the secondary device 20 is assembled. However, the present invention is not limited to this. Absent. For example, the secondary device 20 may be configured by directly connecting the circuit board on which a function equivalent to the function of the module 22 is mounted and the load 24.

図2に示されるように、本実施の形態による二次側機器20のモジュール22は、コイル32を有するアンテナ30と、アンテナ30及び負荷24に接続された給電系回路40と、アンテナ30に接続された通信系回路60とを備えている。即ち、給電系回路40と通信系回路60とは、アンテナ30を共用している。   As shown in FIG. 2, the module 22 of the secondary device 20 according to this embodiment includes an antenna 30 having a coil 32, a power feeding system circuit 40 connected to the antenna 30 and the load 24, and a connection to the antenna 30. The communication system circuit 60 is provided. That is, the power feeding system circuit 40 and the communication system circuit 60 share the antenna 30.

通信系回路60は、アンテナ30に接続された通信用整合回路62と、通信用整合回路62に接続されたスイッチ回路64と、スイッチ回路64を介して通信用整合回路62に接続された通信部66とを備えている。通信用整合回路62は、アンテナ30と通信部66との間で整合をとるためのものである。スイッチ回路64は、スイッチ制御信号(後述)に応じて、アンテナ30と通信部66との間を接続したり、分離したりするものである。通信部66は、アンテナ30を介して一次側機器10と通信するためのものである。ここで、スイッチ回路64は、後述するように、通信時(通信モード)にはオン状態となってアンテナ30と通信部66とを接続し、電力伝送時(電力伝送モード)にはオフ状態となって通信部66をアンテナ30から切り離すものである。このように、スイッチ回路64を制御することにより、電力伝送時に通信部66に大電力が供給されてしまうことを防ぐことができる。   The communication system circuit 60 includes a communication matching circuit 62 connected to the antenna 30, a switch circuit 64 connected to the communication matching circuit 62, and a communication unit connected to the communication matching circuit 62 via the switch circuit 64. 66. The communication matching circuit 62 is for matching between the antenna 30 and the communication unit 66. The switch circuit 64 connects or separates the antenna 30 and the communication unit 66 according to a switch control signal (described later). The communication unit 66 is for communicating with the primary device 10 via the antenna 30. Here, as will be described later, the switch circuit 64 is turned on during communication (communication mode) to connect the antenna 30 and the communication unit 66, and is turned off during power transmission (power transmission mode). Thus, the communication unit 66 is separated from the antenna 30. Thus, by controlling the switch circuit 64, it is possible to prevent a large amount of power from being supplied to the communication unit 66 during power transmission.

給電系回路40は、アンテナ30に接続されたインピーダンス調整回路42と、インピーダンス調整回路42に接続された整流回路44と、整流回路44に接続された平滑回路46と、平滑回路46に接続された制御回路48とを備えている。   The power feeding system circuit 40 is connected to the impedance adjustment circuit 42 connected to the antenna 30, the rectification circuit 44 connected to the impedance adjustment circuit 42, the smoothing circuit 46 connected to the rectification circuit 44, and the smoothing circuit 46. And a control circuit 48.

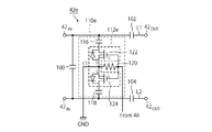
本実施の形態によるインピーダンス調整回路42は、図3に示されるように、2つの調整入力部42INと、2つの調整出力部42OUTと、調整入力部42INと調整出力部42OUTとをそれぞれ結ぶ2つのラインL1,L2とを少なくとも有していると共に、2つのラインL1,L2間に接続された並列コンデンサ100と、ラインL1,L2上に夫々設けられた直列コンデンサ102,104と、スイッチ112及び付加インピーダンス114を有し且つ2つのラインL1,L2間に接続された可変インピーダンス回路110とを備えている。本実施の形態において、調整入力部42INは、アンテナ30のコイル32の両端に接続され、調整出力部42OUTは、整流回路44に接続される。 As shown in FIG. 3, the impedance adjustment circuit 42 according to the present embodiment includes two adjustment input units 42 IN , two adjustment output units 42 OUT , an adjustment input unit 42 IN, and an adjustment output unit 42 OUT . A parallel capacitor 100 connected between the two lines L1 and L2, and series capacitors 102 and 104 provided on the lines L1 and L2, respectively. A variable impedance circuit 110 having a switch 112 and an additional impedance 114 and connected between the two lines L1 and L2. In the present embodiment, the adjustment input unit 42 IN is connected to both ends of the coil 32 of the antenna 30, and the adjustment output unit 42 OUT is connected to the rectifier circuit 44.

詳しくは、図示されたインピーダンス調整回路42においては、調整入力部42INに最も近い位置に並列コンデンサ100が設けられており、調整出力部42OUTに最も近い位置に直列コンデンサ102,104が設けられており、並列コンデンサ100と直列コンデンサ102,104とに挟まれるようにして可変インピーダンス回路110が設けられている。 Specifically, in the illustrated impedance adjustment circuit 42, the parallel capacitor 100 is provided at a position closest to the adjustment input unit 42 IN , and series capacitors 102 and 104 are provided at a position closest to the adjustment output unit 42 OUT. A variable impedance circuit 110 is provided so as to be sandwiched between the parallel capacitor 100 and the series capacitors 102 and 104.

かかる構成のインピーダンス調整回路42において、制御回路48の制御により可変インピーダンス回路110のスイッチ112がオンすると、ラインL1,L2間に付加インピーダンス114が付加される。即ち、本実施の形態によるインピーダンス調整回路42は、スイッチ112の状態(オン・オフ)を切り替えることにより、インピーダンスを変更することができるものである。   In the impedance adjustment circuit 42 having such a configuration, when the switch 112 of the variable impedance circuit 110 is turned on under the control of the control circuit 48, the additional impedance 114 is added between the lines L1 and L2. That is, the impedance adjustment circuit 42 according to the present embodiment can change the impedance by switching the state (on / off) of the switch 112.

なお、インピーダンス調整回路42は、図3に示されるものには限られない。例えば、図4に示されるインピーダンス調整回路42aのように、調整入力部42INに最も近い位置に可変インピーダンス回路110が設けられており、調整出力部42OUTに最も近い位置に並列コンデンサ100が設けられており、可変インピーダンス回路110と並列コンデンサ100とに挟まれるようにして直列コンデンサ102,104が設けられていてもよい。また、図5に示されるインピーダンス調整回路42bのように、調整入力部42INに最も近い位置に直列コンデンサ102,104が設けられており、調整出力部42OUTに最も近い位置に可変インピーダンス回路110が設けられており、直列コンデンサ102,104と可変インピーダンス回路110とに挟まれるようにして並列コンデンサ100が設けられていてもよい。更には、図6に示されるインピーダンス調整回路42bのように、調整入力部42INに最も近い位置に並列コンデンサ100が設けられており、調整出力部42OUTに最も近い位置に可変インピーダンス回路110が設けられており、並列コンデンサ100と可変インピーダンス回路110とに挟まれるようにして直列コンデンサ102,104が設けられていてもよい。 The impedance adjustment circuit 42 is not limited to that shown in FIG. For example, as the impedance adjusting circuit 42a shown in FIG. 4, the variable impedance circuit 110 is provided at a position closest to the adjustment input unit 42 IN, a parallel capacitor 100 is provided at a position closest to the regulated output unit 42 OUT The series capacitors 102 and 104 may be provided so as to be sandwiched between the variable impedance circuit 110 and the parallel capacitor 100. Also, as the impedance adjusting circuit 42b shown in FIG. 5, a series capacitor 102, 104 is provided at a position closest to the adjustment input unit 42 IN, the variable impedance circuit 110 nearest to the regulated output unit 42 OUT The parallel capacitor 100 may be provided so as to be sandwiched between the series capacitors 102 and 104 and the variable impedance circuit 110. Further, as in the impedance adjustment circuit 42b shown in FIG. 6, the parallel capacitor 100 is provided at a position closest to the adjustment input section 42IN , and the variable impedance circuit 110 is positioned at a position closest to the adjustment output section 42OUT. The series capacitors 102 and 104 may be provided so as to be sandwiched between the parallel capacitor 100 and the variable impedance circuit 110.

また、図7に示されるインピーダンス調整回路42dのように、可変インピーダンス回路110dを複数のスイッチ112と複数の付加インピーダンス114とで構成することとしてもよい。図示された可変インピーダンス回路110dは、図3に示されるスイッチ112と付加インピーダンス114とからなる可変インピーダンス回路110を複数並列に接続してなるものである。この可変インピーダンス回路110dによると、スイッチ制御により付加するインピーダンスを細かく変化させることができる。なお、図7に示されるインピーダンス調整回路42dは、図3に示されるインピーダンス調整回路42の変形例であるが、図4乃至図6に示されるインピーダンス調整回路42a,42b,42cにおける可変インピーダンス回路110を複数のスイッチ112と複数の付加インピーダンス114からなる可変インピーダンス回路110dで置き換えても良い。   Further, like the impedance adjustment circuit 42d shown in FIG. 7, the variable impedance circuit 110d may be composed of a plurality of switches 112 and a plurality of additional impedances 114. The illustrated variable impedance circuit 110d is formed by connecting a plurality of variable impedance circuits 110 including the switch 112 and the additional impedance 114 shown in FIG. 3 in parallel. According to the variable impedance circuit 110d, the impedance to be added can be finely changed by the switch control. The impedance adjustment circuit 42d shown in FIG. 7 is a modification of the impedance adjustment circuit 42 shown in FIG. 3, but the variable impedance circuit 110 in the impedance adjustment circuits 42a, 42b, and 42c shown in FIGS. May be replaced with a variable impedance circuit 110d including a plurality of switches 112 and a plurality of additional impedances 114.

更に、図8に示されるインピーダンス調整回路42eのように、可変インピーダンス回路110eに対して、固定電位を供給されるセンタータップCTを有するスイッチ112eを設け、そのスイッチ112eのセンタータップCTにより付加インピーダンスを2つに分けることとしてもよい。具体的には、可変インピーダンス回路110eは、第1インピーダンス116と第2インピーダンス118とスイッチ112eとを備えている。第1インピーダンス116の一端はラインL1に接続されており、第2インピーダンス118の一端はラインL2に接続されている。スイッチ112eは、第1インピーダンス116の他端と第2インピーダンス118の他端との間に接続されている。また、センタータップCTはグランドに接続されている。   Further, like the impedance adjustment circuit 42e shown in FIG. 8, a switch 112e having a center tap CT to which a fixed potential is supplied is provided for the variable impedance circuit 110e, and an additional impedance is provided by the center tap CT of the switch 112e. It is good also as dividing into two. Specifically, the variable impedance circuit 110e includes a first impedance 116, a second impedance 118, and a switch 112e. One end of the first impedance 116 is connected to the line L1, and one end of the second impedance 118 is connected to the line L2. The switch 112e is connected between the other end of the first impedance 116 and the other end of the second impedance 118. The center tap CT is connected to the ground.

図8に示されたスイッチ112eは、センタータップCTに対して対称な回路構造を有するものである。また、この例において、第1インピーダンス116と第2インピーダンス118とは互いに等しい。従って、図示された可変インピーダンス回路110eもまた、スイッチ112eのセンタータップCTに対して対称な回路構造を有している。   The switch 112e shown in FIG. 8 has a symmetric circuit structure with respect to the center tap CT. In this example, the first impedance 116 and the second impedance 118 are equal to each other. Therefore, the illustrated variable impedance circuit 110e also has a symmetric circuit structure with respect to the center tap CT of the switch 112e.

このようにセンタータップCTをスイッチ112eに設け、その電位を固定することとすると、スイッチ112eを安価な素子で構成することができ、且つ、その制御も簡易なものとすることができる。例えば、図9に示されるように、スイッチ112eを2つのNchのFET122,124で構成することができる。図9に示されるスイッチ112eにおいて、FET122のゲートとFET124のゲートとは互いに接続されていると共に制御回路48に電気的に接続されている。一方、FET122のソースとFET124のソースとは互いに接続されており、ソース間の接続点からセンタータップCTが引き出され、グランドに接続されている。また、FET122及びFET124のゲートとグランドとの間には抵抗120が設けられており、従って、制御回路48から所定の電流が流れてくると、抵抗120の両端に生じた電圧がFET122及びFET124に対してゲート−ソース間電圧Vgsとして印加され、スイッチ112eがオンされる。同様に、センタータップCTを電源に接続する(センタータップCTに電源電圧を供給する)と共に2つのPchのFETを用いてスイッチ112eを構成することとしてもよい。なお、図9に示されたスイッチ112eは、2つのFET122,124を用いて構成されたものであるが、本発明はこれに限定されるわけではない。例えば、センタータップCTと第1インピーダンス116又は第2インピーダンス118との間に夫々複数のFET122,124を並列に接続してスイッチ112eを構成することとしてもよい。FET122のゲートとFET124のゲートとが制御回路48に電気的に接続されている限り、FET122のゲートとFET124のゲートとは互いに接続されていなくてもよい。更に、FET122のゲートやFET124のゲートと制御回路48との間の電気的な接続は、導電体によって物理的に繋ぐものには限られず、例えば、光アイソレーションや磁気結合、磁界結合のように所定の目的(ゲートの駆動)を達成できる接続であればよい。   As described above, when the center tap CT is provided in the switch 112e and its potential is fixed, the switch 112e can be configured with an inexpensive element, and the control thereof can be simplified. For example, as shown in FIG. 9, the switch 112 e can be composed of two Nch FETs 122 and 124. In the switch 112e shown in FIG. 9, the gate of the FET 122 and the gate of the FET 124 are connected to each other and electrically connected to the control circuit 48. On the other hand, the source of the FET 122 and the source of the FET 124 are connected to each other, and the center tap CT is drawn from the connection point between the sources and connected to the ground. Further, a resistor 120 is provided between the gates of the FET 122 and the FET 124 and the ground. Therefore, when a predetermined current flows from the control circuit 48, the voltage generated at both ends of the resistor 120 is applied to the FET 122 and the FET 124. On the other hand, the gate-source voltage Vgs is applied, and the switch 112e is turned on. Similarly, the center tap CT may be connected to a power supply (supply voltage is supplied to the center tap CT), and the switch 112e may be configured using two Pch FETs. Although the switch 112e shown in FIG. 9 is configured using two FETs 122 and 124, the present invention is not limited to this. For example, the switch 112e may be configured by connecting a plurality of FETs 122 and 124 in parallel between the center tap CT and the first impedance 116 or the second impedance 118. As long as the gate of the FET 122 and the gate of the FET 124 are electrically connected to the control circuit 48, the gate of the FET 122 and the gate of the FET 124 may not be connected to each other. Further, the electrical connection between the gate of the FET 122 or the gate of the FET 124 and the control circuit 48 is not limited to a physical connection by a conductor, for example, optical isolation, magnetic coupling, and magnetic field coupling. Any connection that can achieve a predetermined purpose (drive of the gate) may be used.

図9に示される可変インピーダンス回路110eは、FET122,124を用いてスイッチ112eを構成していたが、本発明はこれに限定されるわけではない。例えば、FETに代えて、図10に示される可変インピーダンス回路110fのように、バイポーラトランジスタ122f,124fを用いてスイッチ112fを構成することもできる。制御回路48の制御によりスイッチ112fがオン状態にされるとき、図示されたバイポーラトランジスタ122f,124fのベースには、2つの抵抗120f,121にて分圧された電圧が供給される。なお、図示されたバイポーラトランジスタ122f,124fはnpn型のものであるが、センタータップCTを電源に接続すると共にpnp型のバイポーラトランジスタを2つ用いてスイッチ112fを構成することとしてもよい。また、並列接続された複数のバイポーラトランジスタをセンタータップCTに対して対称となるように配置してスイッチ112fを構成することとしてもよい。更に、FETやバイポーラトランジスタ以外の半導体スイッチを用いて可変インピーダンス回路におけるスイッチを構成することとしてもよい。   Although the variable impedance circuit 110e shown in FIG. 9 includes the switch 112e using the FETs 122 and 124, the present invention is not limited to this. For example, instead of the FET, the switch 112f can be configured using bipolar transistors 122f and 124f as in the variable impedance circuit 110f shown in FIG. When the switch 112f is turned on under the control of the control circuit 48, the voltage divided by the two resistors 120f and 121 is supplied to the bases of the illustrated bipolar transistors 122f and 124f. Although the illustrated bipolar transistors 122f and 124f are npn type, the switch 112f may be configured by connecting the center tap CT to a power source and using two pnp type bipolar transistors. Alternatively, the switch 112f may be configured by arranging a plurality of bipolar transistors connected in parallel so as to be symmetrical with respect to the center tap CT. Furthermore, a switch in the variable impedance circuit may be configured using a semiconductor switch other than an FET or a bipolar transistor.

図11を参照すると、本実施の形態による整流回路44は、全波整流回路である。詳しくは、整流回路44は、4つのダイオードを用いて構成された単相ブリッジ整流回路であり、2つの整流入力部44INと整流出力部44OUTとグランド端子とを有している。整流入力部44INはインピーダンス調整回路42の調整出力部42OUTに夫々接続されている。また、整流出力部44OUTは、コンデンサからなる平滑回路46と制御回路48と負荷24に接続されている。平滑回路46は、整流回路44の出力(整流信号)を平滑化して、負荷24に供給する。即ち、負荷24がバッテリの場合、平滑化された整流信号により充電され、負荷24が何らかの回路等であった場合には、平滑化された整流信号により駆動される。 Referring to FIG. 11, the rectifier circuit 44 according to the present embodiment is a full-wave rectifier circuit. Specifically, the rectifier circuit 44 is a single-phase bridge rectifier circuit configured using four diodes, and includes two rectifier input units 44 IN , a rectifier output unit 44 OUT, and a ground terminal. Rectified input unit 44 IN are respectively connected to the regulated output unit 42 OUT of the impedance adjusting circuit 42. Further, the rectification output unit 44 OUT is connected to a smoothing circuit 46, a control circuit 48, and a load 24 including capacitors. The smoothing circuit 46 smoothes the output (rectified signal) of the rectifier circuit 44 and supplies it to the load 24. That is, when the load 24 is a battery, it is charged by a smoothed rectified signal, and when the load 24 is any circuit or the like, it is driven by a smoothed rectified signal.

整流回路44の出力(より具体的には、平滑化された整流信号)のレベルは、アンテナ30にて受電した電力のレベルに対応している。本実施の形態においては、電力伝送時に一次側機器10から二次側機器20に対して送電される電力波の空中線電力は、通信時における空中線電力よりも大きく設定されていることから、整流回路44の出力のレベルも電力伝送時と通信時とで異なっている。   The level of the output of the rectifier circuit 44 (more specifically, the smoothed rectified signal) corresponds to the level of power received by the antenna 30. In the present embodiment, the antenna power of the power wave transmitted from the primary device 10 to the secondary device 20 during power transmission is set larger than the antenna power during communication. The output level of 44 is also different between power transmission and communication.

本実施の形態による制御回路48は、整流回路44の出力のレベルに応じて、通信時(通信モード)又は電力伝送時(電力伝送モード)に応じた制御を行う。具体的には、制御回路48は、通信モードにおいて、スイッチ回路64をオン状態とするようなスイッチ制御信号をスイッチ回路64に対して送る一方、可変インピーダンス回路110のスイッチ112をオフ状態としてラインL1,L2から付加インピーダンス114を切り離す。また、制御回路48は、電力伝送モードにおいて、スイッチ回路64をオン状態とするようなスイッチ制御信号をスイッチ回路64に対して送る一方、可変インピーダンス回路110のスイッチ112をオン状態にしてラインL1,L2間に付加インピーダンス114を付加する。このように、本実施の形態においては、受電した電力のレベルに基づいて通信モード/電力伝送モードに適切した制御をスイッチ回路64の制御とインピーダンス調整回路42に対して行うことができる。特に、アンテナ30から負荷24側を見た場合のインピーダンスは、通信モード/電力伝送モードで夫々別個に調整可能となることから、電力伝送モードでは負荷24への給電効率を高めることができ、通信モードでは通信距離や通信感度などの向上を図ることができる。   The control circuit 48 according to the present embodiment performs control according to communication (communication mode) or power transmission (power transmission mode) according to the output level of the rectifier circuit 44. Specifically, in the communication mode, the control circuit 48 sends a switch control signal for turning on the switch circuit 64 to the switch circuit 64 while turning off the switch 112 of the variable impedance circuit 110 to turn the line L1. , L2 from the additional impedance 114. In the power transfer mode, the control circuit 48 sends a switch control signal for turning on the switch circuit 64 to the switch circuit 64, while turning on the switch 112 of the variable impedance circuit 110 to turn on the lines L1, L2. An additional impedance 114 is added between L2. Thus, in the present embodiment, control suitable for the communication mode / power transmission mode can be performed on the switch circuit 64 and the impedance adjustment circuit 42 based on the level of received power. In particular, since the impedance when the load 24 is viewed from the antenna 30 can be adjusted separately in the communication mode / power transmission mode, the power supply efficiency to the load 24 can be increased in the power transmission mode. In the mode, communication distance and communication sensitivity can be improved.

(第2の実施の形態)
図2及び図12を参照すると、本発明の第2の実施の形態による二次側機器(電子機器)20gは、上述した第1の実施の形態による二次側機器20の変形例である。従って、図12において、図2に示される構成要素と同様の構成要素には、図2と同じ参照符号を用いることとし、それらについての説明は省略することとする。以下においては、主として、上述した第1の実施の形態と相違する点について説明する。
(Second Embodiment)
2 and 12, a secondary device (electronic device) 20g according to the second embodiment of the present invention is a modification of the secondary device 20 according to the first embodiment described above. Therefore, in FIG. 12, the same reference numerals as those in FIG. 2 are used for the same components as those shown in FIG. 2, and the description thereof will be omitted. In the following description, differences from the first embodiment described above will be mainly described.

図12に示されるように、本実施の形態による二次側機器20gのモジュール22gは、負荷(バッテリ)24の状態(バッテリのレベル)をモニタするモニタ回路70を備えている。また、モジュール22gの給電系回路40に含まれるインピーダンス調整回路42gは、図13に示されるように、モニタ回路70により制御可能な追加インピーダンス回路130を更に備えている。追加インピーダンス回路130は、詳しくは、モニタ回路70により状態の切り替え可能なスイッチ132と、スイッチ132に接続された追加インピーダンス134とを有しており、モニタ回路70の制御によりラインL1,L2間に追加インピーダンス134を追加することができる。   As shown in FIG. 12, the module 22g of the secondary device 20g according to the present embodiment includes a monitor circuit 70 that monitors the state (battery level) of the load (battery) 24. Further, the impedance adjustment circuit 42g included in the power feeding system circuit 40 of the module 22g further includes an additional impedance circuit 130 that can be controlled by the monitor circuit 70, as shown in FIG. More specifically, the additional impedance circuit 130 includes a switch 132 whose state can be switched by the monitor circuit 70 and an additional impedance 134 connected to the switch 132, and is controlled between the lines L 1 and L 2 by the control of the monitor circuit 70. Additional impedance 134 can be added.

かかる構成とすると、負荷24の変動によりインピーダンスの調整が必要となった場合にも柔軟に対応することができる。   With such a configuration, it is possible to flexibly cope with the case where impedance adjustment is required due to fluctuations in the load 24.

上述した実施の形態において、インピーダンス調整回路は、給電系回路40に含まれていたが、本発明はこれに限定されるものではない。例えば、インピーダンス調整回路は通信系回路60に含まれていてもよい。   In the embodiment described above, the impedance adjustment circuit is included in the power feeding system circuit 40, but the present invention is not limited to this. For example, the impedance adjustment circuit may be included in the communication system circuit 60.

また、上述した実施の形態において、制御回路48は、受電した電力レベル(整流回路44の出力レベル)に基づいて通信モード/電力伝送モードの夫々に対応した制御を行っていたが、本発明はこれに限定されるものではない。例えば、制御回路は、一次側機器10との通信から通信モード/電力伝送モードのいずれをとるべきかを判断するプロセッサユニットのようなものであってもよい。   In the above-described embodiment, the control circuit 48 performs control corresponding to each of the communication mode / power transmission mode based on the received power level (the output level of the rectifier circuit 44). It is not limited to this. For example, the control circuit may be a processor unit that determines which one of the communication mode and the power transmission mode should be taken from communication with the primary device 10.

10 一次側機器
12 通信/送電回路
14 アンテナ
20 二次側機器(電子機器)
22 モジュール
24 負荷
30 アンテナ
32 コイル
40 給電系回路
42,42a,42b,42c,42d,42e,42g インピーダンス調整回路
42IN 調整入力部
42OUT 調整出力部
44 整流回路
44IN 整流入力部
44OUT 整流出力部
L1,L2 ライン
46 平滑回路
48 制御回路
60 通信系回路
62 通信用整合回路
64 スイッチ回路
66 通信部
70 モニタ回路
100 並列コンデンサ
102,104 直列コンデンサ
110,110d,110e 可変インピーダンス回路
112,112e,112f スイッチ
CT センタータップ
114 付加インピーダンス
116 第1インピーダンス
118 第2インピーダンス
120,120f,121 抵抗
122,124 FET
122f,124f バイポーラトランジスタ
130 追加インピーダンス回路
132 スイッチ
134 追加インピーダンス
10 Primary equipment 12 Communication / power transmission circuit 14 Antenna 20 Secondary equipment (electronic equipment)
22 module 24 load 30 antenna 32 coil 40 power supply system circuit 42, 42a, 42b, 42c, 42d, 42e, 42g impedance adjustment circuit 42 IN adjustment input unit 42 OUT adjustment output unit 44 rectification circuit 44 IN rectification input unit 44 OUT rectification output Part L1, L2 Line 46 Smoothing circuit 48 Control circuit 60 Communication system circuit 62 Communication matching circuit 64 Switch circuit 66 Communication part 70 Monitor circuit 100 Parallel capacitor 102, 104 Series capacitor 110, 110d, 110e Variable impedance circuit 112, 112e, 112f Switch CT Center tap 114 Additional impedance 116 First impedance 118 Second impedance 120, 120f, 121 Resistance 122, 124 FET
122f, 124f Bipolar transistor 130 Additional impedance circuit 132 Switch 134 Additional impedance

Claims (10)

通信と非接触電力伝送とに共用されるアンテナと、前記通信を行う通信部と、前記アンテナと前記通信部との間に設けられた第1スイッチとを有する電子機器であって、
前記アンテナに接続されたインピーダンスを可変とするインピーダンス調整回路と、前記通信時と前記非接触電力伝送時とで前記第1スイッチの状態を前記アンテナと前記通信部との間を接続するオン状態と前記アンテナから前記通信部を切り離すオフ状態とに夫々制御するとともに前記インピーダンスを異ならせるよう前記インピーダンス調整回路を制御する制御回路とを備え
前記インピーダンス調整回路は、2つの調整入力部と、2つの調整出力部と、前記調整入力部と前記調整出力部とをそれぞれ結ぶ2つのラインとを少なくとも有していると共に、前記2つのライン間に接続された並列コンデンサと、前記ライン上に設けられた直列コンデンサと、第2スイッチを有し且つ前記2つのライン間に接続された可変インピーダンス回路とを備えており、
前記制御回路は、前記通信時と前記非接触電力伝送時とで前記第2スイッチを切り替えて、前記可変インピーダンス回路により前記2つのライン間に付加される付加インピーダンスを変更する
電子機器。
An electronic device having an antenna shared for communication and non-contact power transmission, a communication unit for performing the communication, and a first switch provided between the antenna and the communication unit,
An impedance adjustment circuit configured to change an impedance connected to the antenna; and an on state in which the state of the first switch is connected between the antenna and the communication unit during the communication and during the non-contact power transmission; A control circuit that controls the impedance adjustment circuit so as to vary the impedance while controlling the off state in which the communication unit is disconnected from the antenna ,
The impedance adjustment circuit includes at least two adjustment input units, two adjustment output units, and two lines respectively connecting the adjustment input unit and the adjustment output unit, and between the two lines. A parallel capacitor connected to the line, a series capacitor provided on the line, and a variable impedance circuit having a second switch and connected between the two lines,
The control circuit changes the additional impedance added between the two lines by the variable impedance circuit by switching the second switch between the communication and the non-contact power transmission. .
請求項記載の電子機器であって、
前記可変インピーダンス回路は、一端を前記2つのラインの一方に接続された第1インピーダンスと、一端を前記2つのラインの他方に接続された第2インピーダンスとを更に備えており、
前記第2スイッチは、前記第1インピーダンスの他端と前記第2インピーダンスの他端との間に接続されている
電子機器。
The electronic device according to claim 1 ,
The variable impedance circuit further includes a first impedance having one end connected to one of the two lines, and a second impedance having one end connected to the other of the two lines,
The second switch is an electronic device connected between the other end of the first impedance and the other end of the second impedance.
請求項記載の電子機器であって、
前記第2スイッチは、固定電位を供給されるセンタータップを有すると共に前記センタータップに対して対称な回路構造を有するものである
電子機器。
The electronic device according to claim 2 ,
The second switch is an electronic device having a center tap to which a fixed potential is supplied and having a circuit structure symmetrical to the center tap.
請求項記載の電子機器であって、
前記第2スイッチは少なくとも2つのNchのFETを有しており、
前記2つのFETのゲートは前記制御回路に電気的に接続されており、
前記2つのFETのソースは互いに接続されており、
前記センタータップは、前記ソース間の接続点から引き出されており、グランドに接続されている
電子機器。
The electronic device according to claim 3 ,
The second switch has at least two Nch FETs,
The gates of the two FETs are electrically connected to the control circuit,
The sources of the two FETs are connected to each other,
The center tap is an electronic device that is drawn from a connection point between the sources and connected to the ground.
請求項乃至請求項のいずれかに記載の電子機器であって、
前記インピーダンス調整回路は、追加インピーダンスを有する追加インピーダンス回路を更に備えており、
前記電子機器は、負荷の状態をモニタしてモニタ結果に応じて前記追加インピーダンス回路に対して前記2つのライン間に前記追加インピーダンスを追加させるモニタ回路を備えている
電子機器。
The electronic device according to any one of claims 1 to 4,
The impedance adjustment circuit further includes an additional impedance circuit having an additional impedance,
The electronic device includes a monitor circuit that monitors a state of a load and causes the additional impedance circuit to add the additional impedance between the two lines according to a monitoring result.
請求項乃至請求項のいずれかに記載の電子機器であって、
前記アンテナに接続され前記通信を行う通信系回路と、負荷を有すると共に前記アンテナに接続され前記負荷に給電を行う給電系回路とを備えており、
前記インピーダンス調整回路は、前記給電系回路に含まれている
電子機器。
The electronic device according to any one of claims 1 to 5,
A communication system circuit connected to the antenna for performing the communication and a power supply system circuit having a load and connected to the antenna for supplying power to the load;
The impedance adjustment circuit is an electronic device included in the power feeding system circuit.
請求項記載の電子機器であって、
前記給電系回路は、整流入力部と整流出力部とを有する整流回路を備えており、
前記整流入力部は、前記インピーダンス調整回路の前記調整出力部に接続されており、
前記制御回路は、前記整流出力部と前記第2スイッチとに接続され、前記整流回路の出力レベルに基づいて前記第2スイッチを切り替える
電子機器。
The electronic device according to claim 6 ,
The power feeding system circuit includes a rectifier circuit having a rectification input unit and a rectification output unit,
The rectification input unit is connected to the adjustment output unit of the impedance adjustment circuit,
The control circuit is an electronic device that is connected to the rectification output unit and the second switch and switches the second switch based on an output level of the rectification circuit.
請求項記載の電子機器であって、
前記整流回路は、単相ブリッジ整流回路である
電子機器。
The electronic device according to claim 7 ,
The rectifier circuit is an electronic device that is a single-phase bridge rectifier circuit.
通信と非接触電力伝送とに共用されるアンテナと、前記通信を行う通信部と、前記アンテナと前記通信部との間に設けられた第1スイッチとを有するモジュールであって、
前記アンテナに接続されたインピーダンスを可変とするインピーダンス調整回路と、前記通信時と前記非接触電力伝送時とで前記第1スイッチの状態を前記アンテナと前記通信部との間を接続するオン状態と前記アンテナから前記通信部を切り離すオフ状態とに夫々制御するとともに前記インピーダンスを異ならせるよう前記インピーダンス調整回路を制御する制御回路とを備え
前記インピーダンス調整回路は、2つの調整入力部と、2つの調整出力部と、前記調整入力部と前記調整出力部とをそれぞれ結ぶ2つのラインとを少なくとも有していると共に、前記2つのライン間に接続された並列コンデンサと、前記ライン上に設けられた直列コンデンサと、第2スイッチを有し且つ前記2つのライン間に接続された可変インピーダンス回路とを備えており、
前記制御回路は、前記通信時と前記非接触電力伝送時とで前記第2スイッチを切り替えて、前記可変インピーダンス回路により前記2つのライン間に付加される付加インピーダンスを変更する
モジュール。
A module having an antenna shared for communication and non-contact power transmission, a communication unit for performing the communication, and a first switch provided between the antenna and the communication unit,
An impedance adjustment circuit configured to change an impedance connected to the antenna; and an on state in which the state of the first switch is connected between the antenna and the communication unit during the communication and during the non-contact power transmission; A control circuit that controls the impedance adjustment circuit so as to vary the impedance while controlling the off state in which the communication unit is disconnected from the antenna ,
The impedance adjustment circuit includes at least two adjustment input units, two adjustment output units, and two lines respectively connecting the adjustment input unit and the adjustment output unit, and between the two lines. A parallel capacitor connected to the line, a series capacitor provided on the line, and a variable impedance circuit having a second switch and connected between the two lines,
The control circuit changes the additional impedance added between the two lines by the variable impedance circuit by switching the second switch between the communication and the non-contact power transmission .
請求項1乃至請求項のいずれかに記載の電子機器と、前記電子機器に対して送電する回路と前記電子機器と通信する回路とを備える一次側機器とを備えるシステム。 System comprising a primary device including an electronic device according to any one of claims 1 to 8, and a circuit in communication with a circuit for the power transmission to the electronic device and the electronic device.
JP2011284610A 2011-12-27 2011-12-27 Electronic devices, modules and systems Expired - Fee Related JP6045150B2 (en)

Priority Applications (1)

Application Number Priority Date Filing Date Title
JP2011284610A JP6045150B2 (en) 2011-12-27 2011-12-27 Electronic devices, modules and systems

Applications Claiming Priority (1)

Application Number Priority Date Filing Date Title
JP2011284610A JP6045150B2 (en) 2011-12-27 2011-12-27 Electronic devices, modules and systems

Publications (2)

Publication Number Publication Date
JP2013135537A JP2013135537A (en) 2013-07-08
JP6045150B2 true JP6045150B2 (en) 2016-12-14

Family

ID=48911887

Family Applications (1)

Application Number Title Priority Date Filing Date
JP2011284610A Expired - Fee Related JP6045150B2 (en) 2011-12-27 2011-12-27 Electronic devices, modules and systems

Country Status (1)

Country Link
JP (1) JP6045150B2 (en)

Families Citing this family (5)

* Cited by examiner, † Cited by third party
Publication number Priority date Publication date Assignee Title
JP2015220816A (en) * 2014-05-15 2015-12-07 Necトーキン株式会社 Contactless signal transmission device and contactless power receiving device
US9680531B2 (en) * 2014-08-01 2017-06-13 Qualcomm Incorporated System and method for detecting inadequate wireless coupling and improving in-band signaling in wireless power transfer systems
JP6872866B2 (en) * 2016-08-02 2021-05-19 ローム株式会社 Semiconductor devices, wireless communication devices, wireless communication systems
JP6939301B2 (en) * 2017-09-14 2021-09-22 オムロン株式会社 RF tag circuit
JP7227813B2 (en) * 2019-03-26 2023-02-22 ラピスセミコンダクタ株式会社 wireless communication device

Family Cites Families (6)

* Cited by examiner, † Cited by third party
Publication number Priority date Publication date Assignee Title
JP3650317B2 (en) * 2000-08-23 2005-05-18 日本電信電話株式会社 Electromagnetic field receiver
JP3607585B2 (en) * 2000-08-23 2005-01-05 日本電信電話株式会社 Non-contact response device
US9178387B2 (en) * 2008-05-13 2015-11-03 Qualcomm Incorporated Receive antenna for wireless power transfer
JP5463932B2 (en) * 2010-01-26 2014-04-09 ソニー株式会社 Information processing apparatus, information processing method, and information processing system
US8983374B2 (en) * 2010-12-13 2015-03-17 Qualcomm Incorporated Receiver for near field communication and wireless power functionalities
JP5821544B2 (en) * 2011-11-08 2015-11-24 ソニー株式会社 Electronic equipment and transmission system

Also Published As

Publication number Publication date
JP2013135537A (en) 2013-07-08

Similar Documents

Publication Publication Date Title
CN105284056B (en) Communication control unit and installation base plate
JP6045150B2 (en) Electronic devices, modules and systems
US11183888B2 (en) System and method for providing inductive power at multiple power levels
CN106357011B (en) wireless power transmitter
US9762084B2 (en) Wireless charging system and method for controlling the same
CN205304411U (en) Electron device and wireless electric power transmission system
JP6072582B2 (en) Power transmission device, contactless power transmission system, and method for controlling transmitted power in contactless power transmission system
CN103580300A (en) Receiver and method for executing operation of receiver
JPWO2012090904A1 (en) Electronic devices, modules and systems
JP5608026B2 (en) Contactless power transmission and communication system
EP2648315B1 (en) Wireless power supply device and method
US11133698B2 (en) Wireless charging systems and methods for controlling the same
CN107408845A (en) Wireless power receiver
WO2011118020A1 (en) Receiving apparatus
JP2018505593A (en) RF high power generator
WO2020137826A1 (en) Gate drive circuit and switching device using same
KR101661319B1 (en) Circuit for standby power deduction in switching mode power supply and control method thereof
TWI547119B (en) Power conversion system
KR20170089350A (en) Wirelessly power tranceiver
HK1217830B (en) Communication control device and mounting board
JP2014195368A (en) Electric apparatus and electric system

Legal Events

Date Code Title Description
A621 Written request for application examination

Free format text: JAPANESE INTERMEDIATE CODE: A621

Effective date: 20141119

A977 Report on retrieval

Free format text: JAPANESE INTERMEDIATE CODE: A971007

Effective date: 20150806

A131 Notification of reasons for refusal

Free format text: JAPANESE INTERMEDIATE CODE: A131

Effective date: 20150916

A521 Request for written amendment filed

Free format text: JAPANESE INTERMEDIATE CODE: A523

Effective date: 20151109

A131 Notification of reasons for refusal

Free format text: JAPANESE INTERMEDIATE CODE: A131

Effective date: 20160518

A521 Request for written amendment filed

Free format text: JAPANESE INTERMEDIATE CODE: A523

Effective date: 20160707

TRDD Decision of grant or rejection written
A01 Written decision to grant a patent or to grant a registration (utility model)

Free format text: JAPANESE INTERMEDIATE CODE: A01

Effective date: 20161109

A61 First payment of annual fees (during grant procedure)

Free format text: JAPANESE INTERMEDIATE CODE: A61

Effective date: 20161115

R150 Certificate of patent or registration of utility model

Ref document number: 6045150

Country of ref document: JP

Free format text: JAPANESE INTERMEDIATE CODE: R150

S533 Written request for registration of change of name

Free format text: JAPANESE INTERMEDIATE CODE: R313533

R350 Written notification of registration of transfer

Free format text: JAPANESE INTERMEDIATE CODE: R350

LAPS Cancellation because of no payment of annual fees